Intelegand prin administratie publica acea activitate care consta in principal in organizarea si asigurarea executarii, dar si in executarea nemijlocita a prevederilor Constitutiei, ale tuturor actelor normative si ale celorlalte acte juridice emise de autoritatile statului de drept, activitate realizata de catre autoritatile administratiei publice, desprindem pe de o parte pozitia administratiei publice in cadrul diferitelor activitati ale autoritatilor statale sau ale colectivitatilor locale, iar, pe de alta parte, descifram cele doua elemente componente esentiale si indispensabile ale administratiei publice, si anume elementul structural-organic si elementul functional.
Elementul structural-organic desemneaza totalitatea acelor autoritati sau organe ale statului reunite, de regula, intr-un sistem unitar corespunzator puterii executive pe care o exercita si a atributiilor comune acesteia pe care le indeplinesc.
Elementul functional este reprezentat de un anumit tip de activitate fundamentala prin care se realizeaza sau se exercita puterea publica numita si activitate administrativa sau executiva.
Datorita faptului ca administratia publica - ca activitate - se realizeaza printr-o multitudine de forme organizatorice care grupeaza categorii intregi de oameni (personalul), sistemul administratiei publice este un sistem de organizare sociala bazat pe relatii care exista intre acesti oameni ce realizeaza o activitate specifica.
Acest sistem de organizare sociala, exista si functioneaza in cadrul unui macrosistem de organizare sociala a societatii globale, considerata la nivel national sau la nivelul unor unitati teritorial-administrative.
In cadrul acestui sistem macrosocial exista si functioneaza diferite alte forme de organizare in afara sistemului administratiei publice, constituind, pentru acesta din urma, mediul social in care exista si functioneaza.
Raporturile sociale in cadrul sistemului administratiei publice si intre acest sistem si societatea globala, dau dimensiuni sociologice specifice administratiei publice. Trebuie luate in considerare raporturile care exista intre sistemul administratiei publice si societatea globala, urmarindu-se determinarile si influentele societatii globale ca mediu social asupra sistemului administratiei publice si rolul pe care acest sistem il are in evolutia societatii globale.
Astfel, asa cum retine doctrina, "sistemul administratiei publice se construieste pentru realizarea unor activitati de organizare a executarii si de executare a legii, care se refera la intreaga populatie a tarii si se aplica pe intreg teritoriul statului si in unitatile teritorial-administrative ale acestuia. In acest sens, sistemul administratiei publice se va construi pentru a realiza activitati care intereseaza intreaga populatie, comuna, orasul, municipiul si judetul, pentru realizarea unor activitati care privesc colectivitatile sociale constituite in respectivele unitati teritorial-administrative" .
Felul in care se organizeaza realizarea administratiei publice ca activitate se reflecta in structura sistemului administratiei publice.
Intelegand prin structura atat modul in care sunt ordonate elementele unui sistem cat si relatiile ce se stabilesc intre acestea, in procesul realizarii functiilor sistemului respectiv, teoria si practica au sugerat numeroase tipuri de structuri. Retinem pentru interesul acestei lucrari faptul ca un sistem se poate organiza sub forma urmatoarelor tipuri de structuri:
. structura lineara (ierarhica), ce asigura in principal unitatea (coerenta) in conducere;
. structura functionala care determina pluralitatea conducerii;
. structura mixta (ierarhic-functionala), care imbina doua tipuri de structuri si este mai raspandita in realitatea practicii - administrative si economico-sociale.
In ceea ce priveste administratia publica, multitudinea autoritatilor administrative ale statului si ale colectivitatilor locale determina ordonarea lor, in vederea realizarii functiilor pe care acestea le au, in baza a doua criterii si anume: criteriul teritorial, caruia ii corespunde structura ierarhica si criteriul competentei materiale sau functional, caruia ii corespunde structura functionala.
Intr-o viziune traditionala, acest criteriu sta la baza impartirii autoritatilor administratiei publice in autoritati centrale si autoritati locale, dupa raza teritoriala in care poate actiona autoritatea publica respectiva.
Intr-o conceptie relativ mai noua, motivarea structurii teritoriale a administratiei publice o constituie colectivitatea de cetateni pentru care actioneaza, ale caror interese le gestioneaza respectiva autoritate a administratiei publice.
Astfel, autoritatile administratiei publice centrale actioneaza in interesul intregii colectivitati umane existente in sistemul social global, deci la nivelul statului, iar autoritatile administratiei publice locale au in vedere solutionarea intereselor colectivitatilor locale, deci intr-o anumita parte a teritoriului, interese care, bineinteles, sunt armonizate cu interesele generale.
Avand in vedere acest rationament, ne putem da seama mai bine care este deosebirea dintre autoritatile administratiei publice locale (consiliile locale si primari) si diversele servicii publice desconcentrate ale administratiei publice centrale de specialitate (ministere si alte organe de specialitate) care actioneaza intr-o anumita zona teritoriala si care sunt structuri exterioare (teritoriale) ale anumitor autoritati administrative centrale (de stat).
Fata de aceasta explicatie este necesar sa precizam ca in cadrul structurii teritoriale a autoritatilor administratiei publice nu este recomandabil a se cultiva o departajare stricta intre autoritatile administratiei publice locale si c 939g69j ele centrale, respectiv serviciile publice desconcentrate.
Relatiile dintre aceste autoritati sunt foarte variate, ele exprimand fie o centralizare accentuata, fie o autonomie diferentiata. Caracteristica pregnanta, esentiala, este insa colaborarea intre ele, asigurata in principal prin prefect, autoritate a administratiei publice creata in acest scop.
Organizarea administrativ-teritoriala constituie o problema importanta in ceea ce priveste criteriul teritorial, necesar a fi abordata in contextul studierii structurilor administratiei publice[3].
Orice organizare administrativ-teritoriala are menirea de a asigura cresterea eficientei activitatii autoritatilor publice, sporirea initiativei si operativitatii acestora in serviciul public, imbunatatirea legaturilor dintre autoritatile centrale si locale, in special cu unitatile de baza, asigurarea unui control mai eficient si a unui sprijin mai competent unitatilor administrativ-teritoriale .
Viata a demonstrat ca progresul general al societatii este indisolubil legat de organizarea judicioasa a teritoriului si a administratiei locale, care favorizeaza amplasarea rationala a investitiilor publice pe cuprinsul tarii, dezvoltarea armonioasa a diferitelor zone si localitati.
Organizarea administrativa a teritoriului tarii intereseaza nu numai administratia publica, ci intregul sistem de autoritati si servicii publice. Modul in care este infaptuita organizarea administrativ-teritoriala influenteaza profund insusi continutul activitatii diferitelor autoritati publice.
O delimitare corespunzatoare a unitatilor administrativ-teritoriale asigura conditiile necesare pentru accesul si participarea populatiei la activitatea autoritatilor publice, pentru rationalizarea si simplificarea aparatului birocratic.
Acest criteriu sta la baza impartirii autoritatilor administratiei publice in autoritati cu competenta generala si autoritati cu competenta de specialitate, determinand astfel o alta structura a administratiei publice, si anume structura functionala a acesteia.
Activitatea administrativa a statului, dar si a colectivitatilor locale, cuprinde o multitudine de sarcini, care se pot realiza (din punct de vedere teoretic) fie printr-o singura grupare de functionari, fie prin amenajarea mai multor grupari specializate functional . In cea de-a doua situatie, se realizeaza o distributie functionala, specializata, a sarcinilor autoritatilor administratiei publice, atribuindu-li-se o competenta specifica, astfel incat fiecare autoritate are obiectul sau de activitate.
Bineinteles, ca problema structurarii pe specific de activitate (structura functionala) se pune atat pe plan central cat si pe plan local. Astfel, cat priveste administratia de stat, pe plan central avem ministerele si celelalte organe centrale de specialitate subordonate Guvernului si ministerelor sau care functioneaza ca autoritati administrative autonome, iar pe plan local avem serviciile publice descentralizate ale ministerelor si ale celorlalte organe centrale, a caror activitate este condusa de prefect, ca reprezentant al Guvernului in teritoriu.
Structura pe specific de activitate (structura functionala) a sistemului autoritatilor administratiei publice are o insemnatate deosebita, deoarece, in mare masura, de modul cum este asezata aceasta structura depinde eficienta activitatii acestora.
Spre exemplu, se considera a fi deosebit de importanta, in aceasta ordine de idei, problema stabilirii numarului optim, cat mai apropiat de nevoile reale, de ministere si organe centrale de specialitate ale administratiei publice, cunoscut fiind faptul ca atat un numar prea mic, cat si un numar prea mare de ministere poate crea dificultati in capacitatea de administrare a autoritatilor administratiei publice.
Asadar, autoritatile administratiei publice alcatuiesc in statul de drept un subsistem in cadrul sistemului autoritatilor publice, astfel cum acesta a fost stabilit prin Constitutie, pe criteriul separatiunii celor trei puteri, legislativa, executiva si judecatoreasca si carora le corespund trei categorii de autoritati publice.
In principiu, structura organizatorica si functionala a sistemului autoritatilor administratiei publice este alcatuita prin subordonarea - din treapta in treapta a diverselor autoritati care realizeaza activitatea administrativa a statului sau a colectivitatilor locale, fata de o autoritate de varf - Guvernul, ca autoritate centrala a puterii executive, care asigura exercitarea, in conformitate cu legea, a administratiei publice pe intreg teritoriul tarii.
Analiza criteriilor de construire a structurilor administratiei publice ne conduce la urmatoarea structura organizatorica a sistemului autoritatilor administratiei publice:
|
Din punct de vedere al competentei teritoriale (criteriul teritorial), gasim urmatoarele autoritati: |
Autoritati centrale, pentru care, competenta se intinde asupra intregului teritoriu al tarii: Guvernul, ministerele si celelalte organe centrale ale administratiei publice; Autoritati teritoriale, pentru care competenta se intinde asupra unei parti din teritoriul national. Acestea sunt serviciile publice descentralizate ale ministerelor si ale celorlalte organe centrale; Autoritati locale, pentru care competenta se intinde asupra unei unitati administrativ-teritoriale (judet, oras, comuna). Acestea sunt consiliile locale si primarii |
|
Din punct de vedere al competentei materiale (criteriul functional), intalnim: |
Autoritati cu competenta generala, care exercita administratia publica in orice domeniu de activitate: Guvernul, consiliile locale si primarii; Autoritati ale administratiei publice de specialitate, care realizeaza administratia publica intr-o anumita ramura sau domeniu de activitate: ministerele si celelalte organe centrale de specialitate ale administratiei publice subordonate Guvernului sau autonome, precum si serviciile publice descentralizate ale acestora, din teritoriu; |
Asadar, din punct de vedere al structurii organizatorice, subordonarea autoritatilor administratiei publice fata de autoritatea de varf - Guvernul - se face, de regula, din treapta in treapta pe doua linii, care corespund la doua subsisteme ce compun sistemul autoritatilor administratiei publice, si anume: prin subsistemul autoritatilor administratiei publice cu competenta generala si prin subsistemul autoritatilor specializate ale administratiei publice.
Precizam insa, ca pentru autoritatile locale, alese, autonome, nu este vorba de subordonarea ierarhica, de aceea controlul activitatii lor este unul de tutela administrativa si nu un contro ierarhic.


Dar aceasta dimensiune statica de centralitate a cunoscut de-alungul istoriei, o dinamica particulara: centralizarea administrativa. Dincolo de aparente, aceasta centralizare nu este o ramasita a vechilor structuri politice, ci se adapteaza in permanenta la evolutiile mediului sau. Societatea si puterea fiind in permanent proces de transformare, centralizarea ar putea foarte bine sa dispara, dar persista, desi defaimata este totusi practicata. Se poate vorbi chiar de un adevarat "complex de centralizare", altfel spus un proces continuu de centralizare care evolueaza in functie de context.
Organizarea administratiei publice se realizeaza in scopul indeplinirii sarcinilor sistemului, cu mijloacele de care dispune, pentru satisfacerea intereselor generale si locale ale colectivitatilor, interese care sunt de o mare complexitate si diversitate.
Centralizarea concentreaza ansamblul sarcinilor administrative din teritoriul national in persoana statului, sarcini a caror indeplinire o asigura printr-o administratie ierarhizata si unificata.
Cand intr-un stat toate normele juridice se aplica pe intregul teritoriu dintr-un centru unic, se realizeaza o centralizare completa.
Asemenea regimuri pure, nu exista, insa, in realitate, statele utilizand un regim centralizat sau descentralizat doar partial. Astfel, in practica, reglementarea satisfacerii intereselor generale se face prin legi aplicabile pe tot teritoriul statului, iar reglementarea satisfacerii intereselor locale se face prin norme juridice locale, aplicabile numai in anumite unitati (circumscriptii) administrativ-teritoriale.
Prin centralizare se defineste atat problema raportului statului cu colectivitatile umane locale, cat si o metoda de organizare a administratiei statului.
|
Daca un stat este astfel organizat incat satisfacerea intereselor locale sau nationale se face prin servicii publice, depinzand direct de autoritatea publica centrala si ai caror titulari sunt numiti de catre aceasta, acel stat este centralizat. Prin centralizare se intelege regimul administrativ in care autoritatile publice de specialitate si cele locale sunt numite de autoritatea publica centrala, fiind subordonate acesteia. |
In sistemul centralizarii, autoritatea publica centrala ia deciziile si exercita conducerea, iar autoritatile locale raporteaza si executa deciziile primite de la centru .
Sub forma sa cea mai riguroasa, centralizarea nu recunoaste colectivitatilor umane locale dreptul de a se administra; numai statul, prin functionarii sai publici si prin bugetul sau, isi asuma, pentru intreg teritoriul national satisfacerea cerintelor de interes general.
Acest sistem nu exclude organizarea teritoriului statal in circumscriptii administrative. Nu trebuie sa se confunde circumscriptiile administrative, delimitari teritoriale destinate sa permita o organizare rationala a serviciilor publice ale statului pe ansamblul teritoriului, cu colectivitatile locale, care sunt comunitati umane preexistente.
Intr-un regim centralizat, se organizeaza circumscriptii teritoriale dar nu se acorda autonomie administrativa colectivitatilor locale.
In practica, in sistemul centralizat trebuie sa se tina seama de realitatile sociale: comune, orase, centre de viata naturala rezultate ale istoriei pe care regimul administrativ urmeaza sa le serveasca. Statul centralizat recunoaste existenta colectivitatilor umane ca avand cerinte specifice, dar el numeste si conduce functionarii publici si institutiile care administreaza colectivitatile locale.
In cadrul sistemului centralizat, administratia statului este riguros ierarhizata.
Dreptul de decizie este concentrat la varful ierarhiei administrative. Nivelele subordonate nu fac decat sa transmita problemele circumscriptiilor administrativ- teritoriale la autoritatea competenta sa le solutioneze, sa primeasca decizia luata si sa execute ordinele primite. Astfel, prin centralizare, o vointa unica, pornind de la centrul statal, se transmite pana la cele mai indepartate circumscriptii administrativ-teritoriale ale tarii.
Efectele constructiei centralizate a administratiei sunt reprezentate de uniformizarea acesteia. Indiferent de zona de provenienta, cetatenii sunt tratati la fel, aceleasi raspunsuri pentru aceleasi probleme, fapt ce favorizeaza corporatismul, scaderea raspunderii agentilor administrativi, o proasta preluare a informatiei, o franare a competentelor. Prin acest sistem care ofera aceleasi garantii pentru toti cetatenii, functionarii sunt pusi la adapost de orice presiune si de orice putere discretionara, ajungandu-se treptat la imobilismul acestora.
Neavand la dispozitie parghii reale de decizie, puterea unitatilor administrativ- teritoriale se indreapta spre varfurile ierarhiei, ajungandu-se ca informatia de la baza sa se piarda, iar decizia centrului sa nu mai aiba nici o legatura cu nivelul inferior.
Uneori, cerintele practice au determinat o atenuare a sistemului centralizat acordandu-se unor servicii si unor functionari publici ai statului dreptul de a solutiona ei insisi, in cadrul circumscriptiilor administrativ-teritoriale, problemele, care nu mai sunt inaintate centrului spre rezolvare.
Asadar, desconcentrarea administrativa reprezinta deplasarea in teritoriu a unei parti importante a activitatii administratiei publice centrale, fiind o forma de descentralizare controlata.
In cazul unui regim centralizat, in teritoriu actioneaza numai agenti ai autoritatilor centrale ale statului. Ei sunt numiti, revocati si raspund exclusiv in fata acestora. Sunt simpli agenti administrativi, nu au nici un fel de competenta proprie de decizie, avand doar doua obligatii:
. sa informeze centrul cu privire la situatia locala;
. sa execute in teritoriu deciziile centrului.
In cazul desconcentrarii administrative pe baze teritoriale, in teritoriu exista nu doar simpli agenti, ci organe (institutii) administrative. Acestea sunt organe ale administratiei statului, numite, revocabile si raspunzatoare in fata autoritatilor administratiei centrale de stat. Ele sunt inzestrate cu competenta proprie de decizie. Organele administrative desconcentrate teritorial raman organe ale statului, subordonate ierarhic, chiar daca au dobandit competenta proprie.
Desconcentrarea se defineste in mod clasic ca transfer al "exercitiului puterii autoritatilor centrale ale statului catre alte autoritati care sunt ierarhic subordonate" .
In evolutia puterii centralizate, desconcentrarea apare strans legata de centralizare, concentrarea puterilor realizata de monarhie fiind insotita de o delegare a puterilor catre anumite autoritati periferice, insarcinate cu gestiunea, pentru centru, a anumitor probleme locale.
Evolutia istorica a permis distingerea mult mai repede si sigur a desconcentrarii, comparativ cu descentralizarea. Dar etapele recunoasterii sale, atitudinile oficiale si modalitatile de realizare, dezvaluie in fapt o problematica ce atinge in egala masura raporturile sale cu centralizarea si descentralizarea.
Definirea desconcentrarii nu se limiteaza doar la delegarea puterilor catre autoritatile administrative locale. De aceea, in acest cadru, se disting in mod egal desconcentrarea orizontala si verticala:
. in primul caz, se incredinteaza unui reprezentant unic al statului responsabilitatea serviciilor desconcentrate ale diferitelor ministere,
. in cel de-al doilea caz, se oranduiesc aceste servicii dupa o ierarhie directa in care seful serviciului depinde doar de ministrul de resort.
Desconcentrarea este destinata echilibrarii, pe de o parte, a tendintelor centralizatoare care vor sa concentreze toate deciziile etatice in cadrul administratiei centrale si, pe de alta parte, proiectelor de teritorializare a puterilor prin care se doreste apropierea de nevoile reale ale unei tari.
Aceasta descentralizare teritoriala se distinge de descentralizarea numita tehnica sau descentralizarea prin servicii (diferentierea se fundamenteaza pe distinctia colectivitate teritoriala / stabiliment public). Numerosi autori privesc descentralizarea prin servicii ca o tehnica de gestiune administrativa apropiata de desconcentrare sau ca un procedeu de gestiune a serviciilor publice deosebit de descentralizare sau desconcentrare . Aceasta opozitie nu este intotdeauna determinanta in materie de descentralizare.
Descentralizarea raspunde unui spatiu geografic determinat, care inglobeaza de fapt toti administratii care se gasesc aici si permite colectivitatilor locale sa realizeze activitati diferite, incredintate prin lege pentru a administra interesele populatiilor din aceste circumscriptii.
Aceasta descentralizare poarta in ea toata problematica ce se gaseste chiar in denumirea sa. Spre deosebire de vocabularul englez care utilizeaza termenul de "self-government" altfel spus "autoguvernare" locala, sau in germana "selbsverwaltung", termenul roman (ca si cel francez) de descentralizare vizeaza direct contrariu sau - centralizarea.
Dintre aceste definitii, amintim:
Maurice Hauriou afirma ca "descentralizarea este o maniera de a fi a statului", ca si centralizarea de altfel, neavand trecere decat fata de administratie[13]. Principiul statului unitar implica intr-adevar, refuzarea detinerii unei anumite suveranitati de catre colectivitatii publice infra-etatice.
Descentralizarea nu se construieste astfel, decat din punct de vedere administrativ, ca organizare juridica particulara a colectivitatilor statale. Astfel, arata ca "din punct de vedere al dreptului, descentralizarea este caracterizata prin faptul ca statul se rezuma la un anumit numar de persoane administrative care au caracteristica de putere publica si care asigura functionarea serviciilor publice exercitand aceste drepturi, altfel spus realizand acte administrative" .
Jean Gicquel definea descentralizarea ca o "delegare a anumitor atributii ale puterii centrale pe plan local, in beneficiul reprezentantilor alesi de catre cetateni" , dar punand accentul pe un transfer de competente administrative conditionate de alegerea reprezentantilor locali. Acest autor omite, insa, numeroase situatii, indeosebi cele in care colectivitatile locale, dotate cu competente proprii, sunt administrate de organe numite in tot sau in parte de puterea centrala.
Francois si Yves Luchaire considera ca "descentralizarea consta in transferul anumitor atributii ale guvernului sau agentilor sai, reprezentantilor colectivitatilor teritoriale care nu depind nici de guvern, nici de agentii sai" .
Neluand in calcul alegerea ca sursa a independentei reprezentantilor locali, acesti autori integreaza in descentralizare situatii prea largi. Interventia centrului in problemele colectivitatilor locale se poate realiza fara probleme daca independenta acestor colectivitati fata de centru este prevazuta in statutele lor.
Numerosi autori au definit descentralizarea in functie de tutela exercitata asupra actelor organelor colectivitatilor . Detasandu-se de puterea ierarhica ce caracterizeaza relatiile interne ale unei administratii, tutela presupune intr-adevar disocierea de centru si de colectivitatile teritoriale si exercitarea de competente de catre acestea din urma, bineinteles sub controlul statului.
Maurice Hauriou considera chiar ca descentralizarea poate coexista cu o tutela foarte puternica[18], iar Maspetiol si Laroque vad in lucrarile lor aceasta tutela ca "o institutie a libertatii" favorabila colectivitatilor, prevazand ca acestea vor fi mai puternice decat autoritatile locale devenite "libere".
In acest ansamblu de definitii echivoce, descentralizarea apare ca o adevarata problema. Pentru moment, nu este necesar sa se constate precum o face Leon Duguit ca "existenta intr-o tara a colectivitatilor teritoriale distincte de Stat si investirea acestora cu drepturi de putere publica este in contradictie cu conceptia franceza de suveranitate unica si indivizibila" si sa se impinga, astfel, descentralizarea intr-o nebuloasa juridica. Dimpotriva, bazele definirii descentralizarii sunt cunoscute, dar chiar simplitatea lor conduce la o dezvoltare a complexitatii analizei care le poate anula semnificatia.
Dincolo de toate aceste opinii, definim descentralizarea ca fiind:
|
Acel sistem potrivit caruia administrarea intereselor locale, comunale, orasenesti sau judetene se realizeaza de catre autoritati liber alese de catre cetatenii colectivitatii respective. Avand la dispozitie, mijloace financiare proprii si beneficiind de putere autonoma de decizie, acest sistem raspunde ideii de libertate |
Daca centralizarea corespunde imperativelor de unitate, descentralizarea administrativa corespunde celor de diversitate. Organizarea administrativa nu s-a realizat niciodata, intr-o maniera categorica, pe o singura dimensiune.
Descentralizarea prezinta certe avantaje pentru prosperitatea unei tari . Astfel:
O viata locala intensa constituie forta popoarelor libere. La nivelul colectivitatilor locale se dezvolta solidaritatea si sunt organizate in mod democratic numeroase activitati, in serviciul populatiei.
Locuitorii unei colectivitati locale sunt in masura, in cel mai inalt grad, de a realiza educatia civica, de a se ocupa impreuna de avutul public, de a simti, zi de zi, ca binele fiecaruia depinde de binele intregii colectivitati, de a intelege ca traiesc intr-o societate si ca viata in cadrul unui grup, unei colectivitati cere solidaritate, reciprocitate, devotament si chiar sacrificiu.
Autonomia locala este o forma de exprimare a principiului descentralizarii administrative. Aceasta este asociata cu stabilirea unui statut distinct al colectivitatilor locale, al autoritatilor acestora, in raport cu administratia de stat si cu autoritatile care exercita functiile acestuia in unitatile administrativ-teritoriale.
Esenta acestui principiu este legata de colectivitatile locale care, in "Carta Europeana: Exercitiul autonom al puterii locale", adoptata de Consiliul Europei la 15.10.1985, sunt definite, tinandu-se cont de reglementarile nationale, ca fiind colectivitati locale de baza (comune, districte, departamente), dar si colectivitati regionale, in masura in care statele parti la aceasta conventie nu recurg la rezervele pe care Carta le permite.
Prin art. 4 din 'Carta Europeana: Exercitiul autonom al puterii locale", se instituie principiul subsidiaritatii, stipulandu-se ca aceste colectivitati locale dispun, in cadrul legii, de intreaga competenta de a lua initiativa pentru orice chestiune care nu este exclusa din domeniul competentelor lor sau care nu este atribuita unei alte autoritati, ca exercitiul puterii publice trebuie, de o maniera generala, sa revina acelor autoritati care sunt cele mai apropiate de cetateni si ca puterile, competentele, incredintate colectivitatilor locale trebuie sa fie in mod normal depline si intregi.
Asadar, subsidiaritatea presupune ca accentul, greutatea, in luarea deciziilor de interes public, sa coboare cat mai spre nivelul de baza, sa nu mai constituie un monopol sau o regula pentru administratia de stat.
De aceea, regula in materie de competenta pentru satisfacerea interesului public trebuie sa o constituie autoritatile locale autonome la nivelul de baza (comuna si orasul), care sunt cele mai apropiate de nevoile cetatenilor si sunt alese de acestia, iar exceptiile trebuie sa le reprezinte autoritatile administratiei publice autonome de la nivelul intermediar si autoritatile administratiei de stat.
Principiul subsidiaritatii, aplicat in administratia publica, nu inseamna, intr-un stat unitar, o delegare sau o diminuare de suveranitate, intrucat autonomia locala este prevazuta de Constitutie si de legile statului unitar si se exercita in conditiile si in limitele prevazute de acestea.
Descentralizarea administrativ-teritoriala este legata de recunoasterea colectivitatilor locale si a dreptului acestora de a se administra. Descentralizarea administrativa priveste numai rezolvarea unor probleme locale de catre autoritati administrative locale.
Potrivit art.3 din 'Carta Europeana: Exercitiul autonom al puterii locale", prin autonomie locala se intelege dreptul si capacitatea efectiva ale autoritatilor administratiei publice locale de a solutiona si de a gestiona, in cadrul legii, in nume propriu si in interesul populatiei locale, o parte importanta a treburilor publice.
Elementele componente ale descentralizarii administrative, pe baza principiului autonomiei locale sunt :
|
o Existenta unei colectivitati teritoriale locale |
Descentralizarea administrativa pe baza autonomiei locale se face in legatura cu existenta unor colectivitati sociale locale, constituite in circumscriptii administrative care coincid sau difera de unitatile administrativ-teritoriale ale statului.
Aceste colectivitati sociale locale, componente ale colectivitatii nationale, au nevoi specifice care ii solidarizeaza pe membrii lor.
Nevoile si interesele locale sunt legate de specificul colectivitatii respective si se disting de nevoile generale ale colectivitatii nationale. Asa de exemplu, sunt considerate nevoi rezolvate prin servicii locale: aprovizionarea cu apa, caldura, salubritatea, iluminatul public, constructia si intretinerea unor drumuri etc..
Pe de alta parte, statul nu poate sa solutioneze, prin mijloacele de care dispune si in conditii de operativitate si eficienta, ansamblul acestor nevoi si interese. De aceea, statul este cel care stabileste care dintre probleme vor fi de competenta serviciilor publice statale si care vor intra in sfera de competenta a autoritatilor locale. De regula, sfera problemelor locale este stabilita sau delimitata prin Constitutie sau prin lege.
|
o Recunoasterea responsabilitatii colectivitatilor locale in gestionarea nevoilor specifice, precum si existenta unor resurse proprii |
Pentru existenta autonomiei locale este necesar ca problemele specifice colectivitatilor locale, recunoscute ca atare de lege, sa fie rezolvate de aceste colectivitati. Existenta nevoilor si intereselor locale presupune si existenta unor mijloace materiale de realizare a acestora, cum ar fi patrimoniul propriu, un corp de functionari care sa gestioneze treburile publice, o anumita autonomie financiara care se bazeaza pe existenta unui buget propriu.
|
o Colectivitatea locala sa dispuna de autoritati administrative proprii, autonome fata de stat |
Autoritatile locale, structuri de conducere administrativa ale colectivitatilor locale, sunt cele care solutioneaza problemele specifice.
Pentru a ne gasi in situatia descentralizarii administrative este necesar ca aceste autoritati locale sa fie reprezentantele colectivitatilor locale si nu reprezentante ale statului plasate in fruntea colectivitatii. Aceasta presupune ca autoritatile locale sa rezulte din alegeri libere, desfasurate in circumscriptiile colectivitatilor teritoriale.
Pentru rezolvarea operativa a treburilor locale este necesar ca aceste autoritati sa dispuna de o competenta care sa le confere autonomia fata de autoritatile administratiei publice a statului.
o Supravegherea activitatii colectivitatii locale de catre autoritatile puterii executive
In virtutea dependentei colectivitatii locale fata de statul in care sunt organizate, autoritatile publice centrale isi rezerva dreptul de a supraveghea activitatea colectivitatilor locale, exercitand asupra acestora un anumit tip de control.
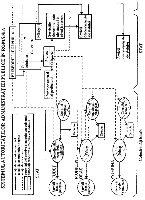
Potrivit criteriilor de constituire in sistem a autoritatilor administratiei publice si corespunzator tipurilor de structuri analizate in aceasta lucrare, consideram ca in administratia publica actuala avem urmatoarele tipuri de relatii intre diferitele autoritati:
a) Relatii de autoritate, care pot fi:
. relatii ierarhice, determinate de structura ierarhica;
. relatii functionale, determinate de structura dupa competenta specifica, si care, de regula, se realizeaza in sprijinul celei dintai.
b) Relatii de cooperare, care pot fi:
. formalizate (obligatoriu prin acte normative);
. neformalizate (facultative).
c) Relatii de reprezentare (iau nastere, in special, in raport cu elementele exterioare sistemului autoritatilor administratiei publice).
d) Relatii de control, determinate de delegare (deci nu relatii de control, consecinta a subordonarii ierarhice sau functionale).
e) Relatii de prestari servicii (cu pondere in raporturile cu cetatenii).
Sumar, referindu-ne la responsabilitatile determinate de aceste tipuri de relatii, remarcam si diferentierea tipurilor de responsabilitati. De exemplu, relatiile ierarhice care au la baza o autoritate directa, determina o responsabilitate generala, totala; relatiile functionale care au la baza o autoritate indirecta, potrivit competentei specifice, determina o responsabilitate specifica, specializata.
Relatii in cadrul sistemului autoritatilor administratiei publice
In cadrul acestei grupari distingem mai multe categorii de relatii, si anume:
A. Relatiile dintre autoritatea de varf a administratiei publice si celelalte autoritati ale administratiei publice. Dintre acestea, amintim:
Relatii intre autoritatea de varf a administratiei publice si ministere sau alte organe de specialitate ale administratiei publice centrale, care sunt determinate de raportul de subordonare orizontala intre Guvern - ca autoritate de varf si ministere sau alte organe centrale de specialitate ale administratiei publice centrale.
Potrivit acestui raport, Guvernul, conform programului sau de guvernare, acceptat de Parlament, asigura realizarea politicii interne si externe a tarii si exercita conducerea generala a administratiei publice, iar ministerele si organele de specialitate ale administratiei publice centrale, fiecare in ramura sau domeniul de activitate specific, traduc practic aceste masuri.
Aceasta subordonare orizontala, datorata faptului ca atat Guvernul cat si ministerele si celelalte organe de specialitate ale administratiei publice centrale actioneaza pe acelasi teritoriu, determina totusi relatii de autoritate-ierarhice, care se exprima prin competenta Guvernului de a controla activitatea ministerelor si a celorlalte organe centrale de specialitate ale administratiei publice si de a emite acte juridice obligatorii pentru acestea.
b) Relatiile intre autoritatea de varf a administratiei publice si autoritatile locale ale administratiei publice cu competenta generala - consilii judetene, locale si primari - sunt tot relatii de autoritate ierarhica, generate de competenta generala pe care o are Guvernul de a conduce intreaga administratie publica la nivel national. Expresia acestui tip de relatii este dreptul de control al legalitatii pe care il are prefectul ca reprezentant al Guvernului in teritoriu, precum si dreptul Guvernului de a emite acte juridice obligatorii pentru aceste autoritati locale. Este de remarcat insa, ca autoritatea Guvernului asupra consiliilor locale trebuie exercitata strict in limitele legii si cu respectarea autonomiei functionale a acestora, principiul autonomiei administrative si al descentralizarii serviciilor publice fiind inscrise in Constitutie.
c) Relatii intre autoritatea de varf a administratiei publice si autoritatile locale (teritoriale) de specialitate ale administratiei publice sunt relatii de autoritate-ierarhice, determinate de structura unitara a subsistemului autoritatilor administratiei publice de stat. Acest tip de relatie rezulta din dreptul de control general pe care il are Guvernul.
In practica administrativa relatiile de autoritate ierarhica, de tip general, nu se realizeaza intotdeauna direct, avand in vedere ca intre Guvern si serviciile publice descentralizate ale ministerelor si ale celorlalte organe centrale de specialitate ale administratiei publice exista o treapta ierarhica intermediara - prefectul sau ministrul de resort. Relatiile de autoritate ierarhica se stabilesc doar atunci cand autoritatea de varf a administratiei publice - Guvernul - adopta masuri generale privind functionarea autoritatilor locale de specialitate ale administratiei publice (acte normative).
Guvernul, in virtutea pozitiei si rolului sau, este chemat, de asemenea, sa arbitreze si sa solutioneze abaterile ce se produc in sistemul de relatii intre autoritatile administratiei publice cu competenta generala de nivel judetean (consiliile judetene) si ministere si celelalte organe centrale de specialitate ale administratiei publice, in ideea respectarii stricte a Constitutiei si a celorlalte acte normative, in special pentru evitarea centralismului excesiv si a asigurarii autonomiei functionale a autoritatilor administratiei publice locale.
B. Relatiile intre ministere si celelalte organe de specialitate ale administratiei publice centrale si autoritatiile locale sau teritoriale ale administratiei publice:
a) Relatii intre ministere si celelalte organe centrale de specialitate ale administratiei publice si autoritatile locale ale administratiei publice cu competenta generala (consilii judetene, locale si primari) sunt determinate de pozitia acestor autoritati in sistemul general al administratiei publice. Ele sunt situate in subsisteme diferite, determinate de criteriul fundamental al competentelor.
Pornind de la aceasta observatie, putem deduce ca autoritatile administratiei publice locale, cu competenta generala nu sunt subordonate ministerelor si celorlalte organe de specialitate ale administratiei publice centrale.
Prin urmare, nu suntem in prezenta unor relatii de autoritate ci, dupa parerea noastra, in prezenta unor relatii de cooperare in cea mai mare parte formalizate prin diverse acte normative.
De asemenea, intre unele ministere sau organe de specialitate ale administratiei publice centrale si autoritatile administratiei publice locale cu competenta generala se nasc relatii de control, determinate de delegarea pe care o au anumite ministere si organe ale administratiei publice centrale de a controla o anumita activitate, si nu de subordonare ierarhica sau functionala.
b) Relatii intre ministere si celelalte organe de specialitate ale administratiei publice centrale si serviciile publice descentralizate ale acestora sunt relatii de autoritate de natura functionala, determinate de structura pe specific de activitate (functionala).
Aceste relatii se realizeaza in sprijinul relatiilor de autoritate ierarhica, care exista intre prefect ca reprezentant al Guvernului, abilitat sa conduca mijlocit serviciile publice descentralizate din teritoriu si aceste autoritati.
Astfel, serviciile publice descentralizate, ca autoritati ale administratiei publice de specialitate, sunt subordonate vertical organelor centrale de resort, care au competenta sa le suspende dispozitiile ilegale, si sa le dea indicatii obligatorii, dar functioneaza sub directa conducere a prefectului.
Un alt tip de relatii ce se nasc intre ministere si celelalte organe de specialitate ale administratiei publice centrale si serviciile publice descentralizate ca autoritati ale administratiei publice din teritoriu, sunt relatiile de control determinate de delegare - nu pe structura, ci pe specific de activitate.
C. Relatii intre autoritatile administratiei publice locale
a) Relatiile dintre administratia publica judeteana si cea locala au la baza principiile autonomiei, legalitatii, responsabilitatii, cooperarii si solidaritatii in rezolvarea problemelor intregului judet. In relatiile dintre autoritatile administratiei publice locale si c 939g69j onsiliul judetean nu exista raporturi de subordonare.
b) Relatiile dintre consiliul local si primar pot fi apreciate pornind de la observatia ca primarii sunt autoritati executive si nu deliberative, ceea ce inseamna ca dintr-un anumit punct de vedere ar exista o relatie de autoritate intre consiliu si primar (a se vedea si procedura validarii primarului, juramantul etc.).
In acelasi timp, din punct de vedere al modului de formare, ambele autoritati sunt constituite prin votul direct al cetatenilor, ceea ce le confera in egala masura legitimitate, deosebirea dintre ele nefiind de natura juridica (ambele autoritati apartin administratiei publice). Am putea vorbi asadar, de existenta, in primul rand, a unor relatii de cooperare si de control prin delegare, atat consiliul local avand competente de control asupra primarului, cat si acesta, la randul sau, asupra consiliului local prin competentele pe care le are in virtutea dublului sau rol de autoritate administrativa locala si, in acelasi timp, agent al statului (controlul de legalitate si dreptul de a sesiza prefectul).
Relatii cu elementele exterioare sistemului autoritatilor administratiei publice
A doua grupare mare de relatii in care sunt implicate autoritatile administratiei publice sunt relatiile cu elementele exterioare acestui sistem. In cadrul acestora vom analiza:
A. Relatiile cu autoritatile publice care exercita puterea legislativa
Analiza tipurilor de relatii la care participa autoritatile administratiei publice, implica precizarea unor aspecte in legatura cu raporturile dintre autoritatile administratiei publice si cele care exercita puterea legislativa (Senat si Camera Deputatilor), aspecte care nu au fost aratate la momentul in care am analizat raporturile dintre administratie si mediul politic.
a) Guvernul, ca autoritate publica de varf a puterii executive si raspunzator pentru conducerea generala a administratiei publice, chemat sa asigure realizarea politicii interne si externe a tarii, coopereaza in indeplinirea atributiilor sale cu organismele interesate (art.101 alin.(2) din Constitutie).
Potrivit principiului separatiunii puterilor statului, reflectat in Constitutie prin mecanismul de formare si functionare a Guvernului, nu se poate afirma ca intre autoritatile publice care exercita puterea legislativa (Senat si Camera Deputatilor) si Guvern ar exista relatii de subordonare, de autoritate ierarhica.
Aceste relatii sunt, in primul rand, de cooperare, asa cum am aratat mai sus, dar si de control, determinat de delegarea expresa prin Constitutie, care atribuie Parlamentului competenta de a realiza controlul parlamentar (art.110 din Constitutie) si, chiar mai mult, de a retrage increderea acordata Guvernului prin adoptarea unei motiuni de cenzura in conditiile stabilite de Constitutie, ceea ce poate conduce la demiterea Guvernului.
b) Ministerele si celelalte organe de specialitate ale administratiei publice centrale stabilesc cu autoritatile publice care exercita puterea legislativa (Senat si Camera Deputatilor) relatii de cooperare sau de control prin delegare, nu numai indirect prin Guvern, ci si in mod direct (art.110 alin.(1) din Constitutie).
c) Consiliile judetene, locale si primarii sunt autoritati ale administratiei publice locale prin care - potrivit prevederilor Constitutiei - se realizeaza autonomia locala la nivelul unitatilor administrativ-teritoriale, iar in aceasta calitate relatiile dintre ele si autoritatile publice care exercita puterea legislativa sunt similare cu ale celorlalte autoritati ale administratiei publice.
Caracterul de autoritati deliberative al consiliilor locale, nu schimba natura juridica a acestora, iar autonomia este pur administrativa, adica ea priveste organizarea si functionarea administratiei publice locale si gestionarea sub proprie raspundere a intereselor colectivitatilor pe care le reprezinta.
B. Relatiile cu autoritatile publice care exercita puterea judecatoreasca
Pot fi relatii de cooperare, de reprezentare sau de control. Astfel, pentru realizarea activitatii de asigurare a legalitatii, autoritatile administratiei publice intra in relatii de cooperare cu autoritatile judecatoresti si cu ministerul public.
Relatii de control prin delegare se creeaza atunci cand o autoritate a administratiei publice, de regula un minister sau un organ central de specialitate al administratiei publice, controleaza o autoritate judecatoreasca, sub alte aspecte decat cel al infaptuirii justitiei. De exemplu, controlul financiar al Ministerului de Justitie controleaza modul de executie al bugetului unui tribunal judetean. In acest caz, relatiile de control sunt consecinta delegarii, nu a subordonarii ierarhice sau functionale.
C. Relatiile cu organizatiile non-guvernamentale sunt relatii de cooperare (de cele mai multe ori formalizate, adica obligatorii, potrivit unor dispozitii legale) sau relatii de reprezentare.
Astfel, autoritatile administratiei publice sunt obligate sa intre in relatii de cooperare cu sindicatele pentru realizarea unor obiective legate de protectia muncii, somaj, asigurarea timpului de odihna etc.
In alte situatii, autoritatile administratiei publice au reprezentanti in diferite organizatii non-guvernamentale, sau acestea din urma au reprezentanti pe langa autoritatile administratiei publice; acest sistem asigura o legatura permanenta intre aceste organisme.
D. Relatiile autoritatilor administratiei publice cu cetatenii
Toti cetatenii intra, sub forme variate, in relatii cu autoritatile administratiei publice, deoarece calitatea de cetatean scoate in evidenta competenta autoritatilor administratiei publice, in privinta acestora.
Relatiile ce se stabilesc intre autoritatile administratiei publice si cetateni pot fi: relatii de cooperare (colaborare); relatii de utilizare a serviciilor publice (deci, de prestatii din partea administratiei catre cetateni) si relatii de autoritate (sau de subordonare a cetatenilor fata de autoritatile administratiei publice). Analizand aceste categorii de relatii, vom evidentia necesitatea democratizarii permanente a administratiei publice, in ideea stabilirii unei legaturi sistematice intre cetateni si administratie.
Trecand la analiza acestor categorii de relatii vom preciza urmatoarele:
a) Relatiile de cooperare (de colaborare) intre autoritatile administratiei publice si cetateni, care trebuie sa ocupe rolul cel mai important, atat din punct de vedere al ponderii, cat si al valorii continutului lor.
Aceste relatii subliniaza in primul rand sprijinul pe care cetatenii sunt chemati sa il dea administratiei publice in vederea realizarii misiunii acesteia, iar pe de alta parte, ele trebuie sa reflecte existenta unei legaturi absolut necesare intre administratia publica si cei administrati.
Relatiile de cooperare administratie publica-cetatean sunt o expresie a accesului participativ al populatiei la realizarea treburilor publice, in ultima instanta, o dovada a existentei sau inexistentei unei societati democratice. Ele pot fi grupate in doua subcategorii, si anume:
- Relatiile de cooperare directa, in care cetatenii in mod individual sau grupati, participa la realizarea unui interes general, la finalizarea unor actiuni, la fel ca aparatul, ca structurile administratiei publice. De exemplu, sarcinile privind gospodarirea localitatilor, se realizeaza atat prin structurile proprii autoritatilor administratiei publice (sectorul de gospodarie comunala, de arhitectura sau de investitii), cat si prin cetateni, luati individual sau grupati in diverse forme de organizare.
- Relatiile de cooperare indirecta, apar in cazul in care cetatenii sprijina actiunea autoritatilor administratiei publice fara sa participe la respectiva activitate in mod direct. De exemplu, oferta pe care o fac cetatenii, in sprijinul actiunii administratiei prin modalitatile de care dispun (contractele de furnizare de produse cerealiere sau animaliere; ajutorul in caz de incendiu sau inundatii etc.).
b) Relatiile de prestari de servicii ale administratiei publice catre cetateni constituie al doilea tip de relatii intre administratia publica si cetateni.
Este evident ca administratia publica nu se limiteaza prin autoritatile sale, la organizarea realizarii in concret a legii, ci ea are drept mobil si organizarea unor servicii publice intr-o gama variata si complexa de probleme, servicii publice care sa presteze activitati cetatenilor. Acest aspect, al atributiilor de servire a populatiei, este mai evident la autoritatile administratiei publice locale, in special, la cele din municipii, orase si comune, dar si la serviciile desconcentrate ale autoritatilor administratiei publice centrale. Importanta unei bune serviri a populatiei credem ca nu mai este necesar sa o subliniem, fiind de la sine inteles ca realizarea unei serviri necorespunzatoare a cetatenilor determina grave consecinte sociale si politice, cu posibile repercusiuni atat asupra persoanelor, cat si asupra statului.
Asadar, serviciile aduse cetatenilor de administratia publica, prin natura lor, au o specializare diferentiata, ceea ce determina o pregatire corespunzatoare a personalului din acest domeniu. Slaba calitate a prestatiilor efectuate de autoritatile administratiei publice catre cetateni lezeaza nu numai interesele acestuia, ci si ale altor cetateni, in ultima instanta, ale statului.
Referindu-ne pe scurt la continutul acestor prestatii, amintim ca administratia publica trebuie sa raspunda, in limita legilor, la toate interesele si nevoile cetatenilor, cum ar fi: eliberarea de acte (certificate, dovezi, adeverinte); intocmirea de acte utile (de nastere, casatorie, deces, notariale); sa apere drepturile si interesele cetatenilor prin masuri de ocrotire sociala (instituiri de tutele, curatele, ocrotirea familiei, ajutoare sociale diferite etc.).
Din punct de vedere juridic, relatiile dintre administratia publica si cetateni pentru prestarea de servicii publice pot fi de doua tipuri:
. Relatii ce se statornicesc in baza normelor de drept administrativ (regim juridic administrativ);
. Relatii ce se statornicesc in baza normelor de drept civil (regim juridic civil).
Relatiile de tip administrativ se bazeaza pe norma juridica, pe actul normativ ce stabileste competentele autoritatilor administratiei publice.
In aceasta situatie, cetateanul are dreptul sa se adreseze administratiei publice in temeiul respectivului act normativ. Spre exemplu, utilizarea serviciului public al invatamantului de toate gradele sau al ocrotirii sanatatii, rezulta din actele normative in materie. Exista asadar, un drept legitim al cetateanului de a se adresa administratiei publice pentru satisfacerea unui interes personal.
In legatura cu aceasta problema, se pot ivi mai multe posibilitati, si anume: administratia publica este obligata sa satisfaca cererea cetateanului, in urma intrunirii unor conditii din partea celui care solicita (de exemplu, acordarea unui pasaport sau a unui permis de circulatie auto); cetateanul intra in mod obligatoriu in relatii de prestatii de servicii cu autoritatile administratiei publice, apare deci o subordonare a cetateanului (de exemplu, obligatia la vaccinare etc.).
c) Relatii de autoritate (de subordonare a cetatenilor fata de autoritatile administratiei publice). Aceste relatii sunt determinate in mod evident de vointa unilaterala a autoritatilor administratiei publice, ele sunt impuse cetatenilor, nefiind necesar acceptul celor care sunt chemati sa participe in aceste relatii.
Astfel, obligatiile cetatenilor pot fi: de a face (de exemplu, verificarea periodica a instalatiilor de incalzire), de a nu face (de exemplu, sa nu produca zgomot in locuinta intre anumite ore), de a da (de exemplu, plata unor taxe).
Aceste obligatii ale cetatenilor decurg fie din situatia materiala a cetatenilor (spre exemplu, impozitul pe venituri), fie din situatia subiectiva a cetateanului (de exemplu, obligatiile personale, cum ar fi satisfacerea serviciului militar).
Corecta desfasurare a relatiilor intre autoritatile administratiei publice si cetateni fiind o conditie si, in acelasi timp, o expresie a democratismului statului de drept, este garantata printr-un complex de acte normative si institutii juridice special create in scopul asigurarii accesului efectiv, din ce in ce mai amplu, al cetatenilor la infaptuirea administratiei.
Termenul de serviciu public este utilizat atat in sens organizatoric, de organism social, cat si in sens functional, de activitate desfasurata de acest organism .
Data fiind complexitatea cerintelor sociale, exista si o mare varietate de servicii publice.
De aceea, se impune a se face distinctie intre serviciu public si serviciu de utilitate publica.
Distinctia intre cele doua servicii consta in faptul ca primul este infaptuit de o organizatie statala, iar cel de-al doilea de o organizatie nestatala (asociatie, fundatie etc.).
In cazul organizatiilor mixte, de stat si particulare, ne aflam in prezenta unui serviciu public, deoarece la acea organizatie participa si statul, fie ca autoritate publica, fie ca persoana juridica.
Literatura de specialitate distinge, ca servicii publice, serviciul de legiferare, la care participa Parlamentul (Camera Deputatilor si Senatul), serviciul public judiciar, infaptuit de instantele judecatoresti si serviciile publice administrative.
Serviciul public de legiferare are ca scop adoptarea de norme juridice obligatorii, care sa reglementeze, in mod uniform, la nivelul intregii tari, raporturile sociale; serviciul judiciar solutioneaza, cu putere de adevar legal, conflictele juridice si sanctioneaza pe cei care incalca legea; serviciile administrative asigura executarea legilor si a hotararilor judecatoresti, ordinea publica, siguranta nationala si creeaza conditiile de desfasurare a activitatii in domenii privind sanatatea, instructia publica, cultura, transport etc..
Serviciul public poate fi organizat fie la nivel national, pentru intreaga tara (serviciul public al transportului aerian, feroviar), fie la nivel local (transportul in comun in cadrul unei localitati).
Pentru a fi in prezenta unui serviciu public, sunt necesare urmatoarele conditii:
. satisfacerea cerintelor membrilor societatii;
. infiintarea lor sa se faca prin acte de autoritate. Astfel, ministerele se infiinteaza prin lege, organele de specialitate din subordinea Guvernului se infiinteaza prin hotarare a Guvernului, iar cele din subordinea ministerelor prin ordin al ministrului; potrivit Legii administratiei publice locale nr. 215/2001, consiliile judetene pot infiinta prin hotarare, institutii social-culturale si sanitare de interes judetean etc.;
. activitatea lor se desfasoara in realizarea autoritatii publice, personalul lor avand, in principal, calitatea de functionar public;
. sunt persoane juridice, avand toate drepturile si obligatiile specifice ale acestora;
. mijloacele lor materiale sunt asigurate fie prin subventii bugetare, fie din venituri proprii.
|
De aceea, serviciul public poate fi definit ca fiind acea organizatie de stat sau a colectivitatii locale, infiintata de autoritatile competente, cu scopul de a asigura satisfacerea unor cerinte ale membrilor societatii, in regim de drept administrativ sau civil, in procesul de executare a legii. |
Serviciile publice poarta denumiri diferite ca, de exemplu, secretariate, agentii, institute, administratii, sectii, oficii, spitale, scoli, regii autonome, societati.
Organizatiile care presteaza servicii publice pot fi grupate in trei categorii:
Aceasta grupare se intemeiaza pe o serie de deosebiri, si anume:
. activitatea autoritatilor administratiei publice se caracterizeaza prin adoptarea sau emiterea de acte administrative, activitatea institutiilor publice prin aceea ca este mai mult o activitate intelectuala, iar cea a regiilor autonome este preponderent economica;
. mijloacele financiare necesare desfasurarii activitatii autoritatilor administratiei publice si, in mai mica masura a institutiilor publice, se asigura de la bugetul statului, iar regiile autonome de interes public isi asigura mijloacele banesti, in mare parte, din veniturile obtinute din activitatea proprie;
. autoritatilor administratiei publice si institutiile publice isi desfasoara activitatea, de regula, in mod gratuit, regiile autonome, de regula, contra cost;
. in activitatea autoritatilor administratiei publice preponderenta este emiterea de acte administrative; in activitatea institutiilor publice aceasta este mai redusa, iar in activitatea regiilor autonome de interes public si mai redusa.
In legatura cu regiile autonome de interes public trebuie precizat ca unele au fost create pentru a satisface unele cerinte ale populatiei ca, de exemplu, Societatea Nationala a Cailor Ferate, RENEL, RomTelecom etc..
Asadar, administratia presteaza servicii care satisfac nevoile publice, dar mai ales ea instituie si amenajeaza serviciile, adica organismele pentru satisfacerea nevoilor publice.
Aceste organisme au o infatisare mai mult sau mai putin de tip pur administrativ, cu cat se indeparteaza mai mult sau mai putin de intreprinderile particulare.
Administratia isi propune a satisface nevoi foarte variate, pentru care se apreciaza insuficienta sau criticabila initiativa particulara.
De regula, puterea politica este aceea care determina nevoile carora li se recunoaste un caracter public si pentru satisfacerea carora nu se apeleaza la initiativa particulara.
Lista nevoilor a caror satisfacere trebuie asigurata prin interventia administratiei publice sau direct prin aceasta administratie este fixata in functie de curentele ideologice, situatia economica si sociala, posibilitatile financiare si tehnice ale locului si momentului.
Interventia autoritatii publice in vederea satisfacerii unei nevoi recunoscute ca publica este mai mult sau mai putin profunda. Ea poate consta in acordarea unor subventii catre unele intreprinderi particulare, antrenand un control asupra acestor intreprinderi. Poate apoi, alaturi de acest ajutor, sa acorde anumite atributii administrative intotdeauna sub controlul administratiei, dar toate acestea presupun autoritatea unui personal administrativ.
Mergand mai departe, autoritatea publica poate decide crearea unor organisme care sa depinda de ea, sa fie emanatia acesteia pentru realizarea sarcinii publice.
Ea creeaza un veritabil serviciu public, caruia ii incredinteaza gestiunea organismelor publice si semipublice. Cu alte cuvinte, ea recurge fie la organisme care se inscriu strict in cadrul administrativ obisnuit si functioneaza in intregime dupa procedee administrative, fie la organisme care au numai caracter administrativ prin originile lor, prin prezenta unei mari parti din capitalul folosit, prin anumite reguli de functionare, prin controlul la care ele sunt supuse, dar care, in mai multe puncte, se apropie de intreprinderile comerciale si industriale obisnuite.
|
Se mai poate spune ca serviciile publice, intelese in sens larg, sunt ansambluri de persoane si bunuri create in vederea satisfacerii unei nevoi publice de catre o colectivitate publica, supuse autoritatii si controlului acesteia. |
Aceasta definitie, insusita de majoritatea autorilor in materie, face sa apara ideea de ansamblu de mijloace avute in vedere pentru satisfacerea unui scop.
Este vorba de mijloace de personal si materiale, completate cu posibilitatea utilizarii, uneori, a procedurilor juridice exceptionale.
Cheltuielile serviciilor sunt, in principiu, suportate de catre colectivitatea care a instituit si organizat serviciul. Ele pot fi acoperite total sau partial din veniturile provenite din functionarea serviciului sau cu concursul particularilor si sunt intotdeauna sub control si sub dependenta colectivitatii care le-a creat.
Exista, in diferite tari, diferite categorii de servicii publice si este posibila o clasificare a acestora dupa diferite criterii, cum ar fi natura lor sau colectivitatile publice de care depind.
Astfel:
Putem distinge servicii publice interne si extra-teritoriale. Intr-o maniera generala, toate serviciile sunt in cadrul geografic al statului, dar sunt unele care se prelungesc in exterior (de exemplu: afacerile externe au o administratie centrala si organe si agenti in exterior; serviciul marina-aviatie, care se executa si in afara granitelor). Cu toate acestea, distinctia prezinta putin interes din punct de vedere al structurii generale si al regulilor de functionare a serviciilor;
Mai importanta este distinctia intre serviciile civile si cele militare. Cele din urma sunt supuse unei discipline foarte stricte, organizate si conduse dupa reguli care, partial, le sunt proprii. In multe tari, ele dispun, chiar in timp de pace, de puterea de rechizitie a oamenilor obligati sa petreaca un anumit timp sub drapel si de anumite puteri de rechizitie a bunurilor;
Serviciile sunt exploatate in regie si alteori direct de catre administratie sau de catre un prepus general, pe care ea il supravegheaza, il numeste sau il demite;
Conditiile de functionare, regulile aplicabile sunt foarte diferite. Unele servicii sunt conduse de indivizi, altele de consilii, de colegii;
Putem distinge serviciile de administratie generala in opozitie cu cele tehnice;
Dupa colectivitatile angajate in conducerea acestor servicii, ele pot fi grupate in trei categorii: servicii nationale, regionale si locale.
Serviciile locale (create in cadrul legii) raspund unor nevoi locale sau regionale, cele nationale unor interese generale.
In cazul in care luam in considerare amenajarea serviciilor tehnice, trebuie sa distingem organisme de directie si de executie.
Apoi, pentru serviciile statului exista administratii centrale si, pe de alta parte, servicii desconcentrate.
Numarul si importanta acestora sunt variabile, dupa tari. Domeniile sunt, de asemenea, diferite: drumuri publice, asistenta, educatie, iar uneori in si mai multe materii.
Pentru a fi vorba de un serviciu public, trebuie sa existe o autoritate publica insarcinata cu organizarea acestuia. Prin organizare, sunt vizate diferite configuratii: determinarea regulilor de organizare si functionare, atributiile, dreptul de exploatare, controlul conditiilor de exercitare a acestui drept.
Anumite servicii se preteaza a fi prestate la nivel local, altele, la nivel central sau intermediar. Serviciile urbane si serviciile de distributie (apa, gaz, electricitate), sunt mai potrivite unui sistem de responsabilitate locala. In schimb, marile retele de transport, asigurarile sociale, productia de energie sunt de competenta nationala.
Astfel, Sectiunea a 2-a a Capitolului IV al Legii administratiei publice locale nr. 215/2001, este intitulata: "Serviciile publice ale comunei, orasului si aparatul propriu de specialitate al autoritatilor administratiei publice locale", iar in cuprinsul articolelor din aceasta sectiune, sunt utilizate sintagmele "servicii publice ale comunei sau orasului". Precizarea din titlul sectiunii, ne determina sa consideram ca in realitate este vorba despre doua categorii de servicii publice locale:
. servicii publice organizate de autoritatile administratiei publice locale;
. servicii publice subordonate autoritatilor administratiei publice locale.
In prima categorie intra serviciile publice organizate ca regii autonome, societati comerciale sau alte forme publice sau private care realizeaza un serviciu public pentru comuna sau oras.
Conform Legii administratiei publice locale, consiliile locale si judetene pot contracta, in conditiile legii, lucrari si servicii de utilitate publica, in limita sumelor aprobate din bugetul local si judetean.
De asemenea, autoritatile administratiei publice locale pot hotari si asupra concesionarii sau inchirierii de servicii de interes local, precum si a participarii, cu capital social sau bunuri, la societatile comerciale, pentru realizarea de lucrari si servicii de interes public local, in conditiile legii.
Descentralizarea cunoaste doua forme: descentralizarea administrativ-teritoriala, ce priveste colectivitatile locale, si descentralizarea tehnica, ce priveste serviciile administratiei publice .
Descentralizarea administrativ-teritoriala inseamna constructia pe plan local a unei administratii publice diferite de cea de stat.
Descentralizarea tehnica inseamna o deplasare in teritoriu a unor organe componente ale administratiei publice de stat.
Administratia publica, in sensul de activitate, se realizeaza prin activitati executive cu caracter de dispozitie si prin activitati executive cu caracter de prestatie. Administratia publica poate fi considerata, atat din punct de vedere formal-organizatoric, cat si material-functional, ca o totalitate de servicii publice menite sa satisfaca interesele si variatele nevoi ale cetatenilor si ale societatii.
Toate aceste servicii publice, pe plan local, se sprijina pe resursele financiare ale colectivitatilor locale.
Autonomia locala este forma moderna de exprimare a principiului descentralizarii, definit in "Carta Europeana: Exercitiul autonom al puterii locale", din 15 octombrie 1985, a Consiliului Europei.
Potrivit Cartei Europene, colectivitatile locale au dreptul la resurse financiare proprii si suficiente pentru a-si exercita, in mod liber, competentele recunoscute de lege. Resursele financiare trebuie sa fie proportionale cu atributiile stabilite de lege.
Asa cum am aratat, serviciul public este orice activitate a autoritatilor publice pentru satisfacerea unei nevoi de interes general, care este atat de importanta, incat serviciile publice trebuie sa functioneze in mod continuu.
Pornind de la aceasta definitie, criteriile de clasificare a serviciilor publice ar fi:
. interesul satisfacut (interes national sau local);
. natura serviciilor publice (administrative, industriale, comerciale etc.);
. reguli juridice aplicabile (regim administrativ sau mixt - de drept administrative si de drept privat);
. modul de organizare (ca autoritati ale administratiei publice, ca institutii publice etc.).
Descentralizarea nu priveste toate serviciile publice. Cele care sunt de interes national sau exclusiv ori preponderent national nu se descentralizeaza (de exemplu, apararea nationala, siguranta nationala). Acestea pot fi doar "desconcentrate" la nivel local, ramanand insa in structura, ierarhia si subordonarea "centrului".
Alte servicii publice se organizeaza numai la nivel local.
Pentru descentralizare intervine optiunea politica ce are in vedere atat costurile descentralizarii, cat si eficienta sociala a acesteia. Interesul este unul singur, anume ca aceste servicii publice sa raspunda cat mai bine necesitatilor locuitorilor, indiferent la ce nivel functioneaza.
Teoretic, toate serviciile publice, cu exceptia apararii nationale, ar putea fi furnizate de administratia publica locala, cu conditia sa aiba resurse suficiente. Aceasta ar fi o situatie ideala deoarece, din pacate, autoritatile locale, in general, duc lipsa de resurse financiare pentru realizarea serviciilor publice.
De aceea, administratia centrala trebuie sa joace un rol important in finantarea si furnizarea de servicii publice. Guvernele detin inca un rol major in managementul local, in multe tari, prin responsabilitatile lor functionale, prin controlul asupra accesului, intr-o masura mai mare, la finante pentru investitii, prin puterile legale asupra activitatii autoritatilor locale.
O preocupare importanta a guvernelor este ca aceste servicii publice locale sa fie oferite tuturor in conditii de echitate. Astfel, administratia publica locala, ca furnizor de servicii publice, ar putea sa nu ofere aceste servicii in mod echitabil, pentru toata colectivitatea locala, din lipsa de resurse financiare sau din inclinatii politice. De aceea, administratia centrala trebuie sa vegheze asupra modului cum sunt furnizate serviciile publice catre populatie si sa imparta resursele financiare in mod echitabil.
Pentru a face administratia publica locala puternica si un furnizor de servicii publice eficient, pot fi identificate patru functii ale autoritatilor locale:
. sa creeze infrastructura necesara unei eficiente organizari a executarii legii;
. sa asigure resurse umane pentru servicii publice de o calitate superioara, sa creasca productivitatea si nivelul de trai al cetatenilor rezidenti;
. sa regleze serviciile private ce contribuie la bunastarea, sanatatea si siguranta populatiei;
. sa furnizeze servicii si facilitati pentru sprijinirea activitatilor productive si sa permita intreprinzatorilor particulari sa-si desfasoare activitatea eficient.
Pentru a-si putea indeplini aceste functii, autoritatile locale in relatiile cu cele centrale, trebuie sa defineasca trei lucruri:
. pentru fiecare nivel de organizare a administratiei publice sa se cunoasca foarte bine competenta si responsabilitatile;
. sursele de venit sa corespunda competentei si responsabilitatilor (sa fie suficiente);
. autoritatile centrale sa conceapa un sistem de evidenta a finantelor publice la toate nivelurile si sa ofere stimulente pentru autoritatile locale in cazul unei activitati corespunzatoare a acestora.
Scopul activitatii statului, precum si a celorlalte subiecte de drept administrativ consta in satisfacerea interesului general, care include asigurarea, in ultima instanta, a necesitatilor fiecarei persoane. Pentru infaptuirea acestei finalitati, administratia utilizeaza doua forme principale de activitate: politia administrativa si serviciul public.
Interesul general cere ca initiativele libere ale particularilor sa nu prejudicieze ordinea, conditie necesara oricarei vieti sociale. De aceea, revine administratiei misiunea de a impune regulile necesare pentru asigurarea ordinii, iar acestui scop ii corespunde exercitarea politiei administrative.
Pe de alta parte, autoritatea publica preia direct sarcina satisfacerii unor cerinte de interes general, asigurand fie colectivitatii umane in general, fie particularilor, in mod individual, prestatii sau avantaje corespunzatoare prin serviciul public.
Cerintele sociale au impus o evolutie a celor doua forme principale ale activitatii administratiei, in sensul ca actiunea interesului general se extinde si in alte domenii, insa politia administrativa si serviciul public reprezinta, in esenta, principalele forme de activitate, de actiune, ale administratiei.
Daca prin serviciul public, autoritatea asigura satisfacerea unei cerinte de interes general, asigurand colectivitatii sau particularilor, prestatii corespunzatoare, in cazul politiei administrative, activitatea se exercita, in principal, prin edictarea unor reguli generale sau decizii si a unor masuri cu caracter obligatoriu, imperativ.
Politia administrativa, care stabileste activitatii private cadrul si limitele sale juridice si serviciul public (persoana juridica de drept public), ce preia sarcina de a procura particularilor ceea ce activitatea privata nu le poate oferi, reprezinta cele doua modalitati principale si diferite ale activitatii administratiei.
Notiunile de politie administrativa si serviciu public se aseamana fundamental, prin aceea ca ele asigura satisfacerea nevoilor particularilor. De altfel, chiar mentinerea ordinii publice de catre politie reprezinta o prestatie, un serviciu adus publicului.
Cu toate aceste asemanari, cele doua moduri de activitate raman insa diferite.
Cuvantul "politie" provine din latinescul "politia" care reprezinta organizarea politica, administrativa, precum si din grecescul: "politeia" care inseamna cetate. Intr-adevar, in antichitate orasele se confundau, cu adevarate state, iar serviciile publice se exercitau de o anumita categorie de functionari ca slujbasi ai cetatii. De aici rezulta si denumirea de politist, care insa s-a pastrat doar pentru o anumita sfera a functionarilor administratiei publice.
Conceptul de politie administrativa se fundamenteaza pe faptul ca libera activitate a particularilor intr-o colectivitate organizata are, in mod necesar, limite pe care administratia trebuie sa le stabileasca, altfel spus, politia administrativa este o forma de interventie pe care o exercita anumite autoritati administrative si care consta in a impune, in vederea asigurarii ordinii publice, limitarea libertatii indivizilor.[26]
Interesul comunitar impune ca initiativele particularilor sa nu prejudicieze ordinea si linistea, conditie necesara oricarei vieti sociale normale. De aceea, revine administratiei misiunea de a impune si a asigura respectarea normelor necesare ordinii si linistii publice.
Notiunea de politie administrativa are un sens totusi restrans, referindu-se la limitele impuse liberei activitati a particularilor in societatea organizata si pe care organele care realizeaza functia executiva o stabilesc si o impun celorlalti, deci tuturor. Politia administrativa reglementeaza activitatile persoanelor fizice si juridice, particulare, dar si a functionarilor administratiei, deoarece si ei trebuie sa se conformeze normelor de politie administrativa.
De principiu, politia administrativa actioneaza in scop preventiv avand ca preocupare organizarea, controlul si mentinerea ordinii publice prin masuri specifice. Aici este locul de a stabili deosebirea intre politia administrativa si cea judiciara. Politia judiciara intervine atunci cand s-a savarsit o infractiune sau o alta fapta.
Deosebirea dintre politia administrativa si cea judiciara are o deosebita importanta in statul de drept. Intr-adevar, prima se incadreaza in functia executiva a statului, iar contenciosul sau face parte din jurisdictia administrativa, pe cand cea de a doua face parte din functia judecatoreasca a statului.[27]
Politia administrativa urmareste sa mentina ordinea, fara a se implica direct in represiunea faptelor antisociale.
In practica, deosebirea dintre cele doua forme de activitate este uneori dificil de facut, deoarece personalul acestora poate fi oarecum identic, in sensul ca agentii de politie administrativa pot fi totodata si agenti de politie judiciara .
Se poate da ca exemplu, cazul agentului de politie care, atunci cand dirijeaza circulatia, se plaseaza in domeniul politiei administrative, pe cand in cazul in care incheie proces-verbal de contraventie, trece din domeniul politiei administrative in acela al politiei judiciare. Mai concret, daca un functionar al politiei participa la un baraj in cursul unei demonstratii ori manifestari publice, el este un agent al politiei administrative, iar daca intervine pentru a prinde un raufacator este agent al politiei judiciare.
In toate statele exista o politie administrativa generala si o politie administrativa speciala.
Autoritatea publica - individuala sau colectiva, numita sau aleasa - aflata intr-un anumit teritoriu raspunde de asigurarea administratiei locale, respectarea drepturilor si libertatilor cetatenesti, a ordinii si linistii publice si de aceea dispune de un ansamblu de competente si de mijloace de actiune, ceea ce constituie politia generala. Aceasta apartine statului, judetului, orasului sau comunei si actioneaza ca subiecte de drept public. In acest sens, putem da ca exemplu prefectul, reprezentantul guvernului in judet, care potrivit Legii administratiei publice locale nr. 215/2001, asigura realizarea intereselor nationale, respectarea legilor si a ordinii publice si exercita controlul cu privire la legalitatea actelor administrative ale autoritatilor publice locale si judetene.
De asemenea, primarul, ca sef al administratiei publice locale asigura respectarea drepturilor si libertatilor fundamentale ale cetatenilor, a prevederilor Constitutiei si ale legilor tarii, ale decretelor Presedintelui Romaniei, ale hotararilor Guvernului, ale actelor emise de ministri si alte autoritati ale administratiei publice centrale, ale hotararilor consiliului judetean si consiliului local. Tocmai de aceea, se preconizeaza trecerea politiei in subordinea consiliilor locale.
In unele domenii bine definite si riguroase, sunt constituite politii administrative speciale al caror obiect il reprezinta fie o categorie anumita de persoane, de pilda conducatorii auto ori strainii, fie o ramura de activitate, precum economia vanatului, pescuitul, mediul inconjurator sau organizarea si desfasurarea manifestarilor publice.
Politia administrativa generala isi realizeaza atributiile prin cel putin trei modalitati:
. reglementare, adica prin edictarea unor norme generale, care trebuie sa fie rationale si eficiente. Prin modalitatea de reglementare, autoritatea de politie poate impune tuturor persoanelor dispozitii generale restrictive ale libertatii si prevazute ca sanctiuni. Existenta sanctiunii confera regulamentului de politie administrativa caracteristica sa specifica. Reglementarea poate consta: a) dintr-o interzicere generala; b) dintr-o autorizatie prealabila c) dintr-o declaratie prealabila si d) din organizarea activitatii;
. a doua modalitate prin care politia administrativa generala isi realizeaza atributiile o constituie deciziile sau masurile individuale. Desigur, ele au la baza o norma cu caracter general, anume legea. In ce priveste deciziile, acestea pot fi scrise, orale sau chiar reduse la un gest, cum ar fi semnalizarea unui agent de circulatie;
. a treia modalitate consta in constrangere. In acest sens, autoritatea de politie poate pune in aplicare forta materiala pentru a preveni sau a determina incetarea unei dezordini.[30] Masurile mai grave de interventie prin utilizarea armelor sau prin participarea armatei la mentinerea ordinii publice, trebuie sa fie precis reglementate. In scopul infaptuirii misiunii sale de aparare si mentinere a ordinii publice, in organizarea activitatii de politie exista autoritatile de politie, adica organe competente sa adopte reglementari privind activitatea politiei.
Statul apara si asigura mentinerea ordinii pe ansamblul teritoriului, lasand autoritatilor locale grija de a lua masuri specifice pe teritoriul lor de competenta.
In ce priveste diferitele autoritati de politie, in practica cel mai frecvent exercita atributii de politie administrativa urmatoarele:
- Guvernul, care reglementeaza, activitatea cu caracter general de politie, administrativa, adoptand norme generale aplicabile pe ansamblul teritoriului national;
- Prefectul, ca reprezentant al Guvernului asigura respectarea ordinii publice in judet si dispune luarea masurilor corespunzatoare pentru apararea drepturilor si libertatilor cetatenilor, prin organele legal constituite;
- Primarul orasului sau comunei in care a fost ales asigura ordinea publica si linistea locuitorilor personal sau cu ajutorul politiei, indruma si supravegheaza activitatea gardienilor publici, ia masuri de interzicere sau de suspendare a spectacolelor, reprezentatiilor sau a altor manifestari publice care contravin ordinii de drept ori atenteaza la bunele moravuri, la ordinea si linistea publica. Tot el controleaza igiena si salubritatea localurilor publice si a produselor alimentare puse in vanzare pentru populatie, ori ia masuri pentru prevenirea, combaterea sau inlaturarea consecintelor unor fenomene periculoase (inundatii, cutremure, incendii, epidemii etc.). Ca autoritate de politie, primarul poate actiona personal, nemijlocit, dar poate sa delege unii functionari ai primariei.
Atributiile in materie de politie permit administratiei sa reglementeze activitatile individuale, dar aceasta reglementare nu este absoluta, ea se desfasoara in cadrul unor limite explicit prevazute de lege.
Mai intai, orice activitate a administratiei in exercitarea atributiilor de politie este supusa principiului legalitatii si controlului judecatoresc. Drept urmare, toate deciziile administrative in materie de politie, ca in orice materie, trebuie sa fie legale.
Administratia nu poate actiona decat in cadrul legii si o masura de politie, ca si oricare decizie administrativa, nu poate incalca dispozitiile legii sau vreun principiu general de drept.
In al doilea rand, exista anumite limite in care libertatile persoanelor ar putea fi reduse prin reglementarea politiei administrative. O masura a politiei administrative atunci cand restrange o libertate publica nu se poate justifica decat daca este oportuna. De aceea, instanta de judecata sesizata pentru a aprecia legalitatea unei masuri a politiei, urmeaza a analiza oportunitatea acesteia.
In domeniul libertatilor publice autoritatea de politie nu are temei de a reglementa sau interzice decat daca a epuizat toate celelalte mijloace. De exemplu, nu este suficient pentru a legitima interzicerea unei intruniri ca autoritatea de politie sa se teama de eventualele tulburari determinate de aceasta intrunire, mai trebuie ca autoritatea sa nu dispuna de mijloacele necesare pentru a face fata acelor tulburari.
Controlul legalitatii asupra masurilor de politie este exercitat :
. de catre instanta de contencios administrativ, urmarindu-se anularea actului ilegal si tragerea la raspundere pentru pagubele cauzate in exercitarea atributiilor de politie;
. in temeiul competentelor generale, instanta civila poate sa statueze si in domeniul activitatii politienesti, ca de exemplu in materie contraventionala;
. instanta penala poate, la randul sau, sa aprecieze legalitatea reglementarilor, a deciziilor sau masurilor individuale luate de politie, atunci cand in cadrul unui proces penal, partea prejudiciata invoca nelegalitatea acestora.
Aplicatii:
. Prezentati tipurile de structura.
. Ce reprezinta structura functionala a administratiei publice?
. Prezentati caracteristicile centralizarii administrative.
. Realizati o comparatie intre centralizare, desconcentrare si descentralizare.
. Identificati elementele descentralizarii administrativ teritoriale in Romania pe baza principiului autonomiei locale.
. Identificati relatiile existente intre subsistemul administratiei statale si subsistemul administratiei locale.
. Cum participa societatea civila la realizarea sarcinilor administratiei publice? Exemplificati.
. Prezentati legaturile administratiei publice cu puterea legiuitoare.
. Cum se reflecta valorile politice in actiunile administratiei publice?
. Precizati care dintre urmatoarele categorii de actiuni fac parte din continutul administratiei publice:
. educatia nationala;
. serviciile publice;
. ordinea publica;
. aprovizionarea populatiei;
. stingerea incendiilor;
. referendumul popular;
. Care sunt coordonatele fundamentale ale unei activitati legale a administratiei publice?
. Puterea administratiei publice este:
. absoluta;
. discretionara;
. arbitrara;
. unilaterala.
. Motivati raspunsul.
. Ce continut dati conceptului de continuitate a administratiei publice?
. Cum se manifesta principiul subsidiaritatii in administratia publica?
. Ce legaturi se pot stabili intre legalitate, subsidiaritate si continuitate - ca principii de baza ale administratiei publice?
. Criteriile care stau la baza construirii sistemului administratiei publice sunt:
. criteriul politic;
. criteriul teritorial;
. criteriul functional;
. criteriul subsidiaritatii.
. Alegeti raspunsul (le) corect(e) si argumentati alegerea facuta.
. Ce intelegeti prin serviciu public?
. Analizati caracteristicile unui serviciu public. Prezentati caracteristicile serviciilor publice locale.
. Care este diferenta dintre serviciile publice si cele de utilitate publica?
. Stabiliti criteriile de organizare a serviciilor publice.
. Alcatuiti o lista a factorilor care influenteaza prestarea serviciilor publice.
. Prezentati criteriile de clasificare a serviciilor publice.
. Ce se intelege prin descentralizare a serviciilor publice? Comentati art. 119 din Constitutia Romaniei, care prevede ca "Administratia publica din unitatile administrativ-teritoriale se intemeiaza pe principiul autonomiei locale si pe cel al descentralizarii serviciilor publice".
. Apreciati rolul administratiei publice centrale in prestarea optima a serviciilor publice la nivel local.
. Definiti autonomia locala conform "Cartei Europene: Exercitiul autonom al puterii locale ».
Asupra elementelor strutural -organic si functional, a se vedea si Al. Negoita, "Dreptul administrativ si elemente ale stiintei administratiei". T.U.B., Bucuresti 1988,.p.5, precum si R. Ionescu, Drept administrativ, Ed. Didactica si Pedagogica, Bucuresti 1970, p.4
André de Lobadére, Tratat elementar de drept administrativ, Libraria generala de drept si jurisprudenta, Paris, 1963,p.505
|