ALTE DOCUMENTE |
GRUP SCOLAR SILVIC „Dr. N. RUCAREANU“ BRASOV
PROIECT
DE CALIFICARE A COMPETENTELOR PROFESIONALE
CALIFICARE : TAMPLAR UNIVERSAL
TEHNOLOGIA FREZARII LEMNULUI MASIV LA MASINA DE FREAZAT CU AX VERTICAL TIP M.N.F.
1. ARGUMENT
Transformarea materiei prime in produse de mobila se face printrun sir de operatii si
procese de fabricatie urmarind modificarea dimensiunilor, formei si calitatii materielelor
prin operatii si mijloace specifice.
Procesul de fabricatie cuprinde urmatoarele procese tehnologice: debitarea lemnului,
prelucrarea mecanica, asamblare si montare.
Tema aleasa a fost „ Tehnologia frezarii lemnului la MNF ”.
Tema se incadreaza in Modulul 2: „Prelucrarea mecanica a reperelor din lemn masiv” din domeniul „Fabricarea produselor din lemn” , calificareTamplar universal.
La masina de frezat cu ax vertical se executa urmatoarele operatii:
Frezarea canturilor drepte, profilarea canturilor, frezarea scobiturilor, frezarea ulucului pe
canturi,frezarea profilata a doua canturi.
Prima parte-in prima parte este prezentata tehnologia frezarii lemnului, iar in a doua parte
anexele acestuia.
2. NOTIUNI GENERALE
Frezarea este operatia de prelucrare a suprafetelor sau muchiilor elemntelor pentru a se realize cele mai variate profiluri: cubice, falturi, lamba si uluc, scobituri alungite, elemente ale imbinarilor etc.
Aceasta operatie se executa la masinile de frezat cu ajutorul frezelor, la viteze foarte mari (3000…9000 rot/min).
Masa masinii este prevazuta la mijloc cu o deschizatura circulara prin care trece arborele portscula si cu santuri in coada de randunica, pentru fixarea dizpozitivelor de conducere a pieselor.
Ea se poate deplasa in sus vertical cu ajutorul unei cremaliere si al unei roti dintate aflate sub masa.
Arborele portfreza este fixat in pozitie verticala, pe doua lagare unul cu rulmenti cu bile montat sub masa masini iar celalant in lagar la capatule inferior al arborelui.
Fusul pentru freze este un arbore portscula si are un cap conic care intra in scobitura arborelui si se fixeaza cu o piulita sau cu o pana.
Pentru fixarea frezelor sau a cutitelor de freza se folosesc si capete de freza care au forma patrata sau rotunda.
Frezele sunt scule taietoare, cilindrice, conice ori profilate cu mai multe taisuri dispuse simetric. La mijloc au o gaura pentru a fixa pe fusul portfreza, cu o piulita care se insurubeaza in sus invers ivartiri arborelui.
Cutitele pentru frezat au forma unor lame de otel, late de 30…80 mm si groase de 6…8 mm, profilate la un capat sau la ambele capete. Ele pot fi drepte, curbe sau indoite si se monteaza atat pe fusuri cat sip e capete de freza.
La masina de frezat verticala pentru frezarea pieselor scurte, lucreaza un singur muncitor, iar pentru freazarea pieselor mai lungi este nevoie si de un ajutor .
Muncitorul aseaza pies ape masa masini, introducand capatul ei intre rigla de ghidaj si dispozitivul de presare, care poate fi o rigla de lemn, niste arcuri de presiune sau un pieptane executat din lemn. Piesa fiind antrenata in cutitele de frezat, muncitorul imprima o miscare de avans, impingand-o cu mana dreapta, iar spre sfarsitul frezari cu un impingator simplu de lemn.
Frezarea pieselor curbe sau cu un contur neregulat se realizeaza cu ajutorul sabloanelor de lemn sau de metal, care au forma si conturul pieselor supuse frezari.
Se fixeaza piesa pe sablonul respectiv cu dizpozitive de strangere si se apropie de freza, sprijinand sablonul de inele de reazam, avand grija ca marginile sablonului sa se sprijine, in timpul frezari de inelul de reazam.
Masina verticala de frezat dinti este folosita la executarea imbimarilor de colt a elementelor cu latime mare, cum ar fi cele de la tocurile usilor si ferestrelor sau la diferite cutii.
Aceste imbinari sunt prevazute cu cepuri in forma de dinti, care pot fi: drepti, oblici sau coada de randunica.
Masina de frezat dinti poate fi prevazuta cu unul sau mai multi arbori portfreza care funcioneaza simultan la taierea dintilor.
Arborii pot avea o pozitie verticala sau orizontala, dupa cum sunt montati la o masina verticala de frezat dinti sau la una orizontala.
Frezele folosite la frezarea dintilor sunt confectionate din oteluri speciale, avand dimensiuni respective mici, de 3…20 mm si o forma cilindrica sau coada de randunica.
La masinile verticale de frezat dinti se pot executa scobituri pentru latimi de 650…1000 mm si grosimi de 60…300 mm.
Pentru obtinerea unor dinti de dimensiuni egale si cu suprafete netede trebuie sa se foloseasca freze bine ascutite si corect montate pe arbori portfreza.
3. TEHNOLOGIA FREZARI LEMNULUI
LA MASINA DE FREZAT CU AX VERTICAL
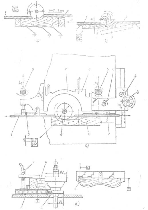
3.1.Masina de frezat cu ax vertical tip M.N.F
Frezarea este operatia de prelucrare prin aschiere cu ajutorul frezelor.
Parti componente: batiu
masa de lucru;
masa mobila;
motor electric;
ax portscula;
arbore;
rigla de ghidaj;
sanie;
roata dintata;
roata de mana;
cremaliera;
suport basculant;
placa support;
limitatoare;
maneta;
capota.
3.2. REGLAREA MASINII
Reglarea pozitiei riglelor de ghidaj se face dupa schita de mai jos.
Riglele 1 se fixeaza longitudinal cu ajutorul surubului 2 (miscarea 1). Prin actionarea rotii
de mana 3 se deplaseaza suportul si riglele de ghidaj dupa directia 2. Actionand maneta 4,
se blocheaza miscarea 2. Reglarea fina a pozitiei riglelor se face actionand surubul 5
(miscarea 3). Deplasarea dupa directia 3 se blocheaza cu maneta 6. Raordarea la
ventilatie se face prin gura 8. Adancimea de frezare h se regleaza pentru adancime de
prelucrare a frzei 9, cu capota 7, asupra materialului 10.
La frezarea simpla sau profilata a pieselor cu contur curb, frezarea se face cu sabloane
avan conturul piesei din schita de mai jos. Sablonul reprezinta si dispozitivul in care se
aseaza piesa 5 si se fixseaza, cu un dispozitiv de strangere 2. Pe arborele portscula se
monteza un inel de reazem 3 (cu rulment). Pentru ca inelul sa poata reproduce conturul
piesei 4, trebuie ca raza inelului sa fie mai mica decat orice raza de pe conturul
sablonului1. In timpul prelucrari sablonul este condusastfel, incat sa se reazeme
permanent pe inel. Razemele A,B si C de pe dizpozitiv reprezinta suprafetele de asezare.

MASINA DE FREZAT CU AX VERTICAL
3.3. Operatii de frezare la masina de frezat cu ax vertical

3.4. Domenii de utilizat la masina de frezat cu ax vertical
3.5. SCULE TAIETOARE

4. NORME DE TEHICA A SECURITATII MUNCII
IN INDUSTRIA LEMNULUI
Norme generale
Tamplarul trebuie sa participe la instructajul pe linia de productie a muncii.
Inainte de a-si incepe activitatea se executa instructajul tehnologic, unde tamplarul i-a la cunostinta notiunile generale de tehnica a securitatii muncii.
Apoi va lua parte la instructarea la locul de munca, unde isi va insusii o serie de cunostinte despre:
reguli de igiena personala;
organizarea locului de munca;
pregatirea pentru inceperea lucrari;
pastrarea curateniei;
folosirea corecta a echipamentului;
participarea corecta la toate instructajele de protectie a muncii;
Tamplarul nu are voie:
sa execute lucrari pentru care nu are calificare;
sa intre in zonele interzise;
nu paraseste locul de munca, utilajele la care lucreaza decat dupa lasarea in buna
stare si curateniei;
nu transporta scule taietoare decat in ladite speciale
Norme specifice
fixarea corecta a cutitelor pe capetele de freza, precum si a frezelor si cutitelor pe fusurile lor;
asigurarea cu contrapiulitor la fixarea frezelor si a cutitelor pe fusuri, pentru a
preveni desurubarea piulitei de presiune ;
pe rigla de ghidaj trebuie sa se monteze aparatorile de protectie, dispozitive de oprire a pieselor aruncate de cutite si dispozitive de antrenare a materialelor.
5. PREVENIREA SI STINGEREA INCENDIILOR
IN ATELIERUL DE TAMPLARIE
Prevenirea incendiilor si a exploziilor reprezinta o problema legala de protectia muncii, dar
constituie cauza unor accidente de munca.
Pentru prevenire trebuie sa se respecte
prezenta unor aparate de deconectare automata;
amenajarea unor spatii pentru fumat;
asigurarea unei bune evacuari a oamenilor;
evitarea aglomerarilor de material;
evacuarea deseurilor folosind instalatii de transport;
motoarele vor fi de tip protejat contra prafului;
se asigura toate mijloacele de prevenire si stingere a incendiilor.
6 . BIBLIOGRAFIE
masiv EDP, 1993
II 2000
7 . ANEXE

|
Freze pentru imb
|
Freze pentru imbinari
|
Freze pentru imbinari in dinti pe lungime
|
|
|
|