Roci colectoare, roci protectoare
1.1. Caracteristici generale ale rocilor de zacam nt
Zacamintele de hidrocarburi reprezinta acumulari naturale de hidrocarburi eficient exploatabile. Din punct de vedere fizic ele sunt sisteme complexe alcatuite din rocile de zacam nt si fluidele care le satureaza Existenta acu-mularilor este conditionata de o anumita configuratie a stratelor, adica de existenta capcanelor [1, 2, 3, 4]. Rocile de zacam nt cuprind roci colectoare si protectoare.
Rocile care înmagazineaza cantitati industriale de hidrocarburi se numesc roci colectoare, magazin sau rezervor. Ele trebuie sa aiba o porozitate c t mai mare care sa le asigure o buna capacitate de înmagazinare. La aceasta trebuie sa se adauge o extindere mare a zacam ntului, pentru ca resursa geologica sa fie de dimensiuni industriale spre a justifica investitiile enorme pe care le presupune punerea n valoare a zacam ntului. Dupa o clasificare conventionala, strict orientativa, colectoarele cele mai bune sunt considerate cele cu porozitate superioara valorii de 15%, iar cele mai slabe colectoare cele cu porozitatea mai mica de 5%.
O a doua proprietate implicata este permeabilitatea, care trebuie sa fie suficient de mare ca sa permita obtinerea unor debite de extractie competitive. Cele doua caracteristici ale rocilor colectoare trebuie sa coexiste.
Unele roci, cum sunt argilele, au o porozitate mare, dar o permeabilitate pentru hidrocarburi nula sau nesemnificativa. Acestea nu pot fi roci colectoare.
În afara de cele doua proprietati mentionate, calitatea rocilor colectoare este data si de anumite caracteristici ale structurii spatiului poros si de dimen-siunea porilor.
Rocile protectoare delimiteaza zacam ntul, partial sau total, în functie de tipul capcanei, si au rolul de a împiedica migrarea hidrocarburilor catre o alta capcana sau catre suprafata. Desi prezinta un interes limitat pentru ingineria de zacam nt, rocile protectoare vor fi studiate împreuna cu cele colectoare, sub denumirea comuna de roci de zacam nt. Diferentierile vor rezulta în mod explicit sau implicit, din context. De altfel, n sens restr ns, zacam ntul de hidrocarburi se limiteaza numai la spatiul ocupat de roca colectoare.
Petrolul (în acceptiunea lui generica de sistem natural de hidrocarburi - titei, gaze sau gaze cu condensat) este generat si acumulat în rocile sedimentare. Chiar daca sunt cunoscute acumulari, chiar zacaminte de petrol, în roci eruptive sau metamorfice, ele se afla în imediata apropiere a unor roci sedimentare unde petrolul a luat nastere si de unde a migrat.
Petrolul nu are legatura cu un orizont stratigrafic anume. Se gasesc zacaminte în toate orizonturile pe scara stratigrafica, de la cambrian la pliocen.
Alaturi de petrol, rocile colectoare contin apa libera ntr-o masura mai mare sau mai mica si care limiteaza volumul de acumulare a hidrocarburilor. Este necesar ca saturatia n petrol sa fie suficient de mare, cu mult peste valoarea de 50%.
1.2. Tipuri de roci de zacam nt
Rocile colectoare au o diversitate mare din punct de vedere mineralogic si petrografic. Sunt doua tipuri principale de roci colectoare: rocile detritice si rocile de precipitatie, cu precadere carbonatice.
Rocile detritice (nisipuri, gresii si, sporadic, microconglomerate, marne fisurate s.a.) formeaza cea mai mare parte a zacamintelor cunoscute: aproximativ 62% din numarul lor si contin aproximativ 59% din resursele mondiale de hidrocarburi.
Rocile de precipitatie (calcare si dolomite fisurate si cavernoase si, foarte rar, brecii), sunt ceva mai putin abundente si, probabil, mai putin explorate. Ele formeaza aproximativ 32% din zacamintele cunoscute dar contin aproximativ 40% din resurse. Este usor de observat ca zacamintele din rocile carbonatice sunt de dimensiune mai mare dec t zacamintele din rocile detritice, cel putin din punct de vedere al resurselor continute. O contributie însemnata o au zacamintele gigant din Orientul Mijlociu si din Zona Marii Caspice.
Celelalte roci colectoare, evaporite, silexite, roci vulcanice si metamorfice, sunt de departe de importanta secundara. Ele contin doar aproximativ 1% din resursele de hidrocarburi, desi reprezinta aproximativ 6% din numarul lor total.
Cu toate ca nu constituie propriu-zis o roca colectoare, se pot cita aici si carbunii care contin, uneori, cantitati nsemnate de gaze. n masura n care resursa de gaze acumulate este suficient de mare si exista posibilitati de valo- rificare, aceste gaze pot fi exploatate prin metode specifice [131]. Valorificarea acestu gen de resursa de gaze este concomitenta cu exploatarea zacamintelor de carbuni, conditionata de evacuarea, ntr-un fel sau altul, a gazelor care reprezinta un imens pericol pentru lucrul n subteran.
Rocile protectoare, impermeabile pentru hidrocarburi (ceea ce nu nsemneaza ca au o permeabilitate nula si pentru apa) sunt si ele foarte diverse. Cele mai frecvente roci protectoare sunt argilele, marnele, anumite roci carbo- natice si evaporitele.
Rocile
argiloase, marnele si sisturile argiloase au un conținut mare de
minerale argiloase, formate din particule de dimensiuni foarte mici (sub
), cu o asezare foarte compacta, datorita formei plate si a plasticitații lor. Ele reprezinta cvasitotalitatea rocilor protectoare în
seriile detritice. Calitatea de roci protectoare scade cu cresterea continutului în carbonati si nisip.
Rocile carbonatice pot fi roci protectoare n masura n care sunt compacte, lipsite de fisuri si sau caverne, iar prezenta marnelor si argilelor este sem-nificativa.
Evaporitele, în special anhidritul, sunt roci protectoare asociate cu zaca- mintele din rocile carbonatice. Textura cristalina compacta si plasticitatea lor permit o etansare perfecta pentru hidrocarburi si pentru apa
Pe l nga o compozitie mineralogica specifica, etansarea presupune si o grosime sufucienta a stratelor care delimiteaza zacam ntul de hidrocarburi.
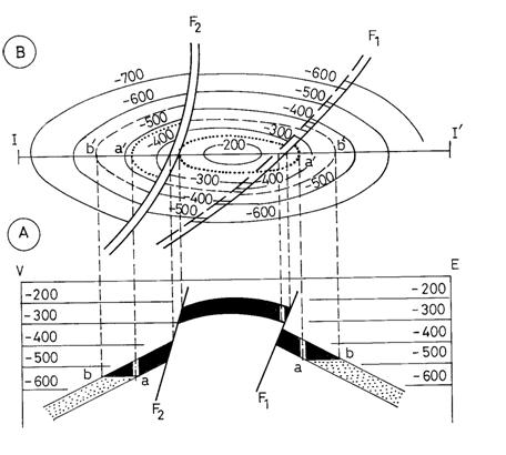
Stratigrafia, tectonica si dimensiunea zacamintelor de hidrocarburi sunt foarte diverse. În figura 1.1 este prezentata imaginea unui zacam nt de titei de forma unei bolte, compartimentat de falii etanse care formeaza mai multe unitati hidrodinamice. Pe sectiunea verticala A este consemnat numai spatiul ocupat de roca colectoare. Ea este nconjurata, evident, de rocile protectoare. Tot rol protector joaca si apa din acvifer care delimiteaza zacam ntul la partea infe- rioara.

Fig. 1.1. Zacam nt stratiform de bolta compartimentat de falii etanse.
A. Sectiune verticala I - I'
B. Proiectie în plan orizontal. F2, F1 - falii; a-b - limita apa-titei.
Trebuie mentionat ca, desi nu apare pe figura, asa cum s-a aratat mai sus, hidrocarburile sunt totdeauna însotite de c teva zeci de procente de apa ireductibila, cu care coexista n zona de deasupra limitei apa titei sau apa-gaze.
Observatiile referitoare la rocile zacamintelor de hidrocarburi sunt valabile si pentru celelalte zacaminte de substante minerale utile fluide: ape minerale, ape geotermale, dioxid de carbon etc.
Întrebari si probleme
|