Elemente structurale ale ecosistemelor
Ecosistemele, indiferent de natura lor, reprezinta o îmbinare, într-un spatiu dat si pe o durata finita, a mai multor subsisteme (sau altfel spus, reprezinta o "portiune" din natura ale carei elemente reflecta anumite tipuri de relatii ce îi confera o structura bine stabilita). Structura ideala trebuie sa îmbine perfect stabilitatea cu o usoara instabilitate si aspectul static cu cel dinamic.
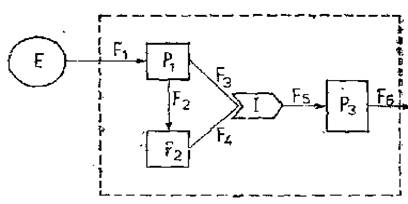
Existenta ecosistemelor se întemeiaza astfel pe integrarea structurala, cibernetica, a biocenozei (comunitatii vii) si a biotopului (sau a mediului de trai). Pentru a fi mai accesibila abordarea complexitatii ecosistemelor, s-a recurs la modelarea structurii si dinamicii lor prin simplificare. Se creaza astfel posibilitatea ca sa se detaseze (din respectiva complexitate ecosistemica) structurile, proprietatile si functiile esentiale. Un astfel de model (Odum, 1975, citat de Puia si Soran, 1987) reduce componentele la patru, care sunt considerate a fi fundamentale (fig. 5).

Fig. 5 - Reprezentarea celor patru componente fundamentale de prima importanta
în modelarea unui sistem: E - functie energetica; P - proprietati
(populatii, specii); F - fluxuri (energetice, substantiale, informationale); I -
interactiuni (genofonduri)
Se disting, astfel, proprietatile (P) sau starile fundamentale ale ecosistemului, respectiv populatiile speciilor componente, pe grupe structurale si functionale: P1 - plantele fotosintetizatoare (producatorii primari) ; P2 - animalele erbivore (consumatorii primari) ; P3 - omnivorele (ce se hranesc atât cu vegetale cât si cu animale), carnivorele, destructorii, biomasa diferitelor grupe de vietuitoare etc. Un alt element îl constituie resursele de energie care întretin sistemul în functiune, în primul rând energia solara (E), dar si diferitele forme de energie care constituie intrari în ecosistemele-artificiale prin intermediul factorului uman (cum sunt, de altfel, si agroecosistemele). A treia componenta reprezinta fluxurile sau canalele (F) de scurgere a energiei, substantei si informatiei, ce fac legatura între proprietatile (P) ale ecosistemului, pe de o parte, si care le leaga pe acestea de curentul de energie, pe de alta parte. Ultimul element fundamental care se ia, de obicei, în considerare este reprezentat de functiile de interactiune care realizeaza legaturile între curentul de energie si substante în însusirile ecosistemului. Interactiunile (I), provenite de obicei din genofondurile populatiilor alcatuitoare a ecosistemului, mijlocesc realizarea scurgerii fluxului de energie (prin amplificare sau încetinire) si a circuitului de substante.
Structura spatiala a elementelor componente ale ecosistemelor
Starile fundamentale ale ecosistemelor, atât a celor naturale, cât si a agroecosistemelor, se caracterizeaza printr-o dispunere spatiala specifica. Repartitia elementelor este determinata de modul de producere si de distribuire a substantei organice. Exista, desigur, diferente între tipurile de ecosisteme, referitor la prezenta sau la absenta plantelor verzi. Daca ecosistemele minore (Dajoz, 1972), adica fara plante verzi (din pesteri, din abisurile oceanelor etc.), nu sunt dependente de lumina solara, ecosistemele majore depind direct de aceasta si structura lor spatiala este caracterizata în principal prin plantele verzi, care sunt elementele principale de constituire ale întregului ecosistem.
Stratificarea producatorilor primari în ecosistemele naturale care depind direct de lumina solara este determinata de distribuirea lor pe verticala (stratul muscinal si de licheni, stratul ierbos si sublemnos, stratul arbustilor etc.). Straturile constitutive ale oricarui ecosistem sunt, de regula permanente. Straturile de succesiune sunt caracteristice unui episod trecator din viata ecosistemului, pe când straturile regenerative realizeaza de fapt perenitatea ecosistemelor prin procesele de autorefacere.
Distribuirea pe orizontala a speciilor edificatoare si a indivizilor din cadrul speciei reflecta adeseori un stadiu succesorial al ecosistemului, cu anumite particularitati functionale ale sale (Boscaiu N. si Soran V. 1965). în agroecosisteme distribuirea pe orizontala a indivizilor (formata din monoculturi) este rezultatul normelor de samânta si tehnicilor de semanat aplicate. Un aspect legat direct de activitatea zootehnica a fermelor agroturistice îl constituie pajistile semanate, la care se poate constata o tranzitie în distribuirea pe orizontala a indivizilor, de la starea de dispunere ordonata (impusa prin semanat) spre o stare determinata de influenta factorilor agrotehnici si a celor naturali care actioneaza ulterior (Puia I. si Heinke Klemm 1977).
Pentru a avea o imagine completa a structurii ecosistemelor vor trebui analizate, pe lânga aspectele spatiale ale elementelor constitutive, si problemele intime vizând "ecologia chimica" a biosistemelor respective.
Structura biochimica a ecosistemelor
În aria de investigatie a acestei probleme intra mai ales acele substante organice care, la nivelul biosferei, joaca rolul de ,,semnal", substante care au o importanta cu totul speciala în realizarea interactiunilor dintre organismele participante în alcatuirea diverselor comunitati. Pe lânga substantele produse de organisme pe cale metabolica, ecologia chimica se preocupa de biogeochimie, ea devenind astfel, de-a lungul timpului, o disciplina de sine-statatoare care se ocupa cu cercetarea structurii biochimice a ecosistemelor. Sfera de cuprindere a "semnalelor chimice" include si modul de actionare în biosfera a chimicalelor produse de om.
Substantele care joaca rol de "semnal" într-un ecosistem au fost denumite ecomone (Pateels J. M. 1973), ele cuprinzând îndeosebi substantele organice care contribuie la constituirea diverselor interactiuni dintre organisme. "Mesajele chimice" ale acestor substante regleaza de fapt structurile si functiile ecosistemelor. Ecomonele sunt considerate substantele chimice purtatoare de informatie paragenetica, ele neputând fi transmise ereditar, ci exprimând doar o anumita combinatie de gene (Puia I. si Soran V., 1987). Ecomonele pot fi împartite în doua clase: feromonele (substantele care au efect numai asupra indivizilor si populatiilor dintr-o specie data) si alomonele (care constituie substante chimice cu efect asupra indivizilor si populatiilor din specii felurite).
In afara modului de interactiune între organismele ecosistemelor, substantele chimice pot fi privite în functie de importanta pe care o au pentru viata organismelor. Din acest punct de vedere ele au fost împartite în trei mari grupe (Whittaker R. H., 1969, 1971): saruri minerale, alimente si alelochimicale. Acestea din urma sînr substante organice de tip endosomatic (produse de metabolismul unui organism) cu rol în controlul înmultirii si dezvoltarii speciilor competitive. Substantele mediatoare ale alelopatiei (influente reciproce dintre organisme (de exemplu, "prietenii" si "dusmanii" între plante) au fost grupate în patru categorii (colinele, fitoncidele, marasminele si toxinele) .si respectiv, antibioticele (Fleming A., 1929; Waksmann S. A., 1943; s.a.).
2.2.3. Structura trofica a ecosistemelor
Structura trofica a ecosistemelor reflecta legaturile existente între structurile spatiale si cele intime (biochimice), exprimate de fapt prin raporturile dintre diferite grupe de vietuitoare dintr-un ecosistem.
|
În realizarea structurii trofice a unui ecosistem vietuitoarele componente se însiruie în biosistemul dat într-o ordine stricta, alcatuind, din punct de vedere ecologic, asa-numitul lant trofic (lant alimentar). |
Este extrem de important numarul de lanturi trofice dintr-un ecosistem, deoarece în functie de ele se caracterizeaza complexitatea, maturitatea, vârsta, stabilitatea si tipul ecosistemului respectiv. Agroecosistemele,. de pilda, se caracterizeaza prin faptul ca poseda un numar mic, sau numai un singur lant trofic, dupa cum se va vedea ulterior.
Majoritatea covârsitoare a lanturilor trofice ale ecosistemelor sunt deschise de plantele verzi (singurele organisme capabile sa produca substanta organica din substante anorganice prin mijlocirea energiei solare) si se închid printr-o serie de "beneficiari", cum sunt carnivorele sau diversii paraziti, iar în cazul special al agroecosistemelor, beneficiarul este omul, creatorul lor.
În comunitatile naturale complexe se întâlnesc cinci niveluri trofice, care respecta cele doua legi ale termodinamicii în lanturile alimentare (a. aportul de energie într-un sistem trebuie sa fie compensat de o iesire si b. la fiecare transfer, o anumita cantitate de energie este risipita sub forma de caldura - Alexander T.R. si F i c h t e r G. S., 1973). Numarul de verigi al unui lant trofic este limitat de cantitatea de energie disponibila pentru fiecare din ele. Cele cinci niveluri trofice, reprezentate în figura 6, sînt urmatoarele: 1. producatorii, care sunt vegetalele clorofiliene si bacteriile fotosintetizante si chemosintetizante care asigura fotosinteza si chimiosinteza; 2. consumatorii primari, reprezentati de ierbivore; 3. consumatorii secundari, reprezentati de animalele pradalnice (pradatorii),, în special animalele si pasarile carnivore, sau parazitii; 4. consumatorii tertiari (sau animalele super - pradalnice, ori super - pradatorii) care se hranesc cu consumatorii secundari; 5. consumatorii hiper - pradalnici (sau hiper - pradatorii) reprezentati de asemenea de carnivore, care însa se hranesc cu consumatorii tertiari.
|
|
Fig. 6 - Nivelurile trofice existente în comunitatile naturale cele mai complexe (dupa A1 e-xander F. R. si F i c h t e r G.S., 1973)
Sunt necesare câteva precizari. Astfel, omnivorele si carnivorele se pot hrani pe seama reprezentantilor mai multor niveluri trofice. În acelasi timp, este dificil de precizat daca un animal face parte dintr-un singur nivel. Omul, de exemplu, se hraneste atât cu vegetale cât si cu animale; alimentatia sa se bazeaza deci pe cele patru niveluri inferioare ale lanturilor trofice.
Este demonstrat astfel ca baza structurii ecosistemelor o constituie plantele verzi (producatorii primari), a caror proportie în biomasa realizata este cuprinsa între 90 si 98% (S t r a h l e r A. N. si Strahler A. H., 1974). Substanta organica produsa si acumulata în plante serveste vietii plantelor, dar si a animalelor fitofage (insectelor fitofage si erbivorelor). Vietuitoarele consumatoare directe de material vegetal formeaza grupa ecologica a consumatorilor primari (C1) a caror pondere în ecosistem este relativ mica, (1-9%). Lanturile trofice ale ecosistemelor naturale se încheie printr-o grupa ecologica de organisme a consumatorilor secundari (C2), animalele carnivore si entomofage. Desi au o pondere redusa (de regula sub 1%), prin controlul exercitat asupra consumatorilor primari, au un rol reglator important în structura si functionarea unui ecosistem.
Un alt element structural al ecosistemelor îl reprezinta bacteriile si ciupercile, care se hranesc pe seama organismelor moarte. Ele au menirea remineralizarii substantei organice si poarta numele de distructori sau detritivore. Aceste organisme au un rol bine stabilit în piramida ecologica.
|
Piramidele ecologice sunt niste diagrame care arata etajarea nivelurilor trofice din interiorul unui lant trofic sau al unui ecosistem |
Un exemplu de principiu este redat în schema din figura 7.
Piramida trofica sau eltoniana (descrisa pentru prima data de catre ecologul englez Ch. S. E l t o n, 1927) poate fi exprimata prin diferite modalitati: (a) pe baza energetica, (b) dupa numarul de indivizi existenti si (c) dupa biomasa acumulata. Indiferent de exprimare, este semnificativ faptul ca piramidele trofice ale ecosistemelor sunt constituite dintr-o serie de niveluri trofice legate între ele prin mai multe lanturi trofice, care alcatuiesc retele trofice cu grad de complexitate diferit (grad mai mare la ecosistemele naturale si mult simplificate la ecosistemele amenajate).
|
|
Fig. 7 - Piramida alimentara si energetica
Piramidele de energie (fig. 8) arata cantitatea de hrana disponibila la fiecare nivel trofic. La primul nivel, cel al productiei primare nete, corespunde cantitatea de hrana (materii organice) produsa, mai putin cea utilizata de plante pentru crestere, întretinere si respiratie. Erbivorele, care se gasesc la al doilea nivel, depind pentru alimentatia lor de productia primara neta, dar si de controlul carnivorelor, reprezentante ale nivelului trofic urmator. Principiul supravietuirii se regaseste la toate nivelurile.
|
|
Fig. 8 - Piramida energetica într-un ecosistem: P - producatori
primari; D - destructori; C - consumatori (structura:
C1 9%; C2 0,9%; C3 0,1%)
Piramida numarului de indivizi ale diverselor ecosisteme reprezinta, populatiile de organisme care formeaza fiecare nivel trofic. Într-o piramida tipica, numarul de indivizi se diminueaza de fiecare data când se trece la un grad superior. Într-adevar, este nevoie de un numar mare de producatori ce pot face posibila existenta unui mic numar de erbivore, care permit subzistenta doar a câtorva carnivore. Forma piramidei difera (fig. 9) în functie de marimea indivizilor, aceasta la rândul ei fiind legata direct de numarul lor. În cazul fitoplanctonului, de pilda, (producatori extrem de mici), este nevoie de un numar enorm pentru a hrani animalele erbivore. Din contra, la o piramida unde producatorii sunt foarte mari (de exemplu, arbori mari), baza este mult mai mica.
|
|
Fig- 9 - Piramida numarului de indivizi (adaptat dupa A l e x a n d e r
T. R. si Fichter G.S., 1973): a - pasune (vara); b - padure
(vara)
|
|
Piramidele biomaselor au, ca si cele ale numarului de indivizi, o forma variabila, potrivit cu natura ecosistemului. Biomasa totala este greutatea tuturor producatorilor, consumatorilor si descompunatorilor (sau bioreductorilor) care se gasesc într-un ecosistem la un moment dat. Cu alte cuvinte, biomasa este greutatea tuturor organismelor care traiesc la fiecare nivel trofic. Cel mai adesea aceasta greutate se diminueaza progresiv spre vârful piramidei. Forma piramidei difera în functie de talia organismelor si de epoca determinarii, dupa cum rezulta din figura 10. Când organismele tuturor nivelurilor trofice au o talie asemanatoare, piramida are o panta usoara. Când producatorii sunt foarte mici, piramida este inversa.
Fig. 10 - Variatia formei piramidei biomaselor (în greutate uscata):
a - lac (vara); b - lac (iarna); c - pamânt necultivat
Referindu-ne la un ecosistem natural teoretic de tipul unei paduri tropicale, structura piramidei eltoniene, la diferite niveluri trofice si în diferite moduri de exprimare, reiese din tabelul 4 (dupa A. N. si A. H. Strahler, 1974, citati de Puia si Soran, 1987).
Structura trofica a unui ecosistem natural de tipul unei
paduri tropicale
Tabelul 4
|
Nivelul trofic |
Piramida trofica |
|||||
|
Piramida energiilor |
Piramida numarului [de indivizi |
Piramida biomaselor |
||||
|
cantitate (kcal/m2/an |
cantitate (indivizi/ha) |
cantitate (g/m2) | ||||
|
Producatori primari (P) Consumatori primari (C1) Consumatori secundari (C2) Consumatori tertiari (C3) |
90,0 9,0 0,9 0,1 |
103 | ||||
|
|
Problema structurii trofice devine cu atât mai interesanta cu cât interventia omului în ecosistem este mai accentuata, cum este cazul agroecosis-temelor, dupa cum este sugerat, dupa diferiti ecologi (Odum E. P, 1971; Duvingneaud P., 1967; Borgstrom, 1972 s.a.), în figura 11
Fig. 11 - Piramida trofica eltoniana a unui ecosistem natural si a unui
agroecosistem în echilibru si dezechilibru cu populatia umana pe
care trebuie sa o sustina (dupa diferiti autori, citati de Puia I. si
Soran V, 1987)
Daca în ecosistemele naturale orice crestere a populatiilor unui anumit .nivel trofic, ce modifica proportia legica admisa în piramida trofica, este reglata printr-o serie de controale ecologice (de exemplu, controlul carnivorelor asupra erbivorelor), în agroecosisteme sarcina reglatoare revine omului. Un exemplu în acest sens îl constituie erbivorele domesticite, care, prin scoaterea lor de sub controlul exercitat de reteaua trofica a ecosistemelor naturale, prin înmultirea lor excesiva si prin suprapasunat pot duce la distrugerea pajistilor (ecosistemele "seminaturale"). Ca rezultat apare degradarea biotopurilor respective datorita dezechilibrului dintre productia vegetala si micsorarea posibilitatilor de regenerare a vegetatiei ca urmare a faptului ca este consumata în exces.
În acest context trebuie precizat faptul ca în orice tip de ecosistem (natural, ori amenajat de om) efectivul populatiei oricarui beneficiar al piramidei trofice nu poate creste la infinit, deoarece suprafetele, volumele si productiile ecosistemelor respective sunt finite.
|