C520 based digital thermometer and thermostat
This schematics show a digital thermostat designed for controlling ambient
temperature inside a house. Thermometer display temperature in 0C...99.9C range
and the thermo 929d35j stat can set a temperature in 0..99C range.
The temperature real range is between 12C and 25C inside a house.
C520 is an oldest but goldest AD converter designed more than 10 years ago in
Deutchland Democratic Republic. The first purpose for C520 was digital
voltmeter -9.9mV to +999mV range in three digits display using external BCD to
7 segments dedicated decoder. Two trimmers ( for zero
adj. and full scale adj.) and some external components were also necessarily.
In this application C520 acts as a relative digital voltmeter, all trimming settings
were made in thermometer section. Here is the schematics
for voltmeter section:

The zero scale adjust resistor was replaced with R1 and R2
and full scale adjust resistor (normally connected between pin 13 and ground ) is missing. C1 set the numbers of readings/second
at a reasonable value (3 to 6 for a good visibility). Demultiplexing circuit Q1
to Q3 supplies the common anodes digits. U2 is a normal TTL BCD to 7 segments,
common
anodes decoder, it has only the disadvantage that can't decode - sign , this appears like a c sign on display. Because only
positive temperature are measured this situation will
never be visible. Analogic signal is applied between HI and LOW pins. This
signal comes from the thermometer section:

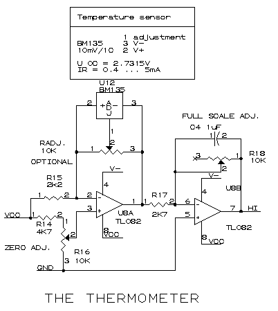
The thermometer use a romanian
temperature sensor BM135, it's like a diode with better characteristics:
+10mV/C instead of -2.2mV/C. For a good replaceability of temperature sensor an
optional adjustment resistor must be added. In this application the sensor is
biasing under constant current. Repetitive and successive operation must be done
for calibrating the thermometer:
two fixed temperature points ( at 0C and 100C ) are
necessarily, with sensor at 0C a ZERO ADJ. is done, with sensor at 100C a
FULL SCALE ADJ. is done. Because these two adjustments are interdependently,
must be done for 3...4 times until
the correct measurement appears. Programming the set temperature is show in
next section:

U6 and U7 latch the tens and units digits of temperature
measurement simultaneously with multiplexing signals M ( Most
Semnificative Digit ) and I (Intermediate Semnificative Digit ). Because
multiplexing signals comes with a small pause between them, these signals must
be integrated with R11, C8 and R10,C7 to prevent false
spikes. Tens digit is compared in U10 ALU
with preset tens from BCD inverted programmer connected at JP2. Unit digit is
compared in U11 ALU with preset units from BCD inverted programmer connected at
JP1. When the preset temperature is equal with the measured temperature, K1
relay is released and the point of last digit display ( U5
) become blank.
A better way is to use instead of 181 ALU two 485, 4bit magnitude comparator or
much better is to built a thermostat using a PIC16F84 microcontroller. A few
years ago when I made this project these were the best devices I've had...
And of course all these electronics needs a power supplies:

One more phrase: C9 must be a very good polyester capacitor, U10 and U11 CMOS ALU and U3, U4 and U5 low current display digits. Supplementary 100nF capacitors ( not shown in schematics) must be soldered on power pins near the C520 converter if the cheaper solution of power supplies ( show above ) without transformer is used.
|