Objective |
This chapter introduces:
Sweep Trajectories
Sweep Cross Sections
Guiding a cross section along a trajectory creates a swept feature form as shown in Figure 3-1.
|
When choosing a sketching plane to sketch the trajectory, the direction arrow prompt is for the direction of viewing the sketching plane, not the direction of feature creation. |

Figure 3-
A swept feature is created by first selecting or sketching a trajectory. After the trajectory has been regenerated successfully, the system provides dashed cross-hairs (normal to the trajectory star 21221w2217v t point) as references for creating the feature's cross-section.
Options |
Free Ends and Merge Ends are options available when adding swept features to a model. If Merge Ends is selected, one of the ends of the swept feature must have a surface to merge into.
Table 3-
|
Free Ends |
Merge Ends |
|
|
|
The default option is Free Ends. If Merge End is selected and it is not a viable option, the feature aborts. Start with the Free End option. Once it is determined that Merge Ends is a viable option, redefine the swept feature.
No Inn Fcs (No Inner Faces), shown in Figure 3-2, and Add Inn Fcs (Add Inner Faces), shown in Figure 3-3, are options available when creating a base feature using a closed trajectory sweep.
|
|
|
Figure 3-
|
|
|
Figure 3-
Sketch / Select Trajectory |
A trajectory is defined by sketching new geometry or selecting from existing geometry, as shown in Figure 3-4.

Figure 3-
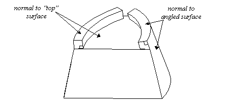
When selecting trajectories, the system prompts to select a surface to which the sweep cross section is normal. Figure 3-5 shows the difference between two different selections for the normal surface of similar swept features.

Figure 3-
Trajectory Corners |
Trajectory entities that are not tangent produce "mitered" corners, as shown in Figure 3-6.
|
Figure 3- |
Start Point |
The start point of a trajectory is defined as the point where the sketch of the swept feature's cross section is started. The start point (indicated by an arrow) defines the cross-hair location when sketching the cross section. The start point must be at one end of a trajectory. You can move the start point by choosing Sec Tools, Start Point.
In the Figure 3-7, the start point moves to the arc with dimension sd7 if the line with dimension sd3 is deleted. When a new entity is sketched in place of the sd3 line segment, the start point maintains its location in the middle of the trajectory. The start point must be moved to an endpoint before the trajectory sketch can be completed.

Figure 3-
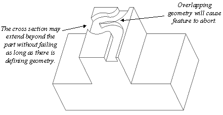
Overlapping Geometry |
If the cross section overlaps itself as it travels along the trajectory, the feature aborts. If this occurs, redefine the cross section or the trajectory.

Figure 3-
This page intentionally left blank.
Exercise 3a Swept Features |
Objective |
After you complete this exercise, you will be able to:
Create Swept Features
Redefine Swept Features
Modify Swept Features
Create a new part.
Create a new part called block.
Create default datum planes.
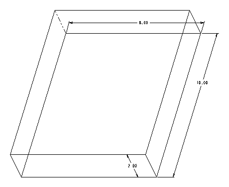
Create the rectangular, extruded protrusion shown in Figure 3-9.

Figure 3-
Create a swept cut feature.

Figure 3-
Choose Feature, Create, Cut, Sweep, Solid, Done.
Choose Sketch Traj.
Select a sketching plane on which to sketch the trajectory shown in Figure 3-11.
Select a viewing direction and a reference plane.
Sketch, Dimension, Align and Regenerate the trajectory section for the cut shown in Figure 3-10. The trajectory must also be dimensioned with respect to the part as shown in Figure 3-11.

Figure 3-
Choose Done from the SKETCHER menu when the sketch regenerates successfully.
Choose Free Ends, Done.
When the cross hairs appear, sketch a closed semi-circular section centered at the intersection of the cross hairs.
Align the endpoints of the arc to the block. Dimension the arc as shown in Figure 3-12 and Regenerate.

Figure 3-
Select the area inside the arc to be removed.
Select
and
.
Redefine the sweep to Merge Ends.
Choose Feature, Redefine and select the cut.
Double click on the Attributes element in the dialog box.
Choose Merge Ends, Done.
Select
and
. The completed cut should appear as shown in Figure 3-13.

Figure 3-
Modify the cut.
Choose Modify and select the cut. The SPECIFY menu enables you to select the trajectory and the section. Either or both may be selected.
Modify the radius of the arc in the trajectory from 3 to [2]. Why does the feature fail? Choose Undo Changes from the RESOLVE FEAT menu.
Create a swept protrusion.
Create the swept protrusion shown in Figure 3-14. Refer to the swept cut instructions for assistance if necessary. Consider the following points when creating the feature:
The cross section must be closed because the protrusion hangs off the part. A sketched entity must define what happens to the cross section when it hangs off the edge of the part.
This sweep must be a Free End sweep because there is no surface for the protrusion to merge into.

Figure 3-
Redefine the swept protrusion.
The section of the feature is to be redefined to look like that shown in Figure 3-15 by moving the cross section to one side of the cross hairs.


Figure 3-
Choose Feature, Redefine.
Double click on the Section element in the dialog box.
Choose Sketch.
|
When using the Move command, select the center of the arc. Selecting the arc itself changes the size of the arc. |
Use Geom Tools, Move to place the cross section on one side of the vertical cross hair (towards the center of the part).
Regenerate successfully and choose Done. If any errors occur, the size of the cross section arc may need to be reduced to eliminate geometry overlap as it is sweeps along the trajectory.
Select
and
.
Redefine the trajectory of the cut.
|
Redo starts the trajectory from scratch. Modify allows you to return to Sketcher and work with the original trajectory sketch. |

Figure 3-
Choose Feature, Redefine and select the cut.
Double click on the Trajectory element in the dialog box.
Choose Modify, Done.
Choose Sketch and make the necessary changes to make the feature appear as shown in Figure 3-16.
Regenerate successfully and choose Done. Ensure that the start point is at an endpoint. If any errors occur, the size of the cross section arc may need to be reduced to eliminate any geometry overlap as it is swept along the trajectory.
Select
and
.
Save the part and Erase it from memory.
Exercise 3b Swept Base Features |
Objective |
After you complete this exercise, you will be able to:
Create Base Features Using Sweeps
|
For additional exercises on the topics covered in Chapter 3, see Appendix B, Exercises B3 and B4. |
Create the following parts.
Create the following parts using swept protrusions for the base features. In all cases, remember to use default datum planes.
|
Figure 3- |
Figure 3- |
|
Figure 3- |
Figure 3- |
This page intentionally left blank
|