ALTE DOCUMENTE
|
|||
Тази тема прави въведение в мобилните телекомуникации и дава общ поглед върху мрежите за връзки с подвижни абонати. Тя запознава с основните компоненти на една мобилна клетъ 23123d36x 095;на система, структурата на мрежата и използваната основна терминология.
При усвояване на материала трябва да се обърне внимание на следното:
1.1 Мобилност в телекомуникационната мрежа
Безжичните комуникации осигуряват възможности за връзки с подвижни абонати. Те предоставят всички видове услуги на обикновената телефонна връзка. Основният им отличителен белег е мобилността. Нещо повече, една мрежа за връзки с подвижни абонати (мобилна клетъ 23123d36x 095;на мрежа) може да увеличи капацитета на други телекомуникационни мрежи, осигурявайки мобилност - например, когато се използва като мрежа за достъп до Интернет.
На съвременния пазар на телекомуникационни услуги различни системи, предназначени за подпомагане на мобилността, функционират паралелно в една и съща географска област. Аналоговите и цифровите системи, безжичните и сателитните системи са в състояние да задоволят потребителските изисквания за безжични комуникации по различни начини.
Мобилността в обществената телекомуникационна мрежа не е еднозначно понятие. Прави се разлика между преносимост (портативност), преместваемост (възможност за придвижване) и (пълна) мобилност.
Преносимостта представя прост случай, когато се премества само телефонът и се свързва отново в друга точка на мрежата. Преместваемостта означава, че абонатът премества своя персонален достъп - например когато се регистрира в мрежа за данни от различно място (в различна точка за достъп). Мобилността се отнася до възможността за пълна подвижност, при което и телефонът, и достъпът на абоната може да се преместват, докато мрежата автоматично следи всички придвижвания. С други думи, това означава мобилност и на телефона, и на услугата.
1.2 Кратки исторически бележки
За краткия период на своето развитие безжичните клетъ 23123d36x 095;ни комуникации са претъ 23123d36x 088;пели съществени изменения и не само количествени, но и качествени, които предължават и днес. Това дава основание да се говори за три поколения мобилни клетъ 23123d36x 095;ни системи:
първо поколение - аналоговите системи, постепенно отмиращи в миналото;
Във всички аналогови мобилни клетъ 23123d36x 095;ни системи се използва честотна модулация за предаване на речта и служебната информация (или сигнализацията). Предаването става по радиоканали, които използват различни участъци от честотния спектър. Основният недостатък на аналоговите системи е относително малкият капацитет. Това е следствие на недостатъчно рационалното използване на заделените честотни ленти при честотното разделяне на каналите. Този недостатък е станал очевиден в средата на 80-те години, първоначално в страните с най-широко разпространени мобилни клетъ 23123d36x 095;ни връзки и веднага значителни усилия били насочени към търсене на по-съвършени технически решения. В резултат на тези усилия са се появили цифровите мобилни клетъ 23123d36x 095;ни системи от второ поколение. Преходът към цифровите системи се е стимулирал и от широкото внедряване на цифровата техника в телекомуникациите. В значителна степен преходът е подпомогнат от разработването на нискоскоростни методи за кодиране и появата на свръхминиатюрни интегрални схеми за цифрова обработка на сигнали. Всички цифрови системи от второ поколение се характеризират с по-ефективно използване на наличния честотен спектър, съществено разширение на възможностите за управление и поява на допълнителни функционални възможности.
Системите от трето поколение ще могат да осигурят безжична връзка за всички видове телекомуникационни услуги. Те ще се интегрират с информационните услуги и ще предложат широк набор от възможности за мултимедия, включително видеотелефон, видеоконференция, високоскоростен достъп до Интернет, предаване на делова, развлекателна и образователна информация и т.н. Системите от трето поколение трябва да включват наземни и спътникови връзки и да поддържат скорости за предаване на информация до 384 kb/s при ограничена подвижност (скорост на пешеходец) и до 2 Mb/s в неподвижно състояние, притежавайки за това канали с достатъчно голяма широчина на честотната лента.
3. Обобщена функционална схема на мобилна мрежа
Функционалните елементи, изграждащи обществената наземна мобилна мрежа (PLMN - Public Land Mobile Network), са:
|
|
Мобилен телефон или мобилна станция (Mobile Station) - телефонът на подвижния абонат |
|
|
Базова приемо-предавателна станция (Base Transceiver Station) или само базова станция - свързва мобилните телефони към фиксираната част на мобилната мрежа |
|
|
Контролер на базови станции (Base Station Controller) - управлява група базови приемо-предавателни станции |
|
|
Централа за връзки с подвижни абонати или мобилна централа (Mobile Switching Center) - осигуряваща мобилни връзки и услуги |
|
|
Мобилна централа-шлюз (Gateway MSC) - осигурява връзки към други мрежи |
|
|
Домашна база данни (Home Location Register) - съхранява данни за идентификацията и абонамента на мобилните абонати |
|
|
База данни за временно пребиваващи абонати (Visitor Location Register) - съхранява временно данни за обслужвани абонати, които изменят местоположението си в мрежата |
В една мобилна мрежа абонатът получава достъп до мрежата по ефира (радиодостъп) през базови станции. Една базова станция BTS осигурява радиопокритие в определена географска област, наречена клетка. Условно, клетките се представят като правилни шестоъгълници, но в действителност формата на клетката е неправилна и зависи от редица фактори, свързани с разпространението на радиовълните (фиг.1.1).

Фиг.1.1 Една клетка с базова станция, обслужваща всички мобилни телефони в клетката
Контролерът на базови станции BSC (фиг.1.2) комутира трафика от множество базови станции към мобилната централа. Придвижвайки се, мобилният абонат може да смени клетката, а с това и базовата станция. Комутационните функции на контролера осигуряват възможности за превключване на връзката към друга базова станция с придвижването на абоната.

Фиг.1.2 Контролер на базови станции, комутиращ трафика от множество базови станции към мобилната централа
Контролерът на базови станции може да се разглежда като съответстващ на абонатното стъпало във фиксираната мрежа.
Една мобилна централа MSC (фиг.1.3) обслужва подвижни абонати, които се намират в някоя от клетките, принадлежащи на нейната област на обслужване. Централата осигурява предлаганите от мрежата услугите на абонатите.

Фиг.1.3 Мобилна централа, обслужваща абонати, които пребивават в нейната облст на обслужване
Понякога, когато се придвижва, абонатът сменя и обслужващата го централа - дори по време на активна връзка. За да може мобилната централа да обслужва абоната, тя трябва да има данни, свързани с неговия абонамент. Тези данни съдържат правата за достъп на абоната до услугите на мрежата т.е. информация за това кои услуги е абониран (тези данни се наричат още абонатен профил). Явно е, че всяка мобилна централа не може да съдържа абонатния профил на всички абонати. Следователно, необходимо е да има възли в мрежата, които съхраняват данни за абоната както постоянно, така и за времето на неговото обслужване. Такива възли са местата в мрежата, които управляват достъпа до базите данни.
Тази база данни, която съдържа абонатния профил и друга информация за всички правоспособни абонати, които са се абонирали в мобилната мрежа, се нарича домашна база данни HLR. Базата данни за временно пребиваващи абонати VLR е свързана с мобилната централа и съхранява временно информация за абонатите, предвижващи се през мрежата. Докато абонатът се намира в областта на обслужване на дадена мобилна централа, неговите данни се съхраняват в свързаната с централата база данни за временно пребиваващи абонати.
Фиг.1.4 показва съответствието между елементите в една фиксирана мрежа (лявата страна на фигурата) и тези в една мобилна мрежа (дясната страна на фигурата).

Фиг.1.4 Сравнение между фиксирана мрежа и мобилна мрежа
Централата-шлюз (MSC-шлюз) осигурява връзки на мобилната мрежа към други мрежи - обществени телефонни мрежи, мрежи за данни, цифрови мрежи с интеграция на услугите мрежи и други мобилни мрежи.
1.4. Основни понятия
1.4.1 Клетки и базови станции
За да се използва ефективно честотния спектър, определен за използване от мобилните абонати, всеки радиоканал трябва да се използва многократно, което изисква добре дефинирани и отделени географски области, които имат достъп до обхвата с честоти Такива области на обслужване се разглеждат като клетки. Това води до термина клетъ 23123d36x 095;ни системи.
Базовите станции използват или ненасочени, или насочени антени. Ненасочената антена излъчва (повече или по-малко) еднакво силен сигнал във всички хоризонтални посоки. По този начин тя покрива кръгла област. Мобилният телефон, намиращ се в тази област, обикновено има добра радиовръзка с базовата станция. Радиусът на окръжността може да бъде изменен с изменение на мощността на предаване на базовата станция, което в повече случаи се прави във връзка с планирането на клетъ 23123d36x 095;ното покритие. Като правило максималният размер на клетката е съобразен с възможностите за реализация на мощност на предаване на мобилния телефон.

Фиг.1.5 Базови станции и тяхното покритие в идеалния случай
Базовите станции, използващи насочени антени, всяка от които излъчва и приема в сектор от 1200, осигуряват радиопокритие в секторизирани клетки. Фиг.1.6 илюстрира идеята за съответния образец. В случай на използване на насочени антени базовите станции фактически се оказват на границата на клетките.

Фиг.1.6 Три секторизирани клетки
Не винаги е необходимо да се използват заедно и трите секторизирани клетки. Понякога е достатъчен един сектор - например когато се покрива част от път или магистрала.
1.4.2 Радиоканали между базови станции и мобилни телефони
За услугата мобилна телефония е определен специален честотен обхват (който варира в зависимост от страната и използвания стандарт). Честотният обхват на свой ред се разделя на радиоканали, обикновено с широчина 25-30 kHz. При радиодостъп за трафик се използва дуплексен режим. В този режим и базовата станция, и мобилният телефон може едновременно да предават и приемат, изисквайки два честотни обхвата, отделени на значително разстояние един от друг.
Посоката на предаване от базовата станция към мобилния телефон се нарича права посока (downlink), а посоката на предаване от мобилния телефон към базовата станция се нарича обратна посока (uplink) (фиг.1.7).

Фиг.1.7 Двете посоки на предаване при дуплексен режим на работа
Отстоянието между двата честотни обхвата се нарича дуплексно отместване. Големината на дуплексното отместване се определя от технически фактори и варира като функция на използвания честотен обхват. Комбинацията от две честоти (или части от честоти) съставя дуплексния радиоканал.

Фиг.1.8 Честотен обхват за NMT 450
Каналите на мобилната мрежа се разделят на две основни групи: канали за контрол и трафични канали.
По каналите за контрол се предава служебна информация за системата или информация, свързана с обслужването на повикванията. Броят на каналите за контрол в клетката варира като функция на използвания метод за достъп и очакваната интензивност на повикванията. Каналите за контрол се наричат още сигнални канали.
Каналите за контрол и трафичните канали се наричат логически канали. Логическите канали се проектират (наслагват се) върху физическите канали т.е. логическият канал е използване на физически канал за специални цели.
Физически канал може да бъде излъчвана радиочестота, двойка от честоти (включително дуплексното отместване) в аналогова система или времеинтервал по двойка честоти в цифрова мобилна система.
1.4.3 Включване и изключване
При включването си мобилният телефон установява връзка с мрежата. По този начин той има "достъп до мрежата" и мрежата регистрира неговите придвижвания.
Потребителят може да изключи мобилния си телефон, например за да съхрани мощността на захранващата го батерия. Докато мобилният телефон е изключен, не е необходимо да се прави опит за връзка с него. Затова системата следи дали е свързан към мрежата (включен) или е отделен от мрежата (изключен).
1.4.4 Роуминг
Независимо от местоположението на включен мобилен телефон, мрежата поддържа постоянна радиовръзка с него. Роуминг функцията дава възможност на мобилния абонат да се придвижва из мрежата и да получава обслужване къде да е в нея.
1.4.5 Изменение на местоположението и търсене - област на местоположение
Когато има входящо повикване към мобилен телефон, мрежата трябва да може да определи неговото местоположение. Регистрирането (или изменение на местоположението) е функция, при която мрежата следи придвижванията на мобилния телефон. и регистрира изменения в неговото местоположение. Тази функция й дава възможност да го потърси, когато към него има входящо повикване. Търсенето се прави в няколко клетки на мрежата. За търсене е възприет английският термин пейджинг ( paging).
Размерът на областта, в която не трябва да се прави регистриране, е компромис между това колко често трябва да се докладва за изменение на местоположението и в колко клетки да се търси виканият мобилен телефон. Групата от клетки, в която мобилният телефон не трябва да се регистрира и в която се търси при входящо повикване към него, се нарича област на местоположение.
Областта на обслужване на една мобилна мрежа съдържа няколко области на обслужване на мобилни централи. Областта на обслужване на една мобилна централа може да обхваща няколко области на местоположение, а една област на местоположение - една или няколко клетки (фиг.1.9).

Фиг.1.9 Връзка между области в мобилна мрежа
1.4.6 Локализиране и хендоувър
Ако мобилният телефон е в активна връзка (например по време на разговор с друг абонат), с придвижването му от клетка в клетка е необходима смяна на канала, използван за трафик или за контрол. Мрежата трябва да може да открие кога е необходимо да се осъществи такава смяна. Това обикновено става като се отчете, че нивото на сигнала е спаднало под дадена стойност или отношението сигнал/шум е незадоволително. Тази функция се нарича локализиране. Техническият термин за смяната (превключването) на канали при смяна на клетката е хендоувър (handover). Процедурата хендоувър се изпълнява по начин, незабележим за потребителя.
Тази тема има предназначението да запознае с основната стандартизираща дейност в областта на безжичните комуникации. Разгледани са най-широко разпространените аналогови и цифрови клетъ 23123d36x 095;ни стандарти, както и други системи за безжични връзки. Представена е възможната бъдеща функционалност.
При усвояване на материала трябва да се обърне внимание на следното:
2.1 Стандартизиращи организации
Стандартите играят важна роля в телекомуникациите като:
осигуряват възможност за свързване и взаимна работа на продукти на различни доставчици;
Процесът на създаване на стандарти изисква коопериране на много нива, както на национално, така и на международно ниво.
Основната цел на един стандарт за безжични комуникации е да се опише начина, по който се обработват повикванията на мобилни телефони от мобилната мрежа. Например, стандартът включва спецификация на следното:
сигналите, които се предават и приемат от мобилния телефон;
Най-важните стандартизационни усилия в областта на мобилните телекомуникационни системи са направени от Международния Съюз по Телекомуникации ITU (International Telecommunication Institute), който е публикувал голям брой препоръки за безжични комуникации. Тези препоръки осигуряват еднакви изисквания по отношение на различните дефиниции, архитектурата и услугите, свързани с обществените мобилни клетъ 23123d36x 095;ни мрежи. Препоръките разглеждат и други много важни области от съвременните комуникации като: номерационен план, качество на обслужване, сигнализация и взаимодействие между мрежи. Дадени са препоръки за използването на радиочестотния спектър - ограничения естествен ресурс, необходим за работа на мобилните клетъ 23123d36x 095;ни мрежи.
Друга стандартизираща организация, които е оказала и оказва много голямо влияние в областта на безжичните комуникации е Европейският институт за стандарти в телекомуникациите ETSI (European Telecommunications Standard Institute). Организацията ETSI е разработила спецификации за Global System for Mobile Communications - GSM и е специфицирала цифровата система за безжична телефония - Digital Enhanced Cordless Telephony - DECT и системата за търсене, наречена European Radio Message System -ERMES.
Важни стандартизиращи организации с голямо влияние в ITU са японската RCR и североамериканските ANSI, EIA и TIA.
2.2 Кодиране на речта в мобилни мрежи
Поради оскъдния обхват на налични честотни ленти всички мобилни телекомуникационни системи използват някаква хибридна форма на кодиране, която дава възможност скоростта на предаване на полезната информация да се намали до скорост далеч под 64 kb/s. Това се постига чрез специални методи на така нареченото цифрово кодиране. Съгласно препоръките на ITU всички мобилни телекомуникационни системи използват кодиране на отделни блокове (отрязъци) на речта, вместо досега познатото чисто кодиране на формата на аналоговия сигнал.
Кодиране на речта в мобилните комуникации
Човешката реч започва в гласовите струни, които вибрират и създават звуци с различна честота. Звукът се изменя, когато преминава през органите на речта, които функционират като честотен филтър. Целта на кодирането на речта в GSM системите е да се изпрати само информация за оргиналния звук и за филтъра.
При процеса на кодиране на речта се анализират дискретитете на речта и се извеждат параметрите на това, от което речта е съставена: тон (честота), височина (амплитуда), продължителност и т.н. Параметрите се предават по мрежата към другата мобилна станция (термин в GSM за мобилен телефон), която генерира речта на базата на тези параметри.
Накратко процесът на кодиране на речта в GSM (фиг.2.1) може да се опише по следния начин:
Сегментиране: Имайки предвид, че органите на речта са относително бавни при адаптиране към промени, параметрите на филтъра, представящи органите на речта, са горе-долу постоянни за време от 20 милисекунди. Ето защо, когато се кодира речта в GSM, един блок от 20 милисекунди се кодира с една група от битове.
Кодиране на речта: Вместо да се използват 13 бита за дискрет, както в при аналогово-цифровото преобразуване, кодирането на речта в GSM използва 260 бита. Тъй като в една секунда се вземат 50 дискрета, скоростта на предаване на информацията се изчислява като 50 х 260 = 13 kb/s. Това осигурява качество на речта, което е допустимо за мобилната телефония и сравнимо с безжичните телефони на обществените телефонни мрежи.

Фиг.2.1 Сегментиране и кодиране на речта
2.3 Мобилни телефонни стандарти
Различните типове мобилни мрежи се различават една от друга по следните свойства:
по метода, използван за радиодостъп - TDMA, FDMA или CDMA по разпределянето на функционалността между мрежата и мобилния телефон (например дали мрежата или мобилният телефон са отговорни за избора на канал);
Понастоящем има седем различни мобилни клетъ 23123d36x 095;ни стандарта: три аналогови и четири цифрови (табл.2.1).
Табл.2.1 Основни мобилни клетъ 23123d36x 095;ни стандарти
|
Година |
Стандарт |
Мобилна телефонна система |
Техноло-гия |
Основни пазари |
|
1981 |
NMT 450 |
Nordic |
аналогова |
Европа и Средния изток |
|
1983 |
AMPS |
Advanced Mobile Phone System |
аналогова |
Северна и Южна Америка |
|
1985 |
TACS |
Total Access Communication System |
аналогова |
Европа и Китай |
|
1986 |
NMT 900 |
Nordic |
аналогова |
Европа и Средния изток |
|
1991 |
GSM |
Global System for |
цифрова |
По целия свят |
|
1991 |
D-AMPS |
Digital-AMPS |
цифрова |
Северна и Южна Америка |
|
1992 |
GSM 1800 |
Global System for |
цифрова |
Европа |
|
1994 |
PDC |
Personal Digital Cellular |
цифрова |
Япония |
|
1995 |
PCS 1900 |
Personal Communication Services |
цифрова |
Северна Америка |
2.3.1 Аналогови мобилни стандарти
Аналоговите мобилни мрежи се характеризират с факта, че каналите за контрол и трафичните канали са аналогови. И речта (обикновено до 3kHz), и данните се модулират в носещата честота (честотата, с която се предават). Съвременните стандарти за аналогови мрежи са:
NMT
Стандартът NMT е специфициран от Скандинавската телекомуникационна администрация и е основа за първата работеща обществена мобилна мрежа, предложена на пазара (1981 г.). Съществуват два варианта: NMT 450 и NMT 900. Номерата са свързани с използваните честотни ленти. Системата NMT 900 е въведена през 1986 г. като резултат от факта, че броят на каналите на NMT е бил недостатъчен. Тя предлага и допълнителна функционалност, свързана с международния роуминг. Системата NMT е реализирана в Европа, Средния изток и Азия.
AMPS
Стандартът AMPS е специфициран от американския консорциум TIA/EIA/ANSI. Експлоатацията на първата AMPS мрежа започва в началото на 1984 г. в САЩ, а през 1988 г. стандартът е разширен, за да обхване по-широка честотна лента.
TACS
Стандартът TACS е модифициран вариант на AMPS - неговата честотна лента е малко по-висока. Изменението е направено с цел да се увеличи конкуренцията между мобилните оператори във Великобритания, където стандартът става операционен през 1985 г. Стандартът TACS също е получил по-широка честотна лента през 1988 г. и разширението е известно като Е-TACS. От тогава насам TACS се използва в много страни по света.
2.3.2 Цифрови мобилни стандарти
Цифровите мобилни мрежи се характеризират главно с цифровите си трафични канали (каналите, по които се пренася потребителската реч и данни). Това означава, че речта или данните, които пренасят, са кодирани. Те може да включват и аналогови, и цифрови канали за контрол (каналите, по които се предават сигнали за управление).
Най-разпространените цифрови мобилни стандарти са:
GSM
И трафичните канали, и каналите за контрол на системата GSM са цифрови. Стандартът GSM е специфициран от ETSI и експлоатацията на първата GSM система започва в началото на 1992 г. Първоначално съкращението GSM е произлязло от наименованието Special Group Mobile - групата на ETSI, на която през 1982 г. е била поставена задача за специфициране на цифрова мобилна система, която да включва международен роуминг, отворени интерфейси между елементите на мрежата, по-добро качество на речта и ISDN функционалност.
За GSM системите са предоставени три различни честотни ленти - 900, 1800 и 1900 MHz. Съответните стандарти (GSM 900, GSM 1800 и GSM 1900) следват една и съща спецификация. Системите GSM 1800/1900 са предназначени главно за области с голяма гъстота на мобилния трафик и са един от многото начини за използване на ограничената честотна област, налична за мобилната телефония. Ето защо, в тези GSM системи се използват микроклетки в клетки-чадър (виж т.6.2.1), в които изходната мощност и на телефона, и на базовата станция е малка.
Понастоящем GSM мрежи се експлоатират по цял свят.
D-AMPS
Стандартът D-AMPS е версия на AMPS, която е разширена за използване на цифрови трафични канали. Благодарение на използвания метод на достъп (TDMA, три времеинтервала), един канал от 30 kHz има капацитет за три канала при пълноскоростно кодиране. Разширеният стандарт IS-54, дава възможност на D-AMPS да използва и аналогови, и цифрови трафични канали в една и съща мрежа, даже в една и съща клетка. Потребителите на такава мобилна мрежа получават най-доброто качество на обслужване, ако техните мобилни телефони имат възможности за прехвърляне между аналогови и цифрови трафични канали, даже по време на хендоувър. Първата D-AMPS мрежа влиза е експлоатация през 1992 г.
Разширението на D-AMPS за включване на цифрови канали за контрол е специфицирано като IS-136. По начин, подобен на този в GSM, логическите канали за контрол се проектират върху един времеинтервал. (виж т.4.3.8). Новият стандарт включва и двата по-стари стандарта. Следователно, мрежата D-AMPS може да съдържа и цифрови, и аналогови канали за контрол. Следващото разширение на системата е свързано със спецификации за работа в честотната лента на 1900 MHz. Мобилни телефони, които използват лентата от 1900 MHz, не е необходимо да боравят с аналогови канали, но те трябва да могат да използват и двете честотни ленти - 800 и 1900 MHz.
PCS
Стандартът PCS е отворен и специфицира главно интерфейса на услугите. Системата PCS може да бъде или аналогова, или цифрова, използвайки клетъ 23123d36x 095;ни или безжични методи. Цифровият достъп може да се базира или на TDMA, или на CDMA (IS-95).
PDC
Стандартът PDC е разработен в Япония, отразявайки споразумения между 11 производителя, три от които не са японски. Системата излиза на пазара през 1993-1994 г. Въздушният интерфейс е отворен и е подобен на този на D-AMPS, докато архитектурата на мрежата и услугите наподобяват тези на GSM. За сега PDC е разпространен само в Азия.
2.3.3 Безжични системи
Клетъ 23123d36x 095;ните системи не са единственото средство за осигуряване на мобилна телефония. Друга голяма група, която трябва да се спомене в тази връзка, са безжичните (cordless) системи. За сега те не са сe развили до такава степен, че да изградят всеобхватна комуникационна мрежа, а се използват главно в частни (корпоративни) мрежи и като метод за достъп до обществените телефонни мрежи. Наименованието безжични произхожда от метода, който дава възможност на абонатите в такива мрежи да свързват своите телефони към малки базови станции. По този начин се поддържа ограничена степен на мобилност (в радиус от няколко километра). Означението CT-1 се използва за бeзжична технология (Cordless Technology) от първо поколение.
Системите СТ-3 са свързани с въвеждането на радиоцентрала, която има връзки към учрежденска или към крайна централа. Множество базови станции, свързани към радиоцентралата, ще осигуряват разширени възможности за пълна мобилност в област, покрита от централата. Система СТ-3 може да бъде базирана на стандарта DECT, който използва за радиодостъп TDMA. Системата не изисква планиране на клетки.
2.3.4 Предаване на данни в цифрови мобилни мрежи
Капацитетъ 23123d36x 090; на мобилните системи за предаване на данни е ограничен - 9.6 kb/s. Съвременното експлозивно нарастване на комуникациите за предаване на данни (като достъп до Интернет) поставя изисквания за значително по-високи скорости. Във връзка с тези изисквания в системата GSM се използват различни методи:
Увеличаване на капацитета на физическия канал от 9.6 до 14.4 kb/s като резултат от по-добри методи за кодиране на канала;

Фиг. 2.2 Обединяване на времеинтервали при предаване на данни в GSM
Пакетиране на данни в комбинация с инсталиране на така наречения пакетен комутатор (фиг.2.3). Методът е наречен обща пакетна радио услуга (система) (General Packet Radio Service (System) - GPRS). Данните се изпращат в пакети с еднакъв размер. При услугата GPRS радиоресурсите се използват, само когато се предават данни. Когато не се предават данни, радиоресурсите може да се използват за друг пакетен или комутируем трафик. Комбинацията от GPRS и HSCSD може да осигури скорости до 115 kb/s. Това се постига в GPRS чрез използване на до 8 времеинтервала

Фиг.2.3 Пакетиране на данни в GSM
2.4 Други стандарти за безжични комуникации
Мрежи за търсене на подвижни абонати в големи области
Както беше споменато по-горе, организацията ETSI е стандартизирала системата ERMES за търсене на подвижни абонати в големи области (Wide Area Paging - WAP). Първата WAP мрежа - ERMES е въведена в експлоатация през 1993 г. Системата ERMES използва 16 различни носещи честоти със скорост на данни, равна на 6.25 kb/s и включва международен роуминг между различни WAP мрежи. Приемащият повикване в мрежата ERMES може като отговор и да предаде съобщение.
2.5 Бъдещи стандарти за безжични комуникации
От няколко години ITU ръководи проект, насочен към установяване на бъдещи мобилни стандарти за системите от третото поколение: FPLMTS - Future Public Land Mobile Telecommunication System. Днес проектът е наречен IMT-2000 и адресира мобилни системи със широколентови характеристики.
Техническите изисквания към мобилните системи от третото поколение включват съвместимост със системите от второто поколение. Една от характеристиките на услугите и приложенията на третото поколение са възможностите за предоставяне на няколко услуги паралелно за всеки краен потребител/терминал.
В Европа за мобилна система от трето поколение е прието означение UMTS - Universal Mobile Telecommunication System. Системата UMTS трябва да се разглежда като разширение на GSM, а не като заместваща система.
GSM/UMTS е структурирана в мрежа за достъп и основна мрежа. Мрежата за достъп обхваща базовите приемо-предавателни станции и техните контролери, а основната мрежа включва мобилната централа и възлите с бази данни. Мрежата GSM/UMTS има две различни системи за радиодостъп - GSM радиодостъп и UMTS радиодостъп, и обща основна мрежа. Работейки и в двете честотни ленти, мобилните телефони ще могат да се адаптират към GSM, UMTS или към двете.
Някои от основните планирани услуги на UMTS включват:
предаване на реч/висококачествен звук;

PSTN - обществена комутируема телефонна мрежа
ISDN - цифрова мрежа с интеграция на услугите
Фиг. 2.4 Архитектура на GSM/UMTS мрежа
Тази тема предлага общ поглед върху основни понятия в безжичните комуникации и да запознае с особеностите на разпространение на радиосигналите.
При усвояване на материала трябва да се обърне внимание на следното:
3.1 Основни характеристики на радиовълни
При мобилните телефонни системи, за разлика от фиксираните, за предаване на информационните и служебните сигнали се използват не съобщителни кабели, а електромагнитни (радио) вълни. Радиовълните се характеризират с амплитуда, фаза, честота и дължина на вълната, скорост и посока на разпространение и т.н.
3.1.1 Честота
Честотата на една радиовълна се определя от броя на колебанията за единица време (1 секунда - s) и се измерва в херци (Hz), където 1 Hz посочва едно колебание за секунда. Означава се с f. В практиката много често радиовълните се описват, вместо с честота, с дължина на вълната.
3.1.2 Дължина на вълната
Дължина на вълната е най-малкото разстояние между две еднакви фазови състояния на вълната. Означава се с l и се измерва в метри (m).

Фиг.3.1 Дължина на радиовълната - l
Връзката между честотата f и дължината на вълната l във въздуха се дава със скоростта на светлината във вакуум (с = 3.108 m/s) чрез следната зависимост:
l = c / f
Например за GSM 900, дължината на вълната l е:
l = 3 х 108 / 900 MHz = 0.33 m (или 33 сантиметра)
3.1.3 Широчина на честотната лента
Според честотата си елекромагнитните вълни се разделят на честотни обхвати. Широчина на честотната лента (честотен обхват, диапазон) е терминът, използван за описание на обхват от честоти, намиращи се в определени граници.
Международното разделяне, използвано в радиотехниката, е представено на табл.3.1.
Табл.3.1 Видове радиовълни и честотният им обхват
|
Обхват |
Означение |
Честота |
Дължина на вълната |
|
|
|
| |||
|
|
|
VLF |
0.003 - 30000 Hz |
1010 - 104 m |
|
|
|
LF |
30 kHz - 300 kHz |
10 km - 1 km |
|
|
|
MF |
300 kHz - 3 MHz |
1 km - 100 m |
|
|
|
HF |
3 MHz - 30 MHz |
100 m - 10 m |
|
|
|
UHF |
30 MHz - 300 MHz |
10 m - 1 m |
|
|
|
VHF |
300 MHz - 3 GHz |
1 m - 10 cm |
|
|
|
Micro waves |
3 GHz - 30 GHz |
10 cm - 1 cm |
|
|
|
Micro waves |
30 GHz - 300 GHz |
1 cm - 1 mm |
|
|
|
Micro waves |
300 GHz - 3000 GHz |
1 mm - 0.1 mm |
Фиг.3.2 показва използването на наличните честотни обхвати от различни приложения.
Фиг.3.2 Използване на различни честотни обхвати
В мобилните комуникации най-често се използват радиовълни с честоти от 400 до 2 000 MHz. При тях се постига компромис между количеството на предаваната информация и големината на зоната на покритие.
3.1.4 Радиоканал
В зависимост от начина на предаване на информацията комуникационните канали са от един от следните типове:
|
Тип |
Описание |
Примери |
|
|
|
|
|
|
|
|
|
|
|
|
3.1.5 Дуплексно отместване
Използването на дуплексни канали изисква предаването в права и обратна посока да бъде отделено чрез минимално честотно отстояние. То се нарича дуплексно отместване (отстояние). Липсата на дуплексно отместване би довела до взаимни смущения между сигналите, предавани в права и обратна посока.
Фиг.3.3 показва дуплексното отместване за стандарта GSM 900.
Фиг.3.3 Дуплексно отместване
3.1.6 Отделяне между носещите честоти и широчина на канала
Освен дуплексното отместване всяка мобилна система включва и отделяне между носещите честоти. Това е разстоянието в честотната лента между каналите, използвани за предаване в една и съща посока. То е необходимо, за да се избегне припокриването на информация, предавана по два съседни канала.
Честотният обхват, в който се разпределя електромагнитната енергия при предаване на информация по един канал, се нарича широчина на канала. Фиг.3.4 показва връзката между широчината на канала в GSM и съответното отделяне на носещите от 200 kHz.
Фиг.3.4 Широчина на канала и отделяне между носещите честоти в GSM 900
3.1.7 Многократно използване на честоти
За да се покрие например цялата страна, честотите трябва да се използват многократно в различни географски местоположения, за да се осигури на мрежата достатъчно капацитет. Едни и същи честоти не може да се използват в съседни клетки, тъй като те ще си пречат една на друга, така че е необходим специален модел на използване на честоти, който се определя по време на планиране на мрежата.
Разстоянието,
необходимо
за повторно
използване
на честоти,
се определя
от отношение
между
желаното
ниво на
сигнала (в
клетката) - С и
нежеланото
ниво на
сигнала (в
най-близката
клетка,
където е
разрешено да
се използва същата
честота) -
Фиг.3.5 Смущения при използване на носещи сигнали с една и съща честота f 1 в близкостоящи клетки
3.1.8 Клъстъри от клетки
Чрез организиране на клетките в групи, наречени клъстъри (гроздове), лесно може да се осигури достатъчно разстояние за многократно използване на честоти между две клетки, които използват едни и същи честоти.
Клъстърът е група от клетки, в която всички налични честоти се използват един и само един път. Едни и същи честоти може да се използват в съседни клъстъри и тогава смущенията може да създадат проблем. Следователно, разстоянието при многократното използване на честоти трябва да бъде колкото се може по-голямо. От друга страна, операторът на мрежата се стреми максимално да използва наличните честоти на колкото се може по-малко разстояние.
Фиг.3.6 Модел от клетки 7/21 за многократно използване на честотите
3.1.9 Скорост на предаване
Количеството информация, което се предава по един радиоканал за единица време се нарича скорост на предаване на информацията. Скоростта на предаване на информацията в цифровите системи се измерва в битове за секунда (b/s). В GSM скоростта на предаване на информация по така наречения въздушен интерфейс е 270 kb/s.
3.1.10 Модулация
Тъй като честотата, която се използва за предаване на информация по радиоканала, не е тази, с която тя се генерира, са необходими методи, които да преобразуват информацията в използваната честотна лента. Преобразуването на честотата се реализира чрез модулация на амплитудата, честотата и фазата на така наречения носещ сигнал в съответствие с параметрите на речевия сигнал.
3.1.11 Метод за достъп
В телекомуникационните системи потребителите поделят помежду си ограничения брой канали по определен начин. Методът за поделяне на канала се нарича метод за достъп. Потребителите получават достъп до системата чрез разделяне на системата на една или повече операционни области: честота, време, пространство и код. Тук е разгледан накратко множественият достъп с времеделение на канали Time Division Multiple Access - TDMA , който се използва от повечето цифрови клетъ 23123d36x 095;ни системи. Аналоговите системи използват множествен достъп с честотно деление на канали (Frequency Division Multiple Access - FDMA), а някои системи използват множествен достъп с кодово деление на канали (Code Division Multiple Access - CDMA).
При метода за множествен достъп с времеделение TDMA един съобщителен канал се използва от много потребители, като всеки потребител използва канала в строго определен период от време. Тези периоди от време се разглеждат като времеинтервали. За всеки мобилен телефон е определен един времеинтервал в канала в права посока и един в канала в обратна посока. Информацията, която се изпраща в един времеинтервал по даден канал, се нарича серия. По време на активна връзка мобилните телефони не предават и приемат непрекъснато, а на серии.
Фиг.3.7 Цикъл от 8 времеинтервала при използване на метода TDMAв GSM система
3.2 Основни проблеми при предаване в клетъ 23123d36x 095;ни системи
Проблемите, които могат да възникнат при разпространение на радиовълните, обикновено са следните:
загуби от разсейване при разпространение на радиовълните, което представлява естественото затихване с увеличаване на разстоянието от предавателната антена;
3.2.1 Затихване по пътя на разпространение
Поради разсейването на енергията на радиовълните, затихването на излъчените сигнали в свободно пространство на теория е пропорционално на квадрата на разстоянието от предавателната антена. За мобилните системи това затихване е пропорционално (приблизително) на разстоянието на четвърта степен (фиг.3.8).

Фиг.3.8 Загуби при разпространение на радиовълните
Проблемът със загубите на мощността на сигналите по радиотрасето трябва да се вземе предвид, когато се проектира мрежата и се определят броят на базовите станции в областта и необходимата излъчвана мощност в клетките.
3.2.2 Фадинг от засенчване при радиопредаване
Мобилните телефони, използвани в мобилните клетъ 23123d36x 095;ни мрежи, обикновено се движат през области с препятствия с различен размер като планини, сгради и тунели. Понякога тези пречки засенчват или напълно отсичат радиосигнала. Въпреки че последствията от такива засенчващи ефекти зависят от размера на препятствието и от разстоянието до него, мощността на приетия сигнал неизбежно варира. Този тип фадинг се нарича фадинг от засенчване (фиг.3.9).

Фиг.3.9 Фадинг от засенчване
С цел минимизиране на ефекта от фадинга при засенчване базовите станции се разполагат колкото се може по-високо или близко една до друга, така че мобилните телефони да могат да комуникират около големите препятствия чрез смяна на базовата станция.
3.2.3 Фадинг на Релей
Фадингът на Релей или многопътният фадинг възниква поради приемане на няколко сигнала в приемника - отразени от близки обекти. Тези сигнали, пристигащи от различни посоки, се различават по фаза, когато достигнат до приемната антена, тъй като са изминали различни разстояния. При придвижването на предавателя или приемника разликата във фазите се променя и понякога причинява усилване на сигнала, а понякога - отслабване. Това води фадинг, който в много случаи причинява силно затихване на сигнала (спадове на фадинга).
Фиг.3.10 Многопътно разпространение на радиосигналите
При по-голяма скорост и по-висока честота периодът на фадинга намалява.
Фиг.3.11 Фадинг на Релей
Често базовите станции имат по две приемни антени, монтирани на дадено разстояние една от друга, за да се намали влиянието на смущенията, възникващи като резултат от фадинга на Релей. Тази организация се нарича пространствено разнесено приемане.
Фиг.3.12 Пространствено разнесено приемане
Като алтернатива или допълнение на пространственото разнесено приемане, което може да се използва в цифровите системи, е въвеждането на скачане на носещата (честотно разнесено приемане). Тъй като разстоянието между спадовете в нивото на сигнала зависи от използваната честота, спадовете ще се появяват на различно разстояние за различни честоти. Вероятността да се приеме добър сигнал се увеличава, ако се прилага метод на смяна на честотните канали в кратки интервали.
Фиг.3.13 илюстрира скачането на носещата в GSM. По време на TDMA цикъл с номер N се използва честота f1, а по време на TDMA цикъл с номер N+1 се използва друга честота f2. Повикването използва един и същи времеинтервал, но сменя честотата съгласно предварително определен образец.
Фиг.3.13 Скачане на носещата в GSM
3.2.4 Отместване във времето
Друг проблем, причинен от отражението на радиосигналите, е отместването (дисперсия) във времето.
Фиг. 3.14 илюстрира предаването и приемането на последователност от битове (в случая единица, последвана от нули). Мобилният телефон приема два сигнала: единият от тях е отразен от обект на разстояние няколко километра от него. Ако разликата в разстоянието, пропътувано от двата сигнала, е близо 2 километра, мобилният телефон ще приеме 0 от директния сигнал (третия бит) и единица от отразения сигнал (първия бит). Това явление се нарича междусимволна интерференция. Ако отразеният сигнал е с достатъчно голяма мощност, такава интерференция ще причини затруднения при определяне на това, какво е прието: 1 или 0.
Фиг.3.14 Отместване във времето
Проблемите, свързани с междусимволната интерференция, се решават със специален метод, наречен адаптивно изравняване.
3.2.5 Закъснение във времето
За да се избегне припокриване на серии в TDMA система, е необходимо предаването от всеки телефон да пристигне точно навреме в базовата станция. Моментът, в който мобилният телефон трябва да започне да предава, зависи и от разстоянието до базовата станция - колкото по-голямо е това разстояние, толкова по-рано трябва да започне предаването. Следователно, и мрежата, и мобилният телефон трябва да включват възможност за непрекъснато регулиране на момента на предаване.

Фиг.3.15 Закъснение във времето
Тази тема запознава с основните методи за предаване на реч по радио-трасето. Тя дава общ поглед върху въздушния интерфейс, включително физическите и логическите канали.
При усвояване на материала трябва да се обърне внимание на следното:
4.1 Обработка на информацията преди предаване
За да се осъществи предаване на информация по радиотрасето между мобилния телефон и базовата станция, е необходимо да са налице:
подходящи антени;
метод за модулация;
При цифровите мобилни мрежи, освен горепосочените общи изисквания, трябва да се поставят и допълнителни изисквания, свързани с:
необходимост от кодиране на речта (виж т.2.2);
Фиг.4.1 илюстрира схематично функциите, реализирани с цел да се посрещнат горните изисквания. Моделът е най-подходящ за цифровите мобилни клетъ 23123d36x 095;ни мрежи.

Фиг.4.1 Основни операции, свързани с предаване на информация по радиоканала
4.1.1 Кодиране на речта и сигнализацията
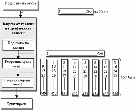
Кодирането на речта е разгледано в тема 2. Това, което е най-важно, когато се изучава от гледна точка на предаване, е че от кодера за реч се получава поток от битове със скорост 13 kb/s - съответстващ на 260 бита за блок от 20 ms. По трафичните канали се пренася тази потребителска информация.
Сигнализацията по въздушния интерфейс се пренася по различни типове канали за контрол, описани в т.4.3.8. Сигнализацията обикновено отнема малко време от общия преносен капацитет по въздушния интерфейс.
4.1.2 Защита от грешки
Защитата от грешки в мобилните мрежи обхваща както трафичните канали, така и каналите за контрол и обикновено се реализира чрез откриване и отстраняване на грешки. Откриването на грешки се осъществява чрез "излишни" битове, добавени към информацията, която трябва да се предаде по радиоканала. Корекцията на грешките става или чрез препредаване, или чрез използване на някакъв код за откриване на грешки (последният изисква повече "излишни" битове от тези, използвани за откриване на грешки).
Следователно, за трафичните канали и за каналите за контрол се използват различни методи за защита от грешки.
Защита от грешки в каналите за контрол
В мобилните мрежи, които са цифрови канали за контрол, се използват сравнително по-нови методи за защита от грешки. В GSM откриването на грешки се основава на използване на контролни суми на полезния инфромационен поток от битове. Грешките се коригират по два различни начина: или чрез препредаване, или просто чрез отхвърляне на повредени сигнални съобщения.
Защита от грешки в цифровите трафични канали
Защитата от грешки е процес, включващ два етапа. На първия етап, наречен кодиране на канала, се добавят "излишни" битове към предаваната информация. На втория етап битовете се реорганизират по предварително определен начин (реорганизиране или разреждане).
По-голямата част от битовете, които се доставят от кодера на речта към кодера на канала са блоково кодирани, което означава, че към тях са добавени битове по четност с цел откриване на грешки. След това, с цел коригиране на грешки се добавят допълнителни битове (конволюционно кодиране). Оригиналният образец от 260 бита почти се удвоява по размер (456 бита).

Фиг.4.2 Защита от грешки на трафичните канали в GSM
Реорганизирането е метод, който може да реши този проблем. Процесът на реорганизиране се изпълнява на два етапа и при него не се добавят битове. Първият етап включва разделяне на 456-те бита на групи от по 57 бита, както е показано на фиг.4.3. Серията може да пренася само две такива групи (както е описано в т.4.3.4). Вторият етап образува серията като съставена от две групи от по 57 бита, всяка от които принадлежи на последователни блокове на речта. Този метод въвежда закъснения.
4.1.3 Шифроване
Шифроването се прави с цел засекретяване на информацията по радиоканала, за да не може да се подслушва. Шифроването не въвежда допълнителни битове.
4.3.4 Форматиране на серии
Целта на форматирането на серии е да се минимизира ефекта от серии с грешно приети битове. Стандартът GSM използва четири различни формата на серии, в зависимост от типа на логическия канал. Фиг. 4.3 показва формата, използван за повечето логически канали - нормална серия.

Фиг.4.3 Пример за формат на GSM серия (нормална серия)
Всяка серия от този вид може да пренася 2 х 57 = 114 шифровани битове полезен товар. "Трениращата последователност" от 26 бита, разположена в средата, се използва, за да се решат проблемите с отместването във времето и междусимволната интерференция, която може да се е появила. Чрез сравнение на познатите битове с приетата последователност от битове е възможно да се извади заключение за отместването във времето. Известният образец от битове, заедно с метода, наречен адаптивно изравняване, се използва за изчисляване на това, което действително е предадено.
4.2 Мултиплексиране на канали
4.2.1 Мултиплексиране на физически канали в TDMA
В цифровите системи, базирани на TDMA, като GSM и D-AMPS, проектирането на логическите върху физическите канали означава, че времеинтервал и честота са определени за даден логически канал (виж фиг.4.4).

Фиг.4.4 Мултиплексиране на канали
Всички съвременни мобилни системи са базирани на множествен достъп, което означава, че всички потребители имат едновременно достъп до радиосредата Това изисква множество от правила, за да се избегнат ситуации, в които "всички мобилни телефони говорят едновременно". На фиг.4.5 е показан един от методите за мултиплексиране на канали, основан на множествения достъп с времеделение TDMA.

Фиг.4.5 Принципът на множествения достъп с времеделение на канали - TDMA
По-долу са описани два други метода, приложими към мултиплексирането на канали, използващи множествен достъп: FDMA и CDMA.
4.2.2 Мултиплексиране на физически канали в FDMA
Множественият достъп с честотно деление на канали (FDMA- Frequency Division Multiple Access) е метод, използван от аналоговите мобилни телефонни системи като NMT и AMPS. Този принцип на достъп е илюстриран на фиг. 4.6.
Честотният обхват, предназначен за клетката, се състои от лента за предаване в обратна посока (uplink) - предаване от мобилния телефон към базовата станция и лента за предаване в права посока (downlink) -предаване от базовата станция към мобилния телефон.
На свой ред всяка лента е разделена на еднакъв брой еднопосочни канали. Един канал трябва да бъде достатъчно широк (25-30 kHz), за да може да се предава реч с качество, подобно на телефонната услуга във фиксираните мрежи (около 3 kHz). Мобилните телефони трябва да имат достъп до един канал в права посока и един канал в обратна посока - два канала, комбинирани във формата на двойка трафични канали.

Фиг.4.6 Принципът на множествения достъп с честотно деление - FDMA
4.2.3 Физически канали в системите, основани на CDMA
Системите с множествен достъп с кодово деление на канали (CDMA - Code Division Multiple Access) не използват за множествен достъп честотно деление, нито пък времеделение на канали. Всички мобилни телефони могат да предават и приемат в цялата честотна лента. Вместо това се използва "трета размерност" за разделяне на канали - кодиране (фиг. 4.7).

Фиг.4.7 Принципът на множествения достъп с кодово деление на канали - CDMA
Типично свойство на метода CDMA е, че за всеки мобилен телефон в мрежата се определя уникален код. Когато мобилният телефон предава потребителската информация като поток от битове, той замества всеки бит с неговия код или с кода на неговото отрицание. Уникалният код за всеки мобилен телефон е познат и на базовата станция, която го използва за декодиране на приетата последователност.

Фиг.4.8 Два мобилни телефона предават едновременно всеки два бита
4.3 Логически канали
Логическите канали са част от физически канали, които се използват за определени (логически) комуникационни цели.

Фиг. 4.9 Логически канали в GSM
4.3.1 Трафични канали
Трафичният канал (Traffic channel - TCH) може да пренася реч и данни. Има два основни вида трафични канали за реч: пълноскоростен (13 kb/s) и полускоростен (6.5 kb/s). Скоростта за данни при пълноскоростния канал е 9.6 kb/s.
Пълноскоростният трафичен канал (TCH/F) отделя един времеинтервал във всеки цикъл за физически канал между потребителя и клетъ 23123d36x 095;ната система. Полускоростният трафичен канал (TCH/H) отделя един времеинтервал във всеки два цикъла за физически канал между потребителя и клетъ 23123d36x 095;ната система.
4.3.2 Канали за контрол
Каналите за контрол се делят на три групи: разпръсквателни канали за контрол, канали за общ контрол и предназначени канали за контрол.
Разпръсквателни канали
Разпръсквателните канали (Broadcast Channels - BCH) са три вида логически канали, които са мултиплексирани в един физически канал, който непрекъснато се излъчва от базовата станция.
Канал за корекция на честотата (Frequency Correction Channel - FCCH) - логически канал, който осигурява на мобилния телефон еталон за честотата на телефонната система и му предоставя възможност да намери излъчваната честота;
Канали за общ контрол
Каналите за общ контрол (Common Control Channels - CCCH) са група от логически канали, които подпомагат изграждането и поддържането на комуникационни връзки между мобилните телефони и базовите станции.
Канал за търсене (за пейджинг) (Paging Channel - PCH) - използва се за предаване на повиквания към мобилния телефон;
Канал за случаен достъп (Random Access Channel - RACH) - използва се, когато мобилният телефон прави опит за достъп до системата;
Канал за разрешение за достъп (Access Grant Channel - AGCH) - използва се, за да се задели за мобилния телефон сигнален канал (SDCCH), по който той да може да обменя информация със системата.
Предназначени канали за контрол
Предназначените канали за контрол (Dedicated Control Channels - DCCH) се използват за сигнализация между мобилния телефон и мрежата преди и по време на повикване.
Самостоятелен предназначен канал за контрол (Standalone Control Channel - SDCCH) - прехвърля управляваща информация между мобилния телефон и базовата станция, след като мобилният телефон е получил разрешение за достъп, но преди да се използва TCH (канала за реч или потребителски данни). Съобщенията по канал SDCCH може да включват и услуги за кратки съобщения ;
Бавен асоцииран канал за контрол (Slow Associated Control Channel - SACCH) - използва се в предварително определено време и по него се предава регулярно управляваща информация между мобилния телефон и базовата станция;
Бърз асоцииран канал (Fast Associated Control Channel - FACCH) - използва се за изпращане на спешни (непланирани) сигнални съобщения за контрол (като хендоувър или съобщение за контрол на мощността).
4.4 Модулация
Модулацията, предаването и приемането са изпълняват в края на функционалната йерархия.
Модулацията е необходима, защото честотата, с която се генерира информацията, не е тази, която се използва за предаване по радиотрасето. Аналоговите системи използват честотна модулация, а в цифровите се прилага фазова манипулация.
4.5 Антени
Мобилните телефони са оборудвани с ненасочени антени, предназначени за използване в дадена честотна лента. Всеки мобилен телефон използва една и съща антена за предаване и приемане. Антената трябва да има широколентови характеристики, т.е. подобни кръгови диаграми на насоченост в целия честотен обхват за съответния стандарт (70 MHz между най-ниската и най-високата честоти за GSM).
Географското покритие на клетката определя типа на антената, с която трябва да бъде оборудвана базовата станция. Ненасочените антени се използват в несекторизирани клетки, а насочените антени (с или без разнесеност в пространството) се използват в секторизираните клетки. Понякога се използват различни антени за предаване (голяма мощност) и за приемане (малка мощност), но обикновено са монтирани на една и съща мачта. Ако се използва една и съща антена за предаване и приемане, тя трябва да се снабди с филтър за отделяне на права и обратна посока на предаване.
Тази тема предлага общ поглед върху мобилните телефони. Тя адресира компонентите на мобилните телефони, техните функции и свойства.
При усвояване на материала трябва да се обърне внимание на следното:
5.1 Типове мобилни телефони
Мобилният телефонен апарат или накратко мобилният телефон е оборудването, използвано за достъп до мрежата. За недългата си история на развитие мобилните телефони са претъ 23123d36x 088;пели поразителни изменения - и по размер, и по тегло, и по функционални възможности. Първите телефони са били предназначени за инсталиране в превозни средства или за пренасяне в куфар или чанта на неголямо разстояние. Такива телефони са имали слушалка с клавиши, приемо-предавател, източник на захранване (акумулатор) и антена. Тежали са значително повече от килограм. Появилите се в средата на 80-те години ръчни телефони (handheld, handset) са съдържали всички необходими елементи в един корпус, но са били груби на външен вид и са тежали около 700-800 г. Постепенно ръчните телефони са изместили всички други типове и техните размери непрекъснато са се смалявали.
Функционално, съвременният телефон е също така несравнимо по-съвършен от първите модели. По същество, това е телефон-компютър, програмно свързан с определен телефонен номер, с телефонен указател, със съвършена система за защита, с удобна система с меню и т.н. Менюто позволява настройване на много от функциите на телефона по вкуса на потребителя,
Съществуват мобилни телефони, предназначени специално за приемане и предаване на факсове и данни, разбира се като допълнение на обикновената телефонна връзка. Това са така наречените комуникатори. Телефонът-комуникатор обединява на практира мобилния телефон и джобния компютър. Такива телефони са удобни за работа с Интернет. Много съвременни модели предоставят услуги на Интернет - на първо място електронна поща (e-mail) и имат съответно програмно осигуряване и по-голям дисплей. В такъв телефон се вписват функциите на радиоприемник, плейър, видеотелефон.
Мобилният офис е понятие, което се е развило като стъпка към увеличаване на взаимната работа между комуникационни устройства и компютри. Идеята е да се предоставят възможности на абонат, който се придвижва, средства за комуникация и обработка на данни, т.е. мобилният телефон да може да се свързва с персонален компютър-лаптоп, оборудван с модемна карта. Тогава лаптопът може се свърже директно към модемния порт на телефона. Портативната факс-машина е друг терминал, който може да се използва в мобилна мрежа.
Фиг.5.1 показва развитието на мобилните телефони от традиционните устройства за обмен на реч към съвременните комуникатори, които осигуряват достъп до всички видове услуги на Интернет, включително достъп до информация на "световната паяжина" - WWW, електронна поща, интерактивни услуги, предаване на файлове и Интернет-конференция.
Друг пример са многорежимните и многодиапазонни телефони, предназначени за работа в мобилни мрежи, експлоатиращи различни стандарти или различни варианти на стандарти, реализирани в различни честотни диапазони: AMPS/D-AMPS, AMPS/GSM 1900, GSM 900/GSM 1800, GSM 900/GSM 1800/GSM 1900 и др.

Фиг. 5.1 От прост мобилен телефон към интелигентен терминал
5.2 Функционална архитектура
В аналоговите системи (фиг.5.2) нискочестотният сигнал от входа на телефона се подлага на предварителна обработка (корекция на спектъра, свиване на динамичния диапазон, филтриране) в аналогов вид т.е. във вид на непрекъснат сигнал с плавно изменяща се амплитуда. След това се транслира посредством честотна модулация във високата честота на носещата. В приемната част електрическият сигнал също в аналогова форма се подлага на демодулация и нискочестотна обработка, след което се преобразува в акустичен сигнал, възприеман от човешкото ухо.

Фиг.5.2 Опростена блокова схема на мобилен телефон в аналогова система
В цифровите системи (фиг.5.3) нискочестотният сигнал от входа на микрофона първо се преобразува с аналогово-цифров преобразувател в цифрова форма, т.е. в последователност от импулси, представящи в цифров вид нивото на сигнала в дискретни (равноотстоящи) моменти.
Последващата обработка се състои от кодиране, включващо кодиране на речта с цел отстраняване на излишната информация и кодиране на канала с цел защита на информацията от грешки в следствие на изкривявания на сигнала при разпространение и обработка. За трансформирането на нискочестотния сигнал в носещата честота се използват специфични методи на дискретна модулация: фазова и честотна манипулация. Обработката на сигнали в приемната част съответства на обработката в предаващата: демодулация, декодиране, цифрово-аналогово преобразуване и постъпване на аналоговия сигнал на изхода на слушалката.
Блокът за съгласуване при приемане/предаване позволява да се използва една антена за предаване и приемане на сигнали. Той има еднакво функционално предназначение в аналоговите и цифровите системи, но е различно устроен. В аналоговите системи, в най-простия случай, това са двойка филтри, настроени на различни честоти в съотвествие с дуплексното отделяне на честотите. Единият филтър пропуска сигнала от изхода на предавателя на антената, а вторият - от антената към входа на приемника. В цифровите системи най-простият блок за съгласуване е електронният комутатор, който включва антената или към входа на приемника, или към изхода на предавателя, тъй като тук мобилният телефон никога не приема и предава едновременно.
Логическият блок, изпълняващ функции за управляние на телефона, е представен и в аналоговите, и в цифровите системи, но има различно устройство. Причината е в различният състав на управляващата информация, както и в следствие на различните параметри, използвани в сигналите за управление.
Фиг.5.3 Опростена блокова схема на мобилен телефон в цифрова система
5.3 Модул за идентификация на абоната
Има и още една отличителна особеност за мобилните телефони на стандарта GSM - SIM-картата, която не фигурира в никой друг стандарт.
SIM-картата (Subscriber Identification Module), която е модул за идентификация на абоната, е пластмасова пластина с размер 54 х 86 милиметра (пълен формат на стандарта ISO с размера на кредитна карта) или 15 х 25 милиметра (малък формат) и дебелина 0.8 милиметра. Тя се поставя в специално гнездо на мобилния телефон, който в GSM се нарича мобилна станция. В SIM-картата има памет, в която се записват данни, свързани с идентификацията на абоната, идентификацията на домашната мобилна мрежа и неговото местоположение.

Фиг.5.4 Мобилна станция - термин, използван в GSM за мобилен телефон
По-важи данни, записани върху SIM-картата, са:
персонален идентификационен номер на абоната - PIN код (Personal Identification Number), който се използва за достъп до SIM-картата;
В паметта на SIM-картата може да бъде записана и друга информация, включително кратки съобщения и до 100 телефонни номера с имена на притежателите им в телефонния указател (електронна телефонна книга). Унифицираната SIM-карта може да бъде поставена не само в кой да е модел на една разновидност на стандарта, например GSM 900, но и в модели на трите разновидности - GSM 900, GSM 1800, GSM 1900. Това дава възможност на абоната да сменя телефона без да изменя телефонния номер и PIN кода и да съхранява всички записи в електронната си книга. Без SIM-картата мобилната станция може да прави само "спешни повиквания".
5.4 Външен вид на мобилен телефон
Основата на телефона е корпус - обикновено пластмасов, понякога частично метален. Централна част на лицевата страна на корпуса заема дисплея и клавиатурата. Над дисплея е разположена слушалката, а под клавиатурата - микрофон, така че когато се сложи слушалката до ухото, микрофонът се оказва близо до устата, както при обикновена телефонна слушалка. В някои типове апарати в горната част на корпуса има светлинен индикатор (с цвят и мигане), показващ режима на работа - режим на очакване, повикване, необходимост от зареждане на батерията, захранване от външен източник.
От задната страна на корпуса се закрепва източник на захранване (акумулаторната батерия), която конструктивно, като правило, се изработва по такъв начин, че по форма и цвят да съставлява едно цяло с телефона. В долната част на корпуса има миниатюрни отвори за включване на зарядно устройство, комплект "hands-free" (външни микрофон и слушалка), персонален компютър, а в горната част - отвор за включване на външна антена.
Разбира се, броят на различните модели телефони е много голям - поне няколко стотици и всички те имат отделни особености. Може, обаче, да се отделят набор от елементи и характеристики, повече или по-малко общи за различни модели и те са:
Фиг.5.5 показва най-общия външен вид на мобилен телефон.
Всички телефони без изключение имат антена. В много телефони тя се поставя на горната част на корпуса. В по-ранните модели се е използвала подвижна антена и се е налагало последната да се вдига по време на разговор и да се държи смъкната през останалото време.
Някои телефони имат своеобразен капак, покриващ клавиатурата. Целта е защита от случайно натискане на клавиш, например когато телефонът е в джоба. Цената за удобството е необходимостта да се отваря и затваря този капак при всеки разговор. Капакът може да бъде пасивен, изпълняващ само функции на защита на клавишите или активен. В последния случай отварянето на капака при входящо повикване е еквивалентно на натискане на клавиш Send (Yes), а при затваряне в края на разговора е еквивалентно на натискане на клавиш End (No) - т.е. отварянето и затварянето на капака заменят натискането на съответния клавиш. Това е удобно, но в същото време активният капак е допълнителен подвижен елемент в телефона, който лесно може да се счупи при неакуратно манипулиране.

Фиг.5.5 Външен вид на мобилен телефон
Дисплеите на телефоните също може да са от различен тип. Исторически пръв е бил матричният светодиоден дисплей със светещи в зелен цвят символи (букви, цифри, специални символи) на сив фон. По-късно се е появил матричен дисплей с течни кристали - с тъмносиви символи на светлосив фон, който може да се включва в жълто-зелен цвят. По желание на потребителя светлината на фона може автоматично да се включва при натискане на кой да е клавиш и да се изключва при по-дълга липса на действия с клавишите. Още по-съвършен тип дисплей е този с цветни кристали, с разширени графични възможности (графичен дисплей), върху който е възможно да се възпроизведе не само определен набор от символи, но и произволни графични изображения. Това позволява да се покаже на дисплея съдържание на факс, да се играе на "Тетрис" и т.н. Започнаха да се появяват и дисплеи с цветни изображения. Възможностите за изображения на матричните дисплеи са доста ограничени - обикновено три до пет реда със символи, изобразяващи различен род съобщения (приветствия, позиция в меню, време, дата, ниво на сигнала, степен за заряда на източника на захранване, наличие на приети кратки съобщения и съобщения в гласовата поща и т.н.). Възможностите на графичния дисплей са несравнимо по-богати - на него може да се изобразява практически произволна информация, включително многоредов текст, произволни рисунки с възможности за изменение на мащаба на изображението.
От функциите на клавиатурата ще се отбележат само най-общите, отнасящи се за всички типове телефони. Предназначението на буквено-цифровите клавиши (бутони) е очевидно - те се използват само за избиране на телефонни номера, имена и фамилии, за съхранение в телефонния указател, за въвеждане на текстове на кратки съобщения, за установяване на начална стойност на дата, време и т.н. Аналогични значения имат и клавишите със значение "#" (решетка) и "*" (звездичка) - те се използват при предаване на командни съобщения. Клавиша clr служи за изтриване на погрешно набрани символи. Клавишите със стрелки се използват за вход в менюто на телефона и преместване между позициите на менюто. В много телефони функциите на някои клавиши могат да се изменят с изменение на режима на работа и текущите функции се изобразяват на дисплея.
По-особена роля имат клавишите Send (Yes) и End (No), първият от които се натиска преди началото на разговора, а вторият - след неговото завършване. На тези клавиши няма аналог в обикновените фиксирани телефони, а на всеки потребител на мобилен телефон се налага да ги използва най-често. При входящо повикване абонатът на мобилния телефон, чувайки звънеца, натиска Send и след това може да проведе разговор. Натискането на Send е еквивалентно на вдигане на телефонната слушалка на фиксиран телефон. Отчитането на ефирното време започва от натискането на Send. При изходящо повикване абонатът в началото избира номера (и при желание се убеждава в правилността на набора на дисплея), а после натиска Send - т.е. тук е обратно на фиксираните телефони, където в началото се вдига слушалката и след това се избира номера. Отчитането на ефирното време за изходящо повикване започва с натискане на клавиша Send (вдигане на слушалката) от викания абонат. В края на разговора абонатът натиска End, което е равностойно на поставяне на слушалката при фиксиран телефон. Отчитането на края на ефирното време става в момента на натискане на бутон End (затваряне на слушалката). Клавишите Send и End се използват и при работа с менюто на телефона.
Някои типове телефони имат допълнителни бутони за регулиране на силата на звука в слушалката и за включване и изключване на захранването на телефона (клавиш pwr).
Обикновено вход за менюто е натискането на единия от клавишите със стрелки. С помощта на тези клавиши със стрелки може да се прави придвижване от една позиция към друга. Организацията на менюто на телефона в много случаи е аналогична на менюто на персонален компютър, доколкото съвременните мобилни телефони фактически се явяват телефони-компютри. С помощта на менюто може да се установи режим на работа на телефона, да се изменят всевъзможните установявания (типа на звънене, парола, дата и време, език на самото меню и т.н.), да се въведе или редактира запис в телефонния указател и много други.
5.5 Свойства на мобилните телефони
Свойството на мобилния телефон се дефинира като част от оборудването или като функция, непосредствено свързани с работата му. Някои от свойствата са задължителни и те трябва да се реализират във всеки тип телефон. Други свойства са незадължителни и се предоставят по преценка на производителя.
5.5 1 Защита
В съвременните мобилни телефони са предвидени редица мерки за защита от неправомерно използване, а също и от случайни действия на самия потребител от типа на грешно натискане на клавиш, което може да доведе до нежелателни последствия. Цифровите стандарти предоставят в това отношение повече възможности от аналоговите, но мерки за защита има във всички съвременни телефони.
Преди всичко трябва да се отбележи възможността за блокиране на телефона, която може да бъде активирана (и при желание отменена) от абоната с използване на съответната позиция от менюто. Ако телефонът е блокиран, то след всяко включване е необходимо да се въведе защитният код (парола) и след това ако кодът е въведен правилно, телефонът може да се ползва.
В мобилните телефони на стандарта GSM за блокиране на телефона се използва блокировката на SIM-картата. Докато SIM-картата е блокирана, телефонът не може да се ползва. Изключение се прави само за спешни повиквания (спешни повиквания се правят дори и с невалидна SIM-карта). В SIM-картата трябва да има функционлност на PIN код, даже и ако той е деактивиран от абоната.
5.5.2 Индикация за нивото на сигнала и нивото на батерията
Върху дисплея на включения телефон винаги се изобразяват в един или друг вид диаграми, показващи нивото на приетия сигнал и нивото на зареждане на източника на захранване (акумулаторна батерия). Примери са показани на фиг.5.6 и 5.7.

Фиг.5.6 Пример за диаграма, показваща нивото на приетия сигнал:

Фиг.5.7 Пример за диаграма, показваща нивото на зареждане
5.5.3 Разпечатване на викания номер
Това свойство разрешава на викащия абонат да провери дали избраният номер е правилен, преди да се изгради връзка.
5.5.4 Осветяване на клавишите и дисплея на телефона
Съществува възможност за осветяване на клавишите и диплея, която се включва автоматично при натискане на произволен клавиш или при постъпване на входящо повикване или кратко съобщение, и също така автоматично се изключва 20-30 секунди след завършването на разговора или след натискане на кой да е клавиш. Осветяването облекчава ползването на телефона при слабо външно осветление. При желание потребителят може да регулира яркостта на осветяването или контраста на изображенията на дисплея, въобще да изключи осветяването или обратно - да го включи за постоянно. Всичко това става с помощта на менюто.
5.5.5 Звуков сигнал, съпровождащ натискане на клавиш
Служи за удобно потвърждение на това, че клавишът действително е бил натиснат (а не просто докоснат с пръст). Типът и силата на звука може да се изменят по желание на потребителя. Звуковият сигнал може да се изключи и тогава натискането на клавиш е безшумно.
5.5.6 Регулиране на силата на звука
Възможно е да се регулира силата на звука в телефона (силата на разговора) и на звънеца при повикване. При това силата на звука в телефона може да се регулира, както в свободен режим, така и по време на разговор.
Силата на звука обикновено се регулира на степени (не по-малко 4-5) от най-силния до напълно изключения звук. В последния случай потребителят разбира за постъпване на повикване по сигнала на светлинния индикатор и по съобщение на осветения дисплей. Възможно е корпусът на телефона да започне да вибрира, не издавайки звук - на дисплея на телефона излиза диаграма, напомняща, че звукът е изключен.
5.5.7 Избор на тип звънене
На звънеца може да се регулира и тона: повечето телефони предлагат избор и няколко типа звънене, включително музикални мелодии - понякога с няколко десетки варианта, с възможност за присвояване на отделен тип звънене към различни входящи повиквания, например в зависимост от номера на викащия. Последният вариант работи само в съчетание с автоматично доставяне на номера на викащия и дава възможност да се разбере кой звъни само по звука.
5.5.8 Избор на език
Във всички телефони се предвижда избор на език в менюто, а някои даже имат възможност за извеждане на произволно приветствие, изобразявано на дисплея, непосредствено след включването на телефона. В този случай текстът на приветствието се задава от самия абонат и се съхранява в паметта на телефона.
5.5.9 Телефонен указател
Телефонният указател присъства във всеки телефон и може да съдържа до 10-1000 записа. В телефоните на стандарта GSM има аналогична "книга" и в паметта на SIM-картата, която заедно със SIM картата (и със стария телефонен номер) се премества в друг телефон, ако абонатът по някаква причина го смени (например при счупване).
5.5.10 Запомняне на номера
Ако абонатът не може да отговори веднага на входящото повикване, когато неговият телефон е включен, то викащият номер се запомня и после може да бъде намерен с помощта на менюто "пропуснати повиквания". В паметта на телефона обикновено се фиксират пет или десет последни повиквания, останали без отговор. Точно така се записват в паметта и номерата на последните пет или десет последователни входящи повиквания, на които абонатът е отговорил и номерата на последните пет или десет изходящи повиквания. Всички тези номера може да се изведат на дисплей при преглеждане.
5.5.11 Отчитане на ефирното време
Практически във всички телефони има броячи, отчитащи използваното ефирно време - отделно за последното повикване и отделно за сумарния период от последното нулиране на брояча. Понякога се предвижда възможност да се отчита по желание на абоната или само времето за изходящи повиквания, или за входящите и изходящите заедно. По желание може да бъде включен звуков сигнал-напомняне при изтичане на всяка минута от разговора (или за определено време, например 10 секунди до изтичането на следващата минута). Това позволява да се контролира продължителността на разговора.
5.5.12 Часовник и календар
По желание на абоната телефонът може да се използва като часовник, будилник и календар, като при изобразяване на времето и датата може да бъде избран удобен формат. Будилникът, ако тази функция съществува в телефона, може да се включва в определено време, даже и при изключен телефон, и да подава светлинна и звукова индикация с периодично повторение на сигнала, докато будилникът не бъде изключен с натискане на кой да е клавиш на телефона.
5.5.13 Електронен калкулатор
В телефоните може да бъде вградена функция на калкулатор. В някои модели се предвиждат прости електронни игри от типа на "Тетрис", а също и вграден диктофон за няколко минутен запис и възпроизвеждане.
5.5.14 Тонални сигнали
На практика всички телефони предоставят възможност за предаване на тонални (DTMF - Dual Tone Multi Frequency) сигнали, съответстващи на цифрите 0, 1, 2, .9 и символите "* "и "#". Тоналните сигнали се използват за дистанционно управление: при извършване на банкови транзакции по телефона, управление на електрически уреди, управление на гласова поща и т.н.
5.5.15 Услуги за данни
Съвременните апарати притежават функции като: достъп до Интернет, приемане и предаване на факс и компютърни данни. Някои телефони имат вграден инфрачервен порт, който позволява да се изведе на принтер, снабден с аналогичен инфрачервен порт, произволна информация - например приет факс. При наличие на синхронизация на телефонния указател на телефона (а също и други данни, съдържащи се в неговата памет) с персонален компютър, например преносим ноутбук, се получава своеобразен органайзер във вид на комбинация от мобилен телефон и компютър.
В бъдеще възможностите на телефоните ще се разширяват, не само за да удовлетворят възникващите нови потребности, но и в значителна степен да ги определят и формират.
5.5.16 Интерфейс към аксесоари
За мобилните телефони има няколко аксесоара, които обикновено могат да се прикрепят към съединителя за аксесоари. Съединителят за аксесоари осигурява извод за контрол (за информация при избиране и извеждане), портове (вход и изход) за включване на микрофон и високоговорител, връзка към антена и вериги за мощност (вход и изход към батерията). Всеки производител и често всеки модел има уникален интерфейс за аксесоари.

Фиг.5.8 Типични връзки към аксесоари
Типовете аксесоари варират от пасивни устройства като външни антени до активни устройства като компютърно управлявани устройства и различни възможности за зареждане (фиг.5.8).
Тази тема запознава с мрежата за достъп и основната мрежа, включително възлите в тях и тяхната функционалност.
При усвояване на материала трябва да се обърне внимание на следното:
1. Основни части на мобилната мрежа
До голяма степен един и същи тип елементи на мрежата може да се намерят във всички мобилни клетъ 23123d36x 095;ни мрежи, даже и ако те се именуват различно в различните стандарти. За изясняване на елементите на мобилните мрежи като пример ще разгледаме GSM мрежа, показана на фиг.6.1.
Една GSM мрежа се състои от две части: мрежа за достъп и основна мрежа. Мрежата за достъп осигурява достъпа на мобилните телефони до мрежата и управлява радиоресурсите. Основната мрежа поема отговорността за изпълнението на всички функции, свързани с управлението и достъпа до базите данни, необходими за изграждане на връзки.
Трафичните канали на мрежата за достъп и основната мрежа се различават. Мрежата за достъп управлява трафични канали със скорост 13kb/s, а основната мрежа - канали със скорост 64 kb/s. Прекодирането на речта от 13 kb/s в 64 kb/s и обратно се прави в контролера на базовите станции, но може да се направи и в мобилната централа. Оборудването за шифроване (криптиране) обикновено се слага в базовите станции.

Фиг.6.1 Елементи на GSM мрежа
6.2 Мрежа за достъп
6.2.1 Базова станция
Базовата станция (Base Transceiver Station -BTS) е радиочастта на мобилната мрежа, която включва предаватели и приемници, антени и управляващо оборудване и се използва за комуникация с мобилни телефони. Базовата станция се свързва към контролер на базови станции.
Функционалната схема на базовата станция е показана фиг.6.2.

Фиг.6.2 Функционална схема на базова станция
Основните функции на базовата станция са:
кодиране и декодиране на канала (т.е. добавяне или премахване на допълнителните битове за защита от грешки);
Базовата станция осигурява радиопокритие в областта на клетката, която е основен елемент на покритие в дадена област на мрежата. Основното предназначение на базовата станция е приемо-предавателна функция и следователно тя е елемент в комуникационната верига.
Съществуват различни конфигурации на базови станции в зависимост от натоварването, поведението на абонатите и топологията, осигуряващи оптимално радиопокритие в областта. Възможните конфигурации на базови станции са:
стандартна конфигурация;
При стандартната конфигурация към всички базови станции са определени клетки. Множество от базови станции (в някои случаи само една) формират област на местоположение. Фиг. 6.3 показва три области на местоположение: с една, три и пет базови станции. Този метод на реализация на базовите станции е един от най-често използваните. За населени области с нарастваща интензивност на трафика може да са подходящи други конфигурации.

Фиг. 6.3 Стандартна конфигурация на базови станции с три области на местоположение
Конфигурацията на клетка-чадър се състои от една базова станция с голяма предавателна мощност и антена, инсталирана високо над земята, която действа като чадър за множество базови станции с малка предавателна мощност и малък диаметъ 23123d36x 088; (фиг. 6.4).

Фиг.6.4 Клетка-чадър с пет по-малки клетки
Конфигурацията на клетка-чадър може да доведе до намаляване на сигналния товар на малките клетки и подобрява качеството на сигнала за бързо придвижващ се трафик.
При конфигурация на секторизирани базови станции, последните са разположени на едно място, но антените им покриват област от 120 до 180 градуса. Фиг. 6.5 илюстрира такава конфигурация. Обикновено се използват базови станции с няколко приемо-предавателя и малка предавателна мощност. Подобно на конфигурацията клетка-чадър, тази конфигурация се използва главно в гъсто населени райони.

Фиг. 6.5 Покритие на област с три секторизирани базови станции
6.2.2 Контролер на базови станции
Контролерът на базови станции (Base Station Controller - BSC) координира функционирането на една или повече базови станции. От техническа гледна точка контролерът е малка цифрова централа с разширения, специфични за управление на мобилността. Контролерът е дефиниран в GSM с цел да се разтовари мобилната централа от по-голямата част от натоварването, свързано с радиочастта.
От гледна точка на функциите, свързани с експлоатацията на мрежата, контролерът предава алармени съобщения и статистика за работоспособността на мрежата за достъп, изпращани от базовите станции. Освен това той действа като база данни за конфигурацията на софтуера, зареден в базовите станции от центъра за експлоатация и поддържане (OMC) през контролера.

Фиг.6.6 Функционална схема на контролера на базовите станции
Контролерът управлява радиоресурсите в област, обхващаща групата клетки, за които е отговорен. В следствие на това той определя честоти, които може да се използват от всяка базова станция.
6.2.3 Топологии на свързване
Базовите станции може да се свързват към контролера чрез различни топологии: звезда, каскадна, пръстен.
При топологията звезда всяка базова станция е свързана към контролера на базовите станции (фиг.6.7).

Фиг.6.7 Топология звезда на свързване на базови станции към контролер
Каскадната топология е начин на последователно свързване на базови станции към контролера без затворен цикъл, използвайки ефективно преносните ресурси (фиг.6.8).

Фиг.6.8 Каскадна топология на свързване на базови станции към контролер
Топологията пръстен свързва базовите станции една с друга в пръстен, осигурявайки наличен път дори и ако една от връзките пропадне (фиг.6.9).

Фиг.6.9 Топология пръстен на свързване на базови станции към контролер
Изборът на топология взема предвид и двата фактора: ефективно използване на преносните ресурси и надеждност на свързване.
6.3 Основна мрежа
Основната мрежа се състои от мобилна централа (MSC), домашна база данни (HLR), база данни за временно пребиваващи абонати (VLR), център за проверка на автентичността (AUC) и база данни за проверка на мобилното оборудване (EIR).
Елементите в основната мрежа са свързани посредством сигнална мрежа. Използва се най-разпространената система за сигнализация по общ канал номер 7. Топологията на основната мрежа е по-гъвкава от йерархичната структура на мрежата за достъп. Няколко мобилни централи, например, може да използват една база данни на временно пребиваващи абонати; използването на базата данни за проверка на мобилното оборудване е по желание, а броят на абонатите определя необходимия брой домашни бази данни.
6.3.1 Мобилна централа
Мобилната централата (Mobile Switching Center - MSC) е основен възел в мрежата. Тя управлява повикванията към и от мобилни телефони. Основните й функции са свързани с:
Комутация и маршрутизиране на повиквания: мобилната централа управлява изграждането, наблюдението и разпадането на връзки и за тази цел може да взаимодейства с други възли;
6.3.2 Мобилна централа-шлюз
Мобилна централа, която взаимодейства с други мрежи се нарича мобилна централа-шлюз (gateway MSC - GMSC). Фиг. 6.10 показва как мобилна мрежа с централи-шлюз взаимодейства с други мрежи. Операторът на мрежата може да оборудва всички мобилни централи с функционалност на шлюз или само някои от тях. Мобилна централа, която не притежава функционалност на шлюз, трябва да маршрутизира повикванията към външни мрежи през централа-шлюз.

Фиг.6.10 Функционалност на мобилна централа-шлюз
Мобилната централа-шлюз има допълнителни задачи по време на изграждане на връзка към мобилен абонат от външна мрежа. Повикванията влизат в мобилната мрежа през централа-шлюз, която прави запитване към домашната база данни и след това маршрутизира повикването към мобилната централа, в чиято област на обслужване се намира в момента викания мобилен абонат.
6.3.4 Домашна база данни
Домашната база данни (Home Location Register - HLR) е част от мобилната мрежа, която съдържа данни за абонамента и друга информация за всички абонати на мрежата. Такава база данни може да поддържа данни за стотици хиляди абонати. В домашната база данни се поддържат специфични за абонатите параметри, като например:
идентификационни номера на абоната;
Всеки абонат е регистриран в една домашна база данни, която действа като фиксирана точка, съхраняваща информацията за абоната. За да се намали товара на домашната база данни е въведена базата данни за временно пребиваващи абонати, която подпомага HLR при управление на множеството запитвания, свързани с абонатите (например локализиране и потвърждение на абонамент за свойства). Поради централната функция на домашната база данни и отговорността й за съхранените данни, от изключителна важност е предпазването й от неправомерен достъп и загуба на данни.
6.3.5 Център за проверка на автентичността
Центърът за проверка на автентичността (Authentication Center - AUC) е база данни, която съхранява секретна информация. Достъп до центъра имат само упълномощени лица. Преди да се получи достъп до базата данни, е необходимо да се въведе парола. Нещо повече, данните, съхранени в базата данни са записани върху физическа памет в кодиран вид. Центърът за проверка на автентичността управлява правата за използване на услугите в мрежата на всички абонати. Тази проверка се прави всеки път, когато абонатът използва мрежата.
Центърът за проверка на автентичността се реализира обикновено като интегрална част от домашната база данни.
6.3.6 База данни на временно пребиваващи абонати
Базата данни на временно пребиваващи абонати (Visitor Location Register - VLR) е база данни, свързана с мобилната централа. Предназначението й е да съхранява временна информация за абонатите, предвижващи се през мрежата. В базата данни на временно пребиваващи абонати абонатът се описва с идентификатор областта на местоположение. Тази информация е необходима на мрежата, за да може да се маршрутизира повикването или за да се изгради връзка от един гостуващ абонат към друг.
Докато домашната база данни е отговорна за по-статични функции, VLR осигурява управление на динамичните абонатни данни. Ако абонатът се придвижва от едно местоположение към друго, данните се предават между VLR на местоположението, което абонатът напуска ("старата" VLR) към VLR на местоположението, в което абонатът влиза ("новата" VLR). В някои случаи VLR трябва да изиска от домашната база данни на абоната допълнителни данни. Взаимодействието между двете бази данни е показано на фиг.6.11. На фигурата мобилният телефон се придвижва от областта на обслужване на "старата" централа към областта на обслужване на "новата" централа, при което по команда от HLR в "старата" VLR се изтриват данните за абоната, а в "новата" VLR се записва необходимата за обслужването му информация.

Фиг.6.11 Взаимодействие между базите данни при смяна на областта на обслужване
6.3.7 База данни за проверка на мобилното оборудване
Базата данни за проверка на мобилното оборудване (Equipment Identifier Register - EIR) съдържа идентификацията на мобилни телефони и техния статут в мрежата (например правоспособен или неправоспособен). Тя се използва главно, за да се идентифицират мобилните телефони, които имат технологични проблеми или начин на използване, който може да е свързан с измама. Базата данни има три списъка: бял, черен и сив. Белият списък съдържа типовете разрешени за използване мобилни телефони. Черният списък съдържа идентификациите на невалидни (забранени) мобилни телефони. Сивият списък съдържа идентификациите на мобилни телефони, които са под подозрение за измама или трябва да се тестват за валидност. Операторът на мрежата може да реши дали да използва такава база данни или не.
6.4 Други възли в мрежата
Други възли, които подпомагат функционирането на мрежата са центърът за експлоатация и поддържане и центърът за съобщения.
6.4.1 Център за експлоатация и поддържане
Центърът за експлоатация и поддържане (Operation and Maintenance Center - OMC) е център за контрол върху експлоатацията и конфигурацията на мрежата. Той включва администрация на абонатите, експлоатация и техническо поддържане на оборудването. Повечето от задачите на експлоатацията и поддържането се изпълняват отдалечено от оборудването на мрежата чрез съобщения, изпращани през мрежа за предаване на данни, отделена от мобилната мрежа.
6.4.2 Център за съобщения
Центърът за съобщения (SMS Center - SMS-C) е устройство за съхранение и пренасочване на съобщения или система, която се използва, за да се подпомогнат услуги като гласова поща, факс-поща или услуга за кратки съобщения. Достъпът до центъра за съобщения може да стане директно чрез избиране, чрез компютър за доставяне на поща към мобилни телефони или чрез оператор за услуги за търсене. Центърът за съобщения се информира за успеха (или не успеха) при доставянето на съобщение и може да съхранява и препредава отново съобщения, които не са приети коректно. Това означава, че даже когато мобилният телефон се изключи или е извън обхвата, всички изпратени съобщения ще му се доставят, когато потребителят влезе в областта на покритие или включи отново телефона си.
Тази тема дава общ поглед върху различни трафични ситуации. Тя описва взаимодействието между елементите на мрежата в различни случаи на използване.
При усвояване на материала трябва да се обърне внимание на следното:
7.1 Управление на мобилността
Управлението на мобилността е процес на непрекъснато следене на местоположението на мобилните телефони в безжични системи. Обикновено то включва регулярното им регистриране. Мобилните телефони се регистрират автоматично, поне когато се включат и когато се изключат. При придвижване из мрежата мобилните телефони трябва да докладват на мрежата своето местоположение. Регистрирането или изменението на местоположението се правят, когато мобилният телефон е включен, но не участва в активна връзка, т.е. е в свободен режим.
За да получи обслужване от мрежата, мобилният абонат трябва да се провери за автентичност, т.е. да се удостовери, че той е действително този, за когото се представя. В GSM проверката за автентичност се прави, като се използва информация, записана върху SIM-картата. Абонатът може да постави своята SIM-карта и в чуждо мобилно оборудване и да ползва услугите, за които е абониран, като бива таксуван за негова сметка.
Независимо от местоположението му в мрежата, ако проверката за автентичност е успешна, мобилният абонат може да направи изходящо и да приеме входящо повикване. Нещо повече, докато е в активна връзка, със смяна на клетката се запазва непрекъсваемостта на комуникацията т.е. мобилният телефон сменя използвания радиоканал, без това да се усети от абоната. Това превключване на канали при смяна на клетката по време на активна връзка се нарича хендоувър. Изходящо повикване, входящо повикване и хендоувър са процедури, които мобилният телефон изпълнява, когато е в активен режим.
В тази глава е описана основната функционалност при:
регистриране и изменение на местоположението;
7.2 Регистриране и изменение на местоположението
Фиг.7.1 дава пример за регистриране и изменение на местоположението в GSM мрежа.

Фиг.7.1 Регистрация и изменение на местоположението
Мрежата е разделена логически на четири области на местоположение: LA1, LA2, LA3 и LA4, всяка от които съответства на област на обслужване на един контролер на базови станции. На фигурата са показани две мобилни централи - MSC1 и MSC2, всяка от които управлява по два контролера. Централата MSC1 обслужва абонатите в областите на местоположение LA1 и LA2, a централата MSC2 обслужва абонатите в областите на местоположение LA3 и LA4.
Когато мобилният телефон се включи, той се намира в LA1. (На този етап мрежата не знае, че мобилният телефон е включен.) Мобилният телефон се свързва към базовата станция в клетката, в която се намира, и четейки информацията по канала за контрол в клетката, разбира каква е идентификацията на областта (LAI - Location Area Identity). Тъй като мобилният телефон не е регистриран в мрежата като включен, той трябва да се свърже с мобилната централа и да докладва за местоположението си т.е. LA1. MSC1 записва местоположението на мобилния телефон в своята база данни за временно пребиваващи абонати VLR и докладва на домашната база данни, че мобилният телефон е включен в нейната област на обслужване. Мобилният телефон приема потвърждение, с което процесът на регистриране завършва.
Процедурата по регистриране в GSM може да се стартира и при поставяне на SIM-картата в мобилния телефон. Потребителят получава достъп чрез вмъкване на интелигентната карта в мобилния си телефон и тогава процесът на регистрация започва, както е описано на стъпка 1.
7.3 Функции за защита
Защитата в мобилните мрежи обхваща четири области: проверка за автентичност (дали абонатът е този, за когото се представя), шифроване, идентификация на оборудването и защита на идентификацията на абоната.
7.3.1 Проверка за автентичност
Когато се регистрира нов абонамент в GSM мрежа, на мобилния абонат се дават:
телефонен номер (MSISDN - Mobile Station ISDN Number), който се избира, когато се прави повикване към мобилния телефон;
Параметрите Ki и IMSI се използват в мрежата за идентификация на мобилния абонат. Те се съхраняват и в SIM-картата, и в центъра за проверка на автентичността (AUC). Центърът за проверка на автентичността използва Ki и IMSI, за да изчисли параметъ 23123d36x 088; за идентификация, наречен белязан резултат SRES (signed result). Белязаният резултат SRES се изчислява като функция на секретния ключ Ki и случайно число RAND (random), генерирано от центъра за проверка на автентичността. Случайното число RAND и SRES се съхраняват в домашната база данни и се използват при изграждане на връзка.

Фиг.7.2 Проверка за автентичност в GSM
Изграждането на връзка или регистрацията не се приемат преди да се изпълни проверката за автентичност. Използвайки IMSI на мобилния абонат, мобилната централа извлича съответните RAND и SRES от домашната база данни. Случайното число RAND се изпраща към мобилния телефон, който използва запомнената стойност на Ki, за да изчисли SRES. След това мобилният телефон връща своя изчислен резултат SRES към мобилната централа, където той се сравнява с SRES, изчислен от центъра за проверка на автентичността. Ако стойностите съвпадат, мобилният телефон получава обслужване, ако не - достъпът се отхвърля.
7.3.2 Шифроване
Тъй като на практика радиокомуникациите може да бъдат подслушани от всеки, защитата от неправомерен достъп до информацията по въздушния интерфейс е важна функция в една мобилна мрежа.
Най-доброто решение е шифроване на информацията по въздушния интерфейс, както по трафичните канали, така и по каналите за контрол. Тъй като шифроването на речта изисква цифрово кодиране, то не може да се използва в аналогови мобилни мрежи. По принцип каналите за контрол може да бъдат шифровани и в аналогови, и в цифрови системи, но шифроване се използва най-вече в мрежи, които имат цифрови канали за контрол като GSM и D-AMPS.
В GSM речта се шифрова по следния начин (фиг.7.3):

Фиг.7.3 Шифроване (криптография) в GSM
Освен белязания резултат SRES, центърът за проверка на автентичността изчислява и ключ за шифроване Кс, използвайки Ki и RAND. Този ключ се съхранява в домашната база данни заедно с RAND и SRES. При проверката за автентичност мобилният телефон също изчислява стойността на Kc, като използва RAND, прието от мобилната централа и Ki, което е съхранено върху SIM-картата. Ако резултатът от проверката за автентичност е одобрен, мобилната централа изпраща на базовата станция (през контролера) ключа за шифроване Kc, за да се използва при операциите за шифроване/дешифриране. След това контролерът изпраща команда за преминаване в режим на шифроване към мобилния телефон. В отговор последният изпраща шифровано потвърждение за преминаване в режим на шифроване, което ако може да се интерпретира от базовата станция, дава възможност да се продължи сигнализацията и комуникацията. Всички сигнали от тук нататък, включително речта, са шифровани.
Фиг.7.4 обобщава функциите на центъра за проверка на автентичността, свързани със защитата.

Фиг.7.4 При заявка за проверка на автентичността се осигурява тройката параметри: RAND, SRES и Kс
7.3.3 Проверка на оборудването
Целта на проверката на оборудването е да се получи увереност, че в мрежата не се използват откраднати или нямащи право на обслужване мобилни телефони. Всеки мобилен телефон има номер - в GSM се нарича международна идентификация на мобилното оборудване (IMEI - International Mobile Equipment Identity). По време на изграждане на връзка мобилната централа може да поиска от мобилния телефон този номер и да го провери във възел на мрежата, наречен база данни за проверка на оборудването - EIR (в GSM). Ако номерът е забранен или непознат, опитът за връзка се отхвърля.
Проверката на оборудването е показана на фиг.7.5.

Фиг.7.5 Проверка на оборудването в GSM
7.3.4 Защита на идентификацията на абоната
Защитата на идентификацията на абоната означава, че операторът се опитва да защити потребителския номер IMSI от неправомерно подслушване. На практика уникалната международна идентификация IMSI се предава по въздуха, само когато мобилният телефон се включи. В диалога между мобилния телефон и мрежата се използва временна идентификация на мобилния абонат (Temporary Mobile Station Identity - TMSI в GSM). Мобилната централа дава на мобилния телефон случайно избрана временна идентификация TMSI при всяко изграждане на връзка.
7.4 Изграждане и разпадане на връзки за повиквания към и от мобилни телефони
Фиг.7.6 показва как се изгражда връзка между телефон във фиксирана мрежа и мобилен телефон в мобилна мрежа.
Абонатът в обществената телефонна мрежа избира номера на мобилния абонат. Мрежата определя, че това е номер на мобилен абонат и изгражда връзка към виканата мобилна мрежа през централа-шлюз - GMSC.

Фиг.7.6 Изграждане на връзка от фиксиран телефон към мобилен телефон
Примерът показва колко е важно мобилният телефон не само да се регистрира, когато се включи, но и когато влезе в нова област на местоположение. Необходимо е той да докладва и когато се изключи. Информация за това, че мобилният се е изключил се съхранява в MSC, която я приема и в HLR. Следователно, ако мобилният телефон в момента е изключен и има към него входящо повикване, последното ще бъде спряно на ниво централа-шлюз.
В общи линии процедурата по разпадане на връзката е същата, както във фиксираните мрежи.
Процедурата по изграждане на връзка от мобилен телефон е по-проста, поне що се отнася до маршрутизацията. Централата-шлюз се включва само, ако се прави повикване към мобилен телефон в друга мобилна мрежа или към фиксиран телефон. За връзки между мобилни телефони в една и съща мрежа централата-шлюз не се използва. По-специален е случаят, когато в клетката няма свободен трафичен канал. Тогава мрежата изисква от мобилния телефон да направи нов опит в съседна клетка.
7.5 Превключване на канали при смяна на клетката - хендоувър
7.5.1 Локализиране
Тъй като по време на активна връзка мобилният телефон може да смени базовата станция, а понякога и мобилната централа, мобилната мрежа трябва да включва функционалност за хендоувър (превключване на канали, фиг.7.7).
Обикновено причината за хендоувър е измерено ниско ниво на сигнала и лошо качество на връзката.
В GSM мобилният телефон непрекъснато измерва нивото на сигнала и качеството на връзката с базовата станция, която го обслужва и нивото на сигнала на канали за контрол на съседните клетки. Измерванията се правят в права посока, докато мобилният телефон е в активен режим. Резултатите от измерванията се изпращат към базовата станция през определени периоди от време.
Обслужващата базова станция измерва нивото на сигнала и качеството на връзката в обратна посока.

Фиг.7.7 Хендоувър - смяна на базовата станция по време на активна връзка
Измерванията от базовата станция и мобилния телефон се изпращат на контролера на базови станции под формата на отчети от измерванията (фиг.7.8). На основата на тези отчети контролерът решава дали е необходим хендоувър и към коя клетка. Това се нарича локализиране.

Фиг. 7.8 Измерванията се изпращат към контролера на базовите станции
В момента, в който се контролерът реши, че дадена съседна клетка предлага по-добри параметри на връзката от обслужващата клетка, се прави опит за хендоувър.
При неблагоприятни условия превключването на канали в мобилната мрежа по време на активна връзка може да попречи на повикването. Следователно, превключването трябва да се прави без смущения. Лоши, със смущения връзки се прекъсват често поради недобре изпълнен хендоувър. Това води до неудобства за абонатите, които могат да се абонират при друг оператор или просто да спрат да използват своите мобилни телефони.
7.5.2 Видове хендоувър
Има четири вида хендоувър:
Вътрешен за клетката хендоувър: Избира се нов канал в клетката поради смущения по използвания от мобилния телефон канал. В случай на GSM в превключването е включен само контролера на базови станции.

Фиг. 7.9 Вътрешен за базовата станция хендоувър
Вътрешен за контролера на базовите станции хендоувър (в GSM): Избира се нов канал в клетка, която се управлява от същия контролер. В превключването е включен само един контролер на базови станции.

Фиг. 7.10 Вътрешен за контролера на базови станции хендоувър
Вътрешен за мобилната централа хендоувър: Избира се нов канал в клетка, която се управлява от друг контролер на базови станции, но от същата мобилна централа. В случай на GSM в превключването са включени два контролера и една мобилна централа.

Фиг.7.11 Вътрешен за мобилната централа хендоувър
Външен за мобилната централа хендоувър: Избира се нов канал в клетка, управлявана от друга мобилна централа, но в същата мобилна мрежа. В превключването участват няколко мобилни централи.

Фиг. 7.12 Външен за мобилната централа хендоувър
7.5.3 Пример за хендоувър
Фиг.7.13 илюстрира сложен случай на външен за мобилната централа хендоувър в GSM.
Мобилният телефон е в клетката на BTS112 и се придвижва към клетка на BTS211. Клетката на BTS112 се управлява от контролера BSC11, който е свързан с централата MSC1, а клетката на BTS211 се управлява от контролера BSC21, който е свързан с централата MSC2. Нека първоначално връзка е изградена между абонат във фиксираната мрежа през централа-шлюз GMSC, MSC1, BSC11, BTS112 и мобилния телефон.
Базовата станция BTS112 е докладвала на контролера, към който е свързана, направените от нея и мобилния телефон измервания. Функцията локализиране в BSC11 e определила необходимост от хендоувър за мобилния телефон. От измерванията на нивото на сигнала на съседните клетки (включително клетки, принадлежащи на друг контролер и друга мобилна централа) BSC11 може да определи най-добрия кандидат за хендоувър - клетка BTS211. Контролерът BSC11 е открил, че той не е отговорен за нея.
Контролерът BSC11 информира своята мобилна централа MSC1 за необходимост от хендоувър. Контролерът посочва и подходящата за това клетка BTS211.

Фиг.7.13 Изпълнение на външен за мобилната централа хендоувър
Процесът на хендоувър е завършил. Ако избраната клетка не приеме хендоувъра, се избира следващата клетка, подходяща за смяна.
Тази тема дава общ поглед върху услугите, които се предлагат на абонатите в мобилни мрежи. Тя запознава с основните видове услуги и описва техните функции и свойства.
При усвояване на материала трябва да се обърне внимание на следното:
8.1 Видове телекомуникационни услуги
Мобилните мрежи имат възможности за осигуряване на много видове услуги за предаване на реч, съобщения и данни. Повечето от тези услуги са съвместими с услугите, предлагани от други типове мрежи (обикновено обществената комутируема телефонна мрежа).
Услугите, предлагани в съобщителните мрежи (в това число и мобилните мрежи), най-общо може да се класифицират в две основни групи: основни и допълнителни. Основните услуги са налични за всички абонати на мрежата и биват носещи и телеуслуги (обяснени са по-долу). Например, възможността да се правят телефонни повиквания за реч е основна услуга. Допълнителните услуги са налични само при абонамент. Те се комбинират с основни услуги, за да създадат по-усъвършенствани услуги, с по-големи възможности, които да се предложат на потребителите (например пренасочване на повикване). Въвеждането на свойства и услуги в мобилните мрежи се реализира на етапи.
Фиг. 8.1 показва връзката между носещите услуги, телеуслугите и допълнителните услуги като телекомуникационни услуги, предлагани на абонатите. Този пример показва, че допълнителните услуги може да са съставени от една или повече носещи услуги и телеуслуги.
Основните телекомуникационни услуги се разделят в две категории:
Носещи услуги: Носещата услуга пренася реч и данни като информация в мрежата между два потребителски интерфейса. Носеща услуга е възможността за предаване на информация и не включва крайното потребителско оборудване. Всяка телеуслуга е свързана с носеща услуга. Например носеща услуга, свързана с телефонната телеуслуга за реч, е времеинтервал, определен за едно повикване в TDMA цикъл по въздушния интерфейс.

Фиг.8.1 Типове услуги
Фиг. 8.2 показва типична GSM носеща услуга. На тази фигура мобилният телефон изпраща данни към компютър, който е свързан към обществената телефонна мрежа (в офис). В този пример носещата услуга са данни с комутация на канали, които се предават със скорост 9.6 kb/s.

Фиг. 8.2 Носеща услуга
Фиг.8.3 показва типична GSM телеуслуга. На тази фигура потребителят желае да изпрати факс от факс-машина, която е свързана към неговия мобилен телефон. Телеуслугата включва обработка на информацията в крайното оборудване на потребителя. Системата прави проверка, за да определи дали данните са приети без грешки. Ако данните са приети с грешки, се изпраща заявка към мобилния телефон да предаде отново загубената част от данните. Телеуслугата факсимиле осигурява изпращане на факса през GSM мрежата без грешки.

Фиг.8.3 Телеуслуга
Допълнителните услуги изменят или разширяват основните телекомуникационни услуги. Носеща услуга (например предаване на данни с комутация на канали) или телеуслуга (например предаване на реч) може да бъде използвана с допълнителна услуга. Допълнителните услуги изменят или осигуряват допълнителна обработка на основни телекомуникационни услуги. Примери за допълнителни услуги включват пренасочване на повикване, ограничаване на повиквания и други. Някои допълнителни услуги разрешат взаимодействие с абоната (например пренасочване на повикване).
8.2 Носещи услуги в мобилните мрежи
С носеща услуга мобилната мрежа осигурява път за предаване на данни между две точки за достъп и интерфейс потребител-мрежа. Мрежата е отговорна за доставянето в един интерфейс на това, което е получено в друг интерфейс.
Носещите услуги предоставят възможност на абонатите да изпълняват такива приложения като:
8.3 Телеуслуги в мобилни мрежи
Телеуслугите биват: предаване на реч, спешни повиквания, предаване на факс, гласова поща и предаване на кратки съобщения.
Предаване на реч: Това е услугата на обикновената телефония (двупосочна комуникация за реч) с възможност за правене и приемане на повиквания към/от мобилни абонати;
Спешни повиквания: Услугата за спешни повиквания предоставя възможност на абоната да направи спешно повикване чрез натискане на предварително дефиниран бутон или чрез използване на спешен номер. Такова повикване се маршрутизира автоматично към център за спешна помощ, който е най-близо до абоната. В GSM спешните повиквания може да се правят и без валидна SIM карта;

Фиг.8.4 Изпращане на кратко съобщение от компютър към мобилен телефон
Излъчване на кратки съобщения в клетката (SMSCB): Тази услуга е вариант на услугата за кратки съобщения. Текстово съобщение с максимална дължина от 93 символа може да се излъчи към всички мобилни телефони в дадена географска област. Типични приложения на услугата са съобщения с предупреждения за трафични претоварвания, докладване за инциденти, новини, реклами и др.;
8.4 Допълнителни услуги в мобилни мрежи
Пренасочване на повикване: Услугата осигурява на абоната възможност за пренасочване на входящи повиквания към друг телефонен номер в следните случаи:
Забрана за изходящи повиквания: Абонатът може да активира или деактивира тази услуга от мобилния си телефон с разнообразни възможности за ограничаване на изходящи повиквания. Например, абонатът може:
да забрани всички изходящи повиквания;
Забрана за входящи повиквания: С тази функция абонатът може откаже приемането на входящи повиквания. Това е желателно, тъй като в някои случаи виканият мобилен абонат се таксува за части от входящото повикване (например по време на международен роуминг). Има две възможности за забрана на входящи повиквания:
забрана на всички входящи повиквания;
Информация за таксуване: Услугата осигурява на мобилния телефон информация, необходима за изчисляване на таксата за повикването. Тази информация се осигурява при изграждането на връзка. Таксите се посочват по време на повикването. За входящо мобилно повикване услугата предлага информация за стойността, свързана с роуминга.
Таксуване по сметка: Услугата дава възможност на абоната (например бизнес-абонат) да посочи номер на сметка, на която може да се таксува за дадени компоненти на повикването. Може да се посочат различни кодове за различни повиквания.
Задържане на повикване: Услугата разрешава на абоната да задържи текущото повикване, за да направи ново повикване или да приеме чакащо повикване. Комуникацията с оригиналното повикване може да се възстанови повторно.
Изчакване на повикване: Услугата известява мобилния абонат, докато е зает с повикване, обикновено с отличителен сигнал, че има друго входящо повикване. На новото повикване може да се отговори, то може да се отхвърли или да се игнорира. Входящото повикване може да бъде от всеки вид основна услуга, включително предаване на реч, данни или факс. Няма известяване в случай на спешно повикване или кратко съобщение. Услугата се използва с услугата "Задържане на повикване".
Прехвърляне на повикване: Услугата разрешава на абонат, който е във връзка с друг абонат А, да приеме ново повикване от абонат Б, да свърже абонати А и Б, т.е да прехвърли новото повикване на абонат А и да напусне връзката. Услугата се използва с услугата "Задържане на повикване".
Услуги за идентификация на викащата линия: Тези допълнителни услуги покриват представянето и ограничаването на идентификацията на викащата линия. Представянето на идентификацията на викащата линия осигурява на викания абонат номера на викащия абонат. Ограничаващата услуга дава възможност на викащия абонат да ограничи представянето на своя номер в мобилния телефон на викания абонат. Ограничението е с по-голям приоритет от представянето.

Фиг. 8.5 Извеждане на екран на идентификацията на викащата линия
Представяне/ограничаване на идентификацията на свързаната линия: Допълнителните услуги осигуряват на викащия абонат ISDN номера на свързания (викания) абонат. Ограничаването разрешава на викания абонат да забрани представянето. Ограничаването е с по-голям приоритет от представянето.
Конферентна връзка: Предоставя възможност за разговор между до шест потребителя. Тази услуга може да се използва само с услуга за предаване на реч. Фиг.8.6 показва поетапното изграждане на конферентна връзка от трима участника - два фиксирани и един мобилен телефон. На фигурата в началото мобилният телефон и фиксираният телефон 1 са в разговор. По време на разговора абонатът на мобилния телефон задържа повикването с фиксирания телефон 1, активира услугата "конферентна връзка" (чрез натискане на определен бутон или комбинация от бутони) и след това избира номера на фиксирания телефон 2. След свързването на телефон 2 връзката е изградена между трите телефона.

Фиг.8.6 Конферентна връзка между два фиксирани и един мобилен телефон
Затворена група от абонати: Разрешава на абонатите да се свързват към обществената комутируема телефонна мрежа (или ISDN мрежата) и вероятно към други мрежи, за да формират групи, в които достъпът е ограничен.
Тази тема дава общ поглед върху третото поколение системи за безжични комуникации. Тя запознава с възможностите на бъдещите услуги, стандартите за третото поколение, технологиите и терминалите.
При усвояване на материала трябва да се обърне внимание на следното:
9.1 Въведение
Мобилната телефония ни дава възможност да разговаряме, докато сме в движение. Световната мрежа Интернет превърна предаването на данни в полезни, лесни за използване услуги. Днес тези две технологии са сливат, за да създадат услугите на третото поколение, така нареченото 3G (third generation).
С достъп до всяка услуга навсякъде и по всяко време от един терминал старите граници между комуникациите, информацията, медиите и забавленията ще изчезнат. Тези услугите напълно ще се слеят. Мобилността ще бъде вградена в много услуги, които днес се разглеждат като "фиксирани" - мобилността ще стане образец за много комуникационни услуги. Ние ще можем да правим видео-повиквания към офиса или да сърфираме из Интернет и едновременно с това да играем интерактивни игри с приятели вкъщи или където и да сме.
Но третото поколение е свързано не само с приложения, които изискват по-високи скорости на данни. То е свързано и с удобство, и със скорост на достъпа.
Прилагането на технологията на пакетната комутация, базирана на Интернет протокола IP, която ще формира сърцевината на бъдещите услуги, ще даде възможност да получим от ръчния си терминал електронна поща с прикрепени към нея файлове, които да се извличат за много кратко време или с натискане на бутона ще можем да се свързваме към нашата корпоративна мрежа. Този достъп ще бъде наличен по всяко време без да се плаща и стотинка, преди реално да са използвани ресурсите на мрежата за изпращане или приемане.
Ще се увеличи и броят на мобилните потребители, които си взаимодействат с машини, както и броят на машините, които ще взаимодействат с машини чрез радиовръзки - докладване на неизправности, поръчки на стоки.
Компании, които днес са извън телекомуникациите, ще извлекат полза от 3G с разработване на нови услуги.
9.2 Възможности на системите от третото поколение
3G е нова радиокомуникационна технология, която ще осигури високоскоростен мобилен достъп до базирани на Интернет услуги. Тя ще разшири мобилността в много области на нашия живот.
В близко бъдеще мобилността няма да бъде само атрактивен атрибут - тя ще стане основен аспект на много услуги. Ние ще очакваме високоскоростен достъп до услуги на Интернет, забавления, информация и електронна търговия където и да сме, не само пред нашия компютър или пред телевизора.
3G ще добави безценна мобилна "размерност" към услугите, които стават вече интегрална част от модерния стопански живот: Интернет и Интранет достъп, видеоконференция и интерактивни приложения.
Това се отнася не само за хората, които прекарват целия си живот пътувайки. По-скоро става въпрос за осигуряване на нови, гъвкави възможности за обучение и работа, където е необходим достъп до широк обхват от информация и услуги, независимо от местоположението. Ученици и студенти, които се обучават вкъщи, служители, които прекарват част от работното си време у дома, експерти счетоводители, които правят ревизия в помещенията на клиентите, инженери по поддръжката на място, които се нуждаят от достъп, за да изложат подробно ръководства с инструкции - това са примери за ситуации, в които 3G ще играе значима роля.
3G ще измени и нашия всекидневен живот по много начини: например при пазаруване, особено при електронната търговия, банково дело, поддържане на тесен контакт с приятели или забавления чрез интерактивни компютърни игри в мрежа.
Ние ще можем, седейки във влак и използвайки нашия палмтоп с Интернет браузър, да получим достъп до банковите си сметки. Докато сме в мрежата, ние ще можем да проверяваме сметките си, да плащаме полици и щракайки върху икона на екрана да изградим незабавно видеоконференция, за да дискутираме сметките си с банковия чиновник.
През ваканцията ще можем да използваме нашия мобилен палмтоп, за да получим местни туристически указания, да правим резервации в последната минута в хотел, да позвъним на най-близката таксиметрова служба и да изпратим пощенски видеокартички. Ние ще очакваме независим от местоположението мобилен достъп до множество от услуги, които са адаптирани и съответстват на нашия начин на живот, обучение и работа.
Ще се увеличават и безжичните комуникациите между машини. Домашните електрически уреди ще имат вградени радиомодеми, за да се осигури отдалечен контрол и диагностика. Нашите хладилници може да имат вградени сензори, които откриват с какви продукти ще трябва да се заредим, защото съществуващите са с изтекъл срок на годност или са в недостатъчно количество и автоматично да изпратят напомнящо съобщение към нашия персонален цифров помощник. Ние ще можем дори да накараме нашия хладилник да изпрати заявка директно в местния магазин. По подобен начин машините за пазаруване ще казват на домакинята кога е необходимо презареждане.
9.3 Характеристики на услугите от третото поколение
Това, което е ново за услугите на 3G, са бърз, лесен за потребителя, ориентиран към услугите начин на достъп до информация, приложения и услуги по време на движение.
От гледна точка на услугите мобилната технология на третото поколение ще добави две неща. Първо, мобилните услуги ще се доставят с по-добри технически характеристики и по-голяма ефективност от гледна точка на разходите. Второ, 3G ще развие съществуващите услуги, като вгради в тях по-богато съдържание. Например, мобилните мултимедийни съобщния ще бъдат по-атрактивни от традиционните, базирани на текст електронни съобщения.
Ще бъде осигурен потребителски достъп със скорости на предаване до 2 Mb/s, което е поне 40 пъти по-висока скорост от наличните сега скорости. С такива скорости на мобилните абонати ще може да се предоставят видеоуслуги с достатъчно добро качество.
Основната мрежа с пакетна комутация ще създаде у абонатите чувство, че са постоянно свързани към услугата, която използват, но те ще се таксуват на базата на изпратеното и прието количество информация, вместо, както е днес, на базата на продължителността на връзката.
С 3G от един и същи мобилен терминал може да се изграждат едновременно множество връзки. Така например, потребител ще може да се свърже към отдалечена база данни, за да извлече информация, без да прекъсва видеоконференция.
Фиг.9.1 показва изискванията за скоростите на предаване на данни за услугите на трето поколение.

Фиг.9.1 Потребителски изисквания за скорости на предаване на данни
9.4 Мобилна мрежа от трето поколение
Фиг. 9.2 показва как ще изглежда мрежата на 3G.
Ще има основна мрежа с транспортни "тръби" за информационния поток, с възли, които маршрутизират трафика и възли, където ще бъдат поместени услугите. Основната мрежа ще има връзки към други фиксирани или мобилни мрежи, за да се осигури взаимно свързване с глобалните телекомуникационни мрежи.
Свързана към основната мрежа ще бъде мобилната мрежа за достъп, която ще осигурява широколентов интерфейс за потребителите.

Фиг.9.2 Перспективи за мрежите от трето поколение
Съвременните мобилни мрежи са оптимизирани за предаване на реч. За да предават ефективно големи количества от данни, са необходими подобрени въздушни интерфейси с възможности за осигуряване на широколентови връзки за повече абонати едновременно.
Широколентовата радиотехнология е оптимизирана за мултимедийни услуги и високоскоростен Интернет достъп. Тя ще бъде ефективна и от гледна точка на използване на спектъра. Радиодостъпът за 3G ще се осигури по два начина: като допълнение с новите широколентови радиотехнологии, за да се използват новия наличен честотен спектър и като еволюция на съществуващата радиотехнология за осигуряване на високоскоростни възможности.
Препоръките на ITU за стандарта IMT -2000 за следващото поколение услуги са за скорости предаване на данни до 2 Mb/s за малка подвижност (в затворено помещение). При използване във влак и кола се предвиждат скорости на предаване на данни до 384 kb/s.
Многорежимни, работещи в няколко честотни ленти телефони вече показват как новият терминал ще може да функционира в различни честотни обхвати за потребителите на мобилни услуги.
По същия начин телефоните с възможности за услуги на второ и трето поколение и двойствен режим на работа ще осигуряват прозрачен достъп до услуги, доставени от различни мрежи за достъп. Преходът към мрежа за достъп от 3G може да се реализира в зависимост от изискванията на пазара - например като насложена мрежа.
9.5 Мобилни терминали на трето поколение
В днешно време "терминалът" за достъп до мобилните услуги е мобилният телефон. С идването на 3G се очаква разширяване на това понятие така, че то да включва в себе си нови терминали. Това ще бъдат както устройства за комуникация и обработка на информация с общо предназначение, така и устройства с по-специфично предназначение, които са специализирани за определени услуги.
Познатите мобилни телефони все още се използват, но много от тях ще имат по-голям екран за извеждане на Интернет страници или лицата на хората, с които се разговаря. Ще има по-малки "интелигентни" телефони с ограничени възможности за електронна поща и търсене в Интернет.
Добавянето на възможности за мобилни комуникации към лаптоп и палмтоп компютрите ще ускори сливането на комуникационните и информационните технологии и ще доведе до обработка на информация "в движение" с всички функции и свойства, налични в най-мощните настолни компютри.
Ще има видеотелефони, ръчни комуникатори, палмтоп компютри и радиомодемни карти за портативни компютри. Напълно нови интерфейси ще дадат възможност на хората да управляват своите мобилни комуникационни услуги с гласови команди.
Ще бъдем свидетели и на интеграцията на 3G в много широк обхват от устройства и продукти, различни от потребителските терминали. Например, "телефон върху карта" ще даде възможност за вграждане на мобилни услуги в бизнес-оборудване, превозни средства и електродомакински уреди за отдалечен контрол и управление.
Устройства като телефони, цифрови камери и компютри ще могат да комуникират едни с други, използвайки радиопредаване в малък обхват. Цифровата камера ще може да използва широко разпространените радиокомуникации, за да изпрати дадено изображение, което намалява голямо количество памет, необходима за съхранение, както и други компоненти.
9.6 Международни стандарти за системите от трето поколение
Всички дейности в областта на стандартизацията трябва да се съобразяват с изискванията на пазара и операторите. В последните години тази необходимост се засилва, тъй като се наблюдава следната тенденция: голяма част от стандартизационната дейност преминава от институционалните организации (каквито са ETSI и ITU) към индустриални групи и организации, които се кооперират помежду си, за да създадат възможно най-добрите стандарти "de facto" (такива като TCP/IP).
Стандартизацията трябва да вземе предвид различните технологични изисквания на днешните мобилни оператори, както и редица социално-икономически, културни и други потребности, които са критични за маркетинга на нова технология. Изискванията на различните оператори зависят от отпуснатия им честотен спектър, техните инвестиции в съвременните системи от второ поколение, както и от стратегиите им за еволюция и взаимна свързаност с други мрежи.
Това означава, че подходът към стандартизация трябва да се ръководи от пазара - т.е. да се даде на операторите свобода при избора на техния "идеален" еволюционен път към 3G. Най-важното е да се осигури успешно и икономически изгодно взаимодействие между тези стандарти.
Посрещането на пазарните изисквания е основната движеща сила зад формирането през декември 1998 г. на Проекта за партньорство за третото поколение (Third Generation Partnership Project - 3GPP и 3GPP2). Целите на 3GPP и 3GPP2 са да се създадат отворени, глобално приети спецификации (например осигуряване на глобален роуминг) чрез коопериране между различни национални и регионални стандартизиращи организации. Членството в 3GPP и 3GPP2 е отворено.
През 1998 г. от ITU са приети много предложения за стандарта IMT-2000. От тогава индустриалните и стандартизиращите организации координират усилията си за хармонизиране на кандидатите за IMT-2000 и за постигане на споразумение за малко множество от стандарти.
Групата на операторите за хармонизация (Operators Harmonization Group - OHG), която е група на главните оператори от всички части на света, е изиграла основна роля в този процес и е постигнала споразумение за множество от стандарти през 1999 г..
Това множество от стандарти включва един стандарт, базиран на CDMA с три режима предаване по избор: множество носещи честоти (Multi-Carrier - МС), широколентов CDMA (WCDMA) и дуплекс с времеделение (Time Division Duplex - TDD); и един стандарт - EDGE, който е базиран на TDMA. Радиостандартите може да се комбинират с различни стандарти за основната мрежа (GSM или D-AMPS) и да оперират в различни честотни ленти (фиг.9.3)

Фиг.9.3 Множеството от стандарти за третото поколение
мобилни системи
Режимът на работа МС1Х е първият етап на разработване на стандарта cdma2000. Той е публикуван от Американската асоциация за телекомуникационна индустрия TIA. МС1Х осигурява скорости на предаване на данни до 144 kb/s в съществуващия отпуснат честотен спектър за cdma2000. МС3Х е вторият етап на стандарта cdma2000, който посреща спецификациите на ITU за IMT-2000. МС3Х осигурява скорости за предаване на данни до 2 Mb/s в по-широка честотна лента на спектъра.
Широколентовият CDMA (Wideband CDMA - WCDMA) е технология за въздушния интерфейс, която ще се използва в Япония и в Европа в системите от трето поколение. Технологията е оптимизирана за широколентов радиодостъп, който да осигурява високоскоростните услуги на 3G, такива като видео, Интернет и видеоконференция.
EDGE (Enhanced Data rate for Global Evolution) е метод за радиомодулация за GSM и D-AMPS мрежи, който увеличава скоростта на предаване по един радиоканал до 48 kb/s. Когато се комбинира с пакетната услуга за предаване на данни GPRS, той предлага скорости за предаване до 384 kb/s за един абонат.
Стандартът за трето поколение UMTS, приет за Европа, покрива WCDMA, TDD и GSM.
През 1992 г. Световната административна конференция по радио -комуникации е определила 230 MHz от новия честотен спектър за наземните и сателитните услуги. От този спектър ITU е заделил 155 MHz в честотната лента от 2GHz за наземните услуги на 3G, както е показано на фиг.9.4.

Фиг.9.4 Заделяне на честотния спектър за IMT-2000/UMTS/PCS
9.8 Технологии, които осигуряват системите от трето поколение
За GSM мрежите първата крачка към осигуряване на възможностите на третото поколение ще бъде въвеждането на GPRS - разширение на мобилната мрежа, което въвежда предаване на пакети от данни. Този метод на предаване увеличава потребителската честотна лента, като предоставя възможност на мобилните оператори да въвеждат пакетни услуги за данни и разрешава таксуване за бит вместо за продължителност на повикването.
Следващата логическа стъпка ще бъде разгръщането на технологията EDGE, която разширява мрежовите възможности с метод за модулация на радиопредаването, увеличавайки скоростите за потребителски данни и осигурявайки на съвременните мрежи възможности на 3G. Този еволюционен път се слива с еволюцията на мрежите D-ASMP (наречени още TDMA или IS-136), както е показано на илюстрацията.

Фиг.9.5 Пътища към трето поколение мобилни системи
За GSM операторите, които имат достъп до новия спектър (например честотната лента от 2 GHz на UMTS), съществува и еволюционен път към WCDMA. В този случай технологията WCDMA се комбинира с основна мрежа GSM, както е специфицирано в UMTS.
За мрежите на cdmaOne първата стъпка е въвеждането на технологията MC3X , която ще осигури предаване на пакети от данни по носеща честота от 1.25 MHz. Терминът cdma2000 МС3Х описва комбинацията от три носещи честоти, които осигуряват пълните възможности на 3G за cdmaOne. За операторите на cdmaOne, които искат да реализират WCDMA, съществува еволюционен път, който комбинира WCDMA и специфицираната основна мрежа D-AMPS от TIA.
Потребителските терминали ще се развиват по различни начини. Ще бъдем свидетели на многофункционални комуникатори, както и на специализирани устройства.
Новите терминали за 3G ще включват от сложни многофункционални мултимедийни терминали до прости, зависими от приложението устройва, проектирани да посрещат нуждите на даден сегмент от пазара. По-долу са изброени някои нови съвременни разработки в технологията на мобилните телефони, които започват да оформят представата за 3G устройствата на бъдещето.
Bluetooth
Bluetooth е инициатива сред производителите на телекомуникационно оборудване, компютри и компютърни чипове за разработване на двупосочен цифров радиостандарт за връзки в малък обхват между различни устройства в един офис или в домашна среда. В този стандарт не са необходими кабели между мобилни телефони, палмтоп и портативни персонални компютри.
Например, фотоснимка, направена с цифрова камера с възможности за Bluetooth, може да се предаде към всеки мобилен телефон с Bluetooth възможности, от който тя може да бъде изпратена къде да е по света посредством мобилната мрежа.
Bluetooth представя значителни възможности за разработване на нови услуги и за комуникации машина-машина. Устройства на Bluetooth са с приемо-предаватели с малка мощност (1 MW), високи честоти (2.402 -2.4080 GHz) и високи скорости за предаване на данни (1 Mb/s), които може да се оптимизират за различни приложения.
Основното за концепцията Bluetooth е различните устройства да се разпознават един друг и да активират функции от високо ниво на специфично устройство - тези функции ще се реализират като се използват приложно-зависими интерфейси.
Symbian
Symbian e независимо съвместно предприятие-компания, основано през 1998 г. от Ериксон, Нокия и Псион. От тогава насам към него са се присъединили и други компании.
Това партньорство ще подпомага разработването на EPOC - операционна система, оптимизирана за мобилни мултимедийни комуникации.
Целта е да се създадат стандарти за мобилни операционни системи и да се развие масовият пазар на "мобилни информационни устройства" - следващата генерация на палмтоп компютри, интелигентни телефони и комуникатори.
Symbian се фокусира върху две основни области: разработване на основен софтуер, потребителски интерфейси, рамки за приложения и разработване на средства за мобилни информационни устройства; и подпомагането на стандарти за взаимна съвместимост на тези устройства с мобилни мрежи, услуги, изпращане на съобщения и др.
WAP - Wireless Application Protocol
WAP е нов, глобален, отворен стандартизиран протокол за ръчни устройства, който ще разреши на потребителите достъп до Интернет услуги без да е необходимо включване към лаптоп компютър.
С терминали с възможности за WAP много приложения за данни ще бъдат достъпни от самия терминал, като се използва вграден браузър.
Протоколът WAP ще работи в среда на много технологии на мобилни мрежи, насочен е към привличане на нови абонати и е отворен към масовия пазар на мобилни услуги за данни.
Първите WAP продукти за операторите на мрежи и разработчици на услуги вече са на пазара.
|