
Почему же для перспективного танка необходимо использование з 22522i813w 72;щиты нового поколения? Рассмотрим перспективы вооружения танка будущего: скорость снарядов к 2015-2020 году может достичь величины в 4,5 км./ ек. (ЭМП, ЭТХП). Величина может 1000 мм (2000 мм под углом 0 град.). 23 МДж и более, при эффективной энергии снаряда 14 МДж. Наряду с этим приняты на вооружение кумулятивные боеприпасы с тандемной боевой частью и с большим временем существенно ограничивающие область целесообразного применения встроенной динамической защиты. Динамическая защита от тандемных боеприпасов предполагает практически полную нейтрализацию действия , что делает необходимым введение в структуру динамической защиты между ее рядами достаточно толстой броневой перегородки. Это, в свою очередь, ограничивает ее использование для защиты бортовых проекций, а при защите лобовых - требует большой массы и габаритов.
При этом к перспективным танкам выдвигаются строгие весовые ограничения (Боевой вес- 42-57* тонны), которые делают мало осуществимым обеспечение з 22522i813w 72;щиты исключительно при помощи стандартной встроенной динамической защиты и пассивной многослойной брони.
осколочно-фугасные боевые элементы, что позволит бороться с любым кумулятивным боеприпасом, в том числе тандемным, имеющим большое время задержки срабатывания основного заряда, а также, позволит эффективно воздействовать на оперенные БПС танковых пушек, однако решении проблемы обеспечения точного срабатывания по высокоскоростным снарядам является задачей. Эксперименты, проведенные в течение последних лет, показали принципиальную возможность создания активной защиты, способной защитить танки, в том числе оперенных БПС.
перспективного танка, на западе ведутся работы по созданию «полностью электрического танка», в котором «электрическая» броня является органическим компонентом защиты. Уже можно утверждать, что времена обычной многослойной, брони ушли безвозвратно. Противостоять поражающим элементам современных боеприпасов за счет простого поглощения их кинетической энергии, срабатывания и торможения при имеющихся ограничениях по массе и толщине бронирования далее не представляется возможным. В любом случае им должен наноситься деструктивный и дестабилизирующий ущерб активным со стороны брони.
защиты
Работа над электромагнитной защитой началась в СССР в институте гидродинамики имени Лаврентьева в конце 1970-х годов*** и проводилась в США в "Максвелл лабораториз" в Калифорнии и франко-германском научно-исследовательском институте Сент-Луис в 1980-е годы. Активно разработки ведутся и в наши дни.
и инициирует разряд электрической энергии, который вызывает большой импульс тока в ней. Это создает магнитомеханические неустойчивости в струе, что приводит к ее разрушению и резко снижает ее пробивную способность.
снарядов, а также против кумулятивных струй. Как и в случае с кумулятивной струёй, прохождение через сердечники очень больших электрических токов также вызывает нестабильности и расширения, что может привести к разрушению снарядов.
в плазму рабочего материала. Они делятся по принципу активации на (непосредственная электризация, электротермическая защита) и не , которые воздействуют предварительно обнаружив его при помощи радара или матрицы (Метательные пластины, «умная броня»). Существуют способы защиты, объединяющие несколько принципов.
% однако при уменьшении угла подхода от нормали эффективность такой защиты резко падает.
действия независимо от углов подхода кумулятивной струи к преграде и присутствует ВВ значительной массы, размещаемое на поверхности объекта. Эти недостатки устраняются при использовании электродинамической защиты.
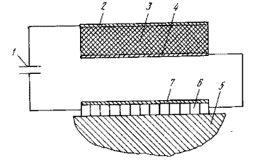
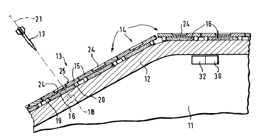
тали содержит импульсный источник электрической энергии 1, соединенный с образованием электрической цепи с боевым элементом, размещенным перед защищаемым объектом 5, в электрическую цепь последовательно включены с помощью проводников 6 с малым сопротивлением один или несколько аналогичных дополнительных боевых элементов, между основным боевым элементом и защищаемым объектом 5. Боевые элементы выполнены в виде двух электродов 2 и 3, разделенных диэлектриком 4. Электроды основного и дополнительного боевых элементов, обращенные друг к другу, могут быть попарно объединены с образованием единого боевого элемента, с размещенными в массиве диэлектрика проводящими разделителями. В массиве диэлектрика 4 дополнительных боевых элементов могут быть образованы сквозные каналы 8, соединяющие электроды 2 и 3 и имеющие на их обращенных друг к другу сторонах заостренных выступы 9.

батарею 1 соединенную с элементом
нажав по этой ссылке.

Устройство электродинамической защиты объектов работает следующим образом. Проникающая через пластины 2 и 4 элемента электродинамической защиты кумулятивная струя замыкает цепь и посредством разрядки конденсаторной батареи 1 нарастающий ток "сбивает" часть кумулятивной отдуй.
реализаций дополнительного электромеханического воздействия на кумулятивную струю*****, практически предотвращает возможность пробития элементами кумулятивной струи защищаемого объекта.
Защита была реализована в объемах конденсатора меньше кубического метра и массах всей системы, включая электроды, накопление з 22522i813w 72;ряда и предохранительный механизм, в диапазоне, вероятно, около 2-3 т. Даже системы с такой небольшой энергетической емкостью могут (при тщательном внимании к сети и конструкции электродов) подавать максимальные токи, приближающиеся к миллиону ампер. Действие прохождения такого тока через струю от современного ручного кумулятивного боевого средства должно дестабилизировать ее и вызывать ее радиальное рассеяние в диффузные кольца
и инициирует разряд электрической энергии, который вызывает большой импульс тока в ней. Это создает магнитомеханические неустойчивости в струе, что приводит к ее разрушению и резко снижает ее пробивную способность.

«Брэдли» с электродинамической защитой после испытаний обстрелом


, а требует обнаружения подлетающих снарядов с удлиненными сердечниками или ракет на малой дальности от целей. Как только система обнаружения "захватила" снаряд, блок управления, включающий ЭВМ, замыкает переключатель, чем способствует выбросу большого тока от конденсаторной батареи к дисковой катушке пусковой системы пластин индукционного типа. Пусковая система метает пластину на траекторию подлетающего снаряда или ракеты для разрушения или, по крайней мере, отклонения первого и подрыва второй при столкновении. Исследования этого типа активной электромагнитной брони проводятся в франко-германском научно-исследовательском институте Сент-Луис в середине 1980-х годов и достигли стадии крупномасштабных экспериментов.
Потребность в системе предупреждения и управления, привела к развитию "умной" брони ("Smart" armour
(Mylar пьезоэлектрического полимера. листы этого материала генерировали напряжения, когда подвергались воздействию, которые контролировались.

Реализованные системы "разумной" брони способны рассчитать траекторию снаряда через схему брони, использующую местонахождение ударов на двух слоях датчиков, размещенных перед основной броней машины. Был создан логический блок, который собирает информацию от групп датчиков и выполняет необходимую обработку, чтобы определить приблизительно ожидаемое место удара. Было показано, что необходимый расчет может быть выполнен в течение нескольких микросекунд. Для сравнения средства нападения проходят это расстояние за 50 - 60 микросекундами. Следовательно, возможно было изготовить системы "разумной" брони, используя наши методы пассивного обнаружения при размещении датчиков на расстоянии не более полметра от корпуса машины.
Блок "разумной" брони способен управлять ответной реакцией на атакующий снаряд, направленный в область системы брони, в которой испытывается этот удар. Показано, что эта ответная реакция может осуществляться в пределах времени между ударом по датчикам и достижением средством нападения основной брони.

, изобретателем западной динамической защиты.

и действует против струй и сердечников во многом таким же способом, как взрывная реактивная броня.
в плазму под влиянием дугового разряда много килоджоулей от высоковольтной конденсаторной батареи. При разряде проволока испаряется и передает свою энергию окружающему полиэтилену, который быстро нагревается и увеличивается в объеме, разбрасывая пластины таким же образом, как и взрывчатое вещество.
Дальнейшая разработка конденсаторов, вероятно, увеличит их удельную энергию; оптимистичные экстраполяции (по уровню, достигнутому за последние годы) говорят, что она может достичь 20 МДж/м3 . Однако, даже если в дальнейшем и будут достигнуты значительные успехи, электрическая броня будет осуществима и эффективна только как часть "полностью электрического" танка - если или когда это станет реальностью.
, доклад на конференции «Броня 2002».
*** Исследования в области динамической защиты, электродинамической защиты начались в институте з 22522i813w 72;долго до того, как эти признанные сегодня способы получили практическое применение - они были начаты у нас еще в 1957 году.
****** Доплеровская РЛС непрерывного излучения с рабочим СВЧ
******* Энергия, которая подается для приведения пластин в действие, обеспечивается системой электрической импульсной энергии, а не взрывчатыми веществами. Это использование импульсной энергии предлагает в принципе ряд преимуществ по сравнению с взрывным управлением. С электромагнитным пуском связан малый эффект воздушной ударной волны или образования осколков и "отдача", возникающая как неизбежное следствие законов Ньютона, происходит в предсказуемом направлении и месте. Сопутствующие повреждения и опасность для своих войск таким образом менее трудно управляемые, этому способствует небольшое, но значимое увеличение периода выделения энергии. Способность, общая для всех возбуждаемых электрическим способом систем, выключать систему, когда она не нужна, является также . У разработчика брони имеется также возможность использовать потенциально выгодные геометрические варианты и варианты материалов для летающих элементов, а не быть ограниченными простыми плоскими железными плитами. Например, летающие элементы, изготовленные из плотных, но хрупких материалов или со структурой открытой разработки могут использоваться для повышения уровней конечной эффективности, будучи подверженными менее разрушительным уровням силы тяготения во время пуска.

Andr i
R.M. Ogorkiewicz Future Tank Armors Revealed.
Developments in electric and explosive reactive armor. Jane's International Defense Review, 1997, May, p. 50-51
J. Brown, P.C. Endersby Electric Armour Research in the
Second International Conference, 8-th - 12-th June 1997, p. 333-343
. 20.06.79, N 4708, МКИ F3x Изобретения в СССР и за рубежом. . 97 (МКИ F41), 1979, N 12, с. 7.
Защита танка - анахронизм или жизненная необходимость? (журнал "Военный парад", 5(53), 2002, стр. 82-84) В. А. Григорян.
. Системы активной защиты с c взрывателями. Military Technology, 2001, No 10, p. 50-54
|