ALTE DOCUMENTE
|
|||||
И-153 "ЧАЙКА"
Графическая разработка и оп 959p1510j 80;сание
Тактико-технические характеристики:
- И-153
- Истребитель
- 10.00
- 7.50
- 6.18
- 2.80
- 22.14
- 1348
- 1859
- 2110 кг
- 1 ПД М-62
- 1 х 800
- 366
- 444
км - 740
Максимальная скороп 959p1510j 86;дъемность, м/мин - 943
- 11000
4 7.62-мм пулемета ШКАС (И-153БС, 1939)
или 2 12.7-мм пулемета УБС (И-153П)
или 4 12.7-мм пулемета БС
или 2 20 мм пушки ШВАК кал. (И-153П) (поздние модели)
100 кг бомб, 6 РС-82 или РС-132 "Катюша"
Модель выполнена в масштабе l:33.
Раскрой предполагает сборку модели методом стыковки, с исключением всяких ненужных склеек, вставок и т.п. Метод этот, воп 959p1510j 88;еки кажущемуся, при наличии сноровки, считается самым лучшим, и позволяет достичь очень высокой точности при монтаже отдельных сегментов.

Фюзеляж модели собирается из четырех основных сегментов, обозначенных порядковыми номерами 1-4, и элементов покрытия (дет. 5 и 6). Соответствующие этим сегментам шпангоуты обозначены теми же номерами с добавлением литер «a» и «b». Примите за правило вырезать только те детали, которые собираетесь клеить в данный момент.
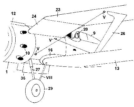
В первую очередь вырезаем шпангоуты 1a и 1b, отводя особое внимание местам, помеченным значком ножниц. Эти шпангоуты обклеиваются обшивкой (дет. 1). Подобным образом собираем и остальные части фюзеляжа. Во втором сегменте, перед тем, как склеить его с другими, укрепляем усилители стоек шасси. Изготовим их из проволоки по шаблону VII. Усилители крепятся к шпангоуту 2a с помощью клея и кусочков бумаги.

Заслонки двигателя (дет. 6a), после вырезания отверстий, аккуратно вклеиваем в переднее кольцо обтекателя. Следует помнить, что стыкующиеся плоскости отдельных сегментов необходимо прошлифовать с помощью листа шкурки, положив его на ровную поверхность.
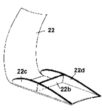
Деталь 7a, триммер, вклеиваем в перо руля (см. сборочный чертеж).
Обтекателю кабины (дет. 9) после вырезания придаем форму и склеиваем с усилителем (дет. 9a). Крепим готовый элемент к корпусу.
Проделаем в капоте двигателя отверстия для выхлоп 959p1510j 85;ых патрубков, которые вырезаются из заготовок (дет. 10), скручиваются в трубку и вклеиваются в эти отверстия. После высыхания клея острым лезвием обрезаем выступающие части трубок параллельно плоскости капота так, чтобы они выступали над его поверхностью примерно на 2 мм.
При желании можно сделать остекление кабины (дет. 11) прозрачным. Для этого аккуратно вырежем каркас и наклеим его на пленку. В лобовом стекле вырезаем отверстие, после чего крепим его к корпусу. Перед приклеиванием остекления окрасим внутреннюю часть кабины пилота акварельной краской под цвет фюзеляжа. Деталь 11a (прицел) сворачиваем в трубку и вставляем в отверстие обтекателя параллельно верхней поверхности фюзеляжа. Часть 12 после складывания приклеиваем к верхней части обшивки двигателя.
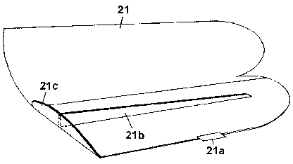
Монтаж крыльев начинаем с нижних плоскостей (дет. 13 и 14), при этом их нижние поверхности необходимо усилить и придать им жесткость. Для этого вырежем заготовки (дет. 13a и 14a), приклеим их к внутренней поверхности крыльев и доп 959p1510j 86;лнительно усилим ребрами жесткости (дет. 13b, c и 14b, c). После вырезания внешних, верхних кромок крыльев и соответствующей их доводки, склеиваем их в единое целое. Чтобы избежать скручивания и перекосов, крылья нужно склеивать на ровной поверхности стола или доски.
Изготовление горизонтальных стабилизаторов объяснений не требует. Только не забудьте усилить их наклеенной на картон поп 959p1510j 77;речиной (дет. 18b). Подкосы (дет. 17a, 18a) после склеивания монтируются согласно приведенному рисунку. Сидение пилота (дет. 19) после склеивания прикрепляем в обозначенном месте к шпангоуту 3b. Над сидением крепим утолщенный картоном подголовник (дет. 20).


Аналогично
собираем
второе крыло.
Распорки
крыльев (дет. 25
и 26), усилив их
кусочком
проволоки согласно
шаблону I,
склеиваем и
крепим к
нижним плоскостям.
В правой распорке, примерно посередине, укрепим кусочек стальной булавки (шаблон II), который будет имитировать трубку датчика спидометра. На этой стадии сборки монтируем крепления тросов растяжек крыла, которые делаем из обрезанных булавок по шаблону V и крепим их на крыльях и фюзеляже в местах, обозначенных точками. После этого приклеим к фюзеляжу и распоркам верхнее крыло. Это нужно сделать очень аккуратно. После высыхания клея, монтируем тросы растяжек, которые делаются из толстой серой или зеленой нити.
Стойки
шасси
собираем из
заготовок
(дет. 27), которые
оборачиваются
и склеиваются
вокруг
выступающих
из фюзеляжа
прутков.
Подкосы
стойки делаем
из проволоки
по шаблону VIII.
Если у вас
нет готовых
колес диаметром
около 20 мм, их
нужно
склеить из
утолщенных
картоном
кружков (дет. 29).
После доводки
шкуркой и сверления
отверстий, сажаем
их на оси
стоек и
закрепляем с
помощью маленьких кружочков
картона (дет. 29a).
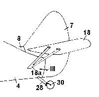
Усилитель
стойки хвостового
колеса
изготавливаем
из двух кусочков
проволоки,
согнутой по
шаблону VI и рис.
4. После
надевания хвостового
колеса (дет. 30),
на нижнюю
часть стойки,
накручиваем
и склеиваем
заготовку
(дет. 28). Готовый
элемент
устанавливаем
на корпус и
фиксируем с помощью
клея.
Монтаж винта начинаем с изготовления колпака, состоящего из склеенных встык конических колец (дет. 31, 32) и кружка (дет. 31a). Во внутреннюю часть колпака вклеиваем кусочек пробки, который облегчит нам закрепление лоп 959p1510j 72;стей винта на валу. Элемент, имитирующий втулку винта (дет. 33), скручивается в рулон, вставляется в отверстие колпака и вдавливается так, чтобы снаружи осталось около 2 мм. В лоп 959p1510j 72;сти винта вклеиваем булавки с обрезанными головками (должны выступать на 5 мм), после чего готовые лоп 959p1510j 72;сти крепим к колпаку. Ось винта делаем из проволоки, а ее подшипник из скрученной в рулончик и склеенной кальки. Готовый подшипник вместе с осью и винтом крепим в корпусе.
|