Конструктивно дизель во многом схож с бензиновым мотором. Он также работает по четырехтактному циклу. Серьезное отличие - отсутствие в дизеле системы искрового зажигания и иной способ формирования рабочей смеси, ее воспламенения и сгорания. Если в бензиновом двигателе смесь образуется во впускной системе, попадает в цилиндры практически в готовом виде и воспламеняется искрой от свечи зажигания, то у дизеля на такте всасывания в цилиндр поступает чистый воздух. Там он сжимается (такт сжатия) и разогревается до температуры воспламенения топ 737h77h лива (700-800°С). И только в этот момент в камеру сгорания под большим давлением (10-30 МПа) через форсунки впрыскивается топливо. Впрыск производит топливный насос высокого давления (ТНВД) - один из самых сложных и ответственных агрегатов двигателя. Это дает возможность использовать в качестве топлива более тяжелые фракции нефти (солярку) и работать на обедненных смесях, у которых выбросы окиси углерода меньше, чем у бензиновых фракций. Отсюда - меньшее загрязнение окружающей среды и более высокая экономичность дизельных двигателей.
Об износе двигателя, как дизельного, так и бензинового, можно судить по состоянию шланга вентиляции картера, который идет от блока цилиндров или масляного картера к впускному коллектору или воздушному фильтру. Проверку проводят так: отсоединяют верхний конец шланга на работающем двигателе, и, если из него поднимается густой маслянистый "туман", это означает, что двигатель изношен. Подтверждением тому будет и наличие масла в воздушном фильтре или впускном коллекторе.
Недостаточная компрессия для дизеля более опасна, чем для бензинового мотора. Обнаруживается эта неисправность просто: если двигатель при работе издает прерывистый шум и раскачивается, но по мере прогрева "успокаивается", наверняка компрессия упала. Для проверки следует воспользоваться компрессометром, причем дизельным, со шкалой до 24-30 атмосфер. (Обычные компрессометры для бензиновых моторов имеют шкалу до 12-15 атмосфер.) Если компрессия окажется недостаточной, двигатель придется серьезно ремонтировать, а это удовольствие дорогое, лучше поищите другой автомобиль.
У наших соотечественников со словом "дизель" обычно ассоциируется чадящий КамАЗ и водитель в телогрейке, пытающийся зимой паяльной пампой отогреть его бак. Но время и техника неумолимо идут вперед, и все больше появляется у нас на дорогах красивых и современных автомобилей, у которых лишь характерное постукивание из-под капота выдает тип установленного мотора.
По прогнозам ученых и технологов, в XXI веке старая добрая "бензиновая зажигалка" начнет уходить в историю, постепенно отдавая пальму первенства дизелю. Какие же особенности дизельного двигателя позволяют ему вести столь успешную борьбу за место под капотом?
|
|
|
|
|
|
|
|
До недавнего времени непосредственный впрыск применялся в основном на низкооборотных двигателях большого рабочего объема. Это было связано с трудностями организации процесса сгорания, а также повышенными шумом и вибрацией. Но в последние годы благодаря внедрению топливных насосов высокого давления (ТНВД) с электронным управлением, двухступенчатого впрыска топлива и оптимизации процесса сгорания удалось добиться устойчивой работы дизеля с неразделенной камерой сгорания на оборотах до 4500 об/мин, улучшить его экономичность, снизить шум и вибрацию. Такие двигатели стоят на автомобилях: Toyota Land Cruiser 4.2л -1HD-T, 1HD-FT, Isuzu Trooper, Opel Frontera 2.8 л - 4JB1, Land Rover Discovery 2.5 TDI
Наиболее распространенным на легковых автомобилях пока является другой тип дизельного мотора - с разделенной камерой сгорания. В них впрыск топлива осуществляется не в цилиндр, а в дополнительную камеру. Обычно применяется вихревая камера "Рикардо Комет", выполненная в головке блока цилиндров и соединенная с цилиндром специальным каналом так, чтобы при сжатии воздух, попадая в вихревую камеру, интенсивно закручивался, что значительно улучшает процесс самовоспламенения и смесеобразования.
Менее распространены предкамерные дизели, имеющие специальную вставную форкамеру, соединенную с цилиндром несколькими небольшими каналами. Их форма и сечение подбираются так, чтобы между цилиндром и форкамерой возникал большой перепад давления, вызывающий течение газов с большой скоростью. Такая конструкция позволяет обеспечить большой ресурс, низкий уровень шума и токсичности, а также пологую характеристику крутящего момента. Из широко распространенных автомобилей предкамерный двигатель применяется только на Mercedes G 300D, 350 TD (W 463) и Ssang Yong Musso 2.9 D, где также установлен дизель Mercedes OM602. КЛЮЧЕВЫЕ УЗЛЫ

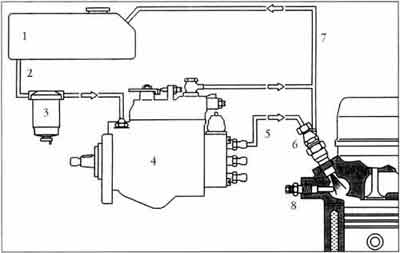
Схема топливоподачи дизеля
1-топливный бак; 2-топливопровод; 3-фильтр тонкой очистки топлива;
4-ТНВД; 5-ЛВД; 6-форсунка; 7-линия слива топлива; 8-свеча накаливания.
Рядные насосы фирмы Bosch или сделанные по ее лицензии (Nippon Denso, Diesel Kiki) в настоящее время применяются редко, хотя по своей конструкции являются наиболее надежными. Их можно встретить на автомобилях Mercedes G 300D, 350 (W 463), Ssang Yong Musso, Nissan Patrol с двигателем SD-33.
Наиболее распространены ТНВД распределительного типа VE производства Bosch или фирм Nippon Denso, Diesel Kiki, Zexel по лицензии Bosch. В этих ТНВД система нагнетания имеет один плунжер-распределитель, совершающий поступательное движение для нагнетания топлива и вращательное для распределения топлива по форсункам. Насосы типа VE получили широкое распространение на легковых дизелях. Они компактны, отличаются высокой равномерностью подачи топлива по цилиндрам и отличной работой на высоких оборотах благодаря быстродействию регуляторов, в то же время эти насосы предъявляют очень высокие требования к чистоте и качеству дизтоплива: ведь все их детали смазываются топливом, а зазоры в прецизионных элементах очень малы.
На американских автомобилях с дизельными двигателями GMC 6.2, 6.5 л типа Chevrolet Blazer, Suburban, Tahoe применяются насосы фирмы Stanadyne распределительного типа. В них систему нагнетания составляют четыре противолежащих поршня, выполняющих поступательные движения навстречу друг другу. Координация потоков топлива осуществляется распределительной головкой, соединяющей или разъединяющей линию нагнетания к форсункам.
С начала 90-х годов стала внедряться электронная система управления дизельным двигателем, позволяющая оптимизировать подачу топлива на всех режимах и за счет этого повысить экономичность, снизить количество вредных выбросов и шумность работы моторов. Электроника позволяет заменить на всех перечисленных типах насосов сложные механические регуляторы более простыми и точными. Нагнетательная часть ТНВД при этом обычно остается неизменной. В настоящее время электронное управление установлено на многих внедорожниках Mercedes G 350, Range Rover 2.5 TDI с двигателем BMW, Toyota Surf с двигателями 2L и 1 KZ, Nissan Terrano 2.7 TD, Nissan Patrol 2.8 и 4.2, Chevrolet Blazer 6.5 и других.
|
|
|
|
ТНВД Bosch VE с электронным управлением |
|
|
VE Diesel Kiki |
|
Эффективным средством повышения мощности и гибкости работы дизеля является турбонаддув. Он позволяет подать в цилиндры дополнительное количество воздуха и соответственно увеличить подачу топлива на рабочем цикле, в результате чего увеличивается мощность двигателя. Давление выхлопных газов дизеля в 1,5-2 раза выше, чем у бензинового мотора, что позволяет турбокомпрессору обеспечить эффективный наддув с самых низких оборотов, избежав свойственного бензиновым турбомоторам провала - "турбоямы". Отсутствие дроссельной заслонки в дизеле позволяет обеспечить эффективное наполнение цилиндров на всех оборотах без применения сложной схемы управления турбокомпрессором. На многих автомобилях устанавливается промежуточный охладитель наддуваемого воздуха - интеркулер, позволяющий поднять массовое наполнение цилиндров и на 15-20% увеличить мощность. Такие устройства при меняются на Opel'e Monterey 3.1 TD, Isuzu Trooper 2.8, Mitsubishi Pajero 2.5 TD, 2.8 TD и других. Турбонаддув, помимо всего прочего, служит для внедорожника средством повышения "высотности" двигателя - в высокогорных районах, где атмосферному дизелю не хватает воздуха, наддув оптимизирует сгорание и позволяет уменьшить жесткость работы и потерю мощности. В то же время турбодизель имеет и некоторые недостатки, связанные в основном с надежностью работы турбокомпрессора. Так ресурс турбокомпрессора существенно меньше ресурса двигателя и не превышает обычно 150 тыс. км. Турбокомпрессор предъявляет жесткие требования к качеству моторного масла. Неисправный агрегат может полностью вывести из строя сам двигатель. Кроме того, собственный ресурс турбодизеля несколько ниже такого же атмосферного дизеля из-за большей степени форсирования.

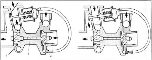
Турбокомпрессор
1-предохранительный клапан; 2-колесо компрессора; 3-колесо турбины;
4-вал турбокомпрессора.
Хотелось бы предостеречь желающих самостоятельно форсировать двигатель путем установки на него турбонаддува. Один и тот же двигатель в атмосферном варианте и в наддувном имеет существенные отличия по конструкции: у турбомотора обычно увеличены толщина верхнего поршневого кольца, диаметр поршневого пальца, жесткость шатуна, ycтановлены масляные форсунки для охлаждения днища поршня, увеличена производительность маслонасоса, имеются отличия в головке блока цилиндров и, естественно, в топливной аппаратуре. Именно поэтому простая установка турбонаддува на атмосферный дизель, не имеющий этих конструктивных изменений, вызовет резкое снижение его ресурса, а иногда и поломку.
Заканчивая обзор особенностей конструкции дизельных двигателей, приведем данные по рейтингу наиболее надежных моторов внедорожников, составленному на основании статистики ИТЦ фирмы "Моторсервис".
|
|
|||||||||||
|
Mercedes G300 (W 461) |
OM 617.912 | ||||||||||
|
Nissan Patrol |
SD33 | ||||||||||
|
Toyota Land Cruiser |
1HZ | ||||||||||
|
Mercedes G350 (W 463) |
OM 603.971 | ||||||||||
|
Nissan Patrol |
TD42 | ||||||||||
|
Toyota Land Cruiser |
1HD-T | ||||||||||
|
Nissan Terrano I, II |
TD27 | ||||||||||
Масло для современных моторов следует применять классом качества не ниже CD по API или В2 по АСЕА. Индекс вязкости, рекомендуемый для конкретного мотора, обычно указывается в инструкции Наиболее универсальными являются всесезонные масла с индексами вязкости 5W40 и 10W40 синтетические и полусинтетические.
Все современные масла имеют допуск к применению как в бензиновых, так и в дизельных двигателях (например, SH/CE), и совершенно не обязательно покупать масло со словом "diesel" в названии. Синтетические или полусинтетические масла обладают более стабильными характеристиками в течение всего срока службы и обеспечивают за счет этого снижение износа двигателя. Однако лишено оснований часто встречающееся мнение о необходимости применения в современных турбодизелях только синтетических масел, минеральные также можно применять без ограничений, если их класс качества соответствует требованиям инструкции.

Поломка распредвала - последствие обрыва ремня ГРМ
|
|
<< Обрыв ремня газораспределительного механизма на дизеле всегда приводит к деформации клапанов Отстой из топливного фильтра >> |
|

Этот сломанный плунжер - последствие попытки пуска с буксира
Как известно, дизель не имеет дросселирования на впуске и его всасывающие свойства высоки, а объем камеры сгорания очень мал. Даже небольшое количество воды, попавшей в коллектор и затем в надпоршневое пространство, вызывает явление, называемое гидроударом - поскольку жидкость несжимаема и деться ей на такте сжатия некуда, происходит повреждение (изгиб) шатуна. Воздушный фильтр при этом отлично пропускает воду. Поэтому глубокие лужи рекомендуется форсировать, что называется, "шагом".

Погнутый шатун - жертва гидроудара
Так, к примеру, свеча накаливания, купленная за $5, что в 2-3 раза дешевле ее нормальной цены, работает в лучшем случае две недели, а распылители за $10 приходится браковать прямо на стенде. Были случаи вытяжки новой цепи за неделю работы, и это на Mercedes'e 300D, где заводские цепи свободно "отхаживают" по 200 тыс.км.
Иногда плохой пуск исправного двигателя после длительной стоянки бывает вызван подсосом воздуха в топливной системе. За время стоянки топливо "уходит" из ТНВД, и без прокачки системы двигатель не заводится. Затрудненный запуск горячего двигателя при легком холодном пуске всегда вызывается неисправностью ТНВД, связанной с износом плунжерной пары (гидравлической головки). Когда топливо нагревается, снижается его вязкость и возрастают гидравлические потери в зазорах. Плунжер в этом случае не в состоянии развить давление достаточное для открытия форсунок на пусковых оборотах и топливо не поступает в камеру сгорания. Без замены плунжера в этом случае не обойтись.
Так неустойчивый холостой ход и провалы тяги, сопровождающиеся появлением сизого дыма, связаны с неисправностью подкачивающего насоса внутри ТНВД. Это обычно требует ремонта топливного насоса с полной разборкой, что невозможно сделать без соответствующего стенда. Иногда к тому же эффекту приводит более простая причина - подсос воздуха. Чтобы исключить ее, надо отсоединить всасывающий шланг от топливного фильтра и "покормить" мотор от отдельной емкости с чистой соляркой. Если мотор заработал нормально, следует искать место подсоса воздуха, если нет - ремонтировать ТНВД.
У японских внедорожников распространенное место подсоса воздуха - мембрана насоса ручной подкачки на корпусе фильтра. Иногда у этих мотопов причиной неустойчивой работы бывает забитая или замятая металлическая возвратная магистраль, называемая "обратной". Следует помнить и о том, что шайбы под "обраткой" одноразовые и повторное их использование может, помимо течи, привести к нарушению слива из форсунок в "обратку".

|