



![]()
Manual de instructiuni
Trace II
Manual de operare
WECO Trace II
Numar produs: 1114-9933-01
Editia: 7/07
(Schimbari tehnice rezervate)
Jurnalul de actualizare:
descrierea sigurantelor
actualizarea normelor de siguranta
termenii de schimb
revizuirea versiunii de software si interpretarile ecranului in cap 3-7
actualizarea numelui companiei la Buchmann GmbH
Clientului nostru apreciat
Felicitari pentru cumpararea unui FormTracer
Sunteti acum posesorul
unui aparat care intalneste asteptarile pentru gradul de automatizare, precizie
si
FormTracer completeaza sistemul WECO CMS.
Manualul il ajuta pe operator sa foloseasca aparatul la potentialul maxim si sa beneficieze de eficienta si acuratetea acestui sistem. Manualul contine informatii pentru instalare, sfaturi si instructiuni pentru a opera eficient FormTracer atunci cand trasati rame si lentile oftalmice.
Recomandarea noastra:
Va rugam sa cititi cu atentie manualul si sa il pastrati intr-un loc accesibil pentru o mai buna folosire.
Va dorim sa folositi noul aparat WECO cu multa placere si tot norocul din lume.
WECO
Marca inregistrata a
Buchmann GmbH
Cuprins
1 Introducere .......... ..... ...... .......... ..... ...... .......... ..... ...... ........ 7
1.1. Reprezentari.......... ..... ...... .......... ..... ...... .......... ..... ...... .. 7
1.2. Masuri de siguranta.......... ..... ...... .......... ..... ...... ...................... 8
2 Conditiile garantiei.......... ..... ...... .......... ..... ...... ............................ 10
3 Descriere.......... ..... ...... .......... ..... ...... .......... ..... ...... ........... 11
3.1. Informatii generale.......... ..... ...... .......... ..... ...... ........................ 11
3.2 Vedere generala.......... ..... ...... .......... ..... ...... ........................... 12
3.3. Vedere din spate.......... ..... ...... .......... ..... ...... .......................... 13
3.4. Tastatura.......... ..... ...... .......... ..... ...... .......... ..... ...... ....... 14
3.5. Afisajul LCD.......... ..... ...... .......... ..... ...... .......... ..... ...... .. 15
3.6. Componentele de operare.......... ..... ...... .......... ..... ...... ........... 18
3.7. Elemente de control.......... ..... ...... .......... ..... ...... ..................... 20
3.8. Specificatii.......... ..... ...... .......... ..... ...... .......... ..... ...... ..... 23
3.9. Echipament si accesorii.......... ..... ...... .......... ..... ...... ............... 25
4 Pornire.......... ..... ...... .......... ..... ...... .......... ..... ...... .............. 27
4.1. Conectarea la principala sursa de alimentare si unitati CMS.................... 27
4.2. Configurarea modului de operare.......... ..... ...... .......... ..... ...... 28
5 Operare.......... ..... ...... .......... ..... ...... .......... ..... ...... ............ 30
5.1. Inainte de pornirea aparatului.......... ..... ...... .......... ..... ...... ...... 30
5.2. Pregatirea pentru scanarea ramelor de ochelari.......... ..... ...... .......... 31
5.3. Pregatirea pentru scanarea lentilelor, lentilelor de proba si sabloanelor.........................;................... 33
6 Proceduri de operare.......... ..... ...... .......... ..... ...... ...................... 36
6.1. Aspecte generale ale procedurii de operare CMS.......... ..... ...... ..... 36
6.2. Scanarea ramelor pentru ochi dual.......... ..... ...... ............................. 37
6.3. Scanarea ramelor pentru ochi mono.......... ..... ...... ........................... 40
6.4. Scanarea lentilelor, lentilelor demonstrative si a tiparelor.......................... 43
6.5. Cod de bare (optional).......... ..... ...... .......... ..... ...... ................ 45
6.6. Introducerea manuala a stilusului de scanare.......... ..... ...... ............. 46
6.7. Decentrarea tiparului cu FormTracer.......... ..... ...... ......................... 47
6.8. Anularea operatiunii de scanare.......... ..... ...... .......... ..... ...... ... 49
6.9. Cazuri exceptionale.......... ..... ...... .......... ..... ...... ..................... 51
7 Auto-calibrare.......... ..... ...... .......... ..... ...... .......... ..... ...... ... 54
7.1. Scanare interioara.......... ..... ...... .......... ..... ...... ........................ 54
7.2. Scanare exterioara.......... ..... ...... .......... ..... ...... ....................... 55
8 Rezolvarea problemelor, ingrijire si mentenanta.......... ..... ...... ......56
8.1. Curatare.......... ..... ...... .......... ..... ...... .......... ..... ...... .......56
8.2. Sigurante.......... ..... ...... .......... ..... ...... .......... ..... ...... ..... 56
8.3. Greseli minore.......... ..... ...... .......... ..... ...... ............................ 57
8.4. Erori si mesaje de avertizare.......... ..... ...... .......... ..... ...... ...... 57
1 INTRODUCERE
1.1. Reprezentari
Va rugam sa cititi cu atentie Manualul de Instructiuni de Operare inainte de a pune acest aparat in uz.
<=



Sfaturile si avertizarile vor fi subliniate cu ajutorul hasurilor patrate, respectiv cutii incadrate ca repere.
1.2. Masuri de siguranta
Va rugam sa va asigurati ca aparatul este
conectat la o sursa electrica de acelasi
Aparatul trebuie mereu sa fie folosit cu cablul electric corect livrat de catre WECO si intrerupator principal de curent trebuie sa fie usor accesibil.
Nu deranjati cablurile electrice ale masinii sau sistemul de racire deoarece asta ar putea deteriora sau interfera cu functionarea sau sistemul de protectie al aparatului.
Sigurantele defectuoase nu ar trebui reparate sau unite si trebuie inlocuite numai cu sigurante identice sau de acelasi tip.
Aparatul tebuie inchis obligatoriu inainte de curatenie sau intretinere.
Nu porniti niciodata aparatul atunci cand este curatat sau reparat.
Tineti cont de faptul ca anumite erori operationale pot fi cauzate de ingestia medicamentelor, care in schimb afecteaza vederea si puterea de reactie.
Intotdeauna
Aplicatii intentionate sau destinate
Acest aparat este proiectat numai pentru procesarea lentilelor si a ochelarilor. Alte obiecte (unelte, etc.) nu trebuie in nici un caz sa fie operate sau prelucrate cu acest aparat.
Nu
Spatiile de pe aparat sunt proiectate pentru ventilatie si nu trebuie blocate si nici inserate alte obiecte in ele. Trebuie sa fie descoperite tot timpul.
Asigurati-va ca pozitionarea cablurilor nu va
Nu incercati niciodata sa bagati obiecte de nici un fel in deschizaturile aparatului deoarece asta ar putea cauza scurt circuite sau socuri electrice punand membre si vieti in pericol.
Nu incercati niciodata sa deschideti sau sa reparati aparatul pe cont propriu. Exista pericolul de a intra in contact cu componente cu potential electric.
In cazurile
Daca priza, cablul sau stecarul sunt deteriorate in vreun fel.
Daca apa sau un alt lichid ating partile electrice ale aparatului.
Daca, in ciuda executarii corecte a instructiunilor din manual, aparatul tot nu functioneaza corect.
Daca aparatul cade in mod accidental si 525n137f carcasa este stricata.
In adaos cu instructiunile date in acest
manual, toate celelalte norme si legi, cu privire la prevenirea accidentelor
trebuie
Contactati Organizatia de siguranta si
2 Conditiile Garantiei
Conditiile recente de comert ale Buchmann GmbH se aplica.
3 Descriere
3.1. Informatii generale
Sarcina principala a FormTracer este sa inregistreze datele formelor ramelor de ochelari, lentilelor si tiparelor si sa transfere aceste date in memorie.
Masurarea tri-dimensionala digitala a ramelor garanteaza o acuratete excelenta a potrivirii lentilelor.
Functia integrata a sarcinilor multiple permite scanarea simultana a ramelor cu decentrarea lentilelor si blocare in sistem , in timp ce lentilele pot fi terminate pe slefuitorul de lentile.
Noul sistem de prindere paralel permite
prinderea simplificata si precisa si previne
Distanta dintre lentile este masurata precis prin scanarea duala a ochiului. Cu toate acestea poate fi masurata si introdusa manual.
3.2. Vedere generala

3.3. Vedere din spate

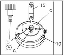
9.Surubul de ajustare a adaptorului pentru lentile si tipare.
10.
11. Intrerupatorul de curent
13. Sigurantele principale in spatele capacului
14. Priza cablului electric
15. Trasorul de lentile si tipare.
16. Schimbatorul de voltaj
17. Priza de scanare a codurilor de bare(optional)
19. Priza de diagnosticare.
3.4. Tastatura

20. Afisajul LCD
21. Tasta "Sarcina Noua"
22. Tasta "Start"
23. Tasta "Enter"
24. Tastatura de introducere a datelor
25. Tasta "Stergere"
26. Tasta "Deviatie"
27. Tasta "CTL"
28. Tasta "CAL"
3.5. Afisajul LCD

Afisajul in engleza
Nota

<= Dupa ce ati pornit aparatul
Versiunea si numele aparatului sunt afisate de indata ce aparatul este pornit sau tasta "RESET" este apasata, anterior re-initializarii.
<= In asteptare
Afisajul pentru modul in asteptare pentru scanarea duala.
Mod de operare CL
S
Scanare interioara F
Decalare
Decalarea este de 0.3 mm in relatie cu circumferinta cu tasta "OFS". 0.3 este valoarea standard.
Nota
Putem
permite un mod pentru valori
<=
In timpul scanarii


Afisajul in timpul scanarii duale, partea dreapta.
<= Afisajul in timpul scanarii duale, partea stanga.
<= Dupa scanarea duala
Afisajul dupa scanarea duala; valori pentru partea dreapta.
<= La apasarea tastei "." (punct zecimal); valorile pentru partea dreapta apar pe ecran.
<= In asteptare
Afisajul modului de asteptare (dupa initializare) pentru scanarea singulara.
Ochi singular -S
Mod de operare CL
Scanare interioara F
Ochi singular -S
Mod de operare RS232
Scanare interioara F
<= Dupa scanarea singulara
Afisajul dupa scanarea singulara pe dreapta
<= Afisajul dupa scanarea singulara pe stanga.
<= Scanarea
lentilelor si a tiparelor

Scanare exterioara P
<= Auto-calibrare
Afisajul in timpul auto-calibrarii
Centrare Pornit/Oprit
Afiseaza centrarea automata pornita. Aceasta este setarea initiala si nu poate fi schimbata cu o tasta.
<= Afiseaza centrarea automata oprita.
-
Dezactivati centrarea automata numai in cazuri exceptionale. Lentilele ar
putea fi centrate incorect. -
Va rugam sa consultati capitolul "Cazuri exceptionale" -
Functia poate fi activata cu ajutorul WECO service.
ATENTIE !
3.6 Componente de operare

<= Masa de prindere (1)
Pentru prinderea ramelor de ochelari in pozitie pentru scanarea interioara.
<= Dispozitivele de prindere (2)
Pentru asigurarea ramelor.

Stilusul de scanare interioara (3)
Pentru scanarea formei in profilul ramelor.
Elemente de prindere (a)
Pentru prinderea ramei de jos a ochelarilor.
Maner de prindere (5)
Pentru deschiderea elementelor de prindere si desprinderea dispoziitvului de fixare de pe masa de prindere.

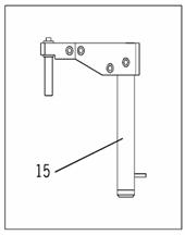
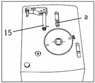
Trasorul exterior (15)
Pentru scanarea formei tiparului , lentilelor si a lentilelor demonstrative.
<=
Dispozitiv pentru tinerea lentilelor slefuite, lentilelor demonstrative si itpare ce este plasat pe inelul de centrare.
<=

Trasorul este impins catre adaptorul din suport.
Cand
trasorul este in pozitia corecta, o
<= Inelul de centrare (b)
<= Glisor (4)
Glisorul (4) este folosit numai pentru Trace Easy si nu are nici o functie in Trace II

<= Panoul de operare (6)
Panoul de operare are rolul unei folosiri simplificate a programului.

3.7 Elemente de control

<= Butonul de pornire (11)
Pentru a porni sau opri aparatul.
<= Tastatura de introducere a datelor (24)
Pentru introducerea datelor numerice.
<= Tasta "STERGERE" (25)

Tasta pentru stergerea valorii introduse sau pentru stergerea mesajelor de eroare.
<= Tasta "SARCINA NOUA" (21)
Pentru introducerea unui numar nou de sarcina.
<= Tasta "ENTER" (23)
Apasati aceasta tasta pentru a introduce numerele in control.
<= Tasta de decalare
(26)

Apasati aceasta tasta pentru a introduce o decalare de 0.3 mm in relatie cu circumferinta. Apasati a doua oara pentru a dezactiva decalarea. Valoarea apare pe ecranul LCD in coltul din dreapta jos ca informatia "u 0.3"
NOTA Putem face ca dumneavoastra sa introduceti orice valoare
pentru decalare. Va rugam sa contactati departamentul de service WECO
<= Tasta "+/-" (a)
Pentru a introduce datele de decentrare pentru scanarea formei. Forma trasata va fi in timpul decentrarii folosinf FormTracer (optional). Valori negative

<= Tasta "START" (22)
Dupa introducerea datelor apasati aceasta tasta pentru inceperea scanarii
Apasarea
acestei taste inca o data in timpul scanarii
dezactiveaza functia opririi de
Daca
tasta este apasata a treia oara in timpul scanarii,
functia opririi de
NOTA Dezactivati functia opririi de Vezi de asemenea capitolul "Cazuri exceptionale"
<= Ecranul LCD (20)

Diferite informatii sunt afisate pe ecran:
Decalare Pornit/Oprit
Afisarea statutului (ex: gata de scanare, calibrare, etc)
Scanarea duala cu masuratori DBL
Numarul sarcinii introduse
Masuratori "A" si "B" dupa scanare
Masuratori "A" si "DBL" dupa scanare
Versiunea de software dupa ce aparatul este pornit
Functii de serviciu
<= Tasta "RESET" (7)
Cand
aceasta tasta este apasata aparatul revine in pozitia in care era cand a fost
pornit. Stilusul de scanare se muta inainte pana la gaura din masa de prindere
si apoi revine la pozitia normala. Masa de prindere se roteste la 360°,
programul revine la inceput si versiunea de program apare pe ecran. Afisajul
<= Tasta "CTL" (27)
Tasta cu dubla distributie. Tineti apasat si simultan apasati a doua tasta. Functii duble disponibile pana in curent:
CTL si C Schimbarea intre scanare singulara si duala
CTL si "." Muta stilusul inainte pentru insertia manuala
CTL si START Incepe scanarea pe stanga
CTL si ENTER Muta doar masa de scanare catre stanga
CTL si OFS Intrerupator centrare automata
CTL si "+/-" Schimba modurile de operare (CL si RS232)
CTL
si
3.8 Specificatii
Valabilitate
Aceste instructiuni de folosire se aplica pentru WECO trace // si trace easy FormTracer cu numerele de ordine 1114-02xx-y0 si 1114-03xx-y0 pentru modurile de operare CL si RS232
Voltajul principal/ voltaje de
operare

Vezi placuta de incadrare (36) de sub aparat pentru informatia necesara.
ATENTIE!
Protectia impotriva supra-tensiunii: cat II
Consumul de energie: 40 VA
<= Sigurantele principale (36, vedere de sus)
230 V / 50 Hz : 0.315 A(T)
110V / 60 Hz : 0.63 A(T)
100 V / 60 Hz: 0.63 A(T)
Transformatorul are o siguranta termala de 115° centigrade
Va recomandam un circuit
electric separat pentru acest aparat T= siguranta de
intarziere
NOTA
Greutate si dimensiuni
Latime: aprox 20cm
Adancime: aprox 34cm
Inaltime: aprox 60cm
Greutate: aprox 6kg
Mediul de stocare si functionare
Temperatura permisa a mediului pentru operare: 5°C-40°C
Umiditatea permisa: 35%-80%
Presiunea atmosferica permisa: 700hPA-1060hPA
Gradul de protectie impotriva contaminarii Clasa 2
3.9 Echipament si accesorii

<= Adaptorul pentru lentile si tipare (10)
Europa: WECO Numar de serie: 1114-1084-00
SUA: Shuron Numar de serie: 1114-1085-00
<= Stilusul de scanare exterioara (15)
Numar de serie: 1114-1025-00

Sablonul pentru scanarea interioara a ramei
Numar de serie: 2005-3058
Model de axa si marime pentru scanarea exterioara
Europa: WECO: Numar de serie: 2005-3041
SUA: Shuron: Numar de serie: 2005-3042

<= Bloc adeziv, alb, 4 gauri
Nr de serie
Surub pentru fixarea sablonului
<= Surub:
Nr de serie

<= Cablu de alimentare
EU Nr de serie : 3571-0123-00
AUS Nr de serie : 1100-1101-00
Cablu CL (optional, 3m)
Nr de serie

<=Pix
de scanare a codurilor de bare (optional)

Nr. de serie: 5009-0024-00
<=Etichete cu coduri de bare (optional)
Numere de la 1 la 250
Nr de serie: 2012-3001-00
<=Container pentru accesorii(nu include accesoriile)
Nr de serie: 1114-1100-00
<=Vaselina de contact
Pentru ungerea partilor electrice de contact (b) pe masa de scanare
Nr de serie: 1114-1101-00

4. Pornire
4.1 Conectarea la principala sursa de curent si unitati CMS
NOTA

<= Conectia principala
<= Asigurati-va ca intrerupatorul (11) este in pozitia de "oprit"
<= Verificati ca intrerupatorul de selectare a voltajului
(16) sa fie setat la voltajul
<= Conectati cablul de alimentare (a) in spatele scannerului FormTracer.
Asigurati mereu intrerupatorul principal de curent.

<= Schema de conectare pentru cablul CL in legatura cu aparatele CMS (exemplu)
Aparatul continand unitatea de memorie trebuie sa fie
pornit pentru a permite scannerului sa functioneze Componentele sistemului CMS pot fi conectate intre ele
in orice ordine data, topologie stea sau linie dreapta. Exemplu: Conectati Trace II cu CAD III cu WECO edge450.
NOTA
<=
Conectati cablul CL al scannerului (a) in unul din porturile CL (12) si
conectati la un port CL de la un aparat diferit

Strangeti conectorii la porturi.

Priza pentru scannerul de coduri de bare (optional)
<= Inserati cablul DB9 al scannerului de coduri de bare in priza (17) si asigurati cu cele 2 suruburi.
4.2 Setarea modului de operare
Modul de operare CL(Current Loop/cercul curent)

Modul pentru operare cu memorie sau card de memorie (in masini de slefuit) sau placa selectiva (in computer) atunci cand aparatul este conectat cu alte aparate WECO CMS.
Ecranul indica: CL
<= Porturi pentru modul de operare
Atentie! Folositi numai cablu CL 3652-2501-00 WECO
pentru a conecta aparatele CMS
Modul de operare RS232 (optional)
Modul pentru operare cu interfata de serie a computerului
Folosit pentru: schimb intre date electronice (EDI)
Ecranul
RSA Formatul Scannerului WECO
RSC Simulare Nidek
RSD Simulare DVI
NOTA

<= Port pentru modul de operare RS232
Folositi cablu 1114-1773-00 (3 metri) pentru conectare
Schimbarea modului de operare
<= Pentru a schimba modul de operare apasati tasta "CTL" (27) si "+/-" (a) simultan
Tineti apasata tasta "CTL" si apasati "+/-" de mai multe ori pentru a naviga prin modurile de operare.
Afisajul pentru modul de operare CL: "CL"
Afisajul pentru modul de operare RS232: RSA, RSC sau RSD
Apasarea acestor taste porneste din nou aplicatia in mod automat. Cand afisajul arata "RESET" apasati tasta "ENTER" pentru a restarta.
5 Operare
5.1 Inaintea pornirii
NOTA
Incarcarea
mesei de prindere

<= Prindeti masa de prindere (1) cu ambele maini
<= Asezati masa de prindere pe inelul de centrare (b) si asigurati-va ca placutele de metal ale mesei de prindere se unesc usor cu magnetii inelului de centrare
Impingeti masa in partea stanga. Masa este tinuta in pozitie de catre magneti.
Stiftul
scannerului pentru rame de ochelari

<= Asigurati-va ca stiftul (3) este in pozitia normala in fata sau in spate.
5.2 Pregatirea pentru scanarea ramelor de ochelari

<= Deschiderea elementelor de prindere
Deschideti elementele de prindere prin apasarea manerului de prindere (5). Aceasta elibereaza dispozitivul de fixare de pe masa de prindere.
<= Deschiderea mesei de prindere.
Trageti masa de prindere (1, vedere generala) in jos si dupa aceea deschideti.
Inserarea ramelor de ochelari.
<= Introduceti ramele ca in imagine
<= Apasati masa de prindere (1, vedere generala) impreuna incet
<= Eliberati manerul de prindere (5, vedere generala)
Marginile de jos ale ramei sunt prinse de elementele de prindere(1a)
NOTA
5.3 Pregatirea pentru scanarea lentilelor, lentilelor demonstrative si a sabloanelor.
NOTA

<= Scoaterea mesei de prindere.
Folosind ambele maini inclinati masa de prindere (1) si luati-o de pe inelul de centrare.
<= Incarcarea lentilei si a adaptorului de sablon.
Incarcati lentila si adaptorul de sablon. (10)
Plasati lentila si adaptorul de sablon(10) pe inelul de centrare
Asigurati-va ca adaptorul de sablon se prinde usor de magnetii inelului de centrare. (a)
Strangeti lentila si adaptorul de sablon strans cu ajutorul surubului de ajustare (9)

<= Introducerea scannerului
Introduceti lentila si scannerul sablonului exterior. (15)
Impingeti lentila si scannerul sablonul exterior in jos in mecanismul de receptie (a) cat de departe merge.
<= Introduceti
scanerul exterior ca in imagine si impingeti-l in jos.

Acul stiftului (a) trebuie sa treaca de suport.
Intoarceti scanerul exterior in sesul invers acelor de ceasornic pana cand este drept in jos.
<=
Eliberati scanerul exterior

<= Scanerul exterior este impins in sus de un arc dupa care sta in piesa de ghidare.

Ecranul
<= Ecranul (20)
NOTA
Inlaturarea scanerului exterior (15)
<= Impingeti scanerul exterior (15) in jos.

<= Intoarceti scanerul exterior (15) in directia acelor de ceasornic si impingeti in sus si in afara.
6. Proceduri de operare
6.1 Vedere generala a procedurii de operare CMS
<=
Introduceti numarul sarcinii in scanner.

<= Prindeti ramele in pozitie.
<= Apasati tasta "START"
<= Introduceti numarul sarcinii in aparatul de centrare CAD III
<= Introduceti datele de centrare si inserati lentila
<= Apasati tasta "Block" si centrati lentila.
<= Rotiti bratul de blocare in pozitie si blocati lentila cu tampoanele de blocare WECO.
NOTA

<= Introduceti numarul sarcinii in W 3-D
<= Prindeti lentila in pozitie
<= Apasati tasta "START"
<= Deblocati cu atentie lentila folosind WECO Block Paddy.
Fatetati lentila folosind slefuitorul manual WECO 590.
NOTA * Depinzand de compozitia componentelor sistemului
procedurile pot sa difere.
6.2 Scanarea duala a ochiului pentru rame

Pregatiti FormTracer pentru scanarea ramelor pentru ochelari, vezi: "Pregatirea pentru scanarea ramelor".
<=
Stiftul de scanare se va muta inainte in gaura interioara a mesei de prindere si apoi inapoi in pozitia initiala.
Masa de prindere se roteste la 360°.
Versiunea programului apare pe ecran.
Ecranul
NOTA

Verificarea afisajului
<= Acum verificati afisajul si,daca e necesar , schimbati pe modul corect de scanare.

Deschiderea mesei de prindere
<= Deschideti elementele de prindere prin apasarea manerului de prindere (5). Acesta elibereaza mecanismul de fixare de pe masa de prindere.
<= Trageti masa de prindere in jos si apoi deschideti.
Introducerea ramelor de ochelari.
<= Introduceti rama ca in imagine. Marginile de jos ale ramei sunt tinute de elementele de prindere.
<= Apasati pe masa de prindere impreuna cu eliberarea manerului de prindere.
NOTA

Introducerea datelor
<= Apasati tasta "NEW JOB" (21)
<= Introduceti numarul sarcinii pe tastatura (24)
<= Apasati "ENTER"(23) pentru a introduce datele.
Valori de numere de sarcini valide:
Fateta WECO 430/450 1-199
W2D/W3D cu card de memorie SM200 1-100
Control laborator arbitrar
<= O decalare de 0.3mm pentru ramele de plastic poate fi introdusa prin apasarea tastei "OFFSET" (26). Decalarea activata va aparea pe ecran.
NOTA Putem face in asa fel incat sa puteti introduce orice
decalare. Contactati departamentul Service WECO.

<= Apasati tasta "START" (24)
Stiftul de scanare este inserat automat si ambele parti sunt scanate in secventa automat.
<= Operatiunea de scanare este afisata pe ecran.
Datele rezultate
Din moment ce ambele parti au fost scanate stiftul este mutat in pozitia jos automat.
<= Cutia-a din partea dreapta a ramei si DBL apar pe ecran (20)
Informatiile formei ale ambelor parti si DBL sunt transferate automat in memorie.
NOTA
6.3 Scanarea individuala a ochiului pentru rame
Pregatiti
scannerul pentru scanarea ramelor de ochelari,,

Vezi "Pregatirea pentru scanarea ramelor de ochelari"
<=
Stiftul de scanare se va muta inainte in gaura interioara a mesei de prindere si apoi inapoi in pozitia initiala.
Masa de prindere se roteste la 360°.
Versiunea programului apare pe ecran.
Ecranul
NOTA

Verificarea ecranului
<= Acum, verificati ecranul si, daca este necesar, schimbati cu modul corect de scanare.

Deschiderea mesei de prindere
<= Deschideti elementele de prindere prin apasarea manerului de prindere (5). Acesta elibereaza mecanismul de fixare de pe masa de prindere.
<= Trageti masa de prindere in jos si apoi deschideti.
Introducerea ramelor de ochelari.
<= Introduceti rama ca in imagine. Marginile de jos ale ramei sunt tinute de elementele de prindere.
<= Apasati pe masa de prindere impreuna cu eliberarea manerului de prindere.
NOTA

Introducerea datelor
<= Apasati tasta "NEW JOB" (21)
<= Introduceti numarul sarcinii pe tastatura (24)
<= Apasati "ENTER"(23) pentru a introduce datele.
Valori de numere de sarcini valide
Fateta WECO 430/450 1-199
W2D/W3D cu card de memorie SM200 1-100
Control laborator arbitrar
<=
O decalare de 0.3mm pentru ramele de plastic poate fi introdusa prin apasarea
tastei "OFFSET" (26). Decalarea activata va aparea pe ecran.

Scanarea partii drepte
<= Apasati tasta "START" (22)
Scanarea partii stangi
<= Apasati tastele "CTL" (27) si "START" (22) simultan
Masa de prindere se misca in dreapta pentru a scana partea stanga a ramei.
Datele rezultate
Din moment ce ambele parti au fost scanate stiftul este mutat in pozitia jos automat.

<= Cutia-a din partea dreapta a ramei si DBL apar pe ecran (20)
Informatiile formei ale ambelor parti si DBL sunt transferate automat in memorie.
NOTA
6.4 Scanarea lentilelor, mostrelor si sabloanelor.

Pregatiti scannerul pentru scanare exterioara. Vezi "Pregatire pentru scanarea lentilelor, mostrelor si sabloanelor."
Introducerea lentilelor, mostrelor sau sabloanelor
Lenitlele si mostrele sunt centrate automat dupa scanare. Oricum, trebuie blocate "pe axa" din exterior.
Lentile stangi
<= Prindeti lentilele stangi si mostrele ca in imagine.
<= Sabloanele trebuie prinse in pozitie ca o lentila stanga.
Forma este in sus, partea nasului cu fata in dreapta, partea convexa in jos.
Lentilele drepte
<= Prindeti lentilele drepte si mostrele in pozitie ca in imagine.

<=Strangeti sablonul (a) cu surubul (b)
<= Miscati scannerul exterior (15) pana la sablon (a), lentila sau mostra.

Introducerea datelor
<= Apasati tasta "NEW JOB" (21)
<= Tastati numarul sarcinii cu ajutorul tastaturii (24)
<= Apasati "ENTER" pentru a introduce datele.
<= Introduceti valoarea DBL cu ajutorul tastaturii (24)
<= Apasati "ENTER" (23) pentru a introduce datele.
Valori de numere de sarcini valide:
Fateta WECO 430/450 1-199
W2D/W3D cu card de memorie SM200 1-100
Control laborator arbitrar
<= O decalare de 0.3mm pentru ramele de plastic poate fi introdusa prin apasarea tastei "OFFSET" (26). Decalarea activata va aparea pe ecran.
NOTA Putem face in asa fel incat sa puteti introduce orice
decalare. Contactati departamentul Service WECO.

Scanarea lentilelor stangi
<= Apasati tasta "START" (22)

Scanarea lentilelor drepte
<= Apasati tasta "CTL" (27) si "START" (22) in acelasi timp
Datele rezultate
De
<= Cutia - a a partii drepte a ramei si DBL apar pe ecran (20)
Informatia formei a ambelor parti si DBL sunt transferate in memorie automat.
NOTA
6.5 Coduri de bare (optional)
Introducerea
numarului de sarcina cu un scanner de coduri de bare

<= Prindeti rama in pozitie
<= Mutati scannerul rapid peste eticheta cu codul de bare de pe tava de operatiuni.
<= Apasati tasta START (22 vedere generala)
6.6 Introducerea manuala a stiftului de scanare
Daca stiftul nu poate fi introdus automat pentru scanarea interioara, acesta poate fi introdus cu mana.
Introducerea unui numar de operatie
Introduceti numarul de operatie dupa modelul de la capitolul "Scanarea duala a ochiului"

Scanare individuala a ochiului?
Daca numai o
Miscarea stiftului in pozitia joasa.
Miscati stiftul in pozitia joasa apasand "CTL" si "."
Introducerea
<= Miscati masa de prindere apasand "CTL" (31) si "ENTER"(26) in acelasi timp.
Introducerea coroanei drepte a ramei de ochelari.
Procedati ca mai jos.
<= Luati stiftul de scanare (3) si introduceti-l in santul ramei.
<= Apasati tasta "START" (22)
6.7 Decentrarea sabloanelor cu scannerul FormTracer.
Decentrarea
sabloanelor

Decentrarea sabloanelor este crearea unui sablon specific unei prescrieri.
Datele decentrarii sunt introduse inaintea pornirii scanarii.
Sablonul este decentrat conform valorilor introduse.
Lentilele trebuie sa fie blocate pe centrul optic.
SFAT
Aceasta metoda nu este potrivita pentru bifocal sau ramele copiilor
Lentilele trebuie sa fie blocate in mijlocul formei.
Schema
decentrarii

"u" - decentrare orizontala de la mijlocul formei
(In interior pozitiv, exterior negativ)
"v" - decentrare verticala de la mijlocul formei
(In sus, pozitiv, in jos negativ)
SFAT
valorile pentru "u" mai mari de 15mm vor fi interpretate ca valori PD monoculare pentru lentila dreapta sau stanga.
In
acele cazuri,
Pentru introducerea monoculara PD trebuie sa fie pornita masuratoarea DBL.
Procedura pentru valori de decentrare egale
Prindeti rama
Apasati tasta NEW JOB
Introduceti numarul operatiei
Apasati tasta ENTER
Apasati tasta "+/-"
Introduceti decentrarea orizontala
Apasati tasta ENTER
Introduceti decentrarea verticala
Apasati tasta ENTER
Apasati tasta START
Ambele forme sunt stocate decentrate conform cu valorile introduse.
Procedura pentru valori de decentrare inegale
Prindeti rama
Apasati tasta NEW JOB
Introduceti numarul operatiei
Apasati tasta ENTER
Apasati tasta "+/-"
Introduceti decentrarea orizontala pentru lentila dreapta
Apasati tasta ENTER
Introduceti decentrarea verticala pentru lentila dreapta
Apasati tasta ENTER
Apasati tasta START
Ambele forme sunt stocate decentrate conform cu valorile introduse.
Prindeti rama
Apasati tasta NEW JOB
Introduceti numarul operatiei
Apasati tasta ENTER
Apasati tasta "+/-"
Introduceti decentrarea orizontala pentru lentila stanga
Apasati tasta ENTER
Introduceti decentrarea verticala pentru lentila stanga
Apasati tasta ENTER
Apasati tasta START
Procedura pentru scanarea exterioara
Pregatiti scannerul pentru scanarea exterioara
Apasati tasta NEW JOB
Introduceti numarul operatiei
Apasati tasta ENTER
Apasati tasta "+/-"
Introduceti decentrarea orizontala
Apasati tasta ENTER
Introduceti decentrarea verticala
Apasati tasta ENTER
Apasati tasta DBL daca e necesar
Apasati tasta START
Ambele forme sunt stocate decentrate conform cu valorile introduse.
6.8 Anularea operatiei de scanare
<= Operatiunea de scanare poate fi anulata in timpul scanarii prin apasarea tastei "C" (25)
Operatiunea de scanare este completata dar informatia formei nu este stocata.

6.9 Cazuri exceptionale
Scanarea
ramelor de ochelari prost

<= Daca, in conjunctie cu ramele prost
Numai
ATENTIE!
Rame de ochelari cu
<= Ramele cu
In aceste cazuri va recomandam scanarea lentilelor de proba.
Forme
deosebite ale lentilelor.

<= In conjunctie cu forme foarte speciale, aparatul se poate opri in mijlocul scanarii. Atunci va aparea mesajul de eroare E 49 in locul numarului operatiei.
Functia de oprire de
Oprirea de
ATENTIE!
Forme de rame
cu blocul stea decentrat.

<= Exista anumite forme de lentile in conjunctie cu care blocul nu poate fi atasat in centrul geometric deoarece ar fi prea aproape de margine.
Dezactivati functia de centrare automata apasand tastele "CTL" (27) si "OFFSET" (26). Aceasta este indicata pe ecran.
Miscati forma pana cand centrul ei este in pozitia in care este locat blocul - stea. Este mai usor sa scanati lentile de proba. Scanati forma.
Reactivati functia de centrare
automata apasand tastele "CTL"(27) si "OFFSET"(26). Aceasta este
Odata scanata, forma este stocata cu calculul decentrarii. Valoarea decentrarii precise apare pe ecranul slefuitorului de lentile (ZET- 90 si W 3-D) cand forma este incarcata. Decalati aceasta decentrare langa decentrarea necesara pentru client si apoi blocati lentila corespunzator.
Daca e necesar, mai scanati o data.
Setarea
sabloanelor pentru fatetarea in V si slefuirea marginii lentilei.

<= Ramele pentru lentilele care in anumite cazuri trebuie sa fie garnisite cu o fatetare in V si slefuirea plata (pentru sant) sunt adeseori furnizate cu doua sabloane. Primul sablon este centrat, al doilea este decentrat.
Scanati primul sablon (cel mai mare) in modul normal.
Dezactivati functia de centrare
automata apasand tastele "CTL" si "OFFSET". Aceasta este
introduceti un numar diferit de
operatie si scanati cel de-al doilea sablon. Reactivati functia de centrare
automata apasand tastele "CTL"(27) si "OFFSET" (26). Aceasta este
Terminati forma primei lentile cu o fatetare in V; lasati lentila prinsa in pozitie.
Terminati cea de-a doua forma cu o slefuire plana.
ATENTIE! * Dezactivati functia de centrare automata numai in
acest caz exceptional, deoarece asta ar putea duce la o centrare optica
eronata.
Lentile cu
marginea deteriorata.

<= Daca trebuie scanate lentile cu marginea deteriorata, zonele deteriorate vor fi detectate multumita acuratetii scanarii si pot fi vazute ulterior in rezultatele slefuirii.
Micile ciobituri pot fi netezite cu banda adeziva subtire inaintea scanarii.
7. Auto-calibrare
NOTA
Scanare interioara
Pregatiti
scannerul pentru scanarea ramelor de ochelari (vezi "Pregatirea pentru scanarea
ramelor de ochelari")

<= Prindeti sablonul ramei (a) pe masa de prindere.
<= Asigurati-va ca sablonul este asezat ferm.
Sablonul trebuie sa stea pe masa de prindere cu marginea de jos paralela cu suprafata mesei.
<= Apasati tasta "C" pentru a confirma eroarea W X 16 daca este potrivit.
<= Apasati tastele "CTL" (27) si "
Confirmarea procedurii de
De
Scanarea exterioara
Pregatiti
scanerul FormTracer pentru scanarea sabloanelor (vezi "Pregatirea pentru
scanarea lentilelor, lentilelor de proba si a sabloanelor.")

<= Prindeti sablonul de scanare exterioara (a) in pozitie si insurubati-l strans.
Sablonul trebuie sa fie prins drept si cu partea nasului cu fata in dreapta. (vezi diagrama)
<= Apasati tasta "C" pentru a confirma mesajul W x 16 daca este cazul.
<= Apasati tastele "CTL" si "
Confirmarea procesului de
La completarea
8 Rezolvarea problemelor, ingrijire si intretinere
8.1 Curatarea
<= Curatati numai cu o carpa putin umezita invelisul si tastatura
<= Nu curatati cu o carpa uscata din cauza posibilei incarcari statice.
<= Nu folositi detergenti sau solventi, etc.
8.2 Sigurante
ATENTIE Daca aparatul nu mai functioneaza verificati intai priza
principala si siguranta principala.

<= Deconectati cablul electric (a) inainte de a schimba vreo siguranta
Sigurantele
principale

<= Deschideti capacul de siguranta (b) de la intrerupator.
<= Inlaturati sigurantele (a) si testati-le cu un ohmmetru.
Folositi numai sigurante
230 V / 50 Hz: 0.315 A (T)
110 V 50/60 Hz: 0.63 A (T)
100 V 50/60 Hz: 0.63 A (T)
ATENTIE! Folositi numai sigurantele
8.3 Greseli minore
|
Greseala |
Cauza posibila |
Solutia |
|
Lentilele finisate sunt prea mari |
Tasta "OFFSET" (26) a fost apasata eronat. |
Apasati "OFFSET" din nou |
|
Formele scanate nu sunt transferate in memorie. |
Memoria nu e operationala |
Activati memoria |
|
Adresa scannerului a fost deja folosita |
Informati departamentul service WECO |
|
|
Apare E39-> lentila e prea mica |
Folositi tasta OFS |
|
|
Axa nu este |
Stiftul exterior sau interior este scos din pozitie sau slabit |
Faceti auto-calibrare. Informati departamentul service WECO. |
8.4 Erori si mesaje de avertizare

Sistemul de control al erorii monitorizeaza functiunea aparatului.
<=
<= Toate mesajele de eroare si avertizare trebuie sa fie recunoscute cu tasta "C" (25)
NOTA * Daca apare un mesaj de eroare care nu este listat mai
jos va rugam sa contactati departamentul service WECO.
|
Mesajul de eroare/avertizare |
Cauza posibila |
Solutie |
|
E 04 |
Nu e calibrat |
Faceti auto-calibrare |
|
E 05 |
Masa de prindere nu se roteste la 360 de grade |
Verificati daca masa se loveste de ceva in timpul rotirii |
|
E 06 |
Conturul nu este inchis. Rama s-a mutat in timpul scanarii |
Verificati daca rama este bine asezata. Mai scanati o data |
|
E x21 (121, 221, 321, 421, 521, 621) |
Stiftul nu functioneaza automat |
Verificati pozitia ramei, introduceti manual, deca este nevoie. Anuntati departamentul service. |
|
E 24 |
Stiftul de scanare este la limita de oprire din spate si tasta "START" a fost apasata. |
Mutati stiftul in pozitia normala. |
|
E 25 |
In timpul masurarii DBL s-a incercat scanarea aceleiasi parti de doua ori. |
Mutati stiftul in pozitia normala Scanati forma ramei inca o data |
|
E 35 |
Stiftul nu e in pozitia normala |
Mutati stiftul in pozitia normala |
|
E 36 |
Stiftul nu e jos sau resetat |
Mutati stiftul in pozitia normala |
|
E 37 |
In timpul decentrarii(optional): decentrarea orizontala u este mai mica decat jumatate din DBL |
Introduceti decentrarea corecta. |
|
E 38 |
Raza cea mai mica e mai mica decat 12.5mm si mai mare de 10mm. poate avea loc in timpul decentrarii(optional) |
Operatia este trimisa la slefuitor. Folositi elemente mici de prindere pentru blocare. |
|
E 39 |
Raza cea mai mica este mai mare de 9.5mm. lentila nu poate fi slefuita. Poate avea loc in timpul decentrarii(optional) |
Operatia nu este trimisa. Introduceti decentrare mai mica sau folositi tasta OFS pentru a mari forma. |
|
E 40 |
Nu exista legatura cu slefuitorul(memorie) |
Porniti slefuitorul. Verificati cablurile. |
|
E 41 |
Configurare incorecta a scannerului. |
Anuntati departmentul service WECO. Nu se face legatura cu slefuitorul. |
|
E 49 |
A fost actionata oprirea de urgenta. Stiftul a iesit. |
Puneti stiftul in jos, pentru a putea sta pe suprafata de referinta. Apasati tasta "RESET". Scanati rama inca o data. |
|
A fost actionata oprirea de urgenta. Se scana o forma speciala. |
Puneti stiftul in jos, pentru a putea sta pe suprafata de referinta. Apasati tasta "RESET". Scanati rama inca o data. Apasati tasta "START" (22) a doua oara - functia de oprire este dezactivata. |
|
|
E 57 |
Cu Labcontrol: numarul operatiei este deja folosit. |
Selectati un numar diferit pentru operatie. |
|
E x15 (115, 215, 315, 415, 515, ) |
Eroare de auto-calibrare |
Repetati auto-calibrarea cu sablonul corect. (geometria axelor). Daca eroarea apare repetat, contactati departamentul service WECO. |
|
W x16 (116,216,316) |
Auto-calibrare necesara |
Faceti auto-calibrarea. |
Buchmann Deutschland GmbH
Administration Jägerstraße 58
D-40231 Düsseldorf
Telefon +49-211-21 04-0
Telefax +49-211-21 04-251
www.briot-weco.com
|