Biscuitii sunt produse fainoase obtinute prin coacerea unui aluat afanat preparat din: faina, zahar, grasimi, oua, miere, glucoza, lapte, arome, afanatori chimici si biochimici si altele. Clasificarea sortimentelor de biscuiti dupa criterii economice se face astfel:
o biscuiti crackers realizati prin afanare biochimica si avand un continut de zahar de 5 - 6% de grasimi de 20 - 28%;
o biscuiti glutenosi la care continutul de zahar reprezinta maximum 20%, iar cel de grasimi maximum 12%;
o biscuiti zaharosi la care continutul de zahar reprezinta minimum 20%, iar cel de grasimi minimum 12%;
o biscuiti umpluti la care doi sau mai multi biscuiti sunt uniti printr-un strat de crema;
o biscuiti glazurati obtinuti prin acoperirea totala sau partiala a biscuitilor simpli sau a celor umpluti.

Fig. 1.
Prepararea aluatului consta din operatii care conduc la inglobarea tuturor componentelor intr-o masa omogena, cu caracteristicile specifice sortimentului de biscuiti care se fabrica. Pentru aceasta sunt necesare operatii de pregatire si dozare a materiilor prime, de framantare si dupa caz de fermentare, apoi de valtuire a aluatului. Pregatirea materiilor utilizate are in vedere aducerea lor intr-o stare fizica, de puritate, de calitate etc., potrivita pentru realizarea unui aluat corespunzator. Pregatirea se face prin dizolvare, separare, sortare, indepartarea componentelor neutile (ex. coji de oua) si altele. Pregatirea materiilor prime asigura aducerea acestora intr-o anumita stare fizica, de puritate, de calitate, pentru realizarea unui aluat corespunzator. Pregatirea se face prin operatii specifice, functie de natura materiei prime si auxiliare. Dozarea materiilor prime se efectueaza in functie de prevederile retetelor de fabricatie si de marimea loturilor. Pentru executarea dozarii se folosesc o serie de aparate de masurare si control. Aceasta operatie se efectueaza in functie de retetele de fabricatie. Dozarea se realizeaza cu ajutorul unor aparate de masura.
Prin aceasta operatie se urmaresc:
o masurarea cantitatilor de materii prime si auxiliare ce se introduc in fabricatie;
o realizarea unui amestec intre apa calda si cea rece, pentru obtinerea unei ape tehnologice cu temperatura dorita.
o Functie de materiile prime si auxiliare dozarea se poate realiza:
o gravimetric, pentru materiile prime si auxiliare granulare si pulverulente
o volumetric, pentru lichide
Framantarea aluatului reprezinta faza de amestecare a componentelor sub forma unei paste consistente, avand o distributie uniforma a materiilor in intreaga masa. In cazul biscuitilor crackers, care se afaneaza biochimic, prepararea aluatului se face in doua faze distincte, prepararea maielei si apoi a aluatului. Este faza tehnologica care asigura amestecarea tuturor materiilor prime si auxiliare. In cazul biscuitilor prin operatia de framantare se urmareste si formarea propriu-zisa a aluatului si dezvoltarea scheletului elastic al glutenului. Aluaturile destinate fabricarii biscuitilor prezinta urmatoarele caracteristici:
o sunt diferite de la o grupa de produse la alta, functie de materiile prime si auxiliare folosite la preparare si de proportia acestora.
o consistenta trebuie sa fie astfel incat sa asigure prelucrarea aluatului, modelarea aluatului. Aceasta trebuie sa fie suficient de plastic, dupa modelare sa pastreze forma data de aceea consistenta este mai mare.
Aluatul pentru biscuiti glutenosi trebuie sa aiba o consistenta mai mare si o elasticitate medie, ceea ce presupune o retea glutenica suficient de dezvoltata.
Umiditatea aluatului. Umiditatea aluatului reprezinta o caracteristica speciala pentru aprecierea calitatii acestuia. Umiditatea este data de apa folosita conform retetei si aportului de apa adus de materiile lichide si fluide folosite. Umiditatea aluatului depinde de grupa de produse ce urmeaza sa se fabrice si are urmatoarele valori:
o 25 - 27% la aluatul pentru biscuiti glutenosi
o 16 - 19% la aluatul pentru biscuiti zaharosi.
Cantitatea de apa folosita la prepararea aluatului, depinde de consistenta ce dorim sa o aiba aluatul, de capacitate de hidratare a fainii si de adaos de substante zaharoase si substante grase. Cresterea continutului de zahar in aluat cu 1% determina o scadere a cantitatii de apa cu circa 0,5 - 0,6%. Marirea cantitatii de grasime la fabricarea aluatului, determina reducerea cantitatii de apa folosita la preparare. Cantitatea de apa necesara pentru prepararea aluatului se determina cu relatia:
W = 100
formule pag 380
In care:
W = cantitatea de apa necesara prepararii aluatului, in l;
Msu = cantitatea de substanta uscata continuta de materiile prime si auxiliare, in kg;
Ual = umiditatea aluatului, in %;
M = cantitatea de materii prime si auxiliare folosite la prepararea aluatului, fara apa si lapte, in kg.
Temperatura aluatului. Temperatura aluatului este conditionata de continutul de zahar si grasimi precum si de modul in care se face afanarea aluatului. In mod experimental s-au stabilit pentru temperatura aluatului valorile urmatoare
o C pentru aluatul de biscuiti glutenosi
o C pentru aluatul de biscuiti zaharosi. Nivelul creste odata cu cresterea adaosului de zahar si grasimi.
Temperatura aluatului depinde de urmatorii factori:
o temperatura materiilor prime si auxiliare folosite
o de modificarile de temperatura ce apar in procesul de fabricatie
o durata si intensitatea framantarii
o de influenta utilajului si a mediului ambiant asupra temperaturii
Temperatura dorita se realizeaza prin reglarea temperaturii apei si prin incalzirea fainii. In timpul operatiei de framantare ca urmare a actiunii bratului de framantare, a rezistentei pe care o opune aluatul, se degaja o cantitate insemnata de caldura. Aceasta caldura, fie se ia in calcul la determinarea temperaturii aluatului, fie se recurge la racirea cuvei de framantare pentru a absorbi o parte din caldura degajata.
Mediul ambiant influenteaza temperatura aluatului, motiv pentru care, temperatura incaperii in care are loc framantarea si odihna daca este cazul trebuie sa aiba o temperatura de circa 20 C. Aluatul cu abateri de la temperatura optima, prezinta o serie de greutati in desfasurarea procesului tehnologic cum ar fi:
o aluatul cu temperatura cea mai optima, se lipeste de organele de lucru ale utilajelor pentru prelucrare, modelare, odihna si transport. Temperatura ridicata determina lichefierea grasimilor solide, cu influente negative asupra structurii aluatului si in final asupra calitatii produsului finit
o aluatul cu temperatura scazuta, se prelucreaza mai greu, iar produsul finit prezinta defecte de calitate.
Modelarea aluatului pentru biscuiti depinde de caracteristicile tehnologice ale grupei sortimentale. Se intalnesc, in principal, modelarea prin stantare, modelarea prin presare (trefilare, spritare) si modelarea prin forme rotative.
Coacerea se realizeaza prin incalzirea treptata a bucatii de aluat pana la temperatura de peste 200oC, pentru a se favoriza transformarile fizico-chimice care determina caracteristicile specifice ale produsului finit. Pentru coacere se utilizeaza cuptoare continue cu banda, la care se poate face reglarea temperaturii corespunzator cerintelor tehnologice.
Racirea biscuitilor are scopul de a scadea temperatura produsului pana la nivelul ambiantei. Racirea se efectueaza prin transportul biscuitilor pe benzi deschise pentru a se efectua un schimb rapid de caldura. Unele sortimente de biscuiti crackers in timpul racirii sunt stropite cu grasime pentru a li se imbunatati aspectul exterior, care devine mai brun si smaltuit, iar aroma este mai placuta.
Ultimele faze ale procesului tehnologic sunt finisarea si ambalarea.
Pentru fabricarea biscuitilor sunt necesare o serie de materii prime si materia 434j94e le care au urmatoarelor functii:
o surse de substante nutritive (glucide, lipide, proteine, vitamine, enzime etc.);
o materiile prime auxiliare au rolul de a imprima produsului finit o serie de caracteristici senzoriale, cum sunt aroma, culoarea, structura produsului, starea suprafetei etc.;
o ambalajele au rolul de a proteja produsul.
Faina de grau este materia prima de baza, care intra in proportie de peste 60% in compozitia biscuitilor. Principalele tipuri de faina utilizate la fabricarea biscuitilor sunt cele albe, dar pentru produse dietetice se pot folosi si alte tipuri (semialba, neagra, integrala).
Calitatea fainii destinata fabricarii biscuitilor. Faina destinata fabricarii biscuitilor trebuie sa aiba un continut redus de proteine si de calitate medie, care sa asigure obtinerea unui aluat elastic si suficient de plastic. Aceste caracteristici ale aluatului mentin forma dupa modelare. Fainurile cu un continut ridicat de proteine si de calitate superioara duc la obtinerea de produse cu porozitate neuniforma, iar in timpul racirii biscuitii manifesta tendinta de strangere.
Gustul produselor este influentat de faina cu granulozitate mica.
Cantitatea si calitatea proteinelor
Influenta fainii asupra calitatii biscuitilor depinde de sortimentul de biscuiti determinat de ponderea fainii in total compozitie produs. Cu cat faina are o pondere mai mica in masa totala a produsului cu atat influenta calitatii fainii asupra calitatii produsului este mai mica. Astfel in cazul biscuitilor glutenosi este importanta interdependenta dintre calitatea fainii si calitatea biscuitilor, pe cand in cazul biscuitilor zaharosi faina reprezinta doar 50% din masa produsului, restul fiind reprezentat de alte componente.
Faina destinata fabricarii biscuitilor se deosebeste de faina pentru paine prin continutul de proteine, continutul si calitatea glutenului. Graul din care se obtine faina destinata fabricarii biscuitilor trebuie sa aiba un continut redus de proteine, de asemenea influentand si continutul si calitatea glutenului. Graul trebuie sa aiba un continut redus de proteine de 9 - 11% si un continut redus de gluten cu insusiri plastice in mod deosebit.
Caracteristicile fainii destinate fabricarii biscuitilor sunt prezentate in tabelul nr. 1.
|
Indici de calitate ai fainii |
Indici de calitate pe grupe de sortimente |
|
|
Glutenosi |
Zaharosi |
|
|
Gluten umed, nelipicios, % | ||
|
Indice de deformare a glutenului, mm | ||
|
Gluten uscat, % | ||
|
Proteine, % | ||
Amidonul fainurilor destinate fabricarii biscuitilor trebuie sa se stabilizeze rapid la suprafata produselor, in timpul coacerii, sa nu se umfle prea rapid pentru a nu se obtine produse cu volum mic, insa nici prea lent, pentru ca miezul la partea inferioara sa nu fie prea dens iar la partea superioara prea afanat. Continutul de amidon deteriorat trebuie sa fie foarte mic.
Valoarea indicelui de maltoza pentru faina folosita la fabricarea biscuitilor trebuie sa fie de 250 mg maltoza / 10 g faina.
Datorita puterii mari de absorbtie, pentozanii, continua sa se hidrateze si in timpul coacerii aluatului, influentand nefavorabil dezvoltarea biscuitilor.
In aluatul destinat fabricarii biscuitilor, enzimele proteolitice influenteaza proprietatile reologice ale aluatului, sub aspectul reducerii continui a consistentei aluatului odata ce concentratia de enzime proteolitice creste.
Enzimele amilolitice exercita aceeasi influenta pana la un anumit nivel.
Granulozitatea fainii destinata fabricarii biscuitilor este:
o reziduu pe sita de matase 8XXX, % - max. 2,5
o trece prin sita de matase 10XXX, % - min. 65.
Faina, ca materie prima de baza care intra in proportie de peste 50% in compozitia biscuitilor, si care poate fi de tip alba pentru majoritatea biscuitilor, dar si de tip semialba, neagra integrala pentru produse dietetice, trebuie sa indeplineasca conditiile urmatoare:
o gustul si mirosul fainii sa fie placute, specifice, fara a admite mirosuri si gusturi straine, sau prezenta de impuritati minerale (nisip);
o intrucat culoarea fainii influenteaza direct culoarea biscuitilor, se recomanda verificarea fainii inainte de introducerea in fabricatie si neadmiterea fainii care se inchide la culoare in timpul prelucrarii;
o granulatia fainii trebuie sa fie fina;
o aciditatea si umiditatea fainii trebuie sa aiba valori corespunzatoare tipului de faina folosita;
o cantitatea si calitatea glutenului fainurilor destinate fabricarii biscuitilor glutenosi, trebuie sa fie corespunzatoare fainurilor de buna calitate, la fabricarea biscuitilor zaharosi se pot folosi si loturi de faina de slaba calitate;
o pentru fabricarea biscuitilor glutenosi la care aluatul trebuie sa aiba insusiri elastice bune, fainurile folosite trebuie sa indeplineasca anumite proprietati tehnologice;
o pentru biscuitii zaharosi aluatul obtinut trebuie sa fie sfaramicios, fara conditii speciale de elasticitate, faina folosita sa aiba o capacitate de hidratare corespunzatoare si sa formeze aluaturi de culoare deschisa.
Specificatia fainurilor folosite la fabricarea biscuitilor are urmatoarele particularitati:
o mirosul si gustul fainii trebuie sa fie placute si specifice, fara a admite mirosuri si gusturi straine sau prezenta de impuritati minerale (nisip);
o culoarea fainii influentand direct culoarea biscuitului se recomanda verificarea acesteia inainte de a fi introdusa in fabricatie si eliminarea fainurilor care se innegresc prin prelucrare;
o faina pentru biscuiti trebuie sa aiba o granulatie fina;
o aciditatea si umiditatea trebuie sa fie specifice conditiilor de calitate standardizate pentru tipul respectiv de faina;
o cantitatea si calitatea glutenului din fainurile destinate fabricarii biscuitilor glutenosi si crackers trebuie sa fie corespunzatoare fainurilor de buna calitate; la fabricarea biscuitilor zaharosi se pot utiliza si loturi de faina slaba;
o pentru biscuitii glutenosi si crackers care necesita un aluat cu bune insusiri elastice, fainurile trebuie sa posede urmatoarele proprietati tehnologice: o capacitate ridicata de a forma si retine gazele, pentru care este necesara o calitate si cantitate corespunzatoare a glutenului, o buna capacitate de hidratare si insusirea de a forma aluaturi de culoare deschisa;
o pentru biscuitii zaharosi aluatul trebuie sa fie sfaramicios, motiv pentru care nu se impun conditii speciale privind elasticitatea acestuia, iar proprietatile tehnologice solicitate fainurilor privesc capacitatea de hidratare si insusirea de a forma aluaturi de culoare deschisa.
Ouale conservate pot fi: melanj de oua congelate (oua separate de coji si amestecate), albus sau galbenus congelat si praf de oua. Dintre acestea praful de oua are avantajul ca este mult mai stabil pe timpul conservarii.
Laptele si produsele lactate. Se folosesc pentru imbunatatirea valorii alimentare, gustului si aromei produselor. Laptele poate fi lichid, pasteurizat, concentrat prin evaporarea unei parti din apa, sau lapte praf. Produsele lactate folosite la fabricarea biscuitilor sunt untul si branzeturile, acestea din urma fiind folosite mai ales la fabricarea biscuitilor aperitiv.
Substantele afanatoare. Se folosesc pentru afanarea biscuitilor. In functie de tipul de biscuiti se folosesc diverse tipuri de afanatori. Drojdia comprimata se foloseste pentru afanarea biscuitilor crackers. De altfel acesti biscuiti sunt singurii care se fabrica cu drojdie. Celelalte tipuri sortimentale se fabrica cu afanatori chimici deoarece continutul ridicat de grasimi si zaharuri impiedica activitatea drojdiei. Afanatorii chimici sunt substante care prin incalzire se descompun in CO2 si NH3 care determina porozitatea biscuitilor. Afanatorii chimici pot fi acido-alcalini sau alcalini.
Afanatorii acido-alcalini sunt amestecuri de substante alcaline (cum este cazul bicarbonatului de sodiu) si substante acide (acid tartric, lactic, citric precum si sarurile lor acide). Acesti afanatori au proprietatea de a elibera in timpul prelucrarii bioxid de carbon, ceea ce determina pierderea unei parti din gazele respective si reduce efectul de afanare. Pierderile se reduc prin inlocuirea acizilor cu sarurile lor acide.
Afanatorii alcalini cei mai folositi sunt bicarbonatul de sodiu si carbonatul de amoniu. Bicarbonatul de sodiu introdus in aluat se descompune treptat pana la CO2 dupa urmatoarea schema:
2NaHCO3 Þ Na2CO3 + CO2 + H2O
Carbonatul de amoniu (NH4)2CO3 prin incalzire se descompune astfel:
(NH4)2CO3 Þ 2NH3 + CO2 + H2O
Amoniacul rezultat din reactie, daca nu se elimina in totalitate, conduce la imprimarea unui gust specific produselor. Prin specificul procesului de coacere, care incalzeste masa biscuitului la temperaturi mai ridicate, acest neajuns se poate evita.
Materiile aromatizante. Mai sunt numite si condimente care sunt ingrediente ce se folosesc in scopul conferirii de mirosuri si gusturi placute, apetisante.
Materiile colorante. Se folosesc pentru colorarea biscuitului, cremei sau stratului de acoperire. In acest scop se folosesc materii prime colorante (praf de cacao, ciocolata, cafea, produse din fructe etc.) precum si substante colorante (coloranti alimentari).
Procesul tehnologic de fabricare a biscuitilor incepe cu prepararea aluatului. Scopul prepararii aluatului este acela de a realiza o masa cu caracteristici corespunzatoare cerintelor sortimentului respectiv, care sa fie uniforme in toata masa aluatului.

Fig. 2.
Prepararea aluatului se realizeaza in conditii diferentiate (a se vedea figura 2), in functie de grupa de biscuiti pentru care este destinat si cuprinde urmatoarele faze tehnologice:
o dozarea materiilor prime si auxiliare, cu ajutorul unor aparate de masura adecvate fiecaruia dintre ele; prin dozare se vizeaza introducerea in cuva de framantare a cantitatilor stabilite prin reteta de fabricatie;
o framantarea aluatului care serveste la amestecarea cat mai completa a materiilor componente si contribuie, dupa caz, la formarea structurii necesare a masei de aluat;
o odihna aluatului care intervine dupa operatiile intense de framantare si care are rolul de a reduce tensiunile interioare, de a determina o relaxare, pregatind conditii favorabile pentru eforturile la care va fi supus semifabricatul in timpul modelarii;
o in cazul aluatului glutenos, care are o consistenta mai mare, se impune o prelucrare suplimentara prin laminarea repetata, ceea ce imbunatateste uniformitatea, sporeste elasticitatea si in general calitatea aluatului;
o pentru aluatul destinat fabricarii biscuitilor crackers, dupa framantare intervine in plus o faza de fermentare, care contribuie la multiplicarea drojdiei responsabila de afanarea aluatului;
o la prepararea aluatului zaharos se face si o prelucrare suplimentara (rafinare) prin care sa se imbunatateasca caracteristicile de modelare si calitatea.
Insemnatatea prepararii aluatului decurge din faptul
ca de modul in care se executa operatiile depind intr-o foarte mare
masura insusirile gustative ale biscuitilor, gradul lor de afanare si alte
aspecte importante ale calitatii.
|
![]() |
![]() |
![]() |
o masurarea cantitatilor de materii prime si auxiliare introduse in faza de aluat;
o realizarea unui amestec intre apa calda si cea rece, astfel incat aluatul sa aiba temperatura optima pentru procesele care au loc.
In functie de caracteristicile fizice ale produselor dozate, metodele de dozare folosite la fabricarea biscuitilor sunt:
o gravimetrice - pentru materii granulare si pulverulente (zahar, faina); se folosesc balante de constructie speciala.
o volumetrice - pentru lichide (apa, solutii, grasimi lichide etc); se folosesc vase gradate (manuale sau automatizate) si apometre.
Echipamentele enumerate mai sus, folosite pentru dozarea materiilor prime, sunt montate pe linia de productie, in zona de framantare. Celelalte materii care se folosesc in cantitati mai mici se pot doza volumetric sau gravimetric, folosind echipamente dimensionate corespunzator
Framantarea aluatului de biscuiti. Spre deosebire de aluaturile destinate realizarii altor grupe de produse fainoase sau de panificatie, cele destinate fabricarii biscuitilor au urmatoarele caracteristici:
o sunt diferite de la o grupa de biscuiti la alta, avand proprietati ce depind in principal de materiile din care au fost preparate si de proportia amestecarii lor conform retetei de fabricatie;
o consistenta la care se pregatesc trebuie sa permita modelarea, respectiv sa fie suficient de plastice, iar dupa modelare sa pastreze forma conferita aluatului, motiv pentru care este necesara o consistenta mai mare;
o desi framantarea nu este foarte intensa, totusi amestecarea componentelor se impune sa fie cat mai buna.
In functie de grupa de biscuiti pentru care sunt destinate, aluaturile au o serie de proprietati specifice:
o aluatul pentru biscuitii glutenosi se prezinta sub forma unei mase compacte, cu o mare consistenta, la care in timpul framantarii se urmareste imbunatatirea elasticitatii prin formarea structurii si a retelei glutenoase;
o aluatul pentru biscuitii zaharosi are o structura nisipoasa, ca urmare a compozitiei in grasimi si substante zaharoase, proprietatile elastice ale masei respective nefiind importante.
Pentru aprecierea calitatii aluatului pentru biscuiti se pot folosi mai multe elemente tehnologice si de compozitie si anume: materiile din care a fost fabricat, caracteristicile pe care le prezinta aluatul (umiditate, temperatura, aspect), procedeul tehnologic folosit (ordinea introducerii diferitelor componente in aluat, durata si intensitatea framantarii).
Materiile din care este preparat aluatul influenteaza intr-o foarte mare masura caracteristicile acestuia si indeosebi consistenta, structura, elasticitatea si comportarea in procesul de modelare si coacere. De asemenea, compozitia respectiva va influenta calitatea produselor finite.
Umiditatea constituie o caracteristica prin care se evalueaza calitatea aluatului. Ea este conditionata de cantitatea de apa folosita, precum si de aportul de apa adus de celelalte componente lichide si fluide folosite. In general, umiditatea aluatului depinde de grupa de biscuiti si anume:
o aluat pentru biscuiti glutenosi - 25 - 27%;
o aluat pentru biscuiti crackers - 26 - 29%;
o aluat pentru biscuiti zaharosi - 16 - 19%.
Continutul de apa al aluatului pentru biscuiti este conditionat de consistenta dorita pentru acesta, capacitatea de absorbtie a fainii si adaosul de substante zaharoase si materii grase. Prin sporirea continutului de zahar al aluatului cu 1%, cantitatea de apa scade cu circa 0,5 - 0,6%. Imbogatirea aluatului in grasime determina de asemenea reducerea cantitatii de apa necesare a fi adaugata la preparare.
Temperatura aluatului determina in buna
masura insusirile lui plastice. Nivelul optim al temperaturii aluatului pentru
biscuiti este conditionat de continutul de zahar si grasimi si de modul in care
se face afanarea.
Normele tehnologice prevad urmatoarele temperaturi ale aluatului:
o biscuiti glutenosi - 38 - 40oC;
o biscuiti zaharosi - 19 - 25oC, nivel sporit proportional cu adaosul de zahar si grasimi;
Temperatura aluatului este conditionata de temperatura materiilor prime folosite, de modificarile de temperatura ce intervin in urma procesului tehnologic, de durata si intensitatea framantarii, de influenta pe care o au utilajul si mediul ambiant asupra temperaturii. La prepararea aluatului se calculeaza temperaturile optime ale materiilor prime folosite pentru a obtine temperatura dorita in aluat. Cel mai adesea se procedeaza la reglarea temperaturii apei adaugate si prin incalzirea fainii. In timpul framantarii intensitatea fortei fizice cu care se actioneaza asupra aluatului si rezistenta pe care o opune acesta datorita consistentei sale determina o degajare puternica de caldura. Pentru a evita supraincalzirea aluatului la calculul temperaturii materiilor prime se ia in calcul si aceasta influenta, iar o alta metoda consta in racirea cuvei de framantare, mijloc prin care se absoarbe o parte din caldura degajata. De asemenea, mediul ambiant influenteaza temperatura aluatului, motiv pentru care se recomanda ca odihna si (acolo unde este cazul) fermentarea aluatului sa se faca in incaperi cu o temperatura de circa 20oC. In plus pentru a evita impurificarea aluatului si formarea crustei se recomanda acoperirea cazanelor de aluat. Abaterile de la temperatura optima de prelucrare a aluatului conduc la ingreunari ale procesului tehnologic si anume:
o in cazul incalzirii aluatului acesta are tendinta de a se lipi de organele de lucru ale utilajelor in timpul proceselor de modelare, prelucrare, odihna si transport. In acelasi timp temperaturile mai inalte provoaca lichefierea grasimilor solide, ceea ce influenteaza negativ structura aluatului si in final calitatea produsului finit.
o invers, daca temperatura aluatului este prea scazuta, prelucrarea si modelarea se realizeaza mai greu, iar aspectul produselor are de suferit.
Succesiunea adaugarii materiilor la framantare
conditioneaza desfasurarea procesului de preparare si calitatea aluatului si a
biscuitilor.
Ordinea introducerii diferitelor materii in cuva de framantare este determinata
de o serie de ratiuni tehnologice si anume:
o obtinerea unui aluat cat mai omogen, intr-un timp cat mai scurt, in care scop la inceput se amesteca materiile prime lichide (solutii, suspensii) si dupa uniformizarea lor se adauga materiile pulverulente (faina, amidonul, zaharul farin).
o tipul de framantator, indeosebi capacitatea lui tehnologica (viteza de rotire a bratului de amestecare si posibilitatea de a influenta temperatura aluatului);
o caracteristicile aluatului pentru grupa respectiva de biscuiti.
Aluatul pentru fabricarea biscuitilor glutenosi se obtine prin introducerea in cuva framantatorului mai intai a siropului de zahar, plantolului sau margarinei, mierii, glucozei, extractului de malt si a altor materii lichide, care se amesteca timp de 3 - 4 minute, pana se omogenizeaza. In etapa a doua se adauga peste amestecul lichid circa jumatate din cantitatea de faina si se continua framantarea timp de aproximativ 30 minute. In final se dozeaza si restul de faina si alte materii pulverulente precum si solutiile de afanatori chimici. Framantarea se continua pana la obtinerea aluatului cu insusirile dorite.
Aluatul pentru fabricarea biscuitilor zaharosi rezulta in urma folosirii unei alte succesiuni de introducere a materiilor prime in framantator. La inceput se omogenizeaza grasimile cu zaharul pudra pana se obtine o masa spumoasa. Acest amestec se realizeaza cu ajutorul unui mixer planetar sau direct in framantator, care daca are viteza reglabila va fi folosit la nivelul celei maxime. Peste aceasta masa se adauga mierea, zaharul invertit, glucoza, extractul de malt, ouale, solutiile aromatizante si alte materii auxiliare si se omogenizeaza totul timp de 3 - 4 minute. Dupa uniformizare se adauga toata cantitatea de faina, amidon si solutie de sare, dupa care se framanta un timp scurt de pana la 5 minute. Datorita aciditatii, celelalte materii din care este preparat aluatul, solutiile de afanatori se includ numai spre finalul framantarii, ceea ce evita intrarea in reactie prematura a acestora si ca urmare pierderea substantelor afanatoare.
Durata si intensitatea
framantarii aluatului pentru biscuiti constituie un mijloc de influentare
a calitatii si de conducere a fabricatiei, fiind determinate de: proportia
diferitelor componente ale aluatului, umiditatea si temperatura acestuia,
metoda de afanare folosita si caracteristicile echipamentului de framantare.
Deoarece in afara de faina toate materiile folosite la fabricarea biscuitilor
se amesteca usor intre ele, ponderea acesteia va influenta durata framantarii.
La aluatul glutenos durata framantarii este de 60 - 100 minute, in functie de
calitatea glutenului, tipul de framantator si marimea sarjei. In schimb la
aluatul zaharos, unde continutul de grasimi, zahar si alte materii este mai
mare, durata framantarii scade la 30 - 40 minute. Umiditatea aluatului
influenteaza direct durata framantarii deoarece cu cat este mai ridicata cu
atat durata scade ca urmare a faptului ca in prezenta apei in cantitati mai
mari glutenul se formeaza mai repede, iar uniformizarea diverselor componente
se realizeaza mai repede. Cresterea umiditatii determina reducerea
consistentei, ingreuneaza prelucrarea ulterioara a aluatului si influenteaza
negativ calitatea biscuitului. Temperatura amestecului din care se fabrica
aluatul influenteaza timpul de framantare in sensul ca prin cresterea acesteia
se reduce timpul si intensitatea framantarii necesare pentru omogenizarea masei
respective. Reducerea timpului de framantare este determinata de influenta
temperaturii asupra hidratarii fainii si fluidizarii materiilor grase ce se
adauga in stare solida (de ex. plantol sau margarina). La afanarea chimica,
dupa formarea aluatului se adauga solutiile de afanatori, ceea ce necesita un
timp suplimentar de amestecare, pana ce se reuseste ca ele sa fie inglobate in
masa de aluat. Mai mult decat atat intre tipurile de afanatori chimici folositi
apar unele diferente. Astfel, solutiile de bicarbonat de sodiu si bicarbonat de
amoniu se amesteca in aluat mai greu decat cele de metabisulfit de sodiu si de
potasiu. Constructia si performantele instalatiei de framantare influenteaza
durata de framantare prin forma bratelor de amestecare, viteza acestora,
posibilitatea de reglare a ei, precum si in functie de dotarea eventuala cu
instalatii de incalzire - racire a cuvei.
Posibilitatea de a regla viteza de rotatie a bratelor de framantare creeaza
conditii pentru a folosi turatiile cele mai potrivite si pentru a reduce durata
totala a framantarii. Utilizand viteze rapide de framantare timpul total poate
sa scada la 20 - 40 minute pentru biscuitii glutenosi si la 10 - 20 minute
pentru biscuitii zaharosi.
Capitolul 4. Calculul bilantului de materiale si bilantului termic
1. Calculul bilantului de materiale
Regimul de functionare este unul continuu, datorat productiei obtinute care asigura cererea pietei.
Schema bloc pe operatii pentru obtinerea biscuitilor glutenosi:
![]() |
Cantitatea de biscuiti glutenosi ce rezulta din procesul tehnologic in cantitate de 16 t = 16000 kg, se calculeaza din ecuatia de bilant de materiale cunoscand pierderile de la operatii.
Biscuiti
receptionati
Depozitare

![]() |
![]()
Ambalare

Asezare

Biscuiti copti
Racire

Biscuiti presarati
Coacere
![]()
|
![]() |
|
![]() |
|
|
![]() |
|
![]() |
|
![]() |
|
![]() |
|
![]() |
|
![]() |
|
![]() |
Reteta de fabricatie este urmatoarea pentru biscuitii glutenosi:
faina: 53,99%
zahar: 16,2%
miere: 2,7%
glucoza: 2,7%
plantol: 5,4%
margarina: 6,48%
unt: 5,4%
lapte praf: 5,4%
oua: 1,08%
afanatori chimici: 0,43%
arome: 0,27%.
Reteta pentru biscuitii zaharosi este urmatoarea:
faina: 42,16%
zahar: 17,04%
miere: 4,26%
glucoza: 1,27%
plantol: 12,78%
margarina: 8,52%
unt: 8,52%
lapte praf: 1,27%
oua: 3,41%
afanatori chimici: 0,19%
arome: 0,08%.
BILANTUL TERMIC
Conform schemei tehnologice bilant termic se poate calcula pe operatia de coacere.
Coacerea aluatului. In procesul tehnologic de obtinere a biscuitilor, coacerea reprezinta cea mai importanta faza. La coacerea aluatului are loc o complexitate de procese fizice, coloidale, biochimice si microbiologice care se desfasoara in camerele cuptoarelor pentru biscuiti. Aluatul trebuie sa fie incalzit la o temperatura care favorizeaza procesele specifice acestei faze.
Stabilirea cantitatii de caldura necesara pentru coacerea biscuitilor.
Pentru alegerea si dimensionarea corespunzatoare a instalatiilor folosite la coacerea biscuitilor este important sa se cunoasca consumul de caldura necesar desfasurarii acestui proces. La coacerea biscuitilor se consuma caldura pentru desfasurarea proceselor endotermice, incalzirea aluatului si evaporarea apei, care au loc in bucata de aluat, ceea ce reprezinta consumul teoretic, pentru formarea aburului necesar in camera de coacere, cat si pentru acoperirea pierderilor inerente ale cuptorului, rezultand in final consumul efectiv pentru coacere.
1. Consumul teoretic de caldura
Metoda de calcul prin care se determina consumul de caldura tine seama de
urmatoarele procese fizice care au loc in aluat in timpul coacerii: incalzirea bucatii de aluat pentru consumul de caldura care este determinata de caldura specifica a luatului si de marimea bucatii, evaporarea apei din aluat.
Caldura specifica a aluatului este conditionata in principal de umiditatea lui. Caldura specifica este cuprinsa intre 0,595 si 0,605kcal/kg·grd. Determinarea caldurii specifice a aluatului Cs se face pe baza caldurii specifice a principalelor componente: faina si apa, aplicand formula:
unde in formula:
Cs.u. = caldura specifica a substantei uscate a biscuitilor, respectiv a fainii care in medie are valoare de 0,5
Ual = umiditatea aluatului care are valori cuprinse intre 15 - 19%
S-a neglijat in formula influenta celorlalte componente ale aluatului, deoarece continutul in grasimi, zahar si alte materii nu este foarte ridicat.
Cantitatea de caldura Q1 necesara pentru incalzirea aluatului se determina pe baza caldurii specifice Cs a aluatului, aplicand formula:
unde in formula:
m = cantitatea de aluat ce urmeaza a fi incalzita, in kg
ti = temperatura initiala a aluatului inainte de coacere, in ˚C (in mod obisnuit temperatura este aproximativ 30˚C
tf = temperatura finala de incalzire a aluatului, in ˚C (aproximativ 100˚C)
Cantitatea de apa necesara pentru evaporarea apei din aluat depinde de cantitatea de apa ce se transforma in vapori A, care se calculeaza cu ajutorul formulei:
in care in formula:
ma = cantitatea de aluat supusa coacerii, in kg
mp = cantitatea de produs obtinut imediat dupa coacere, in kg
K = o constanta care indica proportia apei evaporate din totalul pierderii de masa a produsului. Deoarece se apreciaza ca ~5% din pierderea de greutate la coacere este datorita substantelor volatile (alcool, substante organice, CO2) se considera K = 95%
Cunoscand cantitatea de apa ce se pierde prin coacere, cantitatea de caldura Q2 necesara evaporarii ei va fi:
unde in formula:
Cev = caldura de evaporare apei incalzite (Cev = 639,1 kcal/kg)
Caldura necesara pentru formarea cojii, Q3, se determina aplicand formula:
unde in formula:
a = cantitatea cojii produsului, in kg/kg
t1 = temperatura finala a miezului biscuitilor (aproximativ 150˚C)
t2 = temperatura finala a cojii biscuitilor (se considera a fi de aproximativ 180˚C)
Pe baza necesarului de caldura calculat pentru fiecare proces indicat anterior, se stabileste consumul teoretic total de caldura pentru coacerea biscuitilor, Qt, aplicand formula:
![]()
2. Consumul efectiv de caldura
Consumul efectiv de combustibil, respectiv de caldura, pentru
coacerea biscuitilor difera destul de mult fata de consumul teoretic, fapt care se datoreaza in primul rand randamentului termic al instalatiei de coacere.
Randamentul termic al unui cuptor indica in ce masura energia calorica consumata se utilizeaza pentru coacerea propriu - zisa si respectiv raportul intre consumul teoretic si consumul efectiv de caldura pentru coacere. Randamentul termic depinde de tipul combustibilului folosit si de modul de incalzire a cuptorului. Astfel, randamentul termic al cuptorului tunel variaza intre 50 si 70% in cazul incalzirii cu gaze. La cuptoarele moderne s-au luat o serie de masuri pentru imbunatatirea randamentului termic.
Consumul efectiv de caldura se determina din relatia randamentului termic stiind ca randamentul este de 60%:
Consumul de faina in 24h
in care: Pi = productia zilnica din fiecare sortiment, in kg
Cs.i. = consumul specific de faina pentru fiecare sortiment, kg/kg
Cantitatea de faina ce se depoziteaza
in care: Cf = consumul de faina in 24h, in kg
n = numarul de zile de depozitare (de regula 15)
Suprafata de depozitare
in care: Pf = cantitatea de faina ce se depoziteaza, kg
q = cantitatea de faina ce se poate depozita pe 1 m2 de depozit, inclusiv spatiile de circulatie (q = 600 - 800 kg/m2)
Calculul suprafetei depozitului de zahar ambalat in saci
Consumul de zahar in 24h
in care: Pi = productia zilnica din fiecare sortiment, in kg
Cs.i. = consumul specific de zahar pentru fiecare sortiment, kg/kg
Cantitatea de zahar ce se depoziteaza
in care: Cz = consumul de zahar in 24h, in kg
n = numarul de zile de depozitare (de regula 15)
Suprafata de depozitare
in care: Pz = cantitatea de zahar ce se depoziteaza, kg
q = cantitatea de zahar ce se poate depozita pe 1 m2 de depozit, inclusiv spatiile de circulatie (q = 600 - 800 kg/m2)
Calculul suprafetei depozitului de plantol ambalat in saci
Consumul de plantol in 24h
in care: Pi = productia zilnica din fiecare sortiment, in kg
Cs.i. = consumul specific de plantol pentru fiecare sortiment, kg/kg
Cantitatea de plantol ce se depoziteaza
in care: Cp = consumul de plantol in 24h, in kg
n = numarul de zile de depozitare (de regula 15)
Suprafata de depozitare
in care: Pp = cantitatea de plantol ce se depoziteaza, kg
q = cantitatea de plantol ce se poate depozita pe 1 m2 de depozit, inclusiv spatiile de circulatie (q = 600 - 800 kg/m2)
Calculul suprafetei depozitului de margarina ambalata in cutii de carton
Consumul de margarina in 24h
in care: Pi = productia zilnica din fiecare sortiment, in kg
Cs.i. = consumul specific de margarina pentru fiecare sortiment, kg/kg
Cantitatea de margarina ce se depoziteaza
in care: Cm = consumul de margarina in 24h, in kg
n = numarul de zile de depozitare (de regula 15)
Suprafata de depozitare
in care: Pm = cantitatea de margarina ce se depoziteaza, kg
q = cantitatea de margarina ce se poate depozita pe 1 m2 de depozit, inclusiv spatiile de circulatie (q = 600 - 800 kg/m2)
Calculul suprafetei depozitului de unt ambalat in cutii de carton
Consumul de unt in 24h
in care: Pi = productia zilnica din fiecare sortiment, in kg
Cs.i. = consumul specific de unt pentru fiecare sortiment, kg/kg
Cantitatea de unt ce se depoziteaza
in care: Cu = consumul de unt in 24h, in kg
n = numarul de zile de depozitare (de regula 15)
Suprafata de depozitare
in care: Pu = cantitatea de unt ce se depoziteaza, kg
q = cantitatea de unt ce se poate depozita pe 1 m2 de depozit, inclusiv spatiile de circulatie (q = 600 - 800 kg/m2)
Calculul suprafetei depozitului de lapte praf ambalat in cutii de carton
Consumul de lapte praf in 24h
in care: Pi = productia zilnica din fiecare sortiment, in kg
Cs.i. = consumul specific de lapte praf pentru fiecare sortiment, kg/kg
Cantitatea de lapte praf ce se depoziteaza
in care: Cl.p. = consumul de lapte praf in 24h, in kg
n = numarul de zile de depozitare (de regula 15)
Suprafata de depozitare
in care: Pl.p. = cantitatea de lapte praf ce se depoziteaza, kg
q = cantitatea de lapte praf ce se poate depozita pe 1 m2 de depozit, inclusiv spatiile de circulatie (q = 600 - 800 kg/m2)
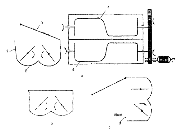
Procesul de preparare a biscuitilor se realizeaza cu ajutorul framantatoarelor care realizeaza amestecarea si formarea aluaturilor tari, motiv pentru care se mai numesc si malaxoare de coca tare.

Acestea sunt formate din: cuva (1) de forma paralelipipedica, prevazuta cu fund (2) de forma speciala si care se inchide cu capacul (3), prevazut cu contragreutate pentru a fi mentinut in pozitia dorita. La inchidere se blocheaza cu un dispozitiv adecvat. In interiorul cuvei se afla doua brate de framantare (4) in forma de Z, montate paralel. Prin rotirea lor cu viteze diferite se obtine efectul de amestecare. La unele tipuri de framantatoare se poate regla in mai multe trepte viteza de rotatie a bratelor si de asemenea se poate pune in functiune numai unul sau ambele brate de framantare. La framantatoarele moderne cuva este prevazuta cu pereti dubli prin care circula apa calda pentru incalzire sau apa rece pentru racirea aluatului, in functie de cerintele tehnologice. Pentru a usura descarcarea cuva se poate rabata cu 90o. Bratele si cuva sunt actionate mecanic cu ajutorul unui electromotor. Cuva se afla montata pe un sasiu robust, la inaltimea de circa 1 m, ceea ce permite ca in momentul descarcarii aluatului sa poate fi evacuat direct intr-un cazan. Cele mai importante caracteristici ale framantatoarelor de coca tare sunt:
o capacitatea cuvei: intre 100 - 500 l, uneori mai mare, in functie de capacitatea liniei de productie.
o turatia bratelor de framantare reglabila intre 10 - 30 rot /min la un brat si 20 - 60 rot /min la cel de-al doilea brat.
Urmatoarea faza tehnologica dupa framantare este odihna aluatului. In urma framantarii, in aluat s-au creat o serie de tensiuni interne care se recomanda sa fie atenuate inainte de a se trece la fazele urmatoare. De asemenea, in cazul aluatul afanat biochimic (biscuiti crackers) este necesar sa se lase un timp necesar pentru a se produce actiunea drojdiilor. Durata repausului si conditiile in care se realizeaza depind de tipul de aluat. Astfel:
o aluat glutenos - 1 - 3 ore la circa 30oC si o umiditate relativa a aerului de circa 80 - 90%;
o aluat zaharos - 14 - 24 ore, la circa 8 - 10oC si o umiditate relativa de 70 - 90%.
Pentru aluatul de biscuiti este foarte important sa se respecte temperaturile optime de odihna, deoarece la 40oC in cazul aluatului glutenos si 25oC in cazul celui zaharos, afanarea nu se mai produce corespunzator. Aceasta are ca efect pierderea fragezimii biscuitilor iar porozitatea este neuniforma. Datorita regimului specific de temperatura si umiditate relativa a aerului, odihna si afanarea aluatului se realizeaza in incaperi cu aer conditionat, prevazute cu aparate de masura si reglare a parametrilor respectivi In aceasta perioada au loc o serie de procese favorabile calitatii produsului finit:
o calitatea glutenului se imbunatateste, aluatul este mai plastic la operatiile de prelucrare ulterioara prin valtuire, iar biscuitii au in sectiune o structura uniforma; in plus scade elasticitatea glutenului, ceea ce duce la pastrarea formei biscuitilor conferita prin modelare;
o sub influenta aciditatii materiilor prime se produce o descompunere partiala a afanatorilor chimici, ceea ce determina o degajare de bioxid de carbon care afaneaza aluatul si-i reduce consistenta;
o in aluatul afanat prin fermentare, drojdiile se inmultesc si provoaca degradarea glucidelor, cu eliberare de bioxid de carbon, care determina o usoara porozitate.
Operatiile de afanare si odihna a aluatului se realizeaza de obicei in cazane paralelipipedice din otel inoxidabil. Capacitatea acestor cuve trebuie sa fie corelata cu marimea sarjei de aluat framantata odata in cuva malaxorului. Deoarece temperatura aluatului trebuie mentinuta constanta si pentru a se evita uscarea lui, cuvele se acopera cu panza.
Inainte de a se modela, aluatul trebuie prelucrat pentru ai imbunatati omogenitatea si structura. Aceasta se realizeaza astfel:
o laminare succesiva si stratificare in cazul biscuitilor glutenosi
o laminare simpla in cazul biscuitilor zaharosi.
Aluatul glutenos, odihnit si afanat, se lamineaza prin trecerea lui repetata printr-o serie de perechi de valturi. Intre doua treceri succesive este prevazut un scurt termen de repaus. In final rezulta o foaie de aluat mult mai compacta, avand dimensiunile cerute de linia de modelare. In prima parte a valtuirii se obtine compactizarea aluatului si uniformizarea dimensiunilor sectiunii. In timpul intinderii intre valturi, aluatul este supus actiunii mecanice care imprima deformatia de dilatare si compresiune, in urma careia in aluat apar o serie de presiuni longitudinale si transversale. Daca tensiunile interne ce se creeaza nu sunt atenuate prin faze intermediare de odihna pot determina deformarea aluatului modelat. Prin executia laminarii se va imbunatati calitatea glutenului si elasticitatea aluatului. De asemenea se obtine o repartizare uniforma a bulelor de aer in masa de aluat, ceea ce face ca porii sa fie fini iar produsele fragede. In general operatia de laminare se executa pe linii mecanizate de laminare prevazute cu patru sau mai multe perechi de valturi. Aluatul este trecut prin instalatie cu ajutorul unei benzi transportoare. Pentru ca operatia de laminare sa se desfasoare in bune conditii, linia tehnologica trebuie alimentata continuu cu aluat, iar curgerea acestuia intre diferite puncte de lucru trebuie sa fie cat mai uniforma. Exista o stransa corelatie intre capacitatea liniilor de laminare, latimea benzilor de aluat si caracteristicile generale ale intregii linii tehnologice de productie a biscuitilor glutenosi.
Aluatul zaharos se prelucreaza prin laminare cu scopul de a-i uniformiza structura si de a forma o banda cu dimensiunile dorite, cu care se face alimentarea masinilor de modelat. Prelucrarea aluatului zaharos prin laminare, denumita si rafinare, se face cu o masina speciala care prelucreaza aluatul cu ajutorul a trei valturi succesive, care actioneaza prin presare si prin scaderea temperaturii realizata de instalatia de racire a valturilor cu care este dotata.
Aluatul care trebuie
prelucrat ajunge in palnia de alimentare (1), de unde este preluat de perechea
de valturi (2) - (4) si este presat pana este transformat intr-o foaie subtire.
Datorita actiunii cutitului raclet (3), care curata aluatul de pe valtul (2),
el ramane aderent pe valtul (4) care-l transporta la a doua laminare. Aceasta
se efectueaza intre grupul de valturi (4) - (6). Dupa cea de a doua laminare
cutitul raclet (5) curata aluatul de pe valtul (4), iar in final, cutitul
raclet (7) il desprinde si de pe valtul (6), lasandu-l sa cada in vasul de
colectare (8) care face legatura cu urmatoarea faza tehnologica. Cilindrii (2),
(4) si (6) sunt raciti prin circularea in interior a apei cu temperatura de 8 -
10oC.Unul din principalele mijloace prin care se caracterizeaza si se identifica diferitele sortimente de biscuiti il reprezinta aspectul produsului, caracterizat prin:
o forma (rotunda, ovala, dreptunghiulara, diferite figurine, litere etc),
o aspectul suprafetei exterioare, respectiv desenul imprimat pe biscuit,
Toate aceste insusiri ale biscuitului se obtin prin modelarea aluatului. Pentru modelarea aluatului de biscuiti se folosesc urmatoarele metode:
o modelarea prin stantare, practicata pentru aluatul glutenos
o modelarea prin presare, in forme rotative a aluatului zaharos;
o modelarea prin trefilare (sau spritare) a unui aluat zaharos sau cu insusiri mai apropiate de aluatul glutenos, fara a fi identic cu acesta.
Dupa laminare, aluatul glutenos rezulta sub forma unei foi continue, cu structura si dimensiuni uniforme, de grosime 2 - 4 mm, cu suprafata neteda si lucioasa, fara rupturi, incluziuni de coca uscata etc. Tinand seama ca in urma coacerii biscuitii isi dubleaza grosimea se va stabili grosimea foii de aluat in functie de grosimea preconizata pentru produsul finit. Elementul principal al acestei metode de modelare este matrita, care imprima si creeaza forma viitorului produs. Matrita decupeaza din foaia de aluat bucatile modelate si le separa de resturile care raman sub forma de deseuri si care se reintroduc in procesul de laminare. Foaia de aluat laminata este trecuta printr-o pereche suplimentara de valturi care are rolul de a o calibra si de a regla debitul pentru partea de stantare si de coacere a liniei tehnologice. In continuare foaia de aluat este zvantata ca urmare a presararii de faina pe suprafata ei a carei distribuire uniforma se face cu ajutorul unei perii rotative, care se roteste in sens contrar miscarii de inaintare a foii de aluat. Se realizeaza astfel curatirea si lustruirea suprafetei foii de aluat. Aluatul astfel pregatit ajunge in dreptul dispozitivului de stantare care face imprimarea suprafetei biscuitilor si taierea conturului biscuitilor. Matritele sunt dispozitive complexe alcatuite dintr-un batiu pe care este prins cutitul de contur si capul de imprimare. Cutitul de contur decupeaza biscuitii astfel incat sa se foloseasca cat mai eficient suprafata foii de aluat si resturile sa se desprinda usor. Pe capul de imprimare este desenat negativul desenului ce se va imprima pe biscuit. Prin schimbarea matritelor se poate obtine o mare varietate sortimentala de biscuiti folosind practic acelasi aluat. Dupa stantare urmeaza faza de separare a resturilor de aluat prin antrenarea acestora pe o banda inclinata si trecerea lor pe un alt transportor orizontal de unde ajung din nou in zona de laminare. Aluatul modelat se deplaseaza in continuare pe banda la operatiile de finisare (ungere, presarare cu zahar etc.) si apoi mai departe la coacere.
Datorita structurii friabile pe care o are aluatul zaharos, modelarea lui nu se poate face prin stantare. Instalatia de modelat aluat zaharos are urmatoarea schema de principiu, prezentata in figura de mai jos.

Dupa ce a fost laminat, aluatul este rasturnat in palnia de alimentare a dispozitivului de modelat (1). Modelarea se face prin antrenare intre cei doi cilindri (2) si (3), dintre care cilindrul (2) este neted si serveste pentru presare, iar cilindrul (3) este metalic, avand pe suprafata lui laterala o serie de alveole, care reprezinta negativul formei dorite a biscuitului. Aluatul antrenat este presat puternic intre cei doi cilindri, ceea ce duce la umplerea cat mai compacta a alveolelor respective. Cutitul (4) are rolul de a uniformiza grosimea aluatului preluat in alveole. Biscuitii astfel modelati sunt evacuati din alveolele cilindrului (3) cu ajutorul benzii transportoare (5) si a tamburului (6). Banda textila este presata de tambur pe suprafata exterioara a cilindrului (3) ceea ce face ca aluatul sa adere la panza, iar in momentul in care se indeparteaza de cilindru, biscuitul modelat sa se extraga din alveola.Ca si in cazul matritelor folosite la modelarea biscuitilor glutenosi, si in acest caz forma biscuitului si modul de asezare trebuie sa ocupe cat mai bine suprafata cilindrului, iar adancimea alveolei trebuie sa corespunda grosimii biscuitului necopt. Prin schimbarea cilindrului formator, masina poate realiza o gama foarte mare de modele de biscuiti.
Pentru aluatul zaharos si pentru aluaturi ce au caracteristici asemanatoare aluatului glutenos, se realizeaza modelarea prin trefilare sau spritare.

Masina pentru modelat prin spritare are schema de principiu prezentata in figura alaturata. Cuprinde o palnie de alimentare (1) in care aluatul este adus dintr-o tremie de alimentare a liniei tehnologice cu ajutorul unei perechi de valturi dozatoare. Acestea au rolul de a alimenta continuu si relativ uniform masina de modelat. Din palnia (1) a masinii de modelat aluatul cade liber intre doi cilindri de presare (2) si (3), care se rotesc in sens contrar si antreneaza astfel aluatul in miscarea lor, obligandu-l sa treaca in camera de presiune (4), terminata cu o matrita (5) prevazuta cu orificii. Presiunea cu care se actioneaza asupra aluatului depinde de caracteristicile lui (mai ales de elasticitate si plasticitate) si este realizata prin reglarea distantei dintre cilindri si uneori prin viteza acestora. Efectul de presare al cilindrilor este mult imbunatatit daca suprafata lor exterioara nu este neteda ci are o serie de rifluri longitudinale care-i maresc aderenta.Ca urmare a presiunii la care este supus, aluatul tinde sa se destinda si trece prin orificiile matritei. Caracteristicile plastice ale aluatului de biscuiti modelat prin aceasta metoda fac ca forma preluata de acesta de la matrita sa se pastreze si dupa iesirea din masina. Aluatul astfel modelat se prezinta sub forma unui fir continuu, cu sectiunea corespunzatoare sectiunii libere a matritei. Pentru a se definitiva modelarea, din firul obtinut se taie cu cutitul (6) bucati de aluat de dimensiunile dorite. Dupa intervalul la care se face taierea, rezulta biscuiti lungi sau biscuiti scurti. Marea variabilitate pe care o permite constructia orificiilor libere ale matritelor si modul in care se face taierea din fir creeaza o gama mare de forme pentru diferite sortimente de biscuiti modelati prin aceasta metoda.
Pentru a realiza o gama cat mai larga de sortimente exista doua posibilitati:
o Unitatile de productie de capacitati mari se doteaza cu linii tehnologice specializate pe grupe de sortimente, la care unul din principalele elemente distinctive il constituie metoda si echipamentul de modelare; aceasta solutie are avantaje in ceea ce priveste gradul de mecanizare al operatiilor dar prezinta o anumita rigiditate in ceea ce privesc posibilitatile de adaptare a productiei in functie de schimbarea ponderii pe grupe de sortimente.
o
Unitatile de capacitate mica si medie se doteaza cu
linii tehnologice care includ agregate complexe de prelucrare a aluatului, care
permit modelarea prin doua sau chiar prin toate cele trei metode.
Desi costurile unei astfel de linii sunt destul de mari si in timpul
exploatarii unele agregate din linie nu functioneaza (in functie de tipul de
biscuiti care se produce), flexibilitatea conferita de aceasta constituie un
avantaj net in favoarea acestei solutii.
Agregatele complexe de prelucrare a aluatului cu care sunt dotate liniile de fabricatie universale sunt compuse dintr-o reunire a masinilor pentru cele trei tipuri de modelare, intr-o ordine si amplasare care da posibilitatea trecerii rapide de la o grupa de sortimente la alta.

Instalatia este formata din palnia de alimentare cu aluat (1), mai multe grupe de valturi (2), (3), (4) pentru laminarea aluatului, intre care foaia de aluat este deplasata cu transportoarele cu banda (5), (6), (7). Prin intermediul transportoarelor, aluatul laminat ajunge la peria rotativa (8) si la ventilatorul (9), care curata si usuca suprafata foii de aluat, reducand tendinta de lipire a acesteia de organele de lucru ale stantei. In continuare, aluatul ajunge in dreptul stantei (10) care face modelarea prin taiere si imprimare. Biscuitii astfel modelati sunt separati de foaia de aluat de dispozitivul (11) si raman in continuare pe banda, in timp de resturile sunt preluate de benzile transportoare (12) si (13) si se reintorc la prelucrare. Prin acest flux se realizeaza modelarea aluatului glutenos prin stantare. Adaptarea instalatiei pentru modelarea biscuitilor zaharosi se poate face in doua variante:
o prin aducerea aluatului in palnia de alimentare (14) a masinii de modelat prin trefilare (15);
o prin modelarea cu forme rotative, in care caz aluatul este trecut prin masina (17) montata pe linie.
Dupa zona din linie in care sunt montate echipamentele pentru cele trei variante de modelare, aluatul este deplasat cu transportorul (18), la dispozitivul (19) de ungere a suprafetei biscuitilor, dupa care cu banda de transfer (20) ajung la dispozitivul de presarare cu zahar (21). In final, aluatul modelat de agregat este introdus la coacere in cuptorul tunel.
Coacerea biscuitilor reprezinta faza tehnologica in urma careia aluatul modelat sufera procesele fizico - chimice, biochimice, coloidale si microbiologice care au drept rezultat obtinerea caracteristicilor specifice produsului finit. In timpul coacerii, aluatul trebuie sa fie incalzit la temperaturi care favorizeaza procesele specifice acestei faze. Sub aspect tehnologic, coacerea are rolul de a induce in aluat acele modificari calitative care contribuie la realizarea insusirilor specifice biscuitilor, dintre care cele mai importante sunt asigurarea transformarilor ce sporesc valoarea alimentara si imbunatatesc conditiile de conservare a produselor respective. Coacerea trebuie sa se realizeze imediat dupa terminarea pregatirii aluatului prin preparare, prelucrare si modelare, pentru a se surprinde momentul cel mai favorabil pentru fixarea caracteristicilor respective. Datorita faptului ca prin coacere aluatul sufera transformari care definitiveaza caracteristicile produsului finit, defectiunile tehnologice produse in aceasta faza conduc la rebutarea loturilor respective. Acest fapt obliga la manifestarea unei mari atentii fata de calitatea aluatului si conditiile de coacere.
Sub influenta conditiilor de mediu din camera de coacere, in aluatul pentru biscuiti se produc o serie de schimbari si anume: cresterea temperaturii, reducerea umiditatii aluatului si transformari fizico-chimice ale componentilor aluatului.
Ridicarea temperaturii aluatului modelat porneste de la nivelul initial de 25 - 35oC si sporeste treptat pana atinge temperaturi ce variaza intre 160 si 300oC, in functie de dimensiunile produsului si de compozitia lui. La inceputul coacerii, temperatura aluatului creste foarte repede, pana ajunge la temperatura de fierbere a apei. Aceasta modificare a temperaturii aluatului se realizeaza relativ uniform pe intreaga masa a biscuitului si necesita 1,5 - 2 minute. In acelasi timp, pe suprafata exterioara temperatura se ridica la 140 - 180oC. Schimbul de caldura intre camera de coacere si aluat este usurat de faptul ca in primul interval, pe suprafata biscuitilor - care este mult mai rece - se condenseaza o parte din vaporii existenti in prima zona, prevenindu-se astfel formarea unei coji care ulterior s-ar opune migrarii apei din interior spre exterior si, de asemenea, ar frana cresterea volumului acestora.
Reducerea umiditatii aluatului se face pe masura ce se ridica temperatura. Ca urmare a diferentei de temperatura dintre suprafata biscuitilor si straturile lor interioare, are loc o migrare a apei sub forma de vapori din straturile cu temperatura mai mare catre cele cu temperatura mai scazuta. In acelasi timp are loc si o deplasare inversa, de la zona centrala spre exterior, cauzata de diferenta de concentratie a umiditatii. Prin aceste deplasari interne de umiditate si prin evaporarea apei de pe suprafata biscuitilor, are loc reducerea umiditatii totale a aluatului. Pentru calitatea coacerii si indeosebi a schimbului de umiditate si a formarii produsului, un rol important revine umiditatii din camera de coacere. Acest lucru este dovedit si de faptul ca o coacere intr-o atmosfera uscata determina formarea rapida a unei coji nedorite, insotita de un aspect neplacut. La sfarsitul coacerii, umiditatea produsului este usor diferita intre zona exterioara si restul biscuitului, insa dupa racire umiditatea se uniformizeaza.
Transformarile fizico-chimice ale componentilor aluatului in timpul coacerii au loc pe mai multe planuri:
o in primele minute de incalzire a aluatului, aproximativ la temperatura de 60oC, are loc o descompunere rapida a carbonatului de amoniu, insotita de producerea gazelor care determina afanarea. Bioxidul de carbon, amoniacul si vaporii de apa care au realizat afanarea aluatului sunt intr-o mare parte eliminati pana la sfarsitul coacerii.
o prin cresterea temperaturii aluatului intre 55 si 80oC se produce gelatinizarea partiala a amidonului din faina de grau. Spre deosebire de paine, la aluatul pentru biscuiti granulele de amidon se gelatinizeaza numai partial (datorita continutului redus de apa).
o in acelasi timp, substantele proteice sufera un proces de coagulare care este insotit de cedarea de apa, pentru ca la depasirea temperaturii de 80oC sa aiba loc coagularea lor integrala. Procesul avand loc simultan, apa cedata prin coagularea substantelor proteice este absorbita imediat de amidonul ce se gelatinizeaza.
o prin afanare si ca urmare a transformarii amidonului si proteinelor se definitiveaza structura fizica a biscuitilor. In acelasi timp, la suprafata are loc formarea cojii, care are o coloratie mai intensa decat miezul. Diferenta este datorata temperaturii mai ridicate a straturilor exterioare.
o in timpul coacerii, cantitatea de hidrati de carbon se micsoreaza, indeosebi la biscuitii zaharosi, schimbare generata de fermentarea si caramelizarea unei parti din zaharurile continute. Cantitatea de substante proteice si grasimi se diminueaza usor.
o alcalinitatea puternica a aluatului, ca urmare a continutului in amoniac rezultat prin descompunerea afanatorilor se reduce spre sfarsitul coacerii, in urma evaporarii unei mari parti din aceasta.
Pentru coacerea aluatului se utilizeaza o gama mare de cuptoare. Acestea variaza in functie de:
o modul de incalzire (sursa si tehnica de transmitere a caldurii) care reprezinta un prim criteriu de clasificare a cuptoarelor;
o modul in care se face deplasarea aluatului in camera de coacere, respectiv cuptoare cu functionare discontinua sau cu functionare continua;
o gradul de mecanizare si automatizare a functionarii caracterizeaza, de asemenea, tipurile de cuptoare.
Principalele metode de incalzire a cuptoarelor folosite la fabricarea biscuitilor sunt:
o incalzire directa cu combustibil lichid sau gazos - transmiterea caldurii facandu-se prin recircularea gazelor arse;
o incalzirea electrica cu ajutorul rezistentelor sau cu camp de inalta frecventa
o incalzirea prin radiatii in infrarosu.
De asemenea, se pot folosi si metode combinate de incalzire a cuptoarelor (curenti de inalta frecventa si o metoda clasica).
Liniile moderne de fabricare a biscuitilor folosesc cuptoare cu functionare continua. Acestea difera in special dupa modul in care se face coacerea:
o cuptoare tunel la care coacerea se face pe o banda continua confectionata dintr-o foaie de tabla laminata special sau din impletitura de sarma;
o cuptoare tunel dotate cu lanturi continue ce transporta tavile cu aluat;
o cuptoare tip conveier adaptate, dupa caz, pentru coacere pe tavi sau direct pe suprafata leaganului.
Dintre acestea, cuptoarele tunel cu banda sunt cele mai eficiente. Un cuptor tunel este compus dintr-o camera de coacere, un sistem de transport al aluatului prin cuptor, un sistem de incalzire si o serie de aparate si dispozitive de masura si control. Toate componentele sunt montate pe un schelet metalic, construit din cadre de fier, asezate transversal pe lungimea cuptorului si rigidizate intre ele prin platbande.

Camera de coacere (1) este termoizolata fata de exterior, avand forma unui tunel prevazut la cele doua capete cu gura de intrare a aluatului (2) si gura de evacuare a biscuitilor copti (3). Deoarece latimea cuptoarelor variaza in mod obisnuit intre 0,8 si 1,2 m, lungimea camerei de coacere depinde de capacitatea de productie a cuptorului. Intre carcasa cuptorului si sistemul de incalzire ramane un spatiu bine determinat care constituie camera de coacere. Ea are latimea benzii de transport si inaltimea de 20 - 30 cm; este prevazuta la intrare si iesire cu clapete reglabile, care obtureaza spatiul liber ce ramane pentru deplasarea semifabricatelor. La exterior cuptorul este placat cu panouri de tabla, detasabile, care usureaza interventia in interiorul lui in cazul verificarilor, intretinerii sau depanarilor. Sistemul de transport al aluatului prin cuptor este format dintr-un transportor cu banda (4), care pe ramura lui superioara deplaseaza aluatul modelat de la gura de intrare prin cuptor pana la iesire. La capatul de intrare, transportorul este prevazut cu un sistem de intindere a tamburului (5), care fiind asezat pe un carucior mobil, prevazut cu o serie de role (6), sub influenta unei contragreutati (7), sau in alte cazuri datorita actiunii unor suruburi sau unor resorturi, tine banda mai intinsa. Deplasarea benzii se face datorita unui sistem de actionare (8) montat pe tamburul motor (9) de la iesirea din cuptor. El este realizat dintr-un electromotor care pune in miscare tamburul motor printr-un grup de transmisie. Viteza tamburului motor este modificabila dupa nevoile tehnologice printr-un variator mecanic sau prin modificarea tensiunii de alimentare, solutie care permite reglarea vitezei benzii de coacere intre limite foarte largi. La cuptoarele de biscuiti dimensionarea sistemului de actionare conduce la durate de coacere de 2 - 20 minute, interval care se restrange in cazul cuptoarelor specializate pentru o grupa mai redusa de sortimente. Banda cuptorului se confectioneaza dintr-o tesatura metalica deasa sau dintr-o foaie continua de otel, care trebuie sa se imbine in asa fel incat sa nu stanjeneasca functionarea continua. Pe lungimea cuptorului banda aluneca pe o serie de role sau pe suprafete plane care o pastreaza in pozitie orizontala si limiteaza frecarea. Sistemul de incalzire al camerei de coacere se bazeaza pe recircularea gazelor calde, care sunt incalzite prin arderea combustibilului si apoi sunt deplasate printr-un fascicul de tevi montat in jurul camerei superioare a benzii transportorului. Instalatia de incalzire a cuptorului urmeaza sa transforme combustibilul in caldura prin ardere si sa o transporte la camera de coacere, pentru a acoperi necesitatile procesului de incalzire a aluatului, precum si pierderile datorate degajarilor ce se produc de la instalatia de coacere spre sala de lucru. Corespunzator lungimii camerei de coacere, cuptorul tunel este impartit in 2 - 5 zone succesive, fiecare fiind incalzita de o instalatie proprie.
Dupa scoaterea din cuptor, biscuitii sunt raciti de la temperatura de 100 - 120oC pana la temperatura mediului ambiant din sala de fabricatie, de circa 25 - 35oC. Racirea se impune din necesitatea de a le conserva forma si calitatile, deoarece biscuitii calzi sunt greu de manipulat, nu se pot ambala imediat, iar daca pastrarea lor la temperatura ridicata se prelungeste, se accentueaza pierderile. Ca urmare a scaderii umiditatii se favorizeaza descompunerea grasimilor (rancezirea). In timpul racirii biscuitilor, afara de scaderea temperaturii, se modifica si umiditatea. Are loc un proces de repartizare uniforma a umiditatii in masa biscuitului, prin migrarea vaporilor din straturile de la centru spre straturile exterioare. Incheierea acestui schimb de umiditate are loc dupa circa 30 minute si depinde de grosimea biscuitilor si de temperatura, eventual si de viteza aerului de racire. Se recomanda ca in timpul racirii biscuitii sa fie pastrati intr-un spatiu sau zona in care temperatura aerului este de cel mult 30 - 40oC, umiditatea relativa de 70 - 80%, iar viteza aerului de 2,5 m/s, aerul fiind directionat de contracurent cu deplasarea biscuitilor. Modul in care se organizeaza si desfasoara racirea biscuitilor trebuie sa tina seama si de specificul produsului. Deoarece biscuitii zaharosi in stare calda sunt mai plastici si usor deformabili, racirea lor trebuie sa se faca fara a-i supune unor operatii dure, care sa-i degradeze. De asemenea, biscuitii cu dimensiuni mari au o rezistenta mai mica in general si in stare calda in special. In cazul cuptoarelor continue cu coacere pe banda racirea se realizeaza cu ajutorul unei instalatii cu banda care transporta biscuitii. In contact cu aerul salii de fabricatie biscuitii cedeaza caldura si se racesc.
Printre cele mai importante imbunatatiri ce au intervenit in productia de biscuiti, un loc de frunte revine introducerii, diversificarii si perfectionarii metodelor de ambalare a biscuitilor. Desfacerea sortimentelor superioare de biscuiti nu se mai poate concepe astazi fara un ambalaj care sa le protejeze si sa le prezinte cat mai atragator consumatorilor. Pornind de la ideea ca ambalajul are rol de protectie a produsului, de prezentare si de protectie pe parcursul transportului, se remarca urmatoarele situatii:
o produse ambalate in vrac, deci direct in ambalajele de transport: lazi de lemn sau cutii de carton; aceasta solutie se aplica in special in cazul biscuitilor simpli, cu o mare rezistenta mecanica.
o produse preambalate in portii mari, care se face prin asezarea unor cantitati de 0,2 - 1 kg in cutii de carton; se recomanda in cazul sortimentelor de biscuiti asortate.
o produse preambalate in portii mici de 100 - 200 g - aceasta varianta este cea mai utilizata in momentul de fata.
Produsele preambalate se ambaleaza apoi in ambalaje de transport: cutii de carton sau lazi de lemn. Materialele de ambalare folosite trebuie sa satisfaca anumite cerinte si anume:
o sa asigure protectia mecanica cat mai buna, deoarece biscuitii si in special cei zaharosi sunt putin rezistenti la solicitari mecanice si socuri;
o sa asigure protectia impotriva migrarii grasimilor spre exteriorul ambalajelor, ceea ce ar conferi un aspect neplacut produsului;
o de asemenea, trebuie sa constituie o bariera pentru circulatia aerului, mirosurilor si altele;
o sa realizeze o cat mai buna prezentare a produselor, in care sens in primul rand sa se preteze la o tratare estetica a formei si elementelor grafice, care sa sugereze si sa prezinte cat mai fidel sortimentul respectiv, iar in unele cazuri sa faca produsul vizibil pentru consumatori.
o ambalarea prin invelire - un grupaj de biscuiti de format cilindru sau paralelipiped, se acopera cu o folie de material, care se lipeste pe lungime, se pliaza si se lipeste la capete.
o ambalarea in pungi - se aplica mai ales in cazul sortimentelor neregulate.
o ambalarea in cutii - se foloseste pentru ambalarea produselor asortate.
o ambalarea prin mularea foliei de ambalare sub forma de plic, care se sudeaza longitudinal si la capete.
o ambalarea in cutii si lazi de lemn - ambalaje de transport.
Toate ambalajele, indiferent de tipul lor trebuie sa fie inscriptionate cu numele sortimentului si datele privind valoarea nutritiva a produsului, numele producatorului, termenul de valabilitate al produsului si standardul sau norma interna de fabricatie.
|