ALTE DOCUMENTE
|
||||||||||
Obiectul de studiu al psihologiei.
Psihologia este disciplina care vizeaza componentele teoretice, legile si explicatiile referitoare la viata si activitatea psihica exprimate in comportament. In opinia lui Al. Rosca, legile fenomenelor psihice desi sunt legi obiective, care nu depind de vointa noastra, nu conduc totusi la o limitare a vointei. 525c29f In cadrul psihologiei, ramura psihologiei generale reprezinta disciplina psihologica centrala, un fel de nod releu de la care pornesc si spre care vin cunostintele stiintifice ale tuturor disciplinelor cuprinse in sistemul stiintelor psihologice. Psihologia se situeaza la intersectia stiintelor naturii cu stiintele sociale si cu filosofia, avand relatii si cu matematica, informatica, cibernetica. In centrul preocuparilor sale sta omul, ca fiinta bio-psiho-socio-culturala care se naste ca persoana si devine personalitate.
In urma evolutiei psihologiei ca stiinta s-a renuntat la studierea izolata a psihicului uman, fragmentat pe “functii” sau “stari de constiinta”, trecandu-se la studierea omului ca subiect, considerat ca fiinta constienta, activa, creatoare, surprins in raporturile sale cu lumea obiectelor si sub unghiul relatiilor psihosociale cu semenii sai. Aceasta viziune moderna se leaga de trecerea de la cercetarile clasice, de laborator, la cercetarile concrete care surprind individul uman in interactiune cu mediul.
O evolutie deosebita, a inregistrat conceptul de comportament uman, devenind mai sintetic dar si mai cuprinzator, intrucat include atat manifestari exterioare cat si elaborarile interioare. Notiunea de psihic uman admite realitatea sufleteasca ca stare permanenta de interactiune cu mediul inconjurator. Este depasita tratarea clasica, fragmentarista a psihicului, compartimentat pe activitati si procese, trecand in centrul preocuparilor structura complexa a personalitatii umane cu efectele insusirilor personale asupra desfasurarii activitatii psihice. A fost reconsiderata de asemenea, notiunea de mediu care se refera la un sistem de stimuli care se prezinta si actioneaza in situatii problematizate. Exista o stransa legatura intre teoria si practica psihologica, legatura care se reflecta atat in ramurile psihologiei, cat si in discutiile legate de caracterul nomotetic si idiografic al psihologiei.
Se spune despre psihologie (I. Radu) ca are un trecut indelungat, dar o istorie scurta. Sunt punctate cateva etape in existenta acestei discipline, pana in momentul constituirii ei ca stiinta:
Ø psihologia empirica, care condenseaza opinii si observatii ocazionale;
Ø psihologia prestiintifica, existenta in continutul unor opere literare si filosofice.
Data de nastere, ca ramura stiintifica, ar putea fi legata de aparitia tratatului “Elemente de psihofizica”, de Th. Fechner (1860), in care sunt studiate modificarile senzatiei in functie de marimea stimulului.
Problema legitatii in psihologie se leaga de respectarea urmatoarelor criterii pentru o stiinta:
Ø realizarea de descrieri;
Ø clasificari;
Ø descoperirea unor legi;
Ø avansarea unor ipoteze explicative.
Exista o mare variabilitate interindividuala a fenomenelor psihice, dar exista si o “unitate in diversitate”, care ia forma legitatii statistice.
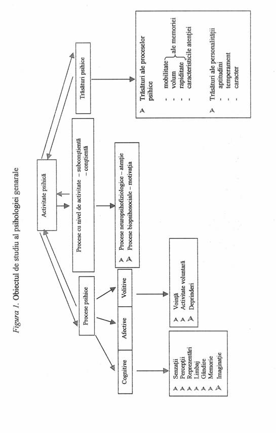
Prezentam in continuare, in mod schematic, obiectul studiului psihologei generale (figura 1, pag. 6), precum si ramurile psihologiei (figura 2, pag.7).


|