Solutii pentru cresterea eficientei energetice īn cladiri
Solutiile pentru cresterea eficientei energetice īn cladiri se refera la urmatoarele parti componente ale cladirii:
anvelopa cladirii, partea de constructii;
instalatia de īncalzire centrala;
instalatia de ventilare;
instalatia de apa calda menajera;
instalatia electrica de iluminat.
6.1. Solutii de reabilitare termica a anvelopei cladirilor existente
Solutiile vizeaza urmatoarele elemente ale anvelopei cladirii:
pereti exteriori, /1/
plansee de la ultimul nivel si subsol, /1/
tāmplarie exterioara /1/, /2/.
6.1.1. Solutii pentru peretii exteriori
Īmbunatatirea protectiei termice a peretilor exteriori se face, de regula, prin montarea unui strat termoizolant suplimentar, la exteriorul peretilor existenti.
Materialul utilizat pentru termoizolatie este polistirenul sub forma de placi avānd grosimea de 6 . 12 cm, stabilita īn functie de necesitatile de izolare termica.
Suprafata peretelui exterior, care constituie suportul termoizolatiei, se repara si se curata īn prealabil, urmarindu-se realizarea unei bune planeitati.
Lipirea termoizolatiei de perete se realizeaza cu mortar sau pasta adeziva pe baza de rasini; exista si varianta de fixare pe perete a stratului termoizolat prin bolturi din otel inoxidabil, cu expandare, montate īn gauri forate cu dispozitive rotopercutante.
Protectia termoizolatiei poate fi realizata īn urmatoarele variante:
strat de mortar de ciment cu grosimea 3 . 5 cm, realizat prin torcretare, armat cu plasa de sārma sudata;
strat din mortar cu lianti organici cu grosimea de 5 . 10 mm, armat cu tesatura din fibre de sticla.
6.1.2. Solutii pentru plansee
Planseu de terasa
La reabilitarea termica a planseului peste ultimul nivel, sub terasa, solutia se stabileste īn functie de starea straturilor termoizolante existente.
Astfel, īn situatia īn care starea termoizolatiei este necorespunzatoare (umpluturi termoizolante cu continut mare de apa, praf hidrofob, etc.), se īndeparteaza toate straturile existente pāna la fata superioara a planseului din beton armat sau a betonului de panta; se refac straturile terasei, īn conditiile īnlocuirii stratului termoizolant existent cu un nou strat termoizolant de calitate si grosime corespunzatoare noilor cerinte (polistiren expandat sau polistiren extrudat cu grosimea de 8 . 15 cm).
Īn cazul īn care, atāt termoizolatia, cāt si hidroizolatia terasei sunt īn stare buna, se mentin straturile existente, īndepartāndu-se doar stratul de protectie a hidroizolatiei si montāndu-se un strat termoizolant suplimentar din polistiren extrudat (grosimea 8 . 12 cm), protejat si lestat corespunzator.
Planseu de pod
Solutia de īmbunatatire a protectiei termice la planseele de sub podurile neīncalzite presupune, de regula, mentinerea stratului termoizolant existent, inclusiv a sapei de protectie si montarea, peste aceasta, a unei termoizolatii sub forma de placi rigide din vata minerala sau polistiren.
Prevederea acestui strat termoizolant suplimentar la acest element de constructie nu necesita investitii mari, este relativ simplu de executat, iar durata de recuperare a investitiei este redusa.
Planseu peste subsol neīncalzit
Termoizolarea suplimentara la nivelul planseelor peste subsoluri (subsoluri tehnice, pivnite, garaje) se poate face sub planseu sau peste planseu.
Se recomanda amplasarea stratului termoizolant sub planseu īntrucāt prezinta urmatoarele avantaje comparative:
este o solutie mai ieftina;
lucrarile se pot desfasura fara a se interveni īn spatiul locuit;
reprezinta o solutie mai corecta din punct de vedere termotehnic.
Termoizolatia este constituita din placi termoizolante rigide sau semirigide (vata minerala, polistiren) sau din saltele din vata minerala sau vata de sticla; materialul termoizolant se fixeaza direct pe planseul din beton armat, dupa caz, prin lipire sau cu ajutorul ancorelor si al bolturilor tip CONEXPAND.
6.1.3. Solutii pentru tāmplaria exterioara
Īmbunatatirea performantelor termoizolatoare ale tāmplariei exterioare, īn principal ferestre, se poate realiza pe una din urmatoarele cai:
repararea si reconditionarea tāmplariei existente (reabilitare);
īnlocuirea tāmplariei existente cu tipuri noi, mai performante, prevazute cu geamuri termoizolante (modernizare).
Adoptarea uneia sau alteia din cele 2 optiuni este īn functie de starea tāmplariei existente, de nivelul de performanta energetica dorit de proprietar si de suma disponibila pentru aceste lucrari.
Trebuie avut īn vedere ca, de cele mai multe ori se poate obtine o īmbunatatire substantiala a performantelor energetice ale ferestrelor existente prin repararea tāmplariei si dotarea acesteia cu garnituri de etansare.
6.2. Solutii pentru cresterea eficientei energetice a instalatiilor de
īncalzire
Solutiile tehnice prezentate īn continuare urmaresc reabilitarea si modernizarea instalatiilor existente de īncalzire centrala din cladiri, īn scopul cresterii eficientei de utilizare a energiei termice
6.2.1. Curatirea chimica si protectia anticorosiva a instalatiei de īncalzire
Aceasta solutie tehnica urmareste eliminarea depunerilor din instalatia de īncalzire (calcar, māl) asigurānd o buna circulatie a agentului termic si un schimb de caldura normal la corpurile de īncalzire si aparatele termice.
Īnainte de efectuarea tratamentelor de curatire si protectie anticorosiva trebuie realizate urmatoarele operatiuni:
controlul starii generale a instalatiei pentru a constata etanseitatea si functionalitatea;
controlul apei din instalatie, prin analiza fizico-chimica a unui esantion pentru a se determina: valoarea PH, mirosul, culoarea, conductivitatea, continutul de cloruri si sulfati.
Pentru instalatiile de īncalzire centrala din cladiri racordate la sisteme centralizate de alimentarea cu caldura succesiunea operatiilor de curatire chimica si protectie anticorosiva este urmatoarea:
a) Actiunea de curatire chimica - pentru eliminarea mālului din instalatiile existente:
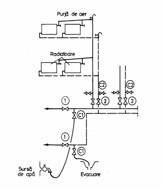
Se pregateste instalatia conform fig.6.1.
Se estimeaza volumul apei din instalatie.
Se introduce cantitatea de substanta detartranta (IC - 20) pentru a obtine dozajul ales (1-2%) īn functie de starea instalatiei si dupa umplere se lasa sa functioneze instalatia īn mod normal timp de 2-3 saptamāni (se poate lasa produsul īn instalatie peste o luna de zile, fara nici un risc).
Daca instalatia este foarte murdara, se va proceda īn doua etape: se introduce 1% solutia detartranta (IC - 20) si se lasa sa functioneze instalatia una sau doua saptamāni. Apoi se goleste instalatia - se introduce 1-2% substanta si se lasa din nou sa functioneze instalatia timp de 2 sau 3 saptamāni.
Controlul concentratiei.
Īnainte de golire se masoara concentratia reala a produsului detartrant cu aparatura de masura.
Masurarea se efectueaza īn diverse parti ale instalatiei, se va verifica repartizarea produsului īn īntreaga instalatie si se va putea determina volum exact de apa pe care īl contine instalatia.
b) Actiunea mecanohidraulica - spalarea hidraulica si clatirea instalatiei de īncalzire centrala
Cazul A - Instalatii de īncalzire simple usor accesibile
Conform fig.6.1 - se izoleaza instalatia si se deschid robinetele de golire C1, C2.
Faza 1:
se īnchid robinetii tuturor radiatoarelor, īn afara de radiatorul cel mai īndepartat;
se deschide robinetul de alimentare cu apa rece si se racordeaza la instalatie, lasānd sa curga pāna ce apa iese cu un debit constant, curata si cu un pH neutru sau o conductivitate egala cu cea a apei din reteaua orasului;
se īnchide robinetul radiatorului cel mai īndepartat si se deschide robinetul radiatorului urmator;
se procedeaza astfel, radiator dupa radiator pāna la ultimul radiator.
Faza 2:
Se inverseaza bransarea furtunelor flexibile pentru a alimenta radiatoarele prin retur si se spala procedānd conform faza 1.
Faza 3:
Se repeta operatiile de la faza 1.
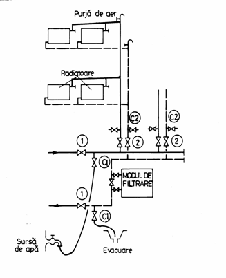
Cazul B - Instalatie de īncalzire complexa cu probleme (greu accesibila)
Īn cazul unor instalatii de īncalzire existente complexe, dificil de spalat sau īn care unele radiatoare n-au functionat, operatia de spalare hidraulica si clatire se face conform fig.6.2. prin montarea īn derivatie pe colectorul de retur general a unui "modul de filtrare" conform fig.6.3. avānd drept scop absorbirea impuritatilor care ar putea exista dupa spalare si datorita acestui fapt sa fie antrenate īn circulatie.
Modulul de filtrare este echipat cu un sac al carui grad de filtrare poate varia īntre 5-50 mm si o bara magnetica.
Modulul de filtrare functioneaza ca "un rinichi" terminānd progresiv curatirea instalatiei fara pierderi de apa.
c) Actiunea preventiva de protectie a instalatiei
Pentru protectia contra depunerilor de calcar si a coroziunii conductelor se vor folosi substante functie de metalele din care este alcatuita instalatia si anume:
PC-4, cu un dozaj 4% indiferent de tipul instalatiei; durata de viata a instalatiei īn urma efectuarii tratamentului este de 20 ani;
Noxal, cu un dozaj de minimum 1% indiferent de tipul instalatiei, daca ea contine elemente din aluminiu; durata de viata a tratamentului - 6 ani;
antigel FC-1 (baza netoxica monopropylen glycol) se utilizeaza pentru instalatiile care nu contin aluminiu; atunci cānd se doreste o protectie contra īnghetului sub 25% sau peste 40% se recomanda utilizarea acestui antigel de baza īmpreuna cu protectorul de coroziune PC-4 īn diverse concentratii functie de gradul de protectie dorit; durata de viata a instalatiei īn urma efectuarii tratamentului mixt FC-1 si PC-4 este de 20 ani.
Se recomanda ca utilizarea antigelului sa se faca numai īn instalatii care au fost perfect curatate.
Se recomanda un control cel putin o data pe an a instalatiilor tratate contra depunerilor de calcar si a coroziunii efectuānd:
pH-ul cu benzile de hārtie pH sau cu un pH metru;
dozajul de produs;
dozajul de antigel cu un refractometru.

Fig. 6.1. Schema de principiu pentru curatirea instalatiei de īncalzire
(Instalatii usor accesibile)

Fig. 6.2. Schema de principiu pentru
curatirea instalatiei de īncalzire (Instalatii
complexe, greu accesibile)

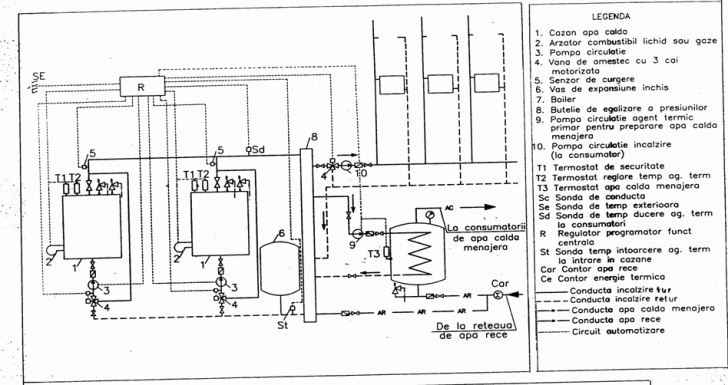
LEGENDA
1 Filtru otel inox 6 Manometru
2 Pompa 7 Bara magnetica
3 Racord flexibil 8 Sac din plastic (5 m
4 Robinet de izolare 9 Suport sac
5 Robinet de reglaj 10 Robinet golire
Fig. 6.3. Schema de principiu a modulului de filtrare
6.2.2. Echilibrarea hidraulica si termica a instalatiei interioare
Scopul solutiei:
repartizarea corecta a debitelor de agent termic īn instalatie;
reducerea risipei de energie termica pentru īncalzire.
Echilibrarea integrala a instalatiilor de īncalzire centrala reprezinta un proces prealabil contorizarii.
Cauzele care provoaca dezechilibrarea termica a instalatiilor de īncalzire:
a) Cauze permanente: - dezechilibrul hidraulic īntre debitele necesare ale corpurilor de īncalzire si debitele reale - reprezinta cauza cea mai frecventa si importanta a dezechilibrarii termice si este produs de defectele instalatiilor termice si anume:
tevi partial obturate cu namol sau tartru;
retea de distributie si corpuri de īncalzire prost dimensionate;
consecinta unei reabilitari termice (pe partea de constructie);
consecinta montarii robinetelor cu termostat pe corpurile de īncalzire.
b) Cauze nepermanente (pasagere) - ecarturi de temperatura (ducere - īntoarcere) neconforme, provocate de:
aporturi de caldura, prin īncalzirea suplimentara a spatiilor cu aparate electrice sau datorita prezentei ocupantilor, radiatie solara etc.;
pierderi de caldura suplimentare, prin racirea unor īncaperi datorate ventilarii naturale excesive.
Īn prezent aceste disfunctionalitati sunt combatute prin reglarea temperaturii si nu prin (re)echilibrarea retelei.
Avantajele echilibrarii termice printr-o buna echilibrare hidraulica a instalatiilor de īncalzire sunt:
confort - disparitia apartamentelor insuficient īncalzite sau supraīncalzite - antrenānd robinetele cu termostat care trebuiesc montate pe corpurile de īncalzire;
echitate īn repartitia costurilor de īncalzire;
economii de energie termica si de cheltuieli aferente.
Echilibrarea se poate realiza astfel:
a) echilibrarea integrala - cu masurarea debitului de agent termic al corpului de īncalzire;
b) echilibrarea coloanelor - cu masurarea debitului de agent termic pe coloane.
Dispozitivele utilizate pentru procedeul de echilibrare si conditiile de montaj ale acestora sunt prezentate īn tabelul 6.1.
DISPOZITIVE UTILIZATE PENTRU
PROCEDEUL DE ECHILIBRARE

Tabel 6.1.



6.2.3. Termoizolarea conductelor de distributie din spatii neīncalzite
(subsoluri, canale termice)
Aceasta masura se aplica īn cazul īn care conductele nu sunt termoizolate sau termoizolatia existenta este deteriorata.
Solutia tehnica consta, fie īn utilizarea cochiliilor din vata minerala, fie din folosirea ca material termoizolant a saltelelor din vata minerala sau vata de sticla, cu protectie la exterior.
Stabilirea grosimii termoizolatiei conductelor se face pe baza criteriului de performanta "eficienta termoizolarii", , stabilit cu relatia:
riz =
[%] , īn care:
q0 - pierderea de caldura unitara a conductei neizolate termic [W/m]
qiz - pierderea de caldura unitara a conductei izolate termic [W/m]
Se adopta urmatoarele valori minime pentru "eficienta termoizolarii" conductelor montate īn canal termic sau īn subsoluri neīncalzite:
riz = 75 %, pentru conducte cu f < 57 mm
riz = 80 %, pentru conducte cu f = 57... 200 mm
riz = 85 %, pentru conducte cu f > 200 mm
Termoizolarea conductelor din subsolurile neīncalzite ale cladirilor si din canale termice trebuie sa asigure o buna protectie termica a agentului termic, astfel īncāt racirea apei pe conducte sa nu fie mai mare de 0,10C pentru o lungime a conductei de 100 m.
6.2.4. Surse termice proprii (CT de imobil) dotate cu echipamente performante
Solutia se impune prin avantajele pe care īncalzirea descentralizata (locala) le are fata de sistemul de īncalzire centralizat si anume:
reducerea pierderilor de caldura pe distributie prin disparitia retelelor termice exterioare;
satisfacerea īn mai mare masura a exigentelor de confort termic ale consumatorilor;
īntretinere mai putin specializata;
avariile afecteaza o zona deservita mai mica.
Alegerea solutiilor tehnice de realizare a centralei termice si a instalatiiilor de īncalzire aferente se face pe baza prevederilor reglementarilor tehnice din domeniu [5], [7], [8], [9].
Schema functionala a centralei termice se stabileste īn functie de:
natura consumului (īncalzire, apa calda, ventilare) si numarul consumatorilor;
marimea sarcinii termice;
tipul combustibilului;
gradul de automatizare a functionarii;
caracteristicile tehnice ale echipamentelor.
Īn figura 6.4. se prezinta schema functionala a unei centrale termice de imobil echipata cu 2 cazane pentru īncalzire si apa calda de consum, cu pompe de circulatie pe cazan, butelie de egalizare a presiunilor si pompe de circulatie pe fiecare coloana.
Cazanele centralei termice trebuie sa aiba randamentul energetic, īn conditii nominale de functionare, mai mare decāt:
90 %, pentru combustibil gazos;
89 %, pentru combustibil lichid;
80 %, pentru combustibil solid.
Scaderea randamentului la functionarea īn sarcina redusa nu poate fi mai mare de 3 %.
Se recomanda folosirea "cazanelor cu condensatie" la care randamentele energetice la functionarea īn conditii nominale, precum si la sarcina redusa, pot depasi 95 %.
Se vor adopta pompe de circulatie cu randamentul peste 60 %.

Fig. 6.4. Schema pentru centrala termica
6.2.5. Scheme de distributie pentru individualizarea īncalzirii colective
Īn cadrul lucrarilor de reabilitare si modernizare energetica a cladirilor si instalatiilor aferente din cladiri de locuit colective se pot modifica si reface instalatiile de īncalzire, adoptāndu-se scheme de distributie care sa permita individualizarea īncalzirii colective,
De exemplu, o astfel de schema cuprinde:
conducte principale de distributia amplasate īn subsol (distributie inferioara), alimentate de la centrala termica de imobil (vezi cap.6.2.4.);
coloane verticale, tur-retur, amplasate īn casa scarii, montate aparent sau īn ghene special amenajate; coloanele alimenteaza instalatiile interioare ale fiecarui apartament de pe palier, prin intermediul unei nise de racord īn care se gasesc robintele de izolare si contorul de caldura;
distributii orizontale, tur-retur, īn apartamente, care alimenteaza corpurile de īncalzire prevazute cu robinete cu termostat; conductele instalatiei de īncalzire din apartamente se monteaza, fie la pardoseala, sub suprafata finita a acesteia (īn sapa), fie la plafon, aparent sau mascat.
Īn figura 6.5. se prezinta schema de distributie a unei instalatii de īncalzire dintr-un bloc de locuinte, cu 2 coloane amplasate īn casa scarii si distributii orizontale de apartament la pardoseala.
6.3. Solutii si masuri pentru cresterea eficientei energetice la instalatiile de ventilare, apa calda menajera si iluminat
Īn cadrul lucrarilor de reabilitare si modernizare energetica a cladirilor, īn scopul realizarii unor economii de energie cāt mai mari, masurile adoptate pentru anvelopa cladirii (cap.6.1.) si pentru instalatia de īncalzire (cap.6.2.), trebuie īnsotite si de solutii de reabilitare energetica a celorlaltor instalatii ale cladirii: instalatiile de ventilare, instalatiile de apa calda menajera si instalatiile electrice de iluminat, [6], [10], [11], [12].
Se trec īn revista, īn continuare, o serie de cerinte si masuri pentru cresterea eficientei energetice a acestor instalatii si pentru economisirea energiei :
Instalatii de ventilare si climatizare
reducerea la minimum a patrunderii necontrolate īn cladire a aerului exterior; prevederea de organe de īnchidere si reglaj la prizele de aer proaspat si la gurile de evacuare ;
folosirea cu prioritate a sistemelor de ventilare "pasive" īn locul celor "active", acordānd īntāietate sistemelor de ventilare naturala;

Fig. 6.5. Schema de distributie bitubulara cu coloane amplasate īn casa scarii
si distributii orizontale de apartament, cu reglaj prin amestec la nivel de coloana
utilizarea ventilarii mixte, īnchizānd sistemul de introducere mecanica sau de evacuare īn diverse etape de folosire a cladirii; asigurarea ca ocupantii īnteleg modul de functionare al acestor sisteme;
recuperarea energiei īntre curentii de aer, de introducere si de evacuare, prin utilizarea recuperatoarelor de caldura cu placi, cu tuburi termice sau cu fluid intermediar;
folosirea sistemelor de ventilare-climatizare zonale si evitarea lungimilor mari de canale; gruparea īncaperilor deservite pe functiuni, fumatori / nefumatori etc.;
asigurarea controlului si reglarii instalatiilor prin sisteme de automatizare; setarea corespunzatoare a aparatelor de control a parametrilor aerului din īncaperi (temperatura, umiditate) pentru regimurile de vara, iarna si tranzitie;
trasee ale canalelor de aer cu cāt mai putine rezistente locale; limitarea vitezei aerului pe canalele de aer;
izolarea termica a canalelor de aer cald sau rece;
asigurarea unei eficiente energetice cāt mai ridicate pentru echipamentele din componenta instalatiilor: ventilatoare, baterii de īncalzire-racire, pompe de caldura etc.
Instalatii de apa calda menajera
folosirea cu prioritate a sistemelor locale de preparare a apei calde de consum, inclusiv a īncalzitoarelor de apa la punctul de utilizare;
limitarea lungimii conductelor de apa calda menajera;
limitarea volumelor de stocare a apei calde ; controlul temperaturii apei stocate ;
izolarea termica a conductelor de apa calda menajera, a boilerelor si rezervoarelor de stocare a apei calde;
contorizarea apei reci si a apei calde menajere de la nivel de imobil pāna la nivelul consumatorului individual;
automatizarea regimului de functionare al pompelor si instalatiilor de hidrofor;
folosirea unor armaturi sanitare cu consumuri reduse de apa (baterii amestecatoare cu "perlator" sau "dispersor"; robinete de serviciu cu limitarea functionarii sau cu īnchidere automata dupa folosire, etc. ) ;
utilizarea dusurilor īn locul cazilor de baie, ori de cāte ori este posibil.
Instalatii electrice de iluminat
maximizarea folosirii luminii naturale īn īncaperi;
limitarea iluminarii la nivelul necesar, dictat de activitatea din īncapere;
comutatoare cu variatoare pentru reglarea fluxului luminos din īncapere īn functie de aportul de lumina naturala;
combinarea sistemului de iluminat general cu iluminatul local;
sectorizarea iluminatului din īncaperi, cu posibilitatea functionarii pe zone īn functie de necesitati (numarul si pozitia de amplasare a īntrerupatoarelor si comutatoarelor);
prevederea de īntrerupatoare cu senzori de prezenta (miscare) īn dependinte, īncaperi anexa, coridoare, casa scarii, etc. ;
utilizarea corpurilor de iluminat si lampilor cu eficacitate luminoasa ridicata (flux luminos raportat la puterea electrica).
Bibliografie
SC 007-02. Solutii cadru pentru reabilitarea termo-higro-energetica a anvelopei cladirilor de locuit existente. Buletinul Constructiilor nr.18/2003.
GT 043-02. Ghid privind īmbunatatirea calitatilor termoizolatoare ale ferestrelor la cladirile civile existente. Buletinul Constructiilor nr.5/2003.
SC 006-01. Solutii cadru pentru reabilitarea si modernizarea instalatiilor de īncalzire din cladiri de locuit. Buletinul Constructiilor nr.5/2003.
GP 060-03. Ghidul criteriilor de performanta pentru instalatiile de īncalzire centrala. Brosura IPCT.
GP 051-2000. Ghid de proiectare, executie si exploatare a centralelor termice mici. Colectia Normative si reglementari īn constructii-instalatii Nr.14 ARTECNO.
Energy efficiency in buildings. CIBSE Guide, London, 1998.
I 13-02. Normativ pentru proiectarea si executarea instalatiilor de īncalzire centrala. Buletinul Constructiilor nr.14-15/2003.
I 13/1-02. Normativ pentru exploatarea instalatiilor de īncalzire centrala. Buletinul Constructiilor nr.14-15/2003.
SC 005-2000. Ghid cu solutii cadru pentru instalatii interioare de īncalzire utilizānd noi sisteme de producere a agentului termic - centrala termica de apartament, de scara, de bloc. Colectia Normative si reglementari īn constructii - instalatii, Nr.21 ARTECNO.
Al.Marinescu, Emilia Cerna Mladin, Dan Berbecaru, Mihaela Georgescu. Īndrumar de eficienta energetica pentru cladiri. Editura MTM PRODESIGN, Braila, 2003.
I 5-98. Normativ privind proiectarea si executarea instalatiilor de ventilare si climatizare.
I 9-94. Normativ pentru proiectarea si executarea instalatiilor sanitare
|