UNIVERSITATEA POLITEHNICA
FACULTATEA DE CHIMIE APLICATA SI STIINTA MATERIALELOR
Valorificarea materialelor plastice secundare provenite din obiecte uzate
Valorificarea materialelor plastice secundare provenite din obiecte uzate
Deoarece gama si domeniile de utilizare ale produselor realizate din materiale plastice sunt extrem de variate (tabelul 1), prin pierderea valorii de intrebuintare, la scoaterea din uz, dupa o durata de viata mai lunga sau mai scurta (tabelul 2) acestea se transforma intr-o mare varietate de materiale plastice secundare.
Pierderea valorii de utilizare nu inseamna transformarea produselor din materiale plastuce in materiale inutilizabile ci constituirea acestora in resurse cu insemnata valoare economica, ceea ce a impus punerea la punct si transpunerea in practica industriala a numeroaselor procedee de valorificare.
Tabelul 1. Tipuri de produse realizate din polimerii de mare tonaj
|
Materialul plastic avand la baza: |
Produse |
|
PVC |
Tevi, tuburi, profile, covor PVC cu sau fara suport textil, folii plastifiate si neplastifiate, dale, barci de agrement, articole sudate (mape, port vizite, coperti, reviste, articole pneumatice), papuci de plaja, furtune, tocuri ori talpi pentru incaltaminte etc. |
|
PE-HD |
Butoaie, canistre, rezervoare, navete, galeti, cazi si cadite de baie, cutii pentru alimente, produse de uz casnic, tocuri pentru incaltaminte, jucarii, ambalaje (pungi, sacose, flacoane etc.) |
|
PE-LD |
Folii pentru diferite utilizari (sere si solarii, ambalaje, saci), pubele, cosuri (paine, fructe, rufe, gunoi etc.), capsule si dopuri pentru sticle, jucarii etc. |
|
PS, ABS |
Tevi, placi, accesori pentru mobila, piese pentru instalatii sanitare si electrice, piese pentru ornamente, plutitoare pentru navoade si rezervoarele de apa, articole de uz casnic si gospodaresc, telefoane etc. |
|
PP |
Articole electrotehnice, piese auto si pentru instalatii sanitare, placi si tevi, accesori pentru mobila, folii, saci, ambalaje etc. |
Tabelul 2. Durata medie de utilizare a produselor de mase plastice
|
Produs |
Domediu de utilizare |
Polimerul din care este confectionat |
Durata de utilizare |
|
Folii, pungi, sacose, saci, pahare, butelii |
Ambalaje pentru produse alimentare si industriale, textile etc. |
PE-LD, PAS |
Zile, saptamani |
|
Butelii, canistre, butoaie |
Ambalaje pentru produse alimentare si industriale |
PE-LD, PE-HD, PVC |
Zile, saptamani |
|
Saci |
Ambalaje pentru produse industriale, ingrasaminte etc. |
PE-LD |
Saptamani, luni |
|
Folii |
Agricultura (sere, solarii). Constructii |
PE-LD |
Luni |
|
Bunuri de larg consum (ligheane, canister, cosuri), tevi etc. |
Produse de larg consum |
PS, ABS, PE-HD |
Ani |
|
Repere diverse |
Constructii de masini, navale, industria electrotehnica, piese de schimb |
PS, ABS, PE-HD, PVC |
Ani |
|
Conducte, profile, covoare, hidro-, feno- si termoizolatii |
Constructii civile si industriale, constructii de nave, vagoane de cale ferata, constructii de masini, autovehicule, masini unelte |
PS, ABS, PVC, PE-HD |
Ani |
I. POSIBILITATI DE VALORIFICARE
Produsele din MPl suporta in timpul utilizarii actiunea a numerosi factori de degradare care determina, in functie de tipul, marimea si durata solicitarilor, un proces mai slab sau mai intens de imbatranire, apreciat prin marimea abaterilor proprietatilor polimerului secundar fata de cele ale materialului primar.
In general, la scoaterea din uz, polimerii secundari au unele proprietati diminuate de ex. rezistenta la rupere, rigiditatea, punctul de inmuiere Vicat, rezistenta la agenti chimici, iar altele mai mari: permeabilitatea la gaze, tendinta de fluaj, etc.
Caracteristicile factorilor de degradare sunt determinate de domeniul de utilizare din care provine SMPl.
De exemplu, daca la scoaterea din uz, foliile din PE-LD utilizate ca ambalaje pentru produse textile isi pastreaza proprietatile fizico-mecanice, cele din agricultura, de la sere si solarii suporta un proces intens de fotodegradare soldat cu aparitia de grupari carbonil, reticularea lanturilor macromoleculare si de aceea, scaderea proprietatilor de rezistenta la tractiune. Daca expunerea a avut loc in zone "foarte calde", degradarea este extrem de puternica, fractia de gel atinge valoarea de 80%, iar masa moleculara scade la 18-25 000.
Caracterizarea fizico-mecanica a produselor din MPl la pierderea valorii de intrebuintare arata ca scoaterea din uz nu se datoreste modificarilor structurale cauzate de procesul de imbatranire, ci, in principal, deteriorarilor mecanice din timpul exploatarii (trantiri, loviri, sfasieri, etc.), care scurteaza considerabil durata de viata. Aceasta da posibilitatea abordarii unor variate directii de reintroducere in circuitul productiv.
Mentinerea proprietatilor structurale ale polimerilor la scoaterea din uz a produselor confectionate are o deosebita importanta pentru valorificarea prin regenerare. Intrucat materialul permite o noua prelucrare cu transformare de faza, este posibila conferir 636c29g ea unei noi valori de intrebuintare sau chiar obtinerea aceluiasi tip de produs, motiv care face ca din punct de vedere al castigului de material "primar", regenerarea sa fie cea mai rentabila directie de valorificare.
II. VALORIFICAREA MATERIALELOR PLASTICE SECUNDARE PROVENITE DIN OBIECTE UZATE PRIN REGENERARE
Valorificarea prin regenerare a MPl din SMP consta in supunerea materialului polimeric unui proces de transformare de faza, in vederea conferirii aceluiasi sau a unei noi valori de intrebuintare, dupa aducerea in prealabil a continutului rezidual de impuritati, la valori la care dispersat uniform in polimer se comporta ca un material de umplutura.
Etapele tehnologice ale reintroducerii MPl, provenite din obiecte uzate, in circuitul de productie, ca sursa de materii prime, sunt: colectarea, sortarea preliminara, compacterea, maruntirea, sortarea, spalarea, aditivarea, regenerarea, succesiunea si continutul intrinsec al fiecareia fiind legate de tipul de obiect uzat reprelucrat.
Colectarea.
Colectarea materialelor plastice secundare provenite de la consumatori industriali (intreprinderi industriale, de constructii, transport, comert, unitati de alimentatie publica), sau individuali, pot si colectate selectiv (separat), sau in amestec cu deseurile menajere.
Colectarea selectiva reprezinta singura posibilitatea de a nu spori gradul de impurificare a SMPl si este eficienta indeosebi cand materialele ce trebuie recuperate rezulta in cantitati apreciabile. In caz contrar, cheltuielile de asigurare a cadrului economico-administrativ necesar sortarii obiectelor uzate in puctele de colectare, depasesc cu mult castigul inregistrat la vinderea produselor realizate din polimeri regenerati.
Colectarea selectiva a SMP necesita crearea unui cadru tehnico-economic adecvat, reprezentata schematic in figura 1.
Mijloacele fixe strict necesare unui punct de colectare pentru a functiona rentabil sunt: mijloacele de transport,utilaje de maruntire-compactare, containere pentru depozitare.
Stabilirea sistemului de preturi reprezinta o veriga importanta in cresterea gradului de cointeresare a populatiei si in mentinerea in limite stimulatorii a rentabilitatii unitatilor de colectare-valorificare.
Fig. 1. Cadrul tehnico-economic necesar colectarii selective a SMP
Compactarea.
Compactarea are drept scop cresterea densitatii SMP prin reducerea volumului si se efectueaza in vederea micsorarii numarului utilajelor de transport si al spatiilor de depozitare, necesare vehicularii acestora.
SMPl, fara contaminari esentiale, care se pot indeparta prin filtrarea topiturii, la regenerare, se compacteaza prin metode in care polimerul suporta o transformare de faza, adica cu granulare directa.
Toate celelalte SMPl vor fi compactate prin metode in care polimerul nu este adus in stare plastica, ci supus unor procese de taiere, macinare, tractiune-rasucire, compresiune de multe ori asociate, cu incalzirea materialului. Aglomerarea este o posibilitate eficienta de reducere a volumui in folosul densitatii.
Reducerea volumului corpurilor cave, indeosebi a celor de dimensiuni mari (canistre, butoaie, tavi, placi, navete) se realizeaza in principal prin taiere. Macinarea permite o reducere a volumului SMPl cu circa 50%.
Presarea este cea mai utilizata metoda pentru compactarea foliilor, a produselor cu structura celulara, sau a corpurilor cave cu dimensiuni mici. Volumul este redus cu circa 80%.
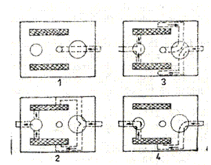
Compactarea prin presare se poate realiza intr-o mare varietate de utilaje, in general, de tip cunoscut. In figura 2 se prezinta doua tipuri de prese cu alcatuire si mod de functionare adaptate tipului de SMPl pe care-l prelucreaza.
Compactorul din figura 2 este alcatuit dintr-o incinta prevazuta cu elemente de incalzire si racire, in care culiseaza din partile laterale doua pistoane. La incarcarea foliei in incinta se comanda atar intrarea in functiune a elementelor de incalzire cat si inaintarea pistonului de avans. Deplasarea pistonului determina compactarea foliei, iar caldura furnizata de elementele de incalzire plastifierea stratului de suprafata al balotului format. Conectarea elementelor de racire produce solidificarea stratului de suprafata si transformarea acestuira intr-o carcasa care asigura stabilitatea balotului. Deplasarea pistoanelor in sens invers determina scoarea balotul din presa.
Compactorul din figura 2b, dimensionat pentru butelii de diferite marimi realizeaza reducerea volumului prin actiunea placii de aplatizare, care are pe fata inferioara elemente de incalzire.
Fig. 2 Compactoare tip presa pentru folii
si butelii uzate
1-piston de avans pentru folie
2-piston de avans pentru balot
3-placa de aplatizare
4-butelii uzate
O butelie uzata, introdusa in compactorul din figura 3 va fi scurtata si ingustata ca urmare a rasucirii produsa de filiera circulara 1, si intinderii ei realizata de mandrina de stringere 2, in planul axei filiere.
Compactarea SMPlu cu structura celulara se poate realiza in utilaje ca cele din figurile 4 si 5.
Fig. 3. Compactor pentru butelii uzate Fig. 4. Compactor pentru SMPl cu structura celulara
Prin intermediul pirghiei cu contragreutate si excentric 4, capul de compresie cald 1, al compactorului din figura 4, executa o miscare de du-te-vino deasupra bucatilor de spuma 2, depuse pe masa de compresie 3. Cilindrii 5 si 6 asigura introducerea si scoaterea materialului din sistem. Stabilizarea materialului compactat se realizeaza prin trecerea materialului printre cilindrii care sunt raciti.
Cele doua roti calde ale compactorului transforma bucatile de spuma in pastacare este preluata de rotile montate sub compactor. Gradul de compactare al SMPlu este imbunatatit dar materialul este intai maruntit, operatie care se poate desfasura deasupra organelor de compresie.
Compactarea SMPlu sub forma de folii se realizeaza si prin aglomerarea macinaturii, asigurandu-se o reducere a volumului de 30%.
Fig. 5 Compactoare pentru SMPl cu structura celulara: 1-roti calde de compresie; 2-roti de prelucrare a materialului compactat; 3-rotor pentru maruntire; 4-cutite de raclare.
Maruntirea.
Reducerea dimensiunilor SMPl (corpusi cave, butelii, navete) sporeste eficienta procesului de decotaminare prin posibilitatea curatarii in egala masura si a polimerului care a format colturi margini indoite. Se realizeaza prin taiere grosiera pe platformele de colectare si prin maruntire.
In timpul macinarii se inlatura stratul superficial degradat si se produce "curatirea uscata" a polimerului adica desprinderea impuritatilor aderente din cauza duritatii diferita de cea a suportului polimeric.
Separarea.
SMPl se caracterizeaza printr-un anumit grad de contaminare, constituit din materiale care au contribuit fie la cresterea valorii de intrebuintare (dopuri, etichete, vopsele, cerneluri tipografice), fie din materiale specifice domeniului de utilizare sau locului de colectare (resturi alimentare, pietris, nisip, substante chimice etc.).
Separarea se desfasoara in utilaje a caror functionare se bazeaza pe diferenta dintre proprietatile mecanice, termice, electrice, optice etc. ale materialelor in contact, criteriu care determina impartirea separatoarelor in mecanice, pneumatice, termice, chimice, magnetice, electrice, gravitationale etc.
Separatoare mecanice.
Functioneaza pe baza diferentei dintre proprietatile mecanice (rigiditate, natura deformatiei etc.) ale MPl si cele ale materialelor cu care sunt impurificate.
Rigiditatea mai mica a foliilor din PO (folii termocontractibile din poliolefine) fata de cea a hartiei permite carligelor unui rotor, in miscare, deasupra unei benzi transportoare, pe care este depus amestecul maruntit format din cele 2 materiale, sa culeaga cu multa usurinta, bucatile de PO. Hartoa ramane pe banda transportoare, eventualele urme agatate de rotor fiind indepartate in faza urmatoare de separare realizata intr-un cicoln. (figura 6a).
Inlocuirea rotorului 2 din separatorul descris mai sus cu benzi transportoare cu carlige, legate in serie, care se deplaseaza cu viteze crescatoare de la prima spre ultima, mareste eficienta de separare (figura 6b). Banda cu viteza mai mica separa grosier, cea cu viteza medie normal, iar ultima, care are viteza de deplasare cea mai mare desavarseste procesul. Bucatile de PO sunt concentrate pe banda cu viteza cea mai mare.
Figura 6. Separatoare mecanice cu carlige
banda transportoare pentru alimentare; 2-rotor cu carlige pentru separare; 3-benzi cu carlige pentru separare; 4-banda transportoare cu amestecul de separat; 5-ciclon; 6-suflanta;7-banda transportoare colectoare.
Separatoare pneumatice.
Sunt eficienta la separarea materialelor cu densitate mai mica decat a SMPl. Uneori se utilizeaza si pentri separarea in componenti a amestecurilor din MPl. Au la baza principiul antrenarii diferentiale intr-un curent de aer a particulelor de material, viteza de planare a particulelor depinzand de marimea si densitatea acestora.
In separatorul pneumatic din figura 7, unul din tipurile raspandite in industria de regenerare a MPl, separarea se realizeaza prin descarcarea SMPl pe conducta de refulare a unui ventilator. Aerul debitat de aceasta va trimite amestecul intr-un buncar de separare. Particulele grele (PVC, ABS, pietre etc.) vor cadea in palnia de colectare aflata sub iesierea din conducta de refulare, iar cele usoare (PO, PS expandat, hartie etc.), vor fi colectate in palnia de langa peretele indepartat al buncarului.
Fig. 7. Separator pneumatic: 1-ventilator; 2-camera de
separare; 3-palnie pentru colectarea fractiei grele; 4-palnie pentru colectarea
fractiei usoare; 5-filtru de aer.
Separatoare umede.
Realizeaza separarea prin imersia amestecului intr-un lichid cu densitate diferita de cea a particulelor constituiente. Particulele cu densitatea mai mica decat a lichidului de imersie se vor ridica la suprafata acestuia, in timp ce toate celelalte se vor scufunda.
Tipul lichidului de imersie utilizat depinde de valorile densitatilor particulelor supuse separarii. Pentru separarea in fractiuni a amestecurilor formate din particule cu densitate mai mare si mai mica de 1000 kg/m3 se utilizeaza apa. Separarea amestecurilor constituiente din particule cu densitate mai mica decat 1.000 kg/m3, mediul de imersie se alege dintre solutiile apoase ale sarurilor anorganice (NaCl, CaCO3, MgCl2,CaSO4).
Eficienta separarii umede depinde de gradul de umectare al suprafetei particulelor din amestec realizat de lichidul de imersie, forma particulelor, precizia cu care se mentine constanta densitatea lichidului de imersie, gradul de dezaerare al amestecului supus separarii.
Dezaerarea acestuia, inainte de introducerea in baia de separare, elimina impurificarea fazei "usoare" cu componenti "grei", determina de aderarea bulelor de gaz pe suprafata acestora.
Una din metodele de imbunatatire a randamentului de separare este utilizarea agentilor tensioactivi (lignosulfonati de sodiu, gelatina, acid tanic etc), care modifica hidrofilia particulelor de separat prin modificarea unghiului de contact.
Eficienta separarii prin metoda umeda este mult imbunatatita daca mediul de imersie se afla in regim dinamic, asigurat prin utilizarea pulsatiilor (separatoare cu pulsatii), barbotarea unui gaz (separatoare prin flotatie) etc.
Fortele care apar, ca urmare a pulsatiilor lichidului de imersie intr-un separator cu pulsatii (fig. 8), determina trecerea componentilor grei prin sita ce alimenteaza spatiul de depunere. Componentii usori sunt luati de curentul pulsator si evacuati printr-un stut de preaplin. Apa folosita ca mediu de separarea poate fi recirculata.
Figura 8. Separator cu pulsatii
1-ventil; 2-membrana de cauciuc; 3-SMPl; 4-sita; 5-stut de preaplin; 6-rezervor de apa; 7-roata celulara; 8-buncar pentru colectarea fractiei goale.
Separatoare termice (calde sau reci).
Sunt utilizate, indeosebi pentru scoaterea MPl din SMPl de tipul placii metalizate, stratificate polimerice textile, cabluri electrice sau din amestecurile heterogene, formate din materiale care se diferentieaza doar prin proprietatile termice.
Cele mai raspandite separatoare calde sunt cele formate dintr-un cilindru incalzit, care, rostogolindu-se peste o banda transportatoare pe care este depus amestecul de separat, culege MPl care se topesc la temperatura cilindrului. Eficienta separarii este limitata prin aceea ca toate MPl care au temperatura de topire mai ridicata raman pe banda.
Desprinderea cu greutate a polimerului cules de cilindru, scade productivitatea si de aceea utilizarea acestui tip de separator este limitata.
Caldura furnizata de separatorul de radiatii de infrarosii din figura 9, determina recuperarea deformatiei inalt elastice a macromoleculelor produsa la prelucrarea din topitura a polimerului si de aceea contractarea puternica a buteliei la racire, moment in care eticheta se desprinde cu multa usurinta.
Acelasi fenomen sta la baza separarii izolatiei din MPl de conductorii metalici ai cablurilor electrice uzate (figura 10).
Caldura rezultata in timpul maruntirii incalzeste mantaua polimerica, ceea ce determina relaxarea lanturilor macromoleculare si de aceea desprinderea acesteia, care incepe cand bucatile de cablu au dimensiuni de 20-50 mm si este definitiva la 0,4-6 mm.
Fig. 9 Separator termic Fig. 10 Desprinderea mantalei polimerice
1-radiatii de IR; 2-butelie uzata. de pe conductorul mantalei: 1-conductor
metalic; 2-manta polimerica.
Rotatia tobei separatorului din figura 11 asigura amestecarea pulberii incalzite cu bucatile de cablu. Transferul termic de la pulbere catre acestea produce inmuierea polimerului. Pulberea exercita un efect suplimentar de slefuire care inlesneste desprinderea. Inclinatia tobei favorizeaza deplasarea amestecului spre gura de evacuarea pe unde materialul ajunge pe un sistem de ciururi unde se realizeaza separarea in componente.
Bucatile de MPl se ridica la suprafata apei de unde se colecteaza. Separarea in componente a amestecului rezultat se realizeaza prin procedeele cunoscute (pneumatic, flotatie etc.).
Figura 11. Separator termic: 1-cuva; 2-tambur; 3-aripioare avans; 4-banda transportoare; 5-gura de alimentare; 6-aripioare avanc; 7-traseu agent termic; 8-strat termizolant; 9,10-sita separatoare; 11- gura evacuare
Separatoare chimice.
Separarea pe baza diferentei dintre proprietatile chimice se numara printre putinele posbilitati de a scoate polimerii secundari din cablurile electrice uzate, sau materialele polimerice stratificate, pe tip de polimer, la un grad de puritate de 100%, cu structura chimica neafectata de procesul de separare.
Functionarea separatoarelor chimice se bazeaza pe gonflarea sau solvirea polimerului (extractie) la contactul cu un solvent (sau un amestec de solventi).
Gonflarea polimerului usureaza desprinderea de pe conductorul metalic. Presare amestecului pe orificiile unei filiere adecvate, sau centrifugarea, definitiveaza desprinderea si efectueaza separarea. Separarea chimica prin gonflare este avantajoasa prin aceea ca permite recuperarea polimerului cu conpozitia lui initiala.
Eficienta separarii prin solvire depinde de:
natura solventului sau amestecului de solventi, in care se efectueaza solvirea;
temperatura de lucru;
gradul de turbulenta asigurat mediului de solvire.
Solventii cei mai eficienti pentru PVC si PE sunt prezentati in tabelul 3. Se prefera utilizarea amestecurilor de solventi deoarece timpul de solvire este mult mai mic.
Tabelul 3. Solventi utilizati pentru separarea prin extractie a mantalei polimerice din cablurile electrice uzate
Fig. 12. Fluxul tehnologic al separarii prin extractie
Separatoare magnetice.
Sunt utilizare atat pentru scoaterea impuritatilor metalice din SMPl inainte ca aceastea sa fie maruntite, cat si pentru controlul macinarii inaintea prelucrarii din topitura.
Captatorii feromagnetici cei mai intalniti sunt, fie sub forma unor tamburi magnetici (figura 13.a), care se rotesc deasupra benzii transportoare pe care sunt depuse SMPl impurificare cu materiale feroase, fie sub forma unor benzi transportoare magnetice pe care se descarca SMPl ce urmeaza a fi separate. Corpurile magnetice retinute de tambur, sau de banda transportoare sunt indepartate prin raclare.
Corpurile feroase se elimina din macinatura polimerului
fie prin decarcarea continua a acesteia pe un gratar magnetic (figura 13.b)
plasat inainte de alimentarea in masina de prelucrare, fie prin controlare in
palnia masinii de prelucrare.
Fig. 13. Separatori magnetici: a-tambur magnetic; b-gratar magnetic.
Separatoare electrice.
Functioneaza pe principiul incarcarii electrostatice diferite, in functie de proprietatile electrice, a particulelor din amestecul supus separarii, la trecerea prin camp electric produs de 2 electrozi conectati la tensiunea de 30-70 KV, care ionizeaza gazele din camp. Din acest motiv unele vor fi atrase de suprafata tamburului separatorului electric reprezentata in figura 14 de unde vor fi desprinse prin razuire, iar altele vor cadea liber in palnia de colectare.
Eficienta separatoarelor electrice depinde de intensitatea campului electric si de modul de dispunere al electrozilor.
Desi randamentul separarii poate atinge valori deosebite, utilizarea acestor separatoare este limitata de consumul energetic ridicat motiv care determina utilizarea lor numai in cazurile in care alte tipuri nu sunt eficiente.
Fig. 14. Separator electric: 1-buncar; 2-alimentator; 3-cilindru de separare; 4- electrod; 5-buncare de colectare a materialului separat;6-razuitor.
Separatoare gravitationale
Functioneaza pe principiul antrenarii diferentiate in camp gravitational a componentilor unui amestec, datorita valorilor diferite a densitatii.
La antrenarea amestecului intr-o miscare de rotatie ascendenta, desfasurata pe o suprafata elicoidala, usoara separare observata pe primele trepte a;e separatorului gravitational din figura 15, se va datora in principal fortei centrifuge si in mai mica masura celei gravitationale.
Separatoare optice
Interpunerea unei particule colorate intre o sursa de lumina si o celula fotoelectrica va declansa actiunea unui jet de aer, comandat de celula fotoelectrica prin intermediul unui contact electric, care va scoate particula din traiectorie (figura 16), fenomen care nu se produce la trecerea unei particule necolorate.

Fig. 15 Separator gravitational: Fig. 16 Separator optic
1-suprafata elicoidala; 2- ax vertical 1-sursa de lumina; 2-celula fotoelectrica;
3-amestec de separat. 3-injector de aer; 4-banda transportoare;
5-buncar pentru particule necolorate;
6-buncar pentru particule colorate.
Spalarea
Se efectueaza intr-una sau mai multe etape in functie de marimea gradului de impurificare al SMPl, si de impuritatile ce trebuiesc indepartate si anume: prespalare, spalare si clatire.
Prespalarea are drept scop indepartarea impuritatilor grosiere care pot deteriora organele active ale utilajului de maruntire si inmuiere contaminarilor puternic aderente.
Spalare
Modul de desfasurare al procesului de spalare depinde de impuritatile prezente si se controleaza prin urmatorii parametri:
gradul de maruntire al SMPl;
natura mediului de spalare;
valoarea raportului dintre volumul lichidului de spalare si cel al materialului supus spalarii;
temperatura si presiunea de lucru;
marimea turbulentei mediului de spalare.
Cele mai utilizare bai de spalare sunt cilindrice sau ovale, verticale (fig. 17), sau orizontale (fig. 18), cu unul sau doua agitatoare cu palete, elice sau melc, cu functionarea continua sau discontinua.
Fig. 17. Bai de spalare verticale
Fig. 18 Bai de spalare orizontale: 1-cuva; 2-melc agitare; 3-ax cu paleti; 4-sita.
Mult mai eficiente pentru spalarea macinaturii provenite
din filme sau folii uzate de PO sunt baile orizontale cu doua agitatoare cu
palete, sau cu melc cu functionare continua (fig. 19).
Fig. 19. Baie de spalare cu ax orizontal, cu sisteme variate de eliminare a materialului spalat
1-rezervor intermediar; 2-dozator; 3-baie de spalare; 4-sita; 5-ax cu paleti; 6-motor antrenare ax; 7-zona calma de prelevare; 8-lant cu placi transversale echidistante pentru prelevare; 9-conducta pentru alimentare cu apa proaspata pentru clatire; 10-preaplin; 11-palnie de colectare slam; 12-conducta eliminare slam; 13-pH-metru (a); 14-dispozitiv de evacuare cu melc (b); 15-dispozitiv de evacuare cu racleti (c).
Spatiul cuvei este impartit printr-un perete vertical, plasat la capatul agitatorului si o sita orizontala, la baza acesteia, in 3 zone: una turbulenta pentru spalare si doua calme, din care, una pentru prelevarea materialului spalat si una pentru depunerea impuritatilor insolubile.
Forma ovala a cuvei adaptata miscarii agitatoarelor, amelioreaza circulatia apei de spalare. Agitarea si repartizarea uniforme a bucatilor de material; in solutia de spalare se realizeaza prin reglarea unghiului de atac al paletelor arborilor.
Timpul de spalare se determina prin viteza de rotatie a arborilor agitatorului, unghiul de atac al paletelor si inaltimea peretelui mobil.
Clatirea este o faza importanta a procesului de spalare, contribuind atat la indepartarea solutiei de spalare, cat si la eliminarea suplimentara a impuritatilor.
Uscarea
Dupa spalare, 70% din greutatea solutiei de spalare ramane antrenata mecanic pe suprafata materialului spalat. Indepartarea acesteia se realizeaza prin: stoarcere libera si mecanica si, dupa caz, prin uscare.
Storcatorul centrifugal din figura 20 a este alcatuit
dintr-o sita tronconica, plasata intr-o cascada. Pe corpul conic din interiorul
sitei sunt fixate doua palete, cu marginile foarte apropiate de suprafata interioara
a sitei. Corpul conic se misca cu o viteza de rotatie mai mica decat cea a
sitei tronconice. Datorita miscarii de rotatie a sitei tronconice, apa legata
mecanic pe suprafata SMPlu este proiectata catre peretele sitei. Materialul
solid este reclat continuu de catre paletele atasate corpului conic si obligat
sa se indrepte catre gura de evacuare. Uscarea este accentuata de aerul cald
creat de rotatia celor doua palete ale corpului conic.
Fig 20. Storcatoare centrifugale: a-cu sita conica; b-cu sita cilindrica
1-palnie de alimentare; 2-carcasa; 3-sita tronconica; 4-palete; 5-corp conic; 6-cilindru; 7-tambur; 8-paleti; 9-sita; 10-ciclon.
Uscatorul poate fi utilizat si pentru clatirea suplimentara a SMPlu. In acest scop, concomitent cu acestea se introduce apa de clatire, care, dupa trecerea prin sita, se colecteaza in jgheabul de evacuare.
Pe tamburul de rotatie al uscatorului din figura 20 b sunt montati paleti care asigura ascensiunea materialului. Miscarea de rotatie a tamburului va genera forta centrifuga care va proiecta SMPlu pe sita de retinere plasata intre tambur si peretele uscatorului. Apa de spalare care a trecut prin sita este colectata printr-o conducta aflata la partea inferioara a uscatorului. Materialul uscat ajuns la partea superioara a acestuia este evacuat printr-un curent de aer cald intr-un ciclon, unde procesul de uscare este accentuat.
Intrucat uscarea este o faza mare consumatoare de energie (cca 7000 J pentru 1 kg apa),atentia tehnologiilor se concrentreaza in general pe reducerea continutului de apa al SIMPlu spalat, prin metodele de stoarcere, astfel incat cantitatea ce trebuie indepartata prin uscare sa fie minima.
Prin uscare, continutul rezidual de umiditate ajunge la 0,1÷0,5% si va fi mult micsorat prin degazarea topiturii la grenularea SMPlu, sau/si la prelucrarea in produs finit.
Cele mai folosite uscatoare sunt cele pneumatice in pat fluidizat, de tip ciclon sau cuptoare orinzontale.
7 Regenerarea
Dupa cum am mentionat, scoaterea din uz a celor mai multe obiecte uzate este datorata deteriorarilor mecanice produse in timpul exploatarii si nu celor de ordin structural.
Prin urmare variatia proprietatii reziduale utile a polimerului secundar, determinata de deteriorarile structurale produse de factorii de degradare, in functie de durata de viata poate fi reprezentata printr-o dreapta, cu panta negativa.
Fig 21.Variatia proprietatilor reziduale utile functie de
durata de viata a produselor din MPI : degradarea mecanica; − −
− − degradarea structurala.
Regenerarea polimerului va scadea proprietatea reziduala utila, dar cauza impuritatilor, si a procesului slab de deterioare structurala cu o valoare L, pana in punctul R*.
Procesul poate fi reluat atatea cicluri, pana cand punctul Nr, va coincide cu Sn.
Conform celor
de mai sus, polimerul secundar poate fi valorificat ca atare prin regenerare de
n ori, pana cand Mn = Sn, in vederea imbunatatiri proprietatilor reziduale utile, de
fiecare data insa, valorificat in acele domenii care necesita materiale cu
proprietati similare cu cele ale polimerului dupa fiecare scoatere din uz.
Fig 22. Discutia defectelor SMPlu Fig 23. Evolutia proprietatii
in cazul modificariilor cu 50% reziduale pentru SMPlu modificat
polimer primar cu diferite procente de material primar
1 - material primar; in functie de numarul de prelucrari.
2 - material prelucrat o singura data;
3 - material prelucrat de doua ori;
4 - material prelucrat de trei ori;
5 - material prelucrat de patru ori;
6 - material prelucrat de cinci ori;
Conform principiului dilutiei defectelor, reprezentat in fig.22 si fig. 23, indiferent de valoarea procentului de modificare dupa un numar de cicluri de formare - utilizare proprietatea reziduala utila atinge un nivel constant, indiferent de numarul ciclului de prelucrare.Deci, dupaatingerea nivelului constant valorificarea se poate face in acelasi domeniu fara o noua. modificare, satisfacut de proprietatea reziduala utila a materialului.
Prin urmare, regenerarea reprezinta singura forma de recirculare in care polimerul suporta o noua transformare de faza, in vederea conferirii aceleiasi sau unei noi valori de intrebuintare, si cand calitatea polimerului secundar poate fi imbunatatita prin modificare si/sau prelucrarea pe utilaje cu randament ridicat de degazare - filtrare, plastifiere - omogenizare.
7.1 Prelucrarea din topitura a polimerilor secundari urmeaza in general legile intalnite la cei primari, privind procesele de aditivare.
Imbunatatirea proprietatilor de curgere se realizeaza ca si in cazul polimerilor primari, si prin utilizarea de lubrifianti si plastifianti.
Utilizarea lubrifiantilor interni si externi este indispensabila indeosebi in cazul PVC si in special a PVC - U, aceasta deoarece, datorita vascozitatii mari a topiturii polimerului, utilajele de prelucrare trebuie sa dezvolte forte mari, care, prin caldura generata determina cresterea temperaturii topiturii polimerului, fenomen nedorit din cauza termostabilitatii reduse a PVC.In afara de aceasta, topitura de PVC are o permanenta tendinta de a adera pe suprafetele metalice ale utilajelor de prelucrare, deficienta eliminata la utilizarea lubrifiantilor externi care sub forma unor straturi subtiri, reduc frecarile dintre polimerul topit si partile metalice.
Lubrifiantii externi recomandati pentru PVC secundar sunt in general cercurile parafinice, polietilenele cu masa moleculara mica etc. iar interni, ca si in cazul polimerului primar monoesteri ai glicerinei, esteri ai acizilor stearic, oleic, ricinoleic, cu alcooli polivalenti.
Plastifiantii trebuie sa fie compatibili cu polimerii, adica sa se dizolve partial sau complet, in functie de temperatura, in masa acestora.Daca plastifiantul are o solubilitate limitata in polimer curba factorului de pierderi este extinsa, cu atat mai mult cu cat plastifiantul devine un solvent mai slab.
Cei mai utilizati plastifianti pentru materialele polimerice secundare sunt plastifiantii monomeri, mono sau diesteri ai acizilor sau alcoolilor bibazici si plastifianti polimeri, rezultati din unul sau mai multi acizi bibazici, un poliol si un acid monobazic sau alcool.
Stabilizarea materialelor polimerice secundare capata aspecte caracteristice impuse de imposibilitatea eliminarii totale a continutului rezidual de impuritati, indiferent de severitatea fazelor de decontaminare si de dificultatea identificarii naturii si calitatii produselor de degradare, aparute in urma procesului de "imbatranire".
Aspectele de stabilizare au un caracter deosebit in cazul PVC unde caracteristicile mecanice ridicate si rezistenta la abraziune mare face dificila retransformarea in pulbere a obiectelor uzate din PVC.
Faptul ca temperatura de topire aproape se confunda cu temperatura la care incepe descompunerea si ca la prelucrarea din topitura sunt necesare forte destul de ridicate (cca 5 ÷ 200 Mpa) pentru prelucrare, face ca stabilizarea PVC secundar sa fie caracterizata de aspecte particulare.
Proprietatile amestecurilor de polimeri sunt determinatede o serie intreaga de factori, dintre care cel mai important este compatibilitatea componensilor.
Amestecurile formate din componenti compatibili sunt materiale monofazice ale caror proprietati variaza liniar cu compozitia, in limitele proprietatilor componentilor.
Amestecurile miscibile pe baza de policarbonat polimer, cu structura amorfa, si poliesteri cristalizabili (PET, PBT), policaprolactama si diversi copoliesteri sunt raspandite in practica prelucrarii polimerilor.
Mare majoritate a amestecurilor se realizeaza din componenti incompatibili, in care caz amestecurile sunt materiale multifazice, ale caror proprietati depind de morfologia realizata cu valori de extrem mai mari sau mai mici decat valorile proprietatilor componentilor.
Dupa cum se stie proprietatile fizico - mecanice scazute ale amestecurilor de polimeri incompatibili se datoresc morfologiei acestora, de la dispersii statistice, pana la laminate multistrat, determinata de lipsa de adezivitate dintre faze, ca urmare a tensiunii interfaciale extrem de ridicata, care face dificila dispersarea componentilor pana la nivel molecular.
Cand aceste amestecuri sunt supuse actiunii fortelor exterioare la limita de separare a fazelor are loc o concentrare a eforturilor fapt ce favorizeaza aparitia microfisurilor. Solicitarea in continuare face ca aceste fisuri sa se propage de-a lungul interfatei. Propagarea usoara a fisurilor determina fracturarea amestecurilor la solicitari mici.
Utilizarea amestecurilor incompatibile, ca atare, este limitata si de dificultatile intampinate la prelucrare. Compozitia complexa face ca proprietatile reologice sa varieze continuu. Utilajele conventionale de prelucrare nu sunt proiectate pentru a suporta astfel de variatii si ca urmare au loc permanente dereglari in functionare, ceea ce se rasfrange asupra calitatii produselor finale, facandu-le necorespunzatoare.
Printre posibilitatile de imbunatatire a posibilitatilor amestecurilor de polimeri incompatibili, se numara si utilizarea de agenti de compatibilizare, agenti activi de suprafata care scazand tensiunea la interfata fazelor din sistem, fara a fi capabili sa schimbe proprietatile termodinamice ale interfetei, determina formarea unui material izomorf, cu proprietati fizice utile.
Cel mai adesea, drept agenti de compatibilizare se utiliseaza bloc-copolimeri, copolimeri grefati sau substante cu molecule mici, de cele mai multe ori cu lanturi alifatice lungi si grupe polifunctionale.
Materialele de umplutura : calcar, creta, carbonat de calciu, umpluturi celulozice (faina de lemn, scoarta macinata etc.) sunt frecvent utilizate si in cazul polimerilor secundari. Efectul de modificare depinde de masura in care aceste indeplinesc urmatoarele proprietati : absorbtie scazuta de umiditate, densitate apropiate de cea ceruta produselor finite, buna stabilitate chimica.
Ranforsarea este o directie de valorificare frecvent utilizata, mai ales in cazul avelor polimeri secundari la cre continutul rezidual de impuritati nu indeplineste conditiile de regenerare, materialele de armare de tipul fibrelor de sticla, scurte sau largi etc.,avand o influenta spectaculoasa asupra proprietatilor mecanice ale polimerului secundar (rezistenta la tractiune, abraziune etc).Natura peliculei ce acopera fibrele influenteaza in mod sensibil caracteristicile materialului armat. Fibrele lungi se prefera celor scurte, prin efecul de ranforsare superior.
Expandarea s-a dovedit a fi una din cele mai rentabile directii de regenerare mai ales pentru SMPlu puternic impurificate. Omogenizarea compozitiei are loc in procesul de prelucrare, desfasurat la temperaturi ce nu depasesc temperatura de descompunere a agentului de expandare.
Modificarea chimica (reticularea) se utilizeaza mai putin in cazul SMPlu, performantelor atinse nejustificand eforturile tehnologice de injectie.
Prelucrarea polimerilor secundari pe utilaje cu randament ridicat de plastifiere si omogenizare cu una sau mai multe posibilitati de degazare si filtrare a topiturii, asigura sporirea calitatii, polimerului regenerat.
7.2 Criteriul de omogenitate la masinile de prelucrare din topitura, este marimea forfecarii transversale, care determina schimbul de material intre diferitele straturi in miscare. Valoarea gradului de omogenizare depinde de tipul masinii de prelucrare utilizata la regenerare. Pentru regenerarea polimerilor malaxoarele cu melci de constructie speciala din cauza cheltuielilor de investitie mari.
Tipuri de utilaje utilizate in omogenizarea topiturilor
- Laminoare cu doi sau mai multi cilindri
Utilaje de omogenizare : - Malaxoare inchise
- fara melc
- Extrudere - cu un melc
- cu melc
- cu rotire in acelasi sens
- cu doi melci
- cu rotire in sens contra
La extruderele cu un melc, schimbul material intre straturi se face defectuos sau deloc. Utilizarea in zona de topire de pistoane de frecare si amestecare, pentru a ajuta actiunea de plastifiere a melcului, nu conduce la rezultate spectaculoase, iar bilantul energetic este total nesatisfacator.
Extruderele cu doi melci care se misca in sens contrar, au efect bun de omogenizare, din cauza componetei tranversale a forfecarii. Extrudele cu doi melci care se misca in acelasi sens au o forfecare transversala de valoare unica, ceea ce face ca aceste extrudere sa nu fie folosite pentru polimeri secundari.
Consumul energetic necesar unui extruder cu doi melci reprezinta jumatate din energia totala a unui extruder cu un singur melc.
Debitele realizate de extruderele cu doi melci sunt mult mai mari decat la cele cu un singur melc, la lungimi de melci reduse si dinamice aproximativ identice. De aceea extruderele cu doi melci, care se rotesc in sens contrar, reprezinta utilajele cele mai eficiente pentru regenerarea polimerilor secundari.
7.3 Degazarea este indispensabila regenerarii polimerilor secundari si este impusa de necesitatea eliminarii elementelor volatile rezultate in urma evaporarii umiditatii ramase in urma procesului de uscare, descompunerii impuritatilor organice reziduale, a vopselelor neindepartate de pe suprafata polimerului la purificare, chiar a descompunerii, polimerului din cauza speciilor active de degradare formate in timpul vietii.
Degazarea este eficienta cand continutul rezidual de umiditate al polimerului secundar nu depaseste 0,5%, in caz contrar materialul se usuca.
Degazare topiturilor de polimeri, se realizeaza prin construirea pe utilajul de omogenizare a uneia sau mai multor zone de degazare, care are loc printr-un proces de difuzie (proces indelingat) sau de fierbere (proces de scurta durata).
Eficienta degazarii prin fierbere depinde de timpul de stationare in zona de degazare, temperatura de lucru, regimul de forfecare si suprafata libera a topiturii in zona de degazare.
Degazare este cu mult mai intensa cu cat timpul de stationare in zona de degazare este mai mare. Marirea timpului de stationare determina scaderea puternica a productivitatii, ceea ce face ca nici aceasta varianta de degazare sa nu se poata aborda.
Temperaturi de prelucrare prea mari determina degradarea polimerului. La o geometrie data a melcului, regimul de forfecare are o valoare constanta. Rezulta deci ca singura posibilitate eficienta de efectuare a degazarii este marirea suprafetei libere a topiturii, corelata cu reducerea grosimii sale in aceasta zona. Cu cat gradul de umplere al zonei de degazare este mai mic, cu atat eliminarea substantelor volatile din topitura se face mai usor.
Marirea suprafetei libere a topiturii in zona de degazare se realizeaza prin :
- cresterea lungimii zonei si marirea diametrului melcului in aceasta zona;
- impartirea zonei de degazare in doua sau mai multe parti independente si legarea prin zone de transport.
Fig 24. Variatia continutului rezidual de volatile in functie de gradul de umplere al zonei de degazare
Extruderele cu doi melci, cu sensuri diferite de rotatie ale melcilor sunt considerate utilaje ideale de degazare, deoarece :
- asigura topiturii, in zona de degazare, o stare de echilibru, ceea ce permite indepartarea volatilelor, fara a fi necesara, utilizarea vacuumului;
- turatiile sunt scazute si deci de stationare este relativ indelungata.
Extruderele cu doi melci care se rotesc in acelasi sens, formeaza in zona de degazare o concentrare a topiturii ceea ce contravine cerintelor unei fierberi eficiente in strat subtire.
Extruderele cu un singur melc are dezavantajul ca nu pote asigura din cauza curgerii predominant transversale, care creeaza pericolul inecarii melcului in aceasta zona, un strat subtire in zona de degazare si nici o stare de echilibru.
Extruderele cu doi melci se impun si din punct de vedere al degazarii ca utilaje de eficienta, continutul rezidual de volatile fiind adus, in urma degazarii, la 0,1%.
7.4 Filtrarea topiturilor reprezinta faza finala in eforturile de indepartare a impuritatilor din SMPlu.Se realizeaza cu ajutorul unor dispozitive de filtrare, amplasate in capul extruderelor, inainte de duza de profilare. Partea principala a acestor dispozitive o constituie o sita sau un pachet de site, prin care, topitura de material este obligata sa treaca, inainte de a ajunge in capul de profilare.
Dispozitivele de filtrare a topiturilor se clasifica :
- dispozitive de filtrare fara schimbarea sitei.
- dispozitive de filtrare cu schimbarea discontinua a sitelor implica intreruperea debitarii topiturii spre duza de profilare, un timp egal cu cel necesar inlocuirii sitei colmatate.
Schimbarea sitelor se poate executa manual, sau prin actionare hidraulica
Fig 25. Schimbatoare de site : a - actionare manuala; b - actionare hidraulica : 1 - dispozitiv de filtrare; 2 - maner pentru deplasare; 3 - cilindru actionat hidraulic.
Mult mai eficiente sunt sistemele automate de curatire, la care, impuritatile culese sunt indepartate prin circulatia in sens invers a topiturii de polimer, sau prin utilizarea dispozitivelor mecanice de curatire.
Mai
practice s-au dovedit a fi dispozitivele de filtrare la care schimbarea sitei
se face prin deplasarea axialaa boltului purtator de sita.
Fig 26. Functionarea unui schimbator Fig 27. Dispozitiv de filtrare cu
cu functionare continua si decolmatare deplasare axiala a boltului
automata a sitelor : purtator de site.
1 - trecerea normala a topiturii;
2 - trecerea topiturii spre capul de profilare
prin ambele pachete de site;
3- trecerea topiturii printr-un pachet
de site in sens invers in vederea curatirii
sitei;
4 - trecerea topiturii prin pachetul ne-
colmatat si schimbarea celui colmatat.
Banda continua de site a dispozitivului de filtrare din fig. 27 care se interpune in fata fluxului de material, se deruleaza continuu indiferent de gradul de colmatare. Utilizarea acestui tip de filtru este limitata din cauza costului ridicat si a deficientelor de exploatare.

Fig 27. Dispozitiv de filtrare cu sita care se deruleaza continuu
Decolmatarea cu ajutorul topiturii de polimer nu asigura curatirea totala a sitelor, ceea ce reduce debitul extruderului. Manevrarea fluxurilor de topitura se realizeaza destul de anevoios.
Rentabilitatea unui dispozitiv de filtrare este data de valoarea interdependentei dintre marimea ochiurilor sitei, presiunea si debitul topiturii, si timpul de colmatare al sitei.

Fig 28. Dispozitiv de filtrare cu decolmatare mecanica a sitei
Marimea ochiurilor sitei determina productivitatea extruderului si calitatea purificarii.

Fig 29. Influenta numarului de ochiuri ale sitei de filtrare asupra productivitatii extruderului.
Regenerarea polimerilor secundari la prelucrarea din topitura se poate realiza cu sau fara granulare intermediara, in functie de gradul de omogenizare, filtrare, degazare, pe care-l poate asigura utilajul pe care se face prelucrarea in produs finit.
Deoarece forma granulei determina valoarea productivitatii, granularea intermediara a SMPlu este avantajoasa si atunci cand prelucrarea se realizeaza pe masini cu randament ridicat de plastifiere - omogenizare.
Alimentarea unui extruder cu SMPlu sub forma de granule lenticulare, in loc de macinatura, determina o crestere a productivitatii utilajului cu cca 35%
In general, prelucratorii care isi dezvolta pe platforme proprii capacitati pentru SMPlu, sau cei care prelucreaza numai aceste tipuri de materiale, aleg ca varianta tehnologica regenerarea cu prelucrarea direct in produse finite.
Pe de alta parte granularea inseamna supunerea polimerului unui tratament termic suplimentar, daunator, mai ales in cazul SMPlu regenerate de mai multe ori sau a celor care se descompun usor sub actiunea caldurii.
Din cele de mai sus rezulta deci ca exista foarte multe ratiuni care impun realizarea granularii SMPlu.
Posibilitatile de granulare ale SMPlu sunt identice cu cele utilizate in cazul SMPlt. Polimerul si natura curgerii topiturii acestuia impun tipul granulatorului.
Lipsa fazei de granulare din fluxul tehnologic de regenerare necesita dotarea utilajelor pe care se realizeaza prelucrarea in produse finite cu guri de alimente largite, profile speciale ale melcilor in zona de alimentare, sisteme de alimentare fortata, mai ales in cazul macinaturii provenite din folii uzate etc.
Regenerarea SMPlu direct in produs fini, fara granulare intermediara, se realizeaza prin extrudere, intrudere, sau injectie, pe utilaje adaptate corespunzator.
Tehnologia de extrudere-suflare se practica,indeosebi in cazul obtinerii corpurilor cave utilizate ca ambalaje pentru produse nealimentare, chiar al foliilor pentru ambalaje, indeosebi in cazul SMPlu a caror formula de aditivare prezinta garantia imbunatatirii proprietatilor de curgere si a celor fizico-mecanice.
7.5 Posibilitati de utilizare ale materialelor plastice regenerate
Reintroducere in circuitul productiv a polimerilor regeneratii are implicatii mari asupra utilizarii rationale a resurselor nationale (petrol, lemn, metal etc.) si are in vedere, in primul rand, caracteristici de piata (interes pentru anumite produse corelate cu cele legate de calitatea polimerilor regenerasi). Unul din efectele majore ale reintroducerii in circuitul productiv al acestor materiale este economisirea resurselor petroliere nationale prin economisirea consumului de polimer primar.
Proprietatile fizico-mecanice vor avea valori de performante doar prin eforturi speciale, costisitoare.
Din aceste motive, prelucrarea in produse finite sau semifabricate a polimerilor regenera si va ocoli acele directii din care rezulta produse de tipul :
- ambalaje alimentare si toate produsele a caror utilizare este conditionata de avize alimentare;
- produse cu pereti subtiri;
-tevi pentru lichide sub presiune, produse cu modulde incovoiere ridicat, sau rezistente la lumina etc.
Polimerii regenerati se pot utiliza cu succes pentru realizarea de produse injectate medii si grele, acolo unde continutul rezidual de impuritati nu pericliteaza infundarea canalelor de injectie : produse utilizate in agricultuta, constructii, de uz casnic etc. Toate tevile pentru drenaj, folii etc., realizate prin extrudere din polimeri primari, care se folosesc in domenii ce le exclud pe cele de mai sus, pot fi inlocuite cu cele confectionate din polimeri secundari. Dalele presate, sau covoarele PVC, pot fi executate din PVC regenerat depus pe suport textil. Buteliile pentru ambalat produse nealimentate (chimice etc.), pot fi confectionate din PVC sau PE, provenite din butelii uzate.
Un domeniu deosebit de vast in care pot fi utilizati polimeri regenerati, este cel al materialelor de constructii, ca inlocuitori de lemn, metal, ciment, dat fiind ca produsele obtinute din acestea pot avea un aspect asemanator cu al celor obtinute din aceste tipuri de materiale, utilizarea lor fiind insotita de o serie de avantaje ca : durabilitate, rezistenta la coroziune, abraziune, greutate redusa.
Dezavantajele legate de rezistenta slaba la caldura, coeficient de dilatare termica ridicat, se elimina fie prin aditivare speciala, fie prin ocolirea domeniilor unde apar aceste solicitari.
In contextul accentuarii crizei de materii prime, utilizarea rationala a acestora, se impune cu strigenta, regenerarea polimerilor secundari fiind o solutie cu pondere insemnata in consumarea rationala a resurselor materiale nationale.
7.6 Regenerarea principalilor polimeri secundari
Dupa cum s-a mentionat, polimerii de mare tonaj care se regasesc ca materiale secundare sunt : PE-LD si PE-HD, PVC, PS, si ABS utilizati pentru realizarea, in principiu, a urmatoarelor tipuri de produse :
- PE si PP : folii si filme utilizate ca ambalaje si in agricultura;
- PVC-P : folii, cabluri electrice, piele sintetica;
- PVC-U : tevi, tuburi, imbinari etc.;
- PS : produse expandate, repere auto;
7.6.1 Regenerarea polimerilor secundari proveniti din folii uzate. Foliile uzate sunt principalele SMPlu colectate de intreprinderile specializate, de la consumatorii industriali si de la cei individuali. Au fost folosite ca ambalaje (pentru produse industriale textile, alimentare), sau ca materiale de protectie (lucrari de constructii pe timp de iarna, sere si solarii), hidroizolante (pentru hidroameliorarea terenurilor agricole), si sunt confectionate in principal, din PO (PE si PP) si din PVC.
Tabelul 2. Posibilitati de utilizare a materialelor plastice regenerate
|
Domeniu de utilizare, tip de produs |
Destinatie |
|
Constructii civile stalpi bare placi produse de ansamblu din stalpi, bare, placi tevi, tuburi, materiale de protectie corpuri cave (containere, butoaie etc) produse injectate folii calandrate simple sau stratificate Constructii industriale Constructii rutiere si feroviare stalpi, bare Transporturi si telecomunicatii produse injectate Agricultura, zootehnice tevi, tuburi stalpi, bare Ambalaje corpuri cave (containere, butoie etc) produse de ansamblu din placi si bare produse injectate Alte domenii produse de uz casnic invatamant cinematografie, teatru |
de margine, despartitori, de observatie proptele pentru constructii, copaci scari contra eroziunii protectori pentru cabluri, panouri profil pentru ciment mese, ferestre, banci pentru locuri de joaca copii, locuri de agrement, porti, suporti, fileuri pentru terenuri sportive etc. drenaje, protectia cablurilor telefonice, electrice rezervoare pentru colectari lichide (apa, menajera reziduala) panouri ventilatoare pentru acoperisuri materiale pentru pardoseli, dusumele, pereti drenaje, protectii de cabluri, rezervoare de apa reziduala marcaje, pentru pietoni locuri de parcare dale de pavaj, traverse de cale ferata. elemente subterane pentru sustinerea cablurilor telefonice instalatii de drenaj hidroameliorativ sau in adaposturile pentru animale proptele pentru gradinarit, rasadnite etc. pubele roabe pentru ingrasaminte, materiale usoare bobine sarma ghivece de flori,jardiniere,galeti pentru deseuri menajere, rafturi debarale,stergatoare materiale didactice (roci, harti, stative,indicatoare etc) banci, suporti tabla materiale pentru decor, copaci, banci, pietre artificiale plasate in jurul straturilor de flori |
Deoarece foliile uzate provin din domenii de utilizare care determina grade diferite de contaminare, folia folosita in agricultura la acoperirea serelor si solarelor, fiind cea mai impurificata, colectarea selectiva in functie de domeniul de utilizare permite formarea inca din punctele de colecttare a mai multor categorii de resurse (curate, murdare si foarte murdare).
Colectarea selectiva, pe grad de contaminare, inlesneste realizarea cu mai multa usurinta a operatiei urmatoare din fluxul tehnologic, sortarea preliminara necesara pentru indepartarea impuritatilor mari, pietre, sarme, lemne, hartie.
Compactarea este o faza caracteristica indeosebi tehnologiilor de valorificare a SMPlu sub forma de folii dat fiind ca transportul de pe o platforma pe alta nu se poate realiza in conditii rentabile fara a reduce volumul. Se realizeaza prin aglomerare sau granulare directa, daca sunt curate, sau prin presare in baloti de dimensiuni convenabile pentru cele impurificate.
Cel mai rentabil utilaj de maruntire este cel in care taierea se realizeaza prin sfasiere rapida a balotului de folie.
Spalarea macinaturii de folie uzata se realizeaza in utilaje de tip cunoscut prin alimentarea in flux direct a materialului macinat si a agentului de spalare.
Un grad inalt de curatire se realizeaza in bai de spalare de tipul cu rotor, in care se produce o frecare intensa a particulelor de material, unele de altele, prin alimentare limitata cu solutia de spalare.
Uneori, cand foliile nu su fost colectate pe tipul de polimer, dupa baia de spalare, materialul este trecut intr-o unitate de flotatie. Fractia usoara va fi formata din PO, iar cea mai grea din PVC. Separarea fractiei PO nu se practica, polimerii din amestec fiind compatibili.
Urmatoarele faze ale procesului tehnologic de regenerare sunt uscarea si aglomerarea. Pentru stoarcerea libera sunt eficiente sitele cu turbulenta, sau cele tip ciclon. Stoarcerea fortata (prin centrifugarea) si uscarea lor, reduce continutul de umiditate la 0,05 - 0,1%.
Parametrii proceselor de uscare a foliei depind de gradul de dispersie al macinaturii si de continutul de apa al materialului spalat.
Regenerarea fulgilor sau aglomeratelor obtinute din folii uzate de PE - LD se realizeaza pe utilaje de tipul celor cu sau fara granulare intermediara.
PE - LD secundara poate fi regenerata ca atare, fara aditivare, in vederea imbunatatirii performantelor calitative cand se transforma de cele mai multe ori, in folie pentru ambalaje, materiale de protectie etc.
Tabelul 3. Date comparative privind caracteristicile foliilor de PE - LD regenerata cu si fara adaos de polimer inferior
|
Caracteristici |
Valori |
|
|
PE-LD regenerata |
PE-LD regenerata+ 10%polimer inferior |
|
|
Rezistenta la rupere, daN*cm-2 longitudinal transversal Alungire la rupere, % longitudinal transversal Rezistenta la sfasiere, daN*cm-2 longitudinal transversal Indicele de fluiditate, g*10min-1 | ||
Utilizarea unor tehnici de prelucrare mixte are ca efct, de asemenea, o sporire calitativa.Coextruderea unui strat de material primar peste unul din polimer secundar, permitw realizarea unui material cu utilizari speciale.
Degradarea polimerului ca urmare a solicitarilor din timpul vietii determina, mai ales in cazul in care expunerea a vut loc in zone climatice "calde" sau "foarte calde", scaderea considerabila a proprietatilor fizico-mecanice, chiar imposibilitatea prelucrarii din topitura.
Amelioarea efectelor degradarii se realizeaza de cele mai multe ori prin modificarea chimica sau fizica a polimerului secundar.
Materialele de umplutura, de tipul ZnO, TiO2, in proportie de 1- 2%, confera materialului o buna prelucrabilitate, polimerului regenerat putand fi folosit la confectionarea diferitelor obiecte pentru agricultura, ambalaje pentru produse chimice sau tevi.
Regenerarea foliilor uzate din PVC parcurge aceleasi faze tehnologice ca si cele intalnite in cazul foliilor din PE, cu exceptia fazei de aglomerare.
Pe tot parcursul fluxului tehnologic (chiar si la macinare) polimerul va fi protejat impotriva distructiei termooxidative. Prelucrarea din toputura se va face pe utilaje care nu supun polimerul unor solicitari termice intense si la care regimul de temperaturi poate fi urmarit cu mare precizie.
Macinatura de PVC poate fi prelucrata ca atare prin extrudere in tevi utilizate in drenaje hidroameliorative, calandare in folii, dale etc, sau dupa granulare, prin extrudere si injectie.
Cele mai dificile probleme apar la regenerarea foliilor uzate continute in deseul menajer. Indiferent de metoda de separare utilizata continutul rezidual de impuritati al SMPlu este intotdeauna peste limitele la care orice tehnologie de separare este rentabila.
7.6.2Regenerarea polimerilor secundari proveniti din izolatiile cablurilor electrice.
Cablurile electrice au mantalele si izolatii polimerice confectionate din PVC (cca. 65%), PE (cca. 35%), PE reticulata, EPDM, copolimeri clorura de vinil-acetat de vinil, iar conductorii metalici sunt din aluminiu, cupru sau plumb.
Calitatea proasta a metalului recuperat (cupru rezultand in forma puternic oxidata, iar indepartarea stratului superficial de oxid fiind o operatie dificila) greutatile in epurarea gazelor de ardere (costisitoare si total neeconomice), si criza petrolului, au determinat dezvoltarea tehnologiilor in care se recuperau mantalele si izolatiile polimerice.
Cablurile electrice cu diametre mai mici de 10 mm, maruntite in concasoare defibratoare, pana la lungimi de cativa cm, se maruntesc in mori cu cutite, operatie in timpul careia se realizeaza si o partiala desprindere a izolatiei de pe miezul metalic. Racirea cablurilor inainte macinarii creste eficienta desprinderii.
Cei mai eficienti solventi pentru materiale din PVC sunt : tetrahidrofuran incalzit la 68 - 1100C, N - metilpirolidona incalzita la 170 - 2200C, ciclohexanona incalzita la 200 - 2850C, dimetilformamida incalzita la 150 - 1950C, metiletilcetona incalzita la 140 - 1800C, iar din punct de vedere al posibilitatilor de industrializare, prin eficienta de separare superioare, amestecuri de solventi si dintre acestea, sistemul bemzen-acetona (40/60) si tetrahidrofuran-tricloretilena (60/40).
Dupa solvire si separarea prin filtrare sau centrifugare a conductorilor electrici din solutia in care a trecut polimerul, acestia sunt trecuti intr-o camera de spalare pentru indepartarea urmelor de solventi.
Polimerul este scos din solutie prin evaporarea solventului, la o temperatura si o presiune la care polimerul nu se degradeaza termic.
Separarea prin extractie permite obtinerea PVC chiar fara aditivii utilizati la prelucrarea (plastifiantilor, coloranti, etc), aspect care permite largirea domeniilor de aplicatie ale polimerului regenerat.
Gradul de puritate al componentei polimerice obtinute la separarea prin extractie, permite reprelucrarea acesteia tot ca izolatie pentru cabluri electrice.
Elementele prefabricate si profilele compacte sau expandate pentru constructii, realizate din PVC armat cu continut metalic rezidual, au proprietati comparabile cu a celor confectionate din polimeri primari.
7.6.3 Regenerarea polietilenei de inalta densitate provenita din navete uzate. Navetele sunt fabricate, in exclusivitate, din PE- HD si sunt utilizate, in mod deosebit, pentru transportul produselor alimentare : paine, legume, fructe, carne, peste sau a sticlelor cu lichide alimentare.
Pastrarea proprietatilor structurale la scoaterea din uz este un mare avantaj pentru regenerarea acestor tipuri de obiecte uzate, tehnologia de valorificare cuprinzand urmatoarele faze tehnologice : colectare, regenerare, reformare.
Gradul de impurificare (reziduuri ale produselor transportate, pietris, nisip, hartie etc) nu depinde de tipul sau durata de exploatare a navetei, utilizatorii avand in dotare instalatii de spalare a acestora, dupa fiecare ciclu de utilizare. Fundul navetelor este cu cca 25% mai impurificat decat toate celelalte parti constituente.
Maruntirea se efectueaza in mori cu cutite si site cu diametrul gaurilor de 14 - 16 mm, situatie in care debitul are valori maxime, la un consum energetic minim.

Fig 30. Optimizarea granulatiei la maruntirea navetelor uzate:
a - consum energetic la maruntire in functie de granulatie;
b - variatia debitului unui extruder Ø=90, cu un melc in functie de granulatie
Spalarea macinaturii este eficienta in bai cu unitati de spalare cilindrice, asezate in cascada, care, in comparatie cu baile de spalare cu trei compartimente, cu doua axe orizontale cu paleti, permit spalarea in doua trepte si clatirea, necesitand un consum de apa pentru spalare de 111 l pentru 1 kg SMPlu, fata de 4 l pentru 1 kg SMPlu.
Rezultatele experimentale, obtinute pe epruvete formate prin injectie din material provenit din navete uzate, maruntite, dupa spalare si granulare, comparativ cu rezultatele obtinute pe epruvete formate prin injectie din material provenit din navete uzate, maruntite, spalate si negranulate, evidentiaza rolul si necesitatea omogenizarii si a filtrarii din topitura, prin extrudere granulare.

Fig 31. Distributia rezistentei la soc Charpy la - 200C pe epruvete crestate, obtinute prin compoundarea materialului recuperat cu material primar : 1 - amestec direct injectat; 2 - amestec omogenizat prin granulare si injectie.
Din punct de vedere al granularii, cele mai interesante sisteme pentru recuperarea PE-HD provenita din navete scoase din uz sunt
- baghete extruse, racite in baie si granulate;
- banda extrusa, racita in baie si granulata ;
- granulare cu imersie totala in apa.
Navetele realizate din PE-HD regenerata modificata, au proprietati compatibile, chiar superioare cu alte navetelor realizate din material primar.
7.6.4. Regenerarea polimerilor secundari proveniti din butelii uzate. Buteliile uzate provin de la consumatori individuali si sunt utilizate, cele de PVC, la ambalarea produselor alimentare (12% vin, 75% apa minerala, 85% otet, 90% ulei), iar cele din PE la ambalarea uleiurilor minerale, detergenti, produse cosmetice si foarte rar, lapte.
In functie de solutia de colectare utilizata, aceste materiale vor fi regasite fie in SMPlu colectate selectiv de la consumatorii individuali, fie in deseul menajer.
Colectarea selectiva poate fi stimulata prin conditionarea cumpararii unor butelii noi de predarea celor uzate. Experienta multor state occidentale (Statele Unite ale Americii, Elvetia, Anglia, Franta) a demostrat ca acest sisitem de colectare este posibil.


Fig 32. Influenta modificarii PE-HD secundare asupra rezistentei navetelor realizate din polimerul regenerat.
Tehnologia de valorificare prin regenerarea buteliilor polimerice uzate contine fazele intalnite si la alte tipuri de obiecte uzate.
Dupa compactare, buteliile sunt maruntite si supuse procesului de purificare, in vederea sortarii pe tip de polimer si al eliminarii tuturor impuritatilor grosiere (metal, sticla, pamant, etc).
Spalarea buteliilor de PE-LD necesita, in primul rand, agenti speciali de spalare de exemplu : antispumanti pentru buteliile in care s-au ambalat detergenti si detergenti pentru buteliile care au transportat uleiuri.
Granularea permite aducerea polimerlui la performantele calitative caracteristice polimerului primar. Cele mai eficiente sisteme de granulare sunt cele din banda sau baghete, si taiere in apa sau in aer.
Macinatura purificata, maruntita fin, poate fi prelucrata ca atare, sau aditivata cu material primar, domeniul de utilizare al polimerului regenerat depinzand de proprietatile pe care le are.
Tabelul 4. Caracteristicile amestecurilor formate din PVC primar si PVC regenerat din butelii uzate.
|
Compozitia amestecului % |
PVC primar |
- | |||||
|
PVC regenerat |
- | ||||||
|
Caracteristici |
|||||||
|
Densitatea, kg*m-3 Punctul de inmuiere Vicat*0C Rezistenta la rupere, N*m-2 Alungirea la rupere, % |
|
||||||
Granulele de PVC regenerat, neaditivat, se prelucreaza prin injectie extrudere, avand proprietati fizico-mecanice bune si o culoare niciodata transparenta. Proprietatile permit retransformarea in butelii tehnologia nefiind insa practicata.
Cel mai frecvent PVC regenerat este transformat in tuburi de drenaj, tuburi pentru cabluri telefonice, sau electrice etc.
Regenerarea buteliilor de PVC, trebuie sa evite supunerea polimerului la solicitarile termice periculoase, din cauza termostabilitatii scazute a polimerului. Protectia termooxidativa se realizeaza fie prin stabilirea corespunzatoare a polimerului, fie prin prelucrarea din topitura, pe utilaje la care solicitarile mecanice sunt reduse, si care au posibilitatea de masurare riguroasa a temperaturii.
7.6.5 Regenerarea polimerilor secundari proveniti din produse stratificate uzate
Produsele stratificate uzate sunt constituite dintr-un suport textil (bumbac, celuloza, lana), tesut sau netesut, hartie, folii PETP pe care s-a depus, pe una sau ambele fete, unui sau mai multe straturi de polimer (PVC, PEO, PU, etc). Deoarece se utilizeaza ca inlocuitori de piele in industria incaltamintei, automobilelor, marochinariei, tapiteriilor, confectiilor, ca benzi transportoare, acoperiri pentru pardoseli, produse de uz casnic (corturi, prelate, fete de masa, tapete, filme fotografice etc) rezulta ca produsele uzate, in principal, la consumatorii individuali.
Aceste SMPlu nu se caracterizeaza indeosebi in cazul colectarii in amestec printr-o mare neomogenitate privind compozitia, diferand unele de altele etc. De aceea, alegerea metodei de valorificare se face dupa analiza si stabilirea gamei sortimentale.
Cele mai rentabile metode de valorificare sunt cele de regenerare in produse finite cu valoare de intrebuintare indiscutabila, cu sau fara separarea polimerului de materialul suport.
Valorificarea prin calandrare a SMPlu macinate si omogenizate contin doar 50% polimer neconvenabila din cauza slabei rezistente la prelucrare, se face doar dupa imbunatatirea caracteristicilor fizico-mecanice prin compoundarea cu un material de liere (NBR) sau readitivare conform retelei initiale.

Fig 32. Fazele tehnologice ale separarii polimerilor secundari proveniti din produse stratificate uzate.
Stratificatele uzate, care au ca suport hartia, se regenereaza prin compoundare, intr-un malaxor, dupa care, prin granulare, materialul poate fi injectat.Raportul maxim hartie/material plastic care permite prelucrarea prin injectie este 65/35.
Metodele de prelucrare a acestor SMPlu, prin separarea celor doua materiale, cu trecerea hartiei in apa, si formarea unei suspensii apoase, sunt mai putin utilizate.
Filmele fotografice uzate s eprelucreaza printr-un prodedeu de reducere, pentru a obtine un precipitat metalic de argint si cele doua fractiuni de MP1 : PE si AZ.
7.6.6 Regenerarea polistirenului provenit din produse expandate uzate. Regenerarea produselor expandate uzate incepe cu cresterea greutatii volumetrice care, din cauza valorilor mici, determina utilizarea de spatii mari pentru depozitare si transport, creiaza dificultati atat la prelucrarea in amestec cu material primar, cand se manifesta o tendinta pronuntata de separarea a celor doua materiale cat si la prelucrarea individuala cand produce infundarea zonei de alimentare, si de aceea discontinuitati ale fluxului de topitura.
Amestecurile obtinute pe baza de PS expandat, PS rezistent la soc si cauciuc polibutadienic drept modificator, se valorifica deosebit de eficient ca produse injectate.
Tratarea SMPlu cu H2SO4 concentrat, in prezenta Ag2SO4 drept catalizator, da posibilitatea obtinerii unor foarte buni electroliti polimerici
Cea mai practica directie de valorificare este expandarea, realizata in general cu hidrocarburi lichide care au dizolva polimerul si care fierb la temperaturi sub cea de descompunere a polimerului.
Ranforsarea PS regenerat, chiar a celui expandat cu fibra de sticla determina cresterea rezistentei la tractiune si a stabilitatii dimensionale, fara a modifica esential casanta si rezistenta la soc, iar sferele de sticla imbunatatesc rezistenta la compresie si stabilitatea dimensionala la caldura.
Bibliografie
1. M. Rusu, N. Goldenberg-Serban, Gh. Ivan, Cornelia Vasile, Doina Staicu, Valorificarea resurselor polimerice secundare, Ed. Tehnica, Bucuresti, 1989
|