Din prezentarea structurii sistemelor automate īn cap. 1., s-a vazut ca dispozitivul de automatizare cuprinde o serie de elemente specifice ca: traductoare, elemente de executie, regulatoare, elemente auxiliare (amplificatoare, circuite de masura, convertoare, etc.).
3.1. Generalitati, performante, clasificare

Traductoarele
sunt elemente din structura sistemelor automate care au rolul de a masura
valorile parametrului reglat si de a converti acest parametru
(marime) īntr-o marime fizica ce este compatibila cu
marimea de intrare īn elementul urmator al sistemului. Traductoarele
se compun din elementul sensibil
si elementul traductor , conform
figurii 3.1.
Performantele traductoarelor pot fi apreciate pe baza urmatoarelor caracteristici:
- Sensibilitatea reprezinta limita raportului dintre variatia infinit mica a marimii de iesire si cea de intrare, cānd ultima tinde spre zero, adica:
Este necesar ca aceasta sensibilitate sa fie
- Precizia se defineste ca valoarea relativa a erorii exprimata īn procente:
(3.2)
obisnuit elementele de masurat din sistemele automate avānd clase de precizie de 0,2 1,5 %, fiind necesar sa fie cu cel putin un ordin de marime superioara preciziei reglajului īn ansamblu.
- Liniaritatea se refera la aspectul caracteristicii statice a elementelor si, aceasta caracteristica nu trebuie sa prezinte curburi si histerezis pe tot domeniul de variatie al marimilor de intrare si iesire.
-Comportarea dinamica. Aceasta caracteristica se refera la capacitatea elementului de a reproduce cāt mai exact si fara īntārziere variatiile marimii masurate. Se apreciaza pe baza functiei de transfer a elementului, adica pe baza constantelor de timp ce intervin sau, uneori pe baza benzii de trecere
-Reproductibilitate, reprezinta proprietatea elementelor de a-si mentine neschimbate caracteristicile statice si dinamice pe o perioada cāt mai lunga de timp, īn anumite conditii de mediu admisibile.

-Timpul de raspuns reprezinta intervalul de timp īn
care un semnal aplicat la intrare se va resimti la iesirea
elementului. Acest timp poate fi oricāt de mic, dar niciodata nul, putānd
fi asimilat cu inertia.
-Gradul de finete se caracterizeaza prin cantitatea de energie absorbita de traductor din mediul de masura, recomandāndu-se sa fie cāt mai mica pentru a nu influenta desfasurarea procesului. Alegerea traductorului se va face īn functie de parametrul reglat, īn functie de mediul de masura, īn functie de tipul semnalului: continuu, electric sau neelectric, discontinuu, s.a.
Privite sub aspectul tipului de semnale, traductoarele pot fi analogice sau pot fi numerice (cifrice).
Clasificarea traductoarelor este o problema destul de dificila, deoarece varietatea acestora este multipla. Una din variantele de clasificare, īn functie de marimea de intrare si cea de iesire, este prezentata schematic īn figura 3.2.
Un alt mod de clasificare, dupa [23] poate fi facut īn raport de marimea de natura neelectrica pe cale electrica. Īn acest caz vom avea:
a. &nb 20520r1714u sp; Traductoare pentru marimi geometrice: rezistive, inductive, capacitive si numerice de deplasare; cu radiatii; de proximitate.
b. &nb 20520r1714u sp; Traductoare pentru marimi cinematice de viteza; de acceleratie; de socuri si vibratii; giroscopice.
c. &nb 20520r1714u sp; Traductoare pentru marimi mecanice elastice (tractiune, compresie, īndoire, cuplu); tensometrice rezistive; cu coarda vibranta; magnetostrictive; de forta; de cuplu.
d. &nb 20520r1714u sp; Traductoare pentru marimi tehnologice: presiune, debite, nivel, temperatura.
e. Alte traductoare: integrate, etc.
Īn cadrul lucrarii vor fi prezentate doar traductoarele cele mai uzuale, detalii suplimentare gasindu-se īn [2,23], cu referiri la principiul lor de functionare, prezentarea schematica a acestora, variante constructive posibil de realizat, fara a insista prea mult asupra aspectului matematic al acestora, problema ce revine altor lucrari de specialitate.

Traductoarele mecanice de
captare pot fi realizate īn mai multe variante, adica:palpator, pārghie,
consola, cuplaj indirect; acestea fiind prezentate īn figura 3.3. (a, b,
c, d).
Pentru masurarea deplasarilor se utilizeaza o serie de traductoare cum ar fi: traductoarele rezistive (potentiometrice), inductive, capacitive, selsinele, traductoare piezoelectrice, cu radiatii, numerice, de proximitate, s.a.
Dupa cum se cunoaste, variatia rezistentei e data de:
(3.3)
unde: r - rezistivitatea electrica; l- lungimea conductorului; S - sectiunea conductorului. Modificānd lungimea conductorului, practic se va modifica rezistenta electrica R.
Pentru masurarea deplasarilor liniare se utilizeaza cu precadere potentiometrul liniar, figura 2.4. care se realizeaza prin bobinarea pe un suport izolant a unui fir rezistiv pe care se deplaseaza un cursor ce e sustinut de o pista decontact. Rezistenta de iesire a potentiometrului se modifica proportional cu deplasarea cursorului.
(2.4.)
U
unde: R - rezistenta electrica a
potentiometrului; l - lungimea potentiometrului, x - deplasarea
cursorului.
Deoarece masurarea rezistentei este greoaie, se alimenteaza potentiometrul cu o tensiune continua stabilizata U tensiunea de iesire a acestuia Ux depinzānd numai de x, U si l fiind constante.
Numai īn cazul īn
care tensiunea de alimentare este stabilizata si valoarea curentului
ce strabate potentiometrul este redusa, traductorul reproduce
corect caracteristicile.
Pentru deplasari unghiulare se utilizeaza un potentiometru de forma circulara, obtinut prin bobinarea pe un suport izolant circular a unui fir rezistiv peste care aluneca un cursor, conform figura 3.5.
Rezistenta la iesirea potentiometrului si tensiunea de iesire cānd acesta este alimentat la o tensiune continua stabilizata, depind numai de unghiul α dupa relatia:
si
(3.6)
Traductoare inductiveFunctionarea traductoarelor induc-tive are la baza variatia geometriei circuitului (cuplajului) magnetic īn functie de masurānd, care se traduce īntr-o variatie de inductivitate proprie sau mutualaPentru cazul deplasarilor liniare mici (< 2 mm), uzual se folosesc traductoare inductive cu īntrefier variabil (cu armatura mobila). Una din aceste variante este prezentata īn figura 3.6.
Circuitul magnetic se realizeaza dintr-o oala de permaloy 1 si armatura mobila 2. Bobina 4 se fixeaza īn piesa 1, tija 3 fiind fixata īn armatura mobila 2. Prin l1 si l2 s-au notat lungimile medii ale liniilor de cāmp magnetic, iar d este distanta dintre armatura mobila 2 si miezul magnetic 1.
La modificarea distantei d sub actiunea unei deplasari, practic se va modifica inductanta L a bobinei ce depinzde de d. Deoarece, ca si īn cazul traductoarelor rezistive este dificil a se masura variatiile de inductanta, practic se masoara caderea de tensiune pe rezistenta R.
Īn cazul īn care sectiunile circuitului magnetic se aleg īntr-un anumit mod, caderea de tensiune pe rezistenta R este aproximativ egala cu marimea de iesire e si este data de relatia:
(3.7)
unde: U - tensiune de alimentare alternativa stabilizata;
RL- rezistenta
electrica a bobinei;
m mrp - permeabilitatea magnetica absoluta si relativa a permaloyului;
N - numar de spire;
S - sectiunea circuitului magnetic.
Pentru cazul deplasarilor mai mari de 2 mm īn mod obisnuit se utilizeaza traductoare inductive diferentiale cunoscute si sub denumirea de transformatoare diferentiale. Īn cazul unor deplasari de pāna la 4 mm se utilizeaza traductorul inductiv diferential cu īntrefier variabil, iar pentru deplasari de ordinul centimetrilor se utilizeaza traductoare inductive diferentiale, cu miez magnetic mobil. Acestea se realizeaza constructiv prin bobinarea a doua īnfasurari primare si doua secundare identice pe cele doua carcase izolante ce se monteaza pe un tub din material nemagnetic ( plastic, textolit, alama, s.a.) īn interiorul caruia se poate deplasa liber un miez magnetic ce se executa obisnuit din fier moale. Practic reprezinta doua transformatoare identice montate pe aceeasi carcasa ce arata constructiv ca īn figura 3.7., unde: 1 - bobine primare; 2 - bobine secundare; 3 - miez magnetic; 4 - tija; 5 - distantier; 6 - capace.
Pentru reducerea perturbatiilor de natura electromagnetica, īntreg ansamblul se ecraneaza.
Functionarea traductorului prezentat se bazeaza pe principiul variatiei cuplajului magnetic īntre primarul si secundarul celor doua transformatoare identice la deplasarea miezului magnetic.
Se recomanda ca pentru o buna reproductibilitate tensiunea de alimentare primara sa fie alternativa stabilizata, iar tensiunea secundara sa fie redresata si stabilizata.
Īnfasurarile primare ale celor doua transformatoare se leaga īn serie aditional, iar cele secundare īn opozitie, astfel ca, īn pozitia centrala a miezului magnetic

tensiunea de iesire este nula. Schema electrica a
legaturilor arata ca īn figura 3.8.a. Conform acestei legaturi,
caracteristica statica arata ca īn figura 3.8.b. Aceasta
varianta are dezavantajul ca indiferent de pozitia miezului
magnetic, fata depozitiacentrala (la dreapta sau stānga),
conform caracteristici statice, valoarea marimii de iesire este aceeasi.
De aceea, īn practica este convenabil sa se realizeze circuitul de
masura din figura 3.9.a., caracteristica statica īn acest caz
fiind prezentata īn figura 3.9.b.
Comparativ cu traductoarele inductive cu armatura mobila, din cauza circuitului magnetic redus acestea au un factor de calitate scazut, de ordinul unitatilor. Cu toate acestea, traductoarele inductive cu miez mobil sunt preferate deoarece prezinta o serie de avantaje ca:
- &nb 20520r1714u sp; &nb 20520r1714u sp; domeniul de masurare poate fi de ordinul centimetrilor;
- &nb 20520r1714u sp; &nb 20520r1714u sp; prezinta o reproductibilitate si rezolutie ridicata;
- &nb 20520r1714u sp; &nb 20520r1714u sp; sunt insensibile la deplasarile radiale si au frecari reduse;
- &nb 20520r1714u sp; &nb 20520r1714u sp; prezinta posibilitatea protectiei la medii corozive, presiuni si temperaturi ridicate, s.a.
Facem mentiunea ca īn afara traductoarelor inductive prezentate, īn practica se mai pot utiliza traductoare de tip: transformator, inductosin liniar si circular [23].
Functioneaza pe principiul
modificarii capacitatii unui condensator atunci cānd
variaza fie distanta dintre armaturile lui, fie dimensiunile
armaturilor, fie constanta dielectrica a mediului dintre ele conform
relatiei:
Pentru deplasari mici, se utilizeaza traductoare capacitive la care se modifica distanta dintre armaturi (figura 3.10), armatura 1 fiind suspendata elastic si se poate deplasa paralel cu ea īnsasi sub actiunea fortei F (deplasarii). Armatura 2 este fixa si izolata electric fata de suport. Īntre capacitatea traductorului si deplasarea (x) a armaturii mobile exista o relatie de forma:
(3.9)
unde:
εr - permitivitatea relativa a dielectricului dintre armaturi;
Ss - suprafata de suprapunere a celor doua armaturi;
δ - distanta dintre armaturi;
x - deplasarea de masurat.
Sensibilitatea traductoarelor e data de: ![]()
Pentru masurarea unor unghiuri se utilizeaza traductorul capacitiv reprezentat schematic īn figura 3.11, la care se modifica practic suprafata de suprapunere a armaturilor, una fiind fixa - 1 , cealalta - 2 putāndu-se roti prin fixarea acesteia pe axul 3.
Īn functie de unghiul de rotire α a armaturii mobile se va
modifica suprafata de suprapunere dintre cele doua armaturi,
valoarea capacitatii fiind data de:
(3.10)
notatiile fiind cele
anterioare, rezulta: ![]()
Pentru cazul unor deplasari
liniare se utilizeaza: traductoare cu armaturi dreptunghiu-lare
si cilindrice. Pentru traductorul cu armaturi dreptunghiulare
(1-fixa, 2 - mobila) din figura 3.12.,capacitatea este data de:
, iar
(3.11)
Pentru traductorul cu armaturi cilindrice din figura 3.15 (1 - fixa, 2 - mobila) capacitatea depinde de deplasarea axiala a cilindrului interior, fiind:

, iar
(3.12)
unde r1, r2 sunt razele cilindrului interior, respectiv exterior.
Cu mentiunea ca exista si variante de traductoare capacitive la care se modifica dielectricul (acesta nu īn sensul ca se modifica pozitia dielectricului fata de cele doua armaturi), precizam ca toate traductoarele capacitive functioneaza īn curent alternativ la frecventa de cel putin 1 kHz.
Traductoarele capacitive prezinta o foarte buna sensibilitate fiind utilizate frecvent pentru masurari de deplasari rapide. metoda compensarii.
Datorita faptului ca īn mare masura capacitatea traductorului depinde de dimensiunile geometrice ale armaturilor care pot varia cu temperatura mediului, ducānd la erori importante, pentru īnlaturarea acestui inconvenient armaturile se confectioneaza dintr-un material special numit invar. De asemenea se utilizeaza si prin montarea īn punte a doua traductoare identice, numai unul dintre acestia fiind actionat de marimea neelectrica masurata sau controlata.
Sunt traductoarele generatoare ce functioneaza pe principiul piezoelectric (magnetostrictiv). Acest fenomen consta īn aparitia de sarcini electrice pe fetele unui cristal special īn momentul īn care asupra acestuia se exercita forte (presiuni) mecanice, fenomen descoperit de fratii curie la sfārsitul secolului trecut.
Initial, fenomenul a fost observat la cristalele de cuart (SiO2) dar, proprietatile pizoelectrice mai prezinta si alte cristale ca: turmalina, oxidul de zinc, niobatul de litiu, titanul de bariu, plumb si zirconiu, s.a.
Īn ultima
perioada se utilizeaza cu precadere titanatul de bariu care este
un material ceramic cu aspectul portelanului, rezistent la solicitari
mecanice si termice care are un randament ridicat īn functionare.
Traductorul este alcatuit din unul din cristalele amintite, prelucrat īn mod special (figura 3.14), pe fetele caruia se depune un strat subtire de argint coloidal cu scopul de a culege sarcinile electrice formate cānd elementul piezoelectric se supune unor deformatii mecanice.
Au avantajul unei inertii reduse, sunt fiabile, nu necesita surse de alimentare, īn schimb necesita amplificatoare deoarece tensiunea generata este foarte mica. Au dezavantajul unui pret relativ ridicat.
Aceste
tipuri de traductoare pot fi folosite la masurarea distantelor sau
deplasarilor de regula liniare, bazāndu-se pe proprietatea de
propagare a radiatiilor īn timp si interactiunea acestora cu
mediile īn care se propaga. Aceste radiatii pot fi: optice, acustice,
electromagnetice sau nucleare.
Traductoarele cele mai des utilizate sunt traductoare acustice cu ultrasunete ce functioneaza pe principiul efectului piezoelectric sau magnetostrictiv, cele doua variante fiind reversibile, putānd fi folosite atāt la emisia radiatiilor acustice-ultrasonore, cāt si la receptia acestora.
Fig. 3.15.
Pentru obtinerea unui raspuns rapid, īn spatiul 6 din interiorul carcasei se introduce un material cu impedanta acustica mare (deobicei pulbere de titan īn liant solidificat) cu rolul de amortizor mecanic cu precizarea ca amortizarea se poate face si electric, prin montarea unei rezistente electrice de valoare mare īn paralel cu traductorul.
Cu precizarea ca īn [23] este descris si un traductor modern cu unde acustice de suprafata (SAW - Surface Acustic Wave) ce permite determinarea pozitiei bidimensionale, īn cadrul lucrarii pe care ne propunem a o dezvolta ne limitam doar la cele prezentate, revenind īn cap. 3. la diverse convertoare, adaptoare, circuite de masurare, aparate de masura s.a.
Īn cadrul acestui paragraf vom īncerca sa redam principiul de functionare al unor traductoare frecvent utilizate pentru masurarea vitezei liniare si de rotatie, acceleratiilor, precum si a traductoarelor de tip selsin, acestea din urma putānd fi utilizate atāt pentru masurarea si transmiterea la distanta a unor pozitii unghiulare, cāt si pentru functionarea īn regim de urmarire a rotirii unui organ greu accesibil.
Pentru masurarea vitezelor liniare īn general se aplica metoda directa prin determinarea distantei īntr-un anumit interval de timp sau, cronometrarea timpului de parcurgere a unei anumite distante. Totusi, īn [23] este indicat pentru masurarea vitezelor liniare traductorul de tip motor liniar prezentat schematic īn figura 3.16. Constructiv, este asemanator cu traductorul inductiv diferential cu miez mobil dar, miezul se īnlocuieste cu un magnet permanent 1,iar bornele (īnfasurarile) 2 se leaga īnseriate, astfel ca efectele se vor īnsuma.
Tensiunea
ce se induce īntr-o īnfasurare e data de:
unde: N - numarul de spire;
Ф - fluxul creat de magnetul care este de forma Ф=Ф0 f(x).
Va rezulta ca:
Īn principiu, se poate observa ca se poate utiliza ca traductor de viteza liniara, orice traductor de deplasare prin derivarea marimii de iesire. Aceasta metoda se utilizeaza destul de rar, pe motivul ca derivarea analogica mareste nivelul perturbatiilor īn cazul frecventelor ridicate.
Traductoarele de viteza de tip motor liniar permit o deplasare maxima de 50 mm, cu o sensibilitate de 5 mv/m/s si liniaritate de 1 %.
Īn practica se urmareste de obicei masurarea vitezei de rotatie (cazul actionarilor electrice), vitezele liniare fiind convertite īn viteze unghiulare pe baza relatiei:
v = w·R (3.15)
unde: v - viteza liniara; w - viteza unghiulara; R - raza de rotatie.
Tahogeneratoarele, sunt traductoare de turatie (generatoare de curent continuu sau alternativ) care genereaza un semnal de tensiune proportional cu viteza unghiulara.
Tahogeneratoarele de curent continuu sunt minigeneratoare
de curent continuu cu excitatie
E = w·k·Ф (3.16)
unde: w - pulsatia; Ф -
fluxul magnetic creat de magnetii permanenti; k -
Īn cazul tahogeneratoarelor de curent continuu, tensiunea generata de acestea este de ordinul 2 ÷ 10 V/ 1000 rot/min, avānd o aplicabilitate restrānsa.

Tahogeneratoarele
de curent alternativ, sunt minigeneratoare sincrone monofazate,
rotorul acestora fiind īn mod
obisnuit un magnet permanent. Tensiunea generata de acestea este redresata
si filtrata, de obicei cu blocuri de cuadripoli de care va trebui
sa tinem cont la exprimarea functiilor de transfer, filtrele
fiind īn general cuadripoli de tipul trece jos.
Pentru cazul īn care puterea (cuplul) transmisa este redusa se poate utiliza si traductorul realizat pe principiul motorului bifazat, reprezentat schematic īn figura 3.18. La acest traductor, una din īnfasurarile statorice se alimenteaza īn curent alternativ, axul rotorului fiind antrenat de dispozitivul a carui viteza w se masoara. Tensiunea generata īn a doua īnfasurare e va fi proportionala cu w, iar pentru o inertie mica se realizeaza constructiv cu rotor sub forma de pahar. Prezinta o sensibilitate de circa 1 mV/rot/min, caracteristica statica este liniara pe un domeniu de turatii larg (0 ÷ 18.500 rot/min) iar, folosind constructii speciale se pot masura turatii pāna la 30.000 rot/min [15], fiind realizate la frecvente de 50 Hz sau 500 Hz.
Pentru cazul masurarii vitezelor, functiile de transfer ale tahogeneratoarelor se reduc la valoarea constantei de proportionalitate, adica īn raport cu pozitia unghiulara, acestea sunt de forma:
Y(s)= K·s (3.17)
rezultānd un element pur derivativ. Aceasta proprietate, de element pur derivativ, īsi gaseste aplicatii īn mod deosebit la sistemele de reglare a pozitiei prin realizarea unor reactii suplimentare [5].
Actual, un numar mare de traductoare de turatie se realizeaza prin impulsuri, functionānd pe principiul reluctantei variabile, cu curenti Foucault sau pe pincipii optice (cazul efectului stroboscopic sau cazul reflexiei unui fascicol luminos).
Principial, dupa [23] īn figura 3.19.a. se prezinta un traductor de turatie cu senzorul magnetic βSM 230, iar īn figura 3.19.b. un traductor realizat cu senzorul de proximitate TCA 105N., pentru turatii cuprinse īntre 100 ÷ 30.000 rot/min. Precizam

faptul ca traductoarele
optoelectronice pot fi utilizate la turatii foarte mari, atingānd chiar 107
rot/min.
Cu precizarea
ca, circuitele de masurare pentru traductoarelor cu impulsuri sunt
frecventmetre, turatia este multiplicata cu un numar egal
cu numarul fantelor sau dintilor (repere de marcare), putāndu-se
masura cu precizie buna chiar si turatiile mici.
O
solutie intere-santa pentru masura-rea vitezelor de rotatie
o prezinta puntea tahometrica, cu preci zarea ca aceasta se poate utiliza, cu anumite rezerve,
la masurarea vitezei de rotatie a motoarelor de curent continuu.
Sche-ma de principiu a ,,puntii tahometrice'' este redata
principial īn figura 3.20.a.b., tensiunea de reactie (rotorica)
Comportarea puntii tahometrice īn regim stationar [54] constant ne duce la concluzia ca ramān valabile relatiile:
ua= eM+(R1+Ra)·ia; eM=Ke·w
uR2= ia·R1+uu; uR2=R2·ua/(R2+R3) (
Rezulta ca:
cu precizarea ca Ra este rezistenta rotorica, iar eM este tensiunea electromotoare generata.
Daca vom lua īn considerare ca R1/Ra=R2/R3 se obtine:
Luānd īn considerare relatiile (2.18), comportarea īn regim dinamic a puntii tahometrice va fi data de:
sau se poate scrie:
unde: T'a=La/(Ra+Ra), La - inductanta rotorica; Ra - rezistenta rotorica.
Prin
alegerea adecvata a rezistentei R1 si prin filtrarea
semnalului de reactie cu o
(3.23)
Īn tehnica de masurare a acceleratiilor se pot utiliza accelerometre: piezoelectrice (de compresie, de forfecare, de forfecare, cu lama īn consola); piezorezistive (cu amplificator mecanic, cu timbre tensometrice, cu fibre optice) si cu reactie, acestea urmānd a fi prezentate foarte sumar īn cele ce urmeaza [23].
Sensibilitatea acestor traductoare poate fi exprimata prin:
- sensibilitatea de sarcina
[pC/m·s2] (3.24)
- sensibilitatea
de tensiune:
[mV/m·s2]
sau [mV/g] (3.25)
(g - acceleratie gravitationala)
Accelerometre piezoelectrice de compresie, figura 3.21. se realizeaza constructiv dintr-o piesa a carei vibratie se masoara si o placa de baza 1 care reprezinta suportul a doua pastile piezoelectrice 2 pe care se plaseaza masa seismica ms. Pretensionarea sistemului este realizata cu ajutorul resortului 3, īntreg ansamblu fiind introdus īn carcasa 4 si prevazut cu mufa de conectare 5.
Traductoarele piezoelectrice sunt robuste, preiau undele longitudinale, au o frecventa de rezonanta ridicata, dar, prezinta si o sensibilitate transversala ceea ce face ca sensibilitatea totala sa varieze īn functie de unghiul de orientare īntre o valoare maxima si minima. Pentru reducerea influentei sensibilitatii transversale, pe traductor se marcheaza directia pe care aceasta este minima, fiind necesara respectarea acesteia la montare.
Accelerometre
piezoelectrice de forfecare sunt realizate constructiv sub forma
cilindrica curent alternativ īn figura 3.22. sau sub forma
prismatica triunghiulara. Sunt prevazute cu o placa de
baza 1, pastila piezo de forma cilindrica 2 care se fixeaza
cu adezivul conductor 3, masa seismica ms 4 si carcasa 5.
La aceste traductoare, vibratiile produc unde de forfecare īn pastila piezoelectrica. Comparativ cu accelerometrele de compresie, sensibilitatea acestor traductoare este redusa la variatii de temperatura si tensiuni mecanice din piesa de baza, prezentānd o anumita fragilitate.
Functioneaza pe principiul modificarii rezistentei sub actiunea unei deformatii a unor timbre tensometrice. Principial, un astfel de accelerometru se realizeaza (figura 3.23.) din masa seismica 1, suspendata de lama elastica 2 īncastrata īn suportul 3, deformatia acesteia fiind masurata cu timbrele tensometrice 4.
Deoarece banda de frecvente īncepe
de la zero, la masurare pot sa apara derive termice, modulului
de elasticitate si amortizarii.iar modificarea temperaturii duce la
variatia modulului de elastcitate si a amortizarii.
Aceste accelerometre se utilizeaza ca traductoare de joasa frecventa precum si la masurarea acceleratiilor constante (īn cazul vehiculelor), la frecvente īn banda 0 ÷ 1000 Hz cu domeniul de masurare (1 - 500)·g.
Fata de accelerometrele piezoelectrice, cele piezorezistive prezinta avantajul unei impedante echivalente redusa, sunt mai putin sensibile la influentele exterioare, banda de frecvente īncepe de la zero, dar sunt mai putin sensibile deoarece īn circuitele de masurare s-ar putea sa apara deriva de zero de natura termica sau mecanica.
Precizam ca exista si alte variante īmbunatatite, iar circuitele de masurare sunt cele utilizate la timbrele tensometrice.
Traductoare cu fibre optice,
figura 3.24, au īn componenta placa de baza 1, masa
seismica 2, lama elastica 3. Pe partea mobila (2,3) sunt plasate
fibre optice multimod (receptor 4, emitator 5) ultimul preluānd
fluxul luminos de la sursa 6. De masa
seismica este legata rigid bara 7.
Fluxul de lumina receptionat va depinde de pozitia relativa dintre cele doua fibre optice, avānd o caracteristica de transfer Gaussian [46] si se constata posibilitatea obtinerii unei variante diferentiale a traductorului, obtinānd sensibilitati foarte mari.
Un accelerometru cu reactie este reprezentat principial īn figura 3.25., acesta fiind realizat dintr-un magnet permanent 1 care creeaza un cāmp magnetic intens īn care se plaseaza un cadru mobil bobinat 2 (cazul dispozitivelor magneto-electrice). De acest cadru se leaga solidar, printr-o tija, masa seismica 3. Datorita vibratiilor, a caror directie este perpendiculara pe axul cadrului mobil, se produce o deplasare a masei seismice care roteste cadrul, rotire ce va fi sesizata de traductorul de unghi - α. Dupa o eventuala prelucrare, acest semnal este amplificat prin A si readus īn cadru sub forma unui curent de reactie ce va da nastere la un cuplu activ care aduce cadrul mobil la pozitia initiala.
Aceste accelerometre lucreaza īn
banda de frecvente reduse, uzual 0 ÷ 100 Hz, īntr-un domeniu de
ordinul 10·g, dar, prezinta o rezolutie ce atinge 10-6·g.
Se utilizeaza destul de putin, deoarece sunt foarte fragile si au un pret de cost ridicat.
Denumirea acestora este o prescurtare a expresiei ,,self synchronous mashine'' si servesc atāt pentru transmiterea la distanta a unor pozitii unghiulare cāt si pentru ,,telecomanda'' rotatiei unui organ greu accesibil ce executa o viteza de rotatie [21,55, 56]. Din punct de vedere constructiv, selsinul este practic un generator sincron, adica dispune de trei īnfasurari statorice decalate la 1200 si o īnfasurare rotorica monofazata. Comparativ cu generatoarele sincrone, rotorul selsinelor este alimentat īn general cu tensiune alternativa de frecventa industriala (50 Hz), iar, īn cazul unor
constructii speciale, la frecventa de 500 Hz.
Datorita fluxului creat de
īnfasurarea rotorica (figura 3.26.) se vor induce tensiuni
electromotoare īn fiecare din īnfasurarile statorice,
amplitudinea acestora

depinzānd de pozitia relativa ocupata de
īnfasurarea rotorica īn raport cu pozitia
īnfasurarii statorice.
Considerānd ca Er este amplitudinea tensiunii rotorice si α reprezinta unghiul īntre cāmpul rotoric creat de aceasta cu axa īnfasurarii 1, amplitudinea tensiunilor induse īn cele trei īnfasurari vor fi:
E1=Er·cosα; E2= Er·cos(α+2p/3); E3= Er·cos(α-2p (3.26)
cu mentiunea ca aceste tensiuni vor fi alternative si de aceeasi frecventa cu a tensiunii rotorice.
Pentru transmiterea la distanta a unei pozitii unghiulare α a rotorului cuplat la dispozitivul a carui pozitii se masoara se va utiliza schema de legaturi indicata īn figura 3.27., utilizānd doua selsine. Īn cazul īn care īntre pozitia rotorului αg a selsinului generator si αm a selsinului motor va exista o diferenta, datorita curentilor de circulatie ce apar, rezulta un cuplu motor a carui valoare e data aproximativ de:
(3.27)
cuplu ce se anuleaza numai īn cazul īn care αg=αm. Rezulta ca αm va reproduce pozitia dispozitivului condus αg.
Cu precizarea ca utilizānd aceasta schema, se poate realiza si regimul de urmarire a rotatiei unui element la care accesul vizual nu este posibil.
Selsinele au o comportare dinamica ideala la masurarea pozitiei unghiulare dar, trebuie tinut cont si de posibilitatea unor īntārzieri ce apar datorita mecanismului de antrenare al rotorului, inertia acestuia fiind practic neglijabila.
Vibratiile reprezinta miscari oscilatorii īn jurul unui punct caracterizat prin amplitudine, viteza, acceleratie, frecventa iar, socurile reprezinta miscari īn forma de impulsuri singulare cu durata scurta fiind descrise de anumite legi de variatie īn timp sau mai simplu, prin valori cinematice maxime.
Vibratiile sunt de joasa sau īnalta frecventa, libere sau īntretinute, amortizate sau neamortizate, deterministice sau aleatoare, de translatie, torsiune, īncovoiere, etc.
Īn principiu, vibratiile se masoara prin cei trei parametri ai acestora, adica: amplitudine, viteza sau acceleratie, prin cunoasterea carora se pot determina si ceilalti parametri (prin derivare sau integrare). Īn practica se prefera solutia de integrare (derivarea duce de obicei la intensificarea perturbatiilor de īnalta frecventa), prin masurarea acceleratiei care prezinta si avantajul ca nu este necesar un anumit sistem de referinta.
Īn practica, masurarea vibratiilor se face prin forta ce actioneaza asupra unei mase seismice din componenta unor traductoare seismice.
Principial,
dupa figura 3.28. traductoarele seismice sunt traductoare mecanice de tip
inertial compuse din: carcasa 1; placa de baza 2; resortul 3 cu
constanta elastica k; masa seismica m 4; dispozitivul de amortizare 5
cu factorul de amortizare c, traductorul īn ansamblu fiind un sistem mecanic de
ordinul II, i - marimea de intrare, e - marimea de iesire.
Ecuatia de miscare a masei seismice īn domeniul timp este:
(3.28)
Cu precizarea ca membrul drept al acestei relatii reprezinta forta inertiala, īn functie de relatiile existente īntre coeficientii m, c, k īn [10] sunt tratate cazurile: masa
seismica mare,
resoarte slabe (vibrometre); resort
rigid, masa si coeficient de amor-tizare neglijabile (accelerometre);
coeficient de amortizare mare, masa si
Traductorul seismic poate fi descris
functional si īn domeniul frecventa, prin aplicarea
transformatei
(3.29)
unde:
- pulsatia
proprie de rezonanta mecanica;
- factor de
amortizare.
Daca w >> w , atunci e >> i, traductorul se poate utiliza ca vibrometru, fiind realizat constructiv cu masa mare si suspensie moale.
Daca w << w , relatia (3.29) devine:
(3.30)
ceea ce ne arata ca marimea de iesire este proportionala cu acceleratia, traductorul
ceea ce ne arata ca marimea de iesire este proportionala cu acceleratia, traductorul functionānd ca accelerometru seismic, constructie ce presupune o masa seismica redusa si o suspensie tare.
Functionarea traductorului seismic ca vibrometru impune utilizarea unui filtru trece-sus, constructiv putānd reduce amortizarea sau creste masa seismica prin aceasta scazānd sensibilitatea.
Īn cazul accelerometrelor e necesar sa utilizam un filtru trece-jos, iar cresterea frecventei maxime de functionare devine posibila prin micsorarea masei sau cresterea amortizarii. Aceasta solutie are avantajul reducerii gabaritului, dar, trebuie tinut cont de faptul ca sensibilitatea scade cu patratul frecventei. Totodata cresterea amortizarii are ca efect largire benzii de frecventa, prezentānd dezavantajul unui defazaj suplimentar ce face dificila analiza nodurilor de vibrare si a socurilor.
Īn mod obisnuit, ca unitate de masura pentru acceleratii se foloseste m/s2 sau acceleratie gravitationala g=9,81 m/s2, iar punerea īn evidenta a deplasarii masei seismice se face cu traductoare adecvate de deplasare, viteza sau presiune (forta).
Principalele marimi mecanice masurate īn tehnica sunt cele specifice constructiilor mecanice din care deriva si alte marimi specifice: masa, duritatea, tensiunea mecanica, alungirea relativa, modulul de elasticitate, presiunea s.a. La masurarea marimilor mecanice pot fi utilizate traductoarele specifice, dar si traductoarele de deplasare care au īn componenta un element elastic ce capteaza forta sau momentul si le transforma īntr-o deplasare.
Totodata este necesar sa se acorde o atentie deosebita pentru reducerea la minim a riscurilor unor deformari accidentale, cum ar fi flambajul, adica īndoirea structurii la o compresie axiala, precum si alegerea unor variante de masurare diferentiale.
Īn cele ce urmeaza, vom prezenta foarte succint traductoarele pentru marimi mecanice de tipul: elastice (de tractiune - compresie; de īndoire; de taiere; cu sageata mare; de cuplu); tensometrice rezistive; magnetostrictive; de forta cu masurarea deplasarii de cuplu, fara a insista asupra circuitelor de masurare, conversie sau adaptare, acestea prezentāndu-se separat.
Traductoare elastice de cuplu functioneaza īn general pe principiul masurarii deformatiei produse de cuplu asupra unor traductoare mecanice. Aceste traductoare pot avea forma de cilindru plin, tub sau bara patrata, reprezentate schematic īn figura 3.29. a), b), c).

Notānd
cu M - cuplul transmis axial, G - modulul de rigiditate, unghiul de torsiune
θ si tensiunea maxima, cu notatiile din figura sunt
date de relatiile:
- cilindru plin:
(3.31)
- tub:
(3.32)
- bara patrata:
(3.33)
Precizam ca, tensiunea mecanica maxima nu trebuie sa depaseasca 2/3 din tensiunea mecanica limita de forfecare iar īn cazul īn care pe lānga forfecare mai apare si fenomenul de īndoire a axului, ceea ce duce la erori suplimentare, lungimea axului trebuie redusa, ceea ce īn final duce la scaderea sensibilitatii.
Aceste traductoare [10, 20, s. a.] functioneaza pe efectul tensorezistiv descoperit de lordul Kelvin īn 1856, efect ce consta īn modificarea rezistentei electrice īn functie de tensiunea mecanica, prin modificarea lungimii, sectiunii si rezistivitatii electrice r. Aplicatiile industriale ale efectului tensometric īsi fac aparitia mult mai tārziu, abia prin anul 1920.
pot fi realizate īn doua variante: cu filament semiconductor (figura 3.30.a.) si difuzate (figura 3.30.b.). Īn primul caz, filamentul semiconductor , care este decupat chimic sau mecanic dintr-un monocristal semiconductor cu lungimi pāna la un milimetru si grosimi de ordinul 10-2 mm, este conectat la doua conductoare si montat pe suport .
Īn cazul traductoarelor difuzate (obtinute prin difuzia unor impuritati īntr-o zona a unui substrat de silicon mono-cristalin) se poate observa ca apare si o dioda semiconductoare care trebuie polarizata invers īn circuit. Acest lucru permite realizarea unei configuratii de 4 traductoare montate īn punte cu aplicabilitate simpla īn tehnica circuitelor integrate, cu mentiunea ca rezistivitatea, īn cazul cristalelor de siliciu, creste pāna la temperaturi de aproximativ 120 0C, dupa care aceasta se reduce.
Datorita deformarii suportului, rezistenta R a timbrelor tensometrice se va modifica atāt din cauza lungimii l cāt si a sectiunii s, respectiv a rezistivitatii electrice r. Prin aplicarea diferentialei totale a logaritmului rezistentei [23, 30], prin trecerea concomitenta la diferente finite, sensibilitatea acestor traductoare este data de:
(3.34)
Luānd īn considerare un conductor rotund cu diametrul d, sectiunea acestuia variaza prin intermediul diametrului, care, la rāndul sau depinde de variatia lungimii dupa relatia:
(3.35)
m fiind coeficientul lui Poisson cu valori cuprinse īntre 0,2 ÷ 0,4. Fenomenul piezorezistiv este pus īn evidenta prin termenul Dr r care este proportional cu variatia volumului V, adica:
(3.36)
c fiind constanta lui Bridgman, cu valori aproape unitare pentru metale, +100 pentru semiconductoare "p" si -100 pentru semiconductoare "n". tinānd cont ca V=p·d2·l/4, relatia (3.35) devine:
(3.37)
k reprezinta sensibilitatea relativa, care pentru c si m date are valoarea k ≈ 2 la traductoare metalice, k ≈ ± 100 la traductoarele semiconductoare īn functie de tipul semiconductorului "p" sau "n".
Trebuie retinut faptul ca, pe lānga sensibilitatea longitudinala manifestata īn lungimea firului, apare si o sensibilitate transversala kt:
(3.38)
unde Rl este rezistenta firului pe portiunea longitudinala, iar Rt pe portiunea transversala. Sensibilitatea transversala este cu atāt mai mica cu cāt Rt<<Rl, nedepasind 2% din cea transversala. Din acest motiv, la traductoarele cu folie, portiunile transversale sunt mari.
Referitor la influenta temperaturii, se produc concomitent trei fenomene: dilatarea piesei, dilatarea firului traductorului si modificarea rezistentei acestuia. Alegānd convenabil materialele, devine posibila compensarea acestor efecte (realizare dificila īn practica) prin compensarea erorilor cu temperatura utilizānd montaje diferentiale sau montaje compensate termic.
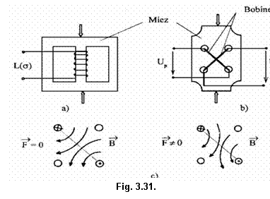
Sub actiunea unui cāmp magnetic, substantele magnetice īsi modifica geometria (dimensiunile) precum si unele marimi de natura mecanica, mai precis, modulul de elasticitate. Acest fenomen este reversibil, ceea ce ne arata ca se produce o modificarea a curbei de magnetizare, implicit a permeabilitatii magnetice sau inductiei remanente, sub actiunea unor tensiuni mecanice. Aceasta interac-tiune dintre momentele magnetice elementare si reteaua cristalina, reprezinta proprietate de magnetostric-tiune a substantelor magnetice.
Pe baza acestei proprietati s-au realizat traductoare de forta la care variaza fie permeabilitatea magnetica, fie inductia remanenta.
Avānd
la baza principiul variatiei permeabilitatii magnetice, īn
figura 3.33. se prezinta doua traductoare magnetostrictive (a - de
inductivitate proprie; b - de inductivitate mutuala; c - aspectul liniilor
de cāmp).
Traductorul din figura 3.31.a. se realizeaza sub forma unei inductivitati cu circuit īnchis. Proportional cu tensiunea mecanica (efortul s), apare o variatie relativa a permeabilitatii magnetice care se transforma īntr-o variatie relativa a reluctantei magnetice. Īn final apare o variatie relativa a inductivitatii data de:
DL/L = k·s (3.39)
Ca dezavantaje ale acestor traductoare putem mentiona:
- reproductibilitate redusa, fiind necesara reetalonarea periodica;
- sensibilitatea scade cu cresterea frecventei, depinzānd de amplitudinea curentului de excitatie fiind necesar a stabili regimul optim de functionare pentru fiecare traductor īn parte;
- sensibilitatea caracteristicii scade cu cresterea temperaturii cu circa 0,1%/ 0C si prezinta histerezis;
- īntrefierul reduce sensibilitatea traductorului putānd chiar sa o anuleze.
Īn cazul traductoarelor cele mai utilizate, realizate din aliaje de feronichel, domeniile de masurare sunt de ordinul 50·106 N/m2, cu o sensibilitate de ordinul 2·10-9 m2/N.
Traductoarele
de inductivitate mutuala (figura 3.31.b.) sau de tip transformator sunt
realizate dintr-un material magnetic omogen, practicāndu-se patru orificii īn
vārful unui patrat, pe suprafata compacta a acestuia, orificii
īn care se realizeaza doua bobinaje cu axele perpendiculare.
Daca una din īnfasurari se alimenteaza cu Up
(tensiune primara), īn lipsa unei deformatii (tensiuni) mecanice,
materialul magnetic fiind izotrop, īn cea de-a doua īnfasurare nu va
aparea tensiune electrica
Traductoarele magnetostrictive ce functioneaza pe principiul variatiei inductiei remanente, prezentate principial īn figura. 3.32., īsi modifica inductia magnetului permanent la solicitari mecanice dupa relatia:
(3.40)

k fiind o
(3.41)
Prin integrarea acestei relatii, se vor obtine informatii asupra tensiunii mecanice s
Traductorul prezentat are dezavantajul unei robustete mecanice ridicate, are o impedanta electrica mica, este sensibil la variatii de temperatura. Totodata se impune limitarea frecventei maxime a marimii de masurat, aceasta trebuind sa fie mai mica decāt frecventa de rezonanta mecanica.
Aceste tipuri de traductoare prezinta o complexitate ridicata, functionānd pe principiul transformari succesive a marimilor, prin transformarea fortei F īntr-o deplasare Dl cu ajutorul unui traductor elastic, deplasarea care la rāndul sau este masurata cu un traductor electric.
Notānd
u - tensiunea la iesirea circuitului de masurare avem:
(3.42)
unde u/Dl reprezinta functia de transfer a traductorului electric cu circuitul sau de masurare.
Dupa cum s-a aratat, traductoarele electrice de deplasare pot fi rezistive, capacitive sau inductive, ultimele avānd o utilizare mai frecventa .
Principial, īn figura 3.33. se prezinta un traductor inductiv diferential de tip transformator: 1 - tija; 2 - arcuri spirale; 3 - īnfasurari; 4 - distantier; 5 - miez magnetic.
Traductoarele de elastice utilizate (arcuri spirale, inele dinamometrice, console)
prezinta deformatii mari pentru sarcini mici si sunt prevazute cu opritoare (limitatoare) de deplasare mecanica pentru a nu deteriora la suprasarcini accidentale.
Miezul magnetic plasat pe axa tijei mobile asupra careia actioneaza forta F, se pozitioneaza īn raport cu īnfasurarile traductorului cu ajutorul celor doua arcuri cu sensul de īnfasurare opus, īn scopul compensarii erorilor de temperatura.
Tensiunea de iesire nominala poate fi de ordinul 1V la tensiuni de alimentare de cātiva volti, frecventa de lucru atinge ordinul kilohertzilor, iar domeniul de masurare al acestor traductoare este de circa ±1 daN pentru deplasari de ±0,5 mm.
Īn
cazul traductorului de cuplu asociat cu traductorul inductiv diferential,
prezentat īn figura 3.34., pe arborele - 1 cu diametrele diferite D si d,
sunt plasate la o distanta l fata de suprafata de
separare a sectiunilor, bobinele - 2 si circuitul magnetic - 3.
Solidar cu sectiunea de diametru mai mare a arborelui se fixeaza o armatura mobila - 4, a carui pozitie este perfect simetrica īn raport cu bobinele daca nu apare un cuplu. Cānd arborele este supus unui cuplu va avea loc o deplasare a armaturii mobile datorita deformarii acestuia, modificāndu-se cele doua inductivitati ale bobinelor. Trebuie precizat faptul ca daca apare si un cuplu de īncovoiere, acesta nu influenteaza masuratorile.
Traductoarele optoelectronice de cuplu functioneaza pe principiul schemei prezentate īn figura 3.35., pe arbore fiind plasate la o anumita distanta d, doua discuri perforate cu fante transparente si opace. Īn practica exista doua posibilitati de masurare:
- Cu modulatie de amplitudine,
caz īn care sursa de lumina S si fotodetectorul FD sunt plasate īn
afara sistemului si, deoarece zonele transparente aferente celor doua
discuri sunt plasate decalat cu 1/4 din perioada geometrica, va rezulta,
īn absenta cuplului daca arborele se roteste, o succesiune de
impulsuri cu durata de 1/4 din perioada. La aparitia unui cuplu,
datorita rasucirii arborelui, se produce o modificare a pozitiei
relative a planelor celor doua discuri si implicit a
latimii impulsurilor, marimea masurata fiind data
ca o valoare medie a semnalului de la iesirea fotodetectorului FD.
Datorita faptului ca fluxul luminos al sursei nu este constant (la becuri
cu incandescenta fiind proportional cu puterea a cincea a
tensiunii de alimentare) este necesara calibrarea īn amplitudine a
impulsurilor la fotodetector.
- Cu modulatie de faza, caz īn care sursa S se plaseaza īntre cele doua fotodetectoare FD1 si FD2 asezate de o parte si de alta a discurilor. Īn cazul rotirii arborelui si transmiterii cuplului prin acesta, datorita modificarii pozitiei relative a celor doua discuri, va aparea un defazaj suplimentar īntre semnalele produse de cele doua fotodetectoare, defazaj care este proportional cu cuplul transmis.
Este necesar sa precizam ca traductoarele bazate pe metode optice se pot utiliza numai īn regim dinamic (arborele este īn rotatie) si, spre deosebire de metodele prezentate anterior nu necesita contact īntre arbore si partea de masurare.
Īn cazul traductoarelor de cuplu cu timbre tensometrice sau traductoare inductive, la rotirea arborelui, este necesara realizarea unor legaturi electrice īntre circuitele de masurare si traductoare, care īn principiu pot fi cu contact sau fara contact.
Pentru realizarea legaturilor electrice cu contact este necesara utilizarea unor inele si perii colectoare sau contacte īn baie de mercur. Rezistenta de contact a acestora este variabila si depinde de oscilatiile vitezei, asperitatea suprafetei de contact si a vibratiilor, variatie cu valori de 5 ÷ 50 mW pentru inele , perii si de 0,25 mW pentru contacte īn baie de mercur [23]. Īn cazul unor materiale de natura diferita ce intra īn contact pot sa apara si tensiuni termoelectromotoare din cauza cresterii temperaturii locale si a frecarii, aceste fenomene ducānd īn acelasi timp la reducerea timpului de viata si limitarii vitezei maxime de rotatie. Se considera ca viteza liniara maxima la nivel de contact este de circa 25 m/s, la viteze mai mari fiind necesare dispozitive suplimentare pentru racire.
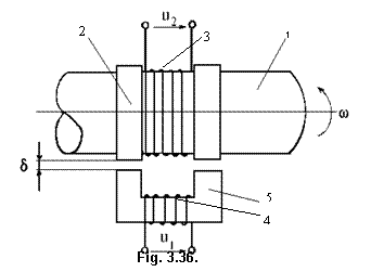
Varianta actuala de legatura fara contact cea mai utilizata este cea prin care se face uz de transformatoare rotitoare, metoda prezentata principial īn figura 3.36.
Pe arborele magnetic - 1 se plaseaza doua inele magnetice - 2 cu ajutorul carora se īnchide circuitul magnetic al armaturii fixe prin intermediul celor doua īntrefieruri δ. Pe armatura fixa, respectiv pe cea mobila (arbore) sunt plasate īnfasurarile - 3, 4 ale transformatorului.
Datorita
dependentei induc-tivitatii de cuplaj cu marimea
īntrefierului, acesta trebuie menti-nut constant, conditie dificil de
realizat tehnologic. Daca traduc-toarele se monteaza pe arbore, este
necesar sa existe doua cai de transmitere a informatiei,
una prin care se transmite semnalul de alimentare, alta prin care se va culege
informatia de masurare.
Īn cazul īn care, pentru cele doua cai se folosesc semnale cu frecvente diferite, se poate face uz de un singur transformator rotitor, caz īn care se elimina si defazajul generat de modificarea īntrefierului.
Īn functie de domeniul presiunilor de masurat, elementele sensibile ale acestor traductoare difera. Trebuie precizat faptul ca presiunea poate fi absoluta, atunci cānd se masoara īn raport cu vidul absolut, relativa sau efectiva, daca masurarea se face ca o diferenta fata de presiunea atmosferica si diferentiala, atunci cānd masurarea se face īn raport cu o presiune considerata ca referinta.
Unitatea de masura a presiunii este pascalul (1 Pa = 1 N/m2), īn tehnica preferāndu-se barul ( 1 bar = 10 3 Pa) dar, se folosesc si alte unitati derivate ca: atmosfera fizica (1 atm reprezinta presiunea hidrostatica echivalenta a unei coloane de mercur cu densitatea de 13,595 g/cm3, cu īnaltimea de 760 mm, la acceleratia gravitationala g = 980,666 cm/s2); milimetrii coloana de mercur ( 1 mm Hg = 1 torr - presiunea hidrostatica a unei coloane de mercur cu īnaltimea de 1 mm , īn conditiile anterioare; mm coloana apa (1 mm H2O reprezinta presiunea hidrostatica echivalenta unei coloane de apa cu īnaltimea de 1 mm).
Precizam ca, presiunea normala , luata ca referinta īn tehnica - presiunea exercitata de o coloana de mercur cu īnaltimea de 735,56 mm (echivalentul unei atmosfere tehnice) - , difera de presiunea atmosferica normala , care corespunde presiunii hidrostatice echivalente unei coloane de mercur cu īnaltimea de 760 mm la 00 C si g = 980,666 cm/s2.
Domeniul presiuilor din tehnica este deosebit de vast, metodele de masurare [20, 51] fiind specifice doar pentru anumite intervale ilustrate īn figura 3.39.
Principiul de functionare al
traductoarelor de presiune (elementele sensibile ale acestora) consta īn general, īn convertirea unei
presiuni īntr-o deplasare liniara care, la rāndul sau este convertita
īntr-o variatie de tensiune cu ajutorul unui montaj potentiometric.
Daca vom nota tensiunile ca īn figura 3.40., tensiunea de iesire din
traductorul de presiune (marimea de executie va fi data de
relatia cunoscuta:
(3.44)
3.7.1. Elemente elastice
Ca elemente sensibile, īn tehnica, pentru masurarea presiunilor se utilizeaza:

burdufurile metalice ondulate
(gofrate), camerele cu membrana si tuburile Bourdon.
Burdufurile metalice ondulate (silfoane), realizate dintr-un material elastic cunoscut tehnic sub denumirea de tombac sau din otel obisnuit, au proprietatea de a-si modifica dimensiunile sub actiunea unei presiuni, fiind reprezentate īn doua variante posibile de figura 3.38. In cazul īn care e necesara masurarea unei presiuni absolute sau diferentiale, se utilizeaza folosirea unor baterii de burdufuri montate īn opozitie [21]. Camerele cu membrana , cunoscute si sub denumirea de membrane gofrate, se executa īn general dintr-un aliaj de bronz si beriliu sau din oteluri inoxidabile. Functionarea membranei (figura 3.39.) este similaru a burdufului ondulat, adica sub actiunea unei presiuni se va produce deformarea acesteia, ceea ce duce la convertirea unei presiuni īntr-o variatie de deplasare liniara. Tuburile Bourdon se executa īn general din alama arcuita, cunoscuta sub numele de "tombac" , sub forma unui tub cu sectiune ovala, eliptica sau semisfera (figura 3.40.a.b.c.), cu un capat rigid la care se aplica presiunea de masurat. Celalalt capat (liber) se va deforma sub actiunea presiunii, realizānd fie o deplasare liniara, fie una unghiulara (cazul manometrelor), putānd fi prevazute cu contacte electrice de minim si maxim (cazul presostatelor). Sensibilitatea maxima a tuburilor Bourdon se obtine pentru cele cu sectiunea semisferica, pentru precizari suplimentare si calcule recomand [51].
Traductoarele de presiune prezentate
au o sensibilitate relativ redusa, precizia lor fiind
influentata de vibratii si socuri, temperatura,
umiditate existenta derivei de zero, etc. Durata de viata a
acestor traductoare este influentata de ciclurile de functionare
si suprasarcinile la care sunt supuse [21], fiind totusi
traductoarele de presiune cele mai utilizate.
Comportarea
dinamica a acestor traductoare este īn concordanta cu a
elementelor de tip P1,
Pentru
cazul presiunilor foarte mari (sute sau mii de daN/cm2) se folosesc traductoare de presiune
speciale, una din variante fiind reprezentata principial īn figura 3.41.
Elementul sensibil este executat de obicei din otel inoxidabil care, sub
actiunea unei presiuni este supus unei dilatari. Acest lucru va duce
la variatia lungimii unui fir rezistiv bobinat, adica la
variatia rezistentei electrice a acestuia.
Cu ajutorul unui montaj potentiometric sau cu o punte de masura, variatiile de presiune sunt preluate sub forma unor semnale de tensiune electrica.
3.7.2. Traductoare electrice asociate
Traductoarele electrice asociate pentru masurarea presiunilor [23] ce folosesc elemente sensibile elastice pot fi: tensometrice; inductive; capacitive ; electrooptice; piezoelectrice; cu cuart, s.a. Pentru detalii suplimentare recomand si lucrarea [51].
Traductoarele tensometrice rezistive se
utilizeaza prin lipirea acestora direct pe membranele plane sau pe un
subansamblu tija-lama, deformabile sub actiunea unui element
elastic sensibil .
Luānd īn considerare o diafragma circulara īncastrata perfect, membrana si blocul de īncastarare provenind din acelasi material prin prelucrare tehnologica adecvata, cu grosimea g si raza R, ca īn figura 3.42., sub actiunea presiunilor diferentiale p1 si p2. In [23, 51] se arata ca expresiile tensiunii mecanice radiale σr si tangentiale σt sunt date de relatiile:
(3.45)
(3.46)
Daca se reprezinta grafic cele doua relatii, μ fiind coeficientul lui Poisson, se va constata ca distributiile celor doua tensiuni mecanice au semne contrare la marginea membranei īn raport cu zona centrala. Cu aceasta constatare rezulta ca pot fi utilizate patru timbre tensometrice, metodele de masurare fiind aceleasi ca la masurarea deformatiilor. Pozitionarea timbrelor tensometricese face, de obicei, dupa directia radiala, pe motivul ca deformatiile pe aceasta directie sunt mai importante.
Utilizarea traductoarelor inductive devine avantajoasa pentru cazul masurarii unor presiuni mari care, la rāndul lor produc deplasari liniare mari.
In figura 3.43. se prezinta un
schematic un traductor de presiune avānd
asociat un traductor inductiv diferential, pentru masurarea
fara contact a unei presiuni diferentiale, care se compune din:
miezul magnetic - 1; corpul - 2; bobinele - 3 si memebrana - 4. La
aceasta varianta constructiva, membrana
poate
fi si gofrata dar, e recomandabil ca portiunea de mijloc sa
fie plana. De asemenea, pentru
aceasta constructie se pot īntālni doua situatii:
§ &nb 20520r1714u sp; &nb 20520r1714u sp; membrana (uneori si corpul traductorului) este magnetica, traductorul fiind inductiv diferential cu armatura mobila;
§ &nb 20520r1714u sp; &nb 20520r1714u sp; membrana este nemagnetica, traductorul inductiv diferential functionānd pe baza modificarii curentilor Foucault (cazul traductoarelor de proximitate) [23].
Principiul traductoarelor de presiune capacitive, dupa figura 3.44. au la baza urmatoarele elemente componente: membrana - 1; inelul izolator - 2; corpul conductor - 3 si īn interior se creeaza vacuum.
In
acest caz, una din armaturile conden-satorului este chiar membrana
traductorului.
Se arata ca īn functie de valoarea presiunii, capacitatea condensatorului variaza dupa o relatie de forma:
(3.47)
C0 fiind capacitatea
nominala ε0.S/d, pmax. fiind presiunea
maxima de lucru.
Traductoarele electrooptice au o utilizare mai restrānsa fata de cele anterioare, cu toate ca permit eliminarea contactului cu elementul sensibil elastic. In acelasi timp, gabaritul lor este redus (de ordinul milimetrilor), principial fiind reprezentate īn figura 3.45., unde membrana reflecta lumina transmisa printr-o fibra optica de la sursa de lumina, caree e preluata de o alta fibra optica si transmisa fotodetectorului FD. Prin deformarea membranei sub actiunea unei presiuni p are loc o dispersare a fluxului de lumina, ceea ce duce la scaderea fluxului luminos transmis de FD. Acest tip prezinta avantajul amplasarii partii electrice la distanta mare de traductor, reducānd perturbatiile dar, are dezavantajul ca factorul de reflexie se modifica īn timp precum si faptul ca variatiile temperaturii modifica sensibil caracteristicile sale.
3.7.3. Traductoare de presiune cu balanta de forte
Traductorul de presiune cu balanta de forte, prezinta avantajul [23] ca este un montaj cu reactie, schema sa principiala fiind prezentata īn figura 3.46. Presiunea masurata p va actina si deforma membrana elastica, ceea ce va duce la o deplasare a sistemului de pārghii 1-2-3-4-5 care va actiona asupra unui traductor inductiv liniarde tip transformator TI ce intra īn componenta oscilatorului O. Prin modificarea

īntrefierului lui TI, se va
modifica amplitudinea semnalului la iesirea oscilatorului ceea ce va duce
la modificarea tensiunii de iesire din detectorul D , tensiune ce va da un
semnal de comanda convertorului tensiune - curent CTC. Tensiunea de comanda a acestuia va duce
la modificarea curentului sau de iesire, ceea ce va modifica
forta de actionare a electromagnetului EM cu magnetul permanent MP
prin intermediul caruia actioneaza asupra pārghiei 4.
Acelesi curent de comanda se regaseste la miliamper-metrul
mA, fiind debitat prin sursa de alimentare SA. In cazul īn care se
lucreaza cu semnal unificat (4 - 20 mA), pentru alimentarea blocurilor
componente, inclusiv a electromagnetului se va face uz de o sursa
auxiliara de energie Saux.
Fortele ce actioneaza asupra īntregului sistem mecanic sunt: forta activa datorata presiunii p, forta de reactie produsa de electromagnet, forta de tensionare a resortului RO si greutatea pārghiei 2 - G ce culiseaza prin punctul de sprijin RD. Echilibrul se va stabili atunci cānd suma momentelor introduse de fortele indicate este nula.
Datorita faptului ca īn regim de functionare doar fortele datorate presiunii si electromagnetului sunt variabile, la echilibru este valabila relatia:
(3.48)
unde: p - presiunea masurata; S - suprafata membranei; N - numarul de spire ; l - lungimea unei spire; B - inductia magnetului permanent; I - curentul prin bobina electromagnetului si k1,k2 - constante constructive.
Aceste tipuri de traductoare au ca dezavantaje constructia dificila si gabarite mari, precum si faptul ca sunt sensibile la socuri si vibratii.
3.7.4. Traductoare de presiune piezoelectrice
O parte din caracteristicile traductoarelor piezoelectrice au fost prezentate iar, pentru masurarea presiunilor īn practica se pot utiliza variantele:
folosirea īn mod direct a efectului piezoelectric;
dependenta frecventei proprii de rezonanta a cristalului īn raport cu presiunea exercitata asupra acestuia.
Traductoarele bazate pe efectul piezoelectric direct se confectioneaza din materiale pieezoelectrice sau piezoceramice īn forma plata sau cilindrica, presiunea maxima ce poate fi aplicata īn cazul pastilelor de cuart fiind de 9500 barri iar pentru cele piezoceramice de circa 8000 barri. Valorile prezentate trebuie luate la limite maxime, valorile reale fiinde de 1/10 pāna la 1/20 din valorile indicate, aceasta īn functie de interfata dintre electrod si pastila. Exxistenta unor neregularitati īntre cele doua suprafete conduce la tensiuni mecanice mari sau chiar distrugerea pastilelor, pentru un contact bun fiind nesara realizarea unui paralelism īntre suprafete sub 10 μm, cu o abatere a planeitatii sub 1 μm, conditii realizabile printr-o polarizare fina.
Deoarece īntre pastilele piezoelectrice (cazul celor de forma īn rondele) pot sa apara goluri de aer, acestea se vor elimina prin pretensionarea ansamblului cu resoarte, efect ce permite o īmbunatatire a liniaritatii precum si posibilitatea masrarii unor presiuni mai mici decāt cea atmosferica.
Pentru cresterea
sensibilitatii se pot utiliza mai multe rondele ca īn figura 3.47. (1
- diafragma; 2 - pastila piezo; 3 - resort pretensionare), iar pentru reducerea vibratiilor
conectarea acestora se face īn asa fel īncāt sa aiba loc o
īnsumare a presiunii si efectul acestora sa se anuleze, ceea ce e posibil doar daca īn
interfata exista doi
electrozi separati galvanic īntre ei.
Pentru cresterea sarcinii
si simplificarea modului de conectare, este avantajos sa se utilizeze
traductoarele cu element piezoelectric de forma tubulara, reprezentat
schematic īn figura 3.48., care se metalizeaza pe interior si
exterior ( 1 - tub piezoelectric; 2 - rondele). De obicei, acestea sunt
pretensionate si se confecti-oneaza din materiale ceramice (PZT,
titanat de bariu s.a.), iar sarcina electrica produsa sub actiunea unei forte F e data
de:
(3.48)
unde k este modul piezoelectric.
Structura prezentata permite si realizarea racirii traductorului cu ajutorul unui jet de apa trimis īn interior, permite masurarea unor presiuni de la 1 mbar la 100 bari, sensibilitatea este cuprinsa īntre 0,05 pC si 1 pC/bar prezentānd o buna liniaritate. Au dezavantajul ca nu pot fi utilizate decāt īn regim dinamic, cu rezerve īn cel cvasistatic.
Traductoarele prezentate permit masurari de presiuni de 0 - 1 bar, cu frecvente de lucru de ordinul 10 100 MHz, prezinta o eroare de liniaritate, histerezis si repetabilitate sub 250 ppm din domeniul de masurare cu deriva de zero si variatia sensibilitatii sub 100 ppm pentru 10C.
In [23] sunt prezentate si alte traductoare de presiune ce functioneaza pe principiul prezentat ca cele de presiune absoluta cu oscilator cu cuart si cele ce se bazeaza pe utilizarea unor dispozitive cu unde acustice de suprafata (SAW).
3.7.5. Traductoare tactile
Aceste tipuri de traductoare sunt utilizate cu precadere pentru determinarea formei suprafetei unui obiect sau existenta unui obiect īntr-un dispozitiv de prindere dar, permit si controlul fortei (presiunii) cu care se realizeaza prinderea obiectului. Realizarea acestor traductoare are la baza modelul uman dar, trebuie precizat (cazul robotilor) ca la operatorul uman informatia tactila are ca baza de referinta: presiune, temperatura, structura suprafetei (duritate, rugozitate, grad de lubrifiere), vibratii, umiditate, s.a. Senzorii tactili sunt utilzati actual la roboti, facānd uz de: - metode de inductie (au un nivel si interval redus de masurare);
- metode capacitive (impun folosires de dielectrici cu proprietati elastice si izolatoare bune);
- metode ultrasonore (fac uz de proprietatile de propagare a undelor acustice de suprafata).
La nivelul actual, traductoarele
tactile cele mai utilizate sunt cele rezistive, realizate īn forma
matriciala, un element al matricei fiind format din doi electrozi īntre
care se intercaleaza cauciuc moale (polibutadien) care are īn
compozitie elemente conductoare. Prin deformarea cauciucului sub
actiunea unei presiuni se va modifica rezistenta echivalenta a
celulei.
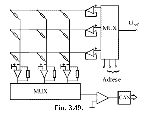
Schema principiala a unui astfel de traductor este prezentata īn figura 3.49. Fiecare element al matricei se conecteaza la o matrice de decodare prin multiplexare (MUX) ce sesizeaza modificarea curentilor din matrice īn raport cu zona solicitata, stabilind īn acelasi timp si coordonatele excitatiei, CAN reprezentānd un convertor analogic numeric.
3.7.6. Traductoare pentru subpresiuni
Pentru masurarea subpresiunilor se utilizeaza vacuumetrele Pirani, traductoarele de vacuum cu ionizare cu catod cald sau rece (Penning), traductoarele cu ionizare prin radiatii (alfatron) si traductoarele de tip magnetron.
Vacuumetrele Pirani sau cu fir cald
functioneaza pe principiul dependentei conductivitatii
termice a gazelor īn raport cu presiunea, fiind relizate principial ca īn
figura 3.50. Astfel, īn corpul - 1 se creeaza subpresiunea de
masurat, īn acesta fiind plasat firul rezistiv - 3 care se
īncalzeste la aproximativ 2000C de la o sursa de
alimentare prin electrozii - 2. Temperatura firului reyistiv depinde practic de
conductibilitatea termica a gazului care, pentru presiuni sub 103
Pa, este direct
proportionala
cu presiunea gazului. Reulta ca valoarea temperaturii firului poate
fi determinata chiar prin valoarea rezistentei electrice a acestuia
(se pot utiliza si alte tipuri de traductoare).
Vacuumetrele Pirani introduc erori de masurare de
ordinul 2 - 10% care cresc cu scaderea presiunii, domniul lor de aplicare
limitāndu-se la 10-1
In cazul unor presiuni din domeniul de vacuum tehnic si vacuum extrem se face uz de traductoarele de vacuum cu ionizare cu catod cald sau rece si cu radiatii.
Principial, īn figura 3.51., se
prezinta un traductor de vacuum cu ionizare cu catod cald. Acesta este
realizat din incinta A īn care se introduce presiunea de masurat, catodul
K īncalzit de un filament si īnconjurat de grila G ce este
alimentata la un potential pozitiv fata de catod si
cilindrul colector C care este alimentat la un potential negativ īn raport
cu catodul.
Cāmpul electric creat de grila antreneaza electronii emisi de catod care, ciocnind moleculele de gaz le transforma īn ioni pozitivi si sunt captati de electrodul colector. Prin masurarea curentului produs de electroni I- din circuitul grilei si curentul ionic I+ din circuitul electrodului colector, se determina valoarea presiunii cu relatia:
(3.49)
k fiind o
Domeniul de masura al acestor traductoare este de 10-2 - 10-8 torri, unele constructii speciale atingānd 10-10 torri, valoarea inferioara fiind impusa de prezenta razelor X.
La traductoarele de ionizare cu catod rece (Penning) electronii se genereaza sub actiunea unui cāmp electric puternic. Pentru a creste probabilitatea de ionizare a moleculelor, ceea ce necesita cresterea drumului parcurs de electroni, peste cāmpul electric se suprapune un cāmp magnetic care imprima o traiectorie elicoidala a acestora. Aceasta varianta duce la sensibilitati mai mari decāt īn cazul traductoarelor cu catod cald, reducānd īn acelasi timp si limita inferioara de masurare.
Traductoarele de vacuum cu ionizare prin radiatii functioneaza pe principiul "bombardarii" moleculelor de gaz cu radiatii α (se mai numesc si alfatron), sensibilitatea lor fiind mult mai redusa ca la cele anterioare.
va modifica valoarea curentului prin electromagnetul EM īn scopul restabilirii echilibrului, adica momentele celor doua forte sunt egale:

(3.62)
unde F1 e forta data de membrana:
(3.53)
iar F2 este forta produsa de electromagnet:
(3.54)
cu k1, k1', k2 - constante; Q - debit; I - curentul prin electromagnet.
In final se obtine orelatie de forma:
(3.55)
ceea ce ne arata o proportionalitate directa īntre curent si debit.
In ansamblu, traductorul prezentat este un sistem cu reactie negativa prezentānd toate avantajele acestor sisteme, erorile de masurare īncadrāndu-se īn limitele ± 0,5%.
3.8.2.
Debitmetre cu sectiune variabila (rotametre)
Schema de principiu a unui rotametru este prezentata īn figura 3.55.,functionarea sa bazāndu-se pe echilibrul plutitorului - 1 actionat de forta gravitationala īn raport cu debitul de fluid si sectiunea varabila a tubului conic- 2. Deplasarea liniara a plutitorului este convertita īntr+un semnal electric prin inter-mediul unui traductor inductiv diferential de deplasare - 3. Rotametrele pot fi utilizate atāt pentru gaze cāt si pentru lichide, cu o precizie de 1 - 2%, pe un domeniu de variatie al debitului relativ restrāns.
Asupra plutitorului, pe lānga greutatea G si forta arhimedica Fa, actioneaza o forta dinamica ascensionala Fas care este proportionala cu patratul vitezei.
Luānd īn considerare o curgere stationara, notānd cu ρ, V, densitatea, respectiv volumul plutitorului si cu ρ0 densitatea lichidului, la echilibru se poate scrie:
(3.56)
unde S e suprafata plutitorului de diametru d, iar k e coeficient de curgere.
Plutitorul se va deplasa īntr-o zona de diametru D, care īn functie de h si un factor de proportionalitate k' e dat de:
D = d + k'.h (3.57)
In aceste conditii, debitul masic Q se poate exprima cu relatia:
(3.58)
rezultānd ca acesta este direct proportional cu cu īnaltimea la care se gaseste plutitorul.
Rotametrele masoara debite de ordinul 10-4 - 200 m3/ora, īn limitele Qmax/Qmin=10 , cu precizii de ordinul procentelor si, trebuie precizat faptul ca introduc rezistente īn curgerea fluidului, rezistente ce pot fi importante īn unele aplicatii industriale.
In exploatare, se mai pot utiliza si debitmetre cu strangulare la care forta dinamica roteste paletele unei turbine, viteza de rotatie a acesteia fiin o masura a debitului. Au dezavantajul unei comportari neliniare si introduc rezistente importante īn curgerea fluidului.
3.8.3. Debitmetre electromagnetice Aceste debitmetre sunt utilizate prin masurarea vitezei de deplasare a fluidelor bune cnducaoare de electricitate, principiul lor de functonare bazāndu-se pe legea inductiei electromagnetice.
In varianta simplificata
prezentata īn figura 3.56., pe un tub nemagnetic (izolator) prin care curge fluidul cu viteza v se
executa o bobina īn aer (exista variante constructive la care
aceasta se executa pe un miez magnetic) si se prevad doi
electrozi E1 si E2. Intre cei doi electrozi se
culege o tensiune electromotoare e
= k.H.v.D unde H e intensitatea cāmpului magnetic creat de bobina, D este
diametrul tubului si k e o
Precizia de masurare este de ± 1% la lichide cu o conductibilitate minima de 100 μS/cm si viteze īntre 0 - 1 m/s pāna la 10 m/s.
3.9. Traductoare de nivel
Masurarea nivelului īn tehnica este o problema deosebit de importanta [62] pentru o serie de procese tehnologice precum si pentru evaluarea stocurilor existente, realizāndu-se pentru granule, pulberi, suspensii, lichide, etc.
Metodele de masurare ale nivelului pot fi continue ānd se urmareste īn permanenta masurarea nivelului prin intermediul lungimii coloanei de substanta si discontinue cānd se urmareste masurarea nivelului īntre anumite limite, de obicei minime si maxīme.
Metodele de masurare ale nivelului pot fi directe, caz īn care se masoara lungimea (īnaltimea) efectiva a coloanei de substanta si indirecte daca nivelul se determina cu ajutorul unor marimi intermediaare (presiune, masa, parametri ai circuitelor electrice, atenuarea unei radiatii, etc.).
Din cele prezentate rezulta ca pentru masurarea nivelului se pot utiliza metode care au la baza masurarea altor marimi, īn continuare īncercānd sa prezentam doar metodele bazate pe proprietatile electrice de material. Vom aminti ca cele mai simple nivelmetre utilizate sunt cele cu sticle cilindrice sau prismatice ce se monteaza pe conducta īn paralel cu rezervorul (recipientul) al carui nivel īl masuram , sau nivelmetrele cu plutitor magnetic.
3.9.1. Nivelmetre bazate pe proprietatile electrice de material
Luānd īn considerare faptul ca materialele al caror nivel se masoara potsa fie dielectrice sau conductoare, rezulta ca metodele de masurare a nivelului difera.
Pentru materialele dielectrice se
folosesc īn mod uzual traductoare
capacitive, prezentate īn schema principiala din figura 3.57. In vasul
metalic - 1, īn care se gaseste lichidul - 2 se plaseaza un
electrod metalic - 3 care īn unele
cazuri este izolat cu teflon - 4.
Daca vom nota cu h īnaltimea vasului si cu y īnaltimea lichidului, īntre electrodul central si vas vom avea capacitatea totala data de[23]:
(3.59)
unde C0 reprezinta capacitatea totala a ansamblului, fara lichid.
Aceasta metoda poate fi
aplicata īn cazul lichidelor sau pulberilor dielectrice daca εr
> 2 [62], variatia de capacitate fiind de 10 - 100 pF. Sursa
principala de erori īn cazul prezentat , o constituie modificarea
permitivitatii dielectrice cu temperatura, deficienta ce
poate fi īnlaturata prin utilizarea de metode de compensare adecvate.
Pentru cazul materialelor conductoare , cu o conductibilitate σ > 10-2 S/m, se pot folosi nivelmetre rezistive, principiul functional al acestora fiind prezentat īn figura 3.58. Astfel, īn vasul - 1 ce contine lichidul - 2, se plaseaza rezistorul R .
1
Lichidul
conductor va sunta o portiune a rezistorului R astfel ca
rezistenta totala din circuit va fi:
(3.60)
r(y) reprezentānd rezistenta ehivalenta a lichidului.
Principalul dezavantaj al acestor
dispozitive deriva din faptul ca temperatura si natura
lichidului influenteaza conductibiliatea σ, fenomen ce poate fi
ameliorat utilizānd un rezistor cu banda elastica, realizānd un
nivelmetru dupa schema de principiu din figura 3.59. Rezistenta
bobinata - 1 se introduce īntr-o
banda elastica buna conductoare - 2 ce se va deforma sub
actiunea presiunii lichidului - 3.
Metodele descrise pot masura nivele pāna la 1-2m, cu precizii relativ bune.
Industrial se utilizeaza teleindicatorul de nivel cu traductor rezistiv tip TNTR - 2, produd de IAMC Otopeni, care este un dispozitiv ce permite transmiterea la distanta a nivelului lichidelor corosive si necorosive, neinflamabile, bune conducatoare de electricitate, depozitate īn rezervoare.
Ansamblul dispozitivului este prezentat īn figura 3.60., unde: 1- scripete; 2 - detaliu de fixare; 3 - cablu de sustinere; 4 - rezistente; 5 - lant de rezistente (traductor rezistiv); 6 - greutate; 7 - tija pamāntare; 8 - teleindicator.
Domeniul de masurare al
dispozitivului este de 1,5 - 10 m, īn trepte normali-zate de 0,5 m, iar
numarul de nivele intermediare total, indiferent de lungimea traductorului
este de 40, scala fiind gradata īn 4o de diviziuni de la 0% la 100%.
Cānd nivelul de lichid este sub minim, rezistenta dintre lantul traductor si elementul de referinta este infinita. Astfel, īn circuitul traductorului intervine doar rezistenta ce realizeaza pasul de zero, circuitul de masurare avānd un curent de 2 mA ce se regleaza cu un potentiometru de pe aparat.
Scala aparatului este etalonata astfel ca la indicatia 0% sa corespunda 2 mA, iar la 100% sa corespunda 10 mA. Distanta dintre traductor si aparatul indicator nu poate depasi 10 m, deoarece īn circuitul traductorului , curentul alternativ foarte mic (16 mA) este influentat de perturbatiile externe. Pentru a nu influenta masuratorile, conductorul de legatura traductor - aparat trebuie sa aiba o rezistenta electrica sub 30 ohmi.
In serie cu teleindicatorul se poate monta un aparat auxiliar (mA) daca e necesara o teleindicare mai mare de 10 m. Deoarece īn circuitul de indicare se lucreaza cu curent continuu, influenta perturbatiilor fiind mai mica, distanta de teleindicare este impusa de rezistenta maxima a liniei de transmisie ce nu trebuie sa depaseasca 500 ohmi.
3.9.2. Nivelmetre bazate pe fota arhimedica
Functionarea acestor traductoare fiind bazata pe forta arhimedica, pot fi utilizate numai pentru lichide si se construiesc īn variantele cu plutitor si cu imersor.

Nivelmetrele cu plutitor
realizate dupa schema principiala din figura 3.65. se compune din
plutitorul - 1, care se afla īn permanenta la suprafata
lichidului, tamburul - 2 si greutatea suspendata - 3 prin firul - 4. Se poate observa ca
tamburul antreneaza un sistem indicator.
Acest
tip de traductor poate fi utilizat si la masurarea nivelului unor
pulberi sau granule, urmarindu-se tensiunea din firul de suspendare
si prin dispozitive speciale, mentinānd
Nivelmetrele ce functioneaza strict pe baza fortei arhimedice sunt cele cu imersor, reprezentate schematic īn figura 3.66., imersorul fiind partial introdus īn lichid si suspendat cu ajutorul unui resort de constanta elestica k. Notānd: G - greutatea imersorului, Fa - forta arhimedica si Fe - forta elastica a resortului, la echilibru se poate scrie:
(3.61)
Prin explicitare se obtine succesiv:
(3.62)
unde:
y - deformarea resortului fata de pozitia de
echilibru, m - masa imersorului,
g - acceleratia gravitationala, y - nivelul de lichid, h īnaltimea recipientului, ρl, ρ -densitatea lichidului, respectiv a imersorului.
Din cele prezentate anterior rezulta ca se pot adapta foarte usor un traductor asociat de tipul balanta de forte, metoda fiind aplicabila daca se cunoaste densitatea lichidului, principalele erori fiind date de dependenta de temperatura a densitatii, aceste erori putānd fi compensate.
3.9.3. Nivelmetre cu radiatii
Metodele de masurare a nivelului cu ajutorul radiatiilor sunt foarte avantajoase pe motivul ca nu exista un contact īntre material si dispozitivul de masurare. Aceste metode se pot folosi la masurarea nivelului īn īn buncarele de alimentare din metalurgie, īn conditii speciale ca: recipiente sub presiune la temperaturi ridicate, medii deosebit de corosive sau toxice, medii inflamabile, etc.
In functie de natura radiatiilor, nivelmetrele pot fi cu ultrasunete, cu microunde si cu radiatii nucleare.
Nivelmetrele cu ultrasunete sunt asemanatoare cu traductoarele cu radiatii prezentate anterior, putānd fi realizate īn variantele cu unda continua (daca traductorul cu ultrasunete funtioneaza continuu) si īn impuls. Ambele variante pot folosi metoda prin transmisie, cānd īn mod obligatoriu se folosesc doua traductoare, sau metoda prin reflexie, caz īn care acelasi traductor Indeplineste atāt rolul de emitator āt si de receptor.
In practica, deoarece determinarea nivelului se face cu ajutorul vitezei de propagare a ultrasunetelor ce depinde de temperatura, e necesar sa se prevada circuite de corectie a acesteia [23] īn functie de temperatura cu ajutorul unor convertoare tensiune - frecventa.
Domeniul de masurare al acestor traductoare este īntre 10 - 30 m, la frecvente de lucru īntre 20 - 40 mHz, cu erori de masurare sub 1%.
Nivelmetrele cu microunde functioneaza pe principiul reflexiei microundelor de catre materialele conductoare si atenuarii acestora de catre materialele dielectrice.
In cazul materialelor conductoare,
figura 3.63., emitatorul de microunde
Nivelmetre cu radiatii nucleare. Functional, se bayeaya pe principiul de atenuare a radiatiilor nucleare de catre pulberi sau lichide, utiliyānd de obicei ca substante radioactive pe cele generatoare de radiatii γ ca: 60Co, cu perioada de īnjumatatire de 5,3 ani si 137Ca, cu perioada de īnjumatatire de 33 ani.
Ca si traductoarele cu
ultrasunete, traductoarele cu radiatii nucleare pot fi realizate si
īn variante de urmarire automata a nivelului, una din schemele
principiale putāndu-se realiza dupa figura 3.64. Pe
recipientul cu lichid se plaseaza traductorul emitator E si
traductorul receptor R, primul fiind comandat de oscilatorul O si
transmitānd un fascicul de ultrasunete prin lichid (cu atenuare mica)
sau prin aer ( cu atenuare mare).
Semnalul receptionat de R este amplificat prin A si se aplica detectorului de prag DP. Cu ajutorul unui amplificator de putere AP si servomotorului SM se da comanda de deplasare simultana a celor doua traductoare īn asa fel īncāt acestea sa ramāna īn zona de separare aer - lichid.
Cu precizarea ca metoda este avantajoasa īn cazul unor recipiente cu acces numai din exterior, dificultatile constructive fiind legate de realizarea partii mecanice, trebuie retinut ca ultrasunetele se pot folosi numai īn cazul lichidelor, iar radiatiile nucleare se pot utiliza pentru orice fel de substante, īn acest caz receptorul fiind un contor de radiatii , emitatorul fiind sursa radioactiva.
Din multitudinea traductoarelor de nivel existente, īn īncheierea acestui pragraf indicam doar doua : traductorul submersibil si traductorul cu radar.
Traductorul de nivel submersibil tip MPU executat de firma RITTMEYER pentru apa din rezervoare, lacuri , rāuri, reprezinta o serie de traductoare alimentate din bucla de semnal unificat 4 - 20 mA. Nivelul este determinat pe baza presiunii masurate cu un senzor realizat dintr-un cristal de siliciu care asigura o liniaritate si stabilitate īn timp foarte bune.
Aceasta serie de traductoare este proiectata special pentru masurarea nivelului īn lacuri, bazine, puturi, fiind destinata hidroenergeticii, instalatiilor de tratare a apei reziduale, etc., cu domeniul de masura de pāna la 20 m coloana apa, existānd modele asemanatoare pāna la 200 m cu o precizie de masura de pāna la 0,015%.
Tructorul de nivel tip RADAR , varianta ECLIPSE, cu ghid de unda (GWR), ali-mentat din bucla este produs de firma MAGNETROL.
Spre deosebire de traductoarele de nivel cu radar conventionale, care transmit semnalul electromagnetic īn aer liber, traductorul ELIPSE utilizeaza pentru semnal un ghid de unda introdus īn fluidul de masurat, reducāndu-se īn acest fel fenomenul de absorbtie, respectiv distorsiunile determinate de natura fluidului si conditiile tehnologice (spuma, turbulenta, vapori, densitate, etc.)
Cracteristicile tehnice principale sunt: gama de masura 610 .6100 mm (cu sonda rigida) sau 1.15 m (cu sonda flexibila), precizia 0,1%, respectiv 0,5% din lungimea sondei, rezolutia ±2,5 mm, presiunea de lucru maxim 345 bari, temperatura de operare maxim 2000C.
Se utilizeaza pentru masurarea nivelului lichidelor omogene sau neomogene cu o vāscozitate pāna la 1500 cp.
3.10. Traductoare de temperatura
Traductoarele de temperatura sunt dispozitive care functioneaza fie pe principiul generarii unei tensiuni electromotoare, fie pe principiul convertirii temperaturii īntr-o variatie a unui parametru al circuitelor electrice (de obicei rezistenta) sau, cele mai simple convertesc temperatura īntr-o deplasare sau dilatare (gaz sau metal).
Fara a intra īn prea multe amanunte amintim ca cele mai simple traductoare de temperatura sunt temometrele cu sau fara contact (reglabil sau nereglabil), ambele tipuri fiind cu mercur, cele cu contact reglabil (Beckmann) avānd posibilitatea de modificare a temperaturii reglate cu o precizie mai mare. Contactul se realizeazīntre coloana de mercur ce se dilata īntr-un tub capilar si un electrod prevazut cu un surub de reglare la partea superioara. Curentul maxim din circuit nu poate depasi 1 A , pentru curenti mai mari fiind prevazute dispozitive de amplificare (relee), iar domeniul temperaturilor este de 0 - 3000C cu o precizie de ±2%.
3.10.1. Traductoare termoelectrice (termocuple)
Termocuplele tehnice, constructiv se realizeaza din doua conductoare metalice sau aliaje diferite (termoelectrozi) sudate īmpreuna la unul din capete; prin īncalzirea locala a sudurii (jonctiunea de masurare - capat cald), prin efectul termoe-lectric direct (efectul Seebeck) se va genera o tensiune termoelectromotoare la capetele libere ale conductoarelor (jonctiunea de referinta - capat rece). Valoarea acestei tensiuni poate fiexprimata prin aproximarea polinomiala de forma:
e = a(T1 - T2) + b(T1 - T2)2 + c(T1 - T2)3 + . (3.63)
T1 ,T2 fiind temperaturile celor doua capete.
Materialele utilizate la realizarea
termocuplelor pot fi conductoare sau semiconductoare, trebuind sa asigure
o sensibilitate ridicata si stabilitate īn timp la actiunea
agentilor atmosferici. In
figura 3.65. se prezinta schematic
un termocuplu a. si schema de legare a acestuia -b., prezentāndu-se si un al treilea
electrod M3, care se poate utiliza la prinderea, lipirea, rasucirea sau
sudarea capatului cald.
La denumirea unui termocuplu, primul material indica electrodul pozitiv pentru o diferenta de tempera tura pozitiva.
Prin
mentinerea
Mentinerea
temperaturii la valoarea

Reducerea
erorilor de masurare ce provin din faptul ca temperatura capetelor
reci (cutia de borne sau sudura rece) este diferita de cea de referinta, se face pe cale electrica prin introducerea unor cabluri de compensare sau a cutiilor (dozelor) de compensatie ce au o comportare dinamica īn concordanta cu traductorul.
Principalele parti constructive ale termocuplelor sunt redate īn figura 3.66., cu urmatoarele elemente: 1 - unul sau doua termoelemente realizate din electrozi diferitiizolati cu tuburi sau margele ceramice; 2 - teaca de protectie cu sau fara dispozitiv de montare,confectionata din: otel carbon (OLT 45), otel inoxidabil (ST 3), otel refrac-tar (P-4S), ceramica (PENTRU-1, KER 610, KER 710); 3 - dispozitiv de montare: flansa mobila F, flansa sudata Fw, niplu filetat (G ¾'' sau 1''); 4 - cutie de borne cu capac; 5 - placa de borne.
Seria standardizata a
lungimii nominale LN este: 250, 500, 750, 1000, 1250, 1500 si
1750 mm, iar lungimea de imersie LI trebuie sa fie cu cel
putin 100 mm mai mica decāt cea nominala.
Deoarece, īn
Caracteristicile
principale ale termocuplelor utilizate īn practica, sunt redate sintetic
īn tabelul 3.2., cu precizarea ca momentan
īn
Tabelul 3.2.
|
Termocuplu |
Cod |
Domeniu de temperatura[0C] |
Sensibilitatea μV/0C |
|
Chromel / Constantan |
E |
valoare medie |
|
|
Fier / Constantan |
J |
52,9 la 00C; 63,8 la 7000C |
|
|
Cupru / Constantan |
T |
15 la -2000C; 60 la 3500C |
|
|
Chromel / Alumel |
K |
valoare medie |
|
|
Platina- rodiu(13%) / Platina |
R |
valoare medie |
|
|
Platina- rodiu(10%) / Platina |
S |
la 00C; 11,5 la 10000C |
|
|
Platina- rodiu(30%) / Platina-rodiu(6%) |
B |
valore medie |
|
|
Wolfram-reniu(5%) / Wolfram-reniu(26%) |
aplicatii speciale |
||
|
Horning[(Bi 95%;Sn 5%) / (Bi 97%; Sb 3%)] |
< 100 |
valore medie |
|
|
Schwartz[(Te 33%, Ag 32%, Cu 27%, Se 7%, S 1%) / Ag2S 50%, Ag2Se 50%)] |
< 100 |
> 1000 aplicatii speciale |
|
|
Siliciu "p" / Aluminiu | |||
|
Cupru / Paladiu |
< 100 |
aplicatii speciale |
Termocuplele din materiale
semiconductoare nu se folosesc īn mod direct la masurarea temperaturii
deoarece siliciul prezinta o rezistenta termica redusa
dar, pot masura alte marimi ce au la baza masurarea
temperaturii diferentiale, prezentānd avantajul ca pot fi realizate
īn tehnica circuitelor integrate.
In figura 3.67. se prezinta forma tehnologica a unui termocuplu cu siliciu de tip "p" / aluminiu, realizat din zone de silicIu "p" - 1 si benzi de aluminiu - 2 si SiO2 -3, structura ce permite si interconectarea la folosirea unor baterii de traductoare. Sensibilitatea acestor traductoare depinde de proprietatile electrice ale semiconductoarelor si de temperatura, fiind cuprinsa īntre 0,4 - 1mV/K pentru cazul folosirii unor baterii de traductoare.
Principalele deyavantaje ale acestor traductoare constau īn existenta conexiunii termice realizata prin siliciu īntre jonctiunea calda si cea rece si rezistenta interioara mult mai mare decāt la termocuplele metalice (de ordinul zecilor de kΩ).
Incazul īn care variatiile de temperatura ale mediului ambiant sunt reduse, se poate utiliza un circuit de corectie ca cel prezentat īn figura 3.68., care foloseste un termistor RT ce se conecteaza īntr-o punte alimentata de la sursa de tensiune E.
La
temperatura de referinta impusa T0 puntea este īn echilibru si tensiunea U
īn bratele opuse lui E este nula
Daca temperatura mediului ambiant Ta se modifica fata de cea de referinta puntea nu mai e īn echilibru si tensiunea va fi data de:
(3.64)
Daca vom alege convenabil elementele puntii si traductorul, variatia tensiunii termoelectromotoare poate fi compensata datorita modificarii temperaturii Ta, adica:
ΔU = S.(T0 - Ta) (3.65)
unde S este sensibilitatea traductorului care, īn cazul unui traductor platina-rodiu(10%) / platina la 15000C, cu temperatura de referinta de 250C si variatii ale lui Ta de ±15%, ne da o tensiune de compensare de ±140 μV, eroarea de compensare fiind mai mica de 1%. Cu toate ca sensibilitatea termocuplelor este mai redusa decāt a termorezistentelor, ele sunt caracterizate de o serie de avantaje din care amintim:
genereaza tensiuni electromotoare fara componenta de offset si nu produc semnal de iesire daca nu exista o diferenta de temperatura; nu interfereaza cu alte marimi de influenta, cu exceptia luminii si a unor radiatii nucleare ce pot produce transmutatii (fierul si nichelul sunt stabile la aceste fenomene; nu necesita polarizari initiale.
Principalele dezavantaje ale temocuplelor constau īn: scaderea accentuata a sensibilitatii la temperaturi scazute; aparitia fenomenelor de evaporare, contaminare chimica sau chiar topirea la temperaturi ridicate; limitarea pragului de sensibilitate datorita zgomotului termic propriu.
3.10.2. Traductoare termorezistive
Intr-o prima restrāngere, din aceasta categorie fac parte cele metalice (termo-rezistentele) si cele semiconductoare (termistoarele).
La termorezistente, odata cu modificarea temperaturii (datorita variatiei energiei interne proprii) materialele din care se confectioneaza sufera o serie de schimbari ce se refera la structura cristalina, agitatia termica s.a., schimbari ce duc la modificarea rezistentei electrice īn raport cu temperatura. Aceasta dependenta poate fi exprimata cel mai simplu prin relatia:
R = R0.(1 + α.ΔT) (3.66)
unde R0 e rezistenta electrica la 00C, α e coeficientul de temperatura iar ΔT este variatia de temperatura.
Elementul sensibil al termorezistentei este realizat dintr-o īnfasurare plata sau cilindrica peste un suport izolant din mica, izoplac, ceramica, textolit, s.a., cu un fir bobinat neinductiv pe suport si fixat de acesta prin impregnare sau presare mecanica.
Aspectul exterior al termorezistentelor tehnice este similar cu cel al termocuplelor si prezentat īn figura 3.70., realizāndu-se īn varianta cu unul sau cu doua elemente sensibile.
Dependenta cu temperatura a rezistentei electrice se exprima prin coeficientul de temperatura α al conductorului din care se executa īnfasurarea elementului sensibilsi definit ca marime a variatiei rezistentei de 1 Ω la o variatie de 10C a temperaturii. Deoarece acest coeficient nu este dependent numai de natura materialului folosit, ci si de valoarea temperaturii, se obisnuieste a se lua īn calcule o valoare medie stabilita pentru intervalul 0.1000C pe baza relatiei:
(3.67)
R100 fiind rezistenta electrica īn ohmi la 1000C.
La alegerea materialelor din care se executa termorezistoarele se va tine cont de urmatoarele criterii: rezistivitate mare pentru reducerea gabaritelor; coeficient de variatie a rezistivitatii cu temperatura ridicat , ceea ce permite si sensibilitati ridicate;
caracteristica de transfer sa prezinte o buna liniaritate pentru a nu utiliza circuite suplimentare de liniarizare; o buna stabilitate īn timp si la actiunea agentilor chimici;
puritate ridicata pentru o buna reproductibilitate; pret de cost redus.
Toate aceste cerinte nu pot fi īndeplinite simultan, īn realizarea termorezistentelor folosindu-ce materiale ca: platina (-180 ÷+6000C si mai rar -200 ÷ +10000C), nichelul (-100÷+2500C), cupru, wolfram, fier. Cele mai utilizate sunt termorezistentele din platina, care se folosesc si ca etaloane de temperatura īn intervalul 0÷6000C.
Cu toate ca nichelul are o sensibilitate mai mare decāt platina, acesta are o aplicabilitate mai redusa deoarece se oxideaza la temperaturi ridicate si prezinta fenomenul de tranzitie la temperatura de 3500C ceea ce modifica accentuat rezistivitatea. In acelasi timp, nichelul prezinta neliniaritati importante.
O foarte buna liniaritate si sensibilitate o prezinta cuprul, dar domeniul de masura este redus prezentānd si dezavantajul unei actiuni chimice pronuntate, struc-tura sa cristalina modificāndu-se īn timp.
Rezistenta nominala a dispozitivelor este de 25, 50, 100, 500 sau 1000Ω la 00C, ultimele variante fiind recomandate pentru temperaturi scazute. Termorezisten-tele executate īn tara se confectioneaza din platina, cu rezistente nominale de 50 si 100 Ω, de tipul PT 50 si PT 100, fiind confectionate din fire cu diametre īntre 0,05 ÷0,2 mm, cu lungimi de ordinul 5 ÷ 20 cm, firele de legatura la blocul de borne fiind de nichel, cu diametru mult mai mare, īn scopul neglijarii variatiei rezistentei acestora cutemperatura. Constructiv, termorezistentele trebuie sa asigure protectia la actiunea agentilor externi, sa preia rapid temperatura mediului de masura, sa permita masurarea atāt īn curent continuu cāt si alternativ, sa nu fie influentate de fenomenul
dilatarii. Timpul de raspuns al acestor traductoare este de ordinul secundelor īn apa si de ordinul zecilor de secunde īn aer, iar pentru reducerea influentei conductoarelor de legatura se construiesc īn variante cu 2, 3 sau uneori 4 borne de conectare.
In
figura 3.69. se arata marcarea bornelor la termorezistentele indigene
(a., b., cu un element

sensibil, respectiv cu doua īn
cazul a doua fire de iesire; c., d, cu un element sensibil, respectiv
doua īn cazul a trei fire de iesire).
Lungimea nominala LN (cu referire la figura 3.70.) este maxim 2000 mm, dimensiunile minime fiind de 250 si 500 mm, iar lungimea de imersie minima este
LI = 150, 220, 250 mm. Cel mai simplu circuit de masurare cu termorezistente este cel cu logometru magnetoelectric dar, se utilizeaza frecvent si puntile de rezistente (Weathsone). Termistoarele sunt traductoare de temperatura realizate din material semiconductor, fenomenele de conductie īn acest caz fiind mult mai complexe.
In faza initiala au fost utilizate pentru temperaturi scazute, īntre 1 ÷35 K (ger-maniu) si <20 K (carbon), dar datorita perfectionarii tehnologiei siliciului, īn ultima perioada (īn special In tehnica circuitelor integrate) acesta se foloseste dopat cu impuritati de tip "n". Dependenta de temperatura a rezistentei pentru siliciu este [2]:
(3.68)
unde: T - temperatura īn 0C; R25 - valoarea rezistentei la 250C; α = 7,8.10-3 K-1; β = 18,4.10-6 K-2.
Termistoarele de siliciu au o buna stabilitate pentru temperaturi īntre -50 ÷+1200C. Pāna la 1200C, īn mecanismul de cnductie intervine dopajul ce reduce mobilitatea purtatorilor de sarcina, pentru temperaturi mai mari, datorita ionizarilor termice, rezistenta scade cu temperatura.
In tehnica se utilizeaza temistoare a caror sensibilitate este superioara cu cel putin un ordin de marime fata de termorezistente. Se executa din oxizi cu proprietati semiconductoare ca oxizii de mangan, nichel, cobalt, cupru, magneziu, zinc, aluminiu, fier, care sunt macinati si apoi presati prin sinterizare la o temperatura ridicata, la extremitati aplicāndu-se prin metalizare electrozi de legatura. Se realizeaza īn forme miniaturizate de discuri, plachete, perle, cilindri si permit masurarea cvasipunctuala a temperaturii cu o viteza de raspuns ridicate. Domeniul de masura poate acoperi plaja -200÷+4000C, uzual fiind pāna la 2000C si se poate demonstra ca rezistenta lor variaza cu temperatura dupa relatia:
(3.69)
unde: T - temperatura absoluta; A - constanta dependenta de dimensiuni si forma constructiva (T→∞ => R = A, rezistenta conventionala a termistorului); B - constanta caracteristica a materialului din care e confectionate termisorul, cu valori īntre 2500 ÷ 5000 pentru temperaturī pāna la 2000C.
Pentru cazul puterii disipate nule, caracteristica termistorului este o exponentiala ce se poate obtine īn practica doar prin extrapolare.
In mod frecvent, dependenta rezistentei de temperatura se exprima īn functie de valoarea acesteia la temperatura de referinta T0, adica:
(3.71)
ca temperatura de referinta fiind cosiderate 250C.
Aceste traductoare prezinta o serie de avantaje ca sensibilitate foarte ridicata, putānd atinge rezolutii pāna la 0,010C, fiind indicate īn masurarile de presiuni diferentiale dar, prezinta marele dezavantaj de intersanjabilitate (nu pot fi "īmperecheate"). Este foarte dificil ca dintr-un lot destul de mare sa alegem doua termistoare cu rezistenta identica la temperatura de referinta, īnlaturarea acestui neajuns facāndu-se prin īnseriere unei rezistente fixe īn circuitul de masurare.

3.10.3.
Alte traductoare de temperatura Din
multitudinea traductoarelor de temperatura, se vor prezenta succint
traductoarele bimetalice, dilatometrice, manometrice si pirometrice. Traductoarele bimetalice sunt materiale metalice fabricate din
table sau benzi din componente diferite, unite intim īntre ele si
caracterizate de coeficienti de dilatare termica liniara
diferiti. Bimetalul functioneaza pe principiul deformarii
la modificari de temperatura sau la orice alte modificari de
stari si de procese ce au la baza variatii de temperatura.
Schematic, īn figura 3.70.a. se reprezinta un bimetal īncastrat la unul din capete,iar īn figura 3.70.b se prezinta caracteristicile de temperatura d = f(T) pentru bimetale cu lungimea de 100 mm si grosimea lamelei d = 1 mm pentru bimetalele confectionate din materialele indicate īn tabelul 3.3.
Tabelul 3.3.
|
Nr. crt. |
Componentele bimetalului [%] |
Incovoiere specifica k |
Temperatura maxima [0C] |
Rezistivitatea [Ω mm2/m] |
||
|
active |
pasive |
0÷2000C |
300÷4000 C |
|||
|
MnNi-Fe |
36Ni-64Fe |
Foarte mica | ||||
|
20Ni-6Mn74Fe |
36Ni-64Fe | |||||
|
20Ni-6Mn74Fe |
42Ni-58Fe | |||||
|
20Ni-6Mn74Fe |
46Ni-54Fe | |||||
|
Ni |
36Ni-64Fe |
F.mica | ||||
|
20Ni-6Mn74Fe |
Fe | |||||
In aplicatiile industriale traductoarele bimetalice sunt elemente esentiale īn cazul protectiei la suprasarcini a masinilor, transformatoarelor, conductelor electrice, iar īn scopuri mai putin "industriale" sunt utilizate la aparatele si dispozitivele electrocasice (calorifere, perne, plite, uscatoare, fiare de calcat,etc.) [1].
Considerānd ca valoarea coeficientilor de dilatare temica liniara a celor doua lamele este α1 si α2, cu α1>α2 , sub actiunea unei temperaturi, lamela se va īncovoia spre partea cu coeficient de dilatare mai mic, valoarea deplasarii d puānd fi evaluata teoretic prin relatia:
(3.72)
unde ΔT - variatia de temperatura, k - connstanta dependenta de diferenta īntre α1 si α2 si raportul modulelor de elestice al lamelelor, x - grosimea bimetalului si L - lun-gimea lamelei.
Prin deformarea lamelei bimetalice se pot īnchide sau deschide contacte electrice fixe sau reglabile cu temperatura.
Bimetalele sunt traductoare robuste, cu erori de masurare ce nu depasesc ±1%, fiind utilizate cu rezultate bune īn plaja de temperaturi -50 ÷ +1000C.
Traductoarele dilatometrice functioneaze principiul dependentei dintre variatiile de temperatura si dilatarea termica a unei tevi metalice.
Principial,
un astfel de traductor e prezentat īn figura 3.71. care se compune din
teava metalica - 1 (confectionata obisnuit din cupru
cu coeficient de dilatare termica liniara mare si o tija -
2 confectionata din invar (coeficien de dilatare redus).Prin
intermediul unui dop, tija se sudeaza cu un capat la fundul
tevii, iar celalalt capat actioneaza direct sau prin
intermediul unui sistem de pārghii , una sau mai multe perechi de contacte - 3
ce se conecteaza īn sistemul de reglare a temperaturii. Traductoarele manometrice functioneaza
pe principiul variatiei presiunii lichidelor si gazelor la volum
constant īn functie de temperatura. Constructiv, figura 3.72., sunt realizate din rezervorul - 1 umplut cu
un lichid cu punct de fierbere ridicat, vapori sau gaze ce se introduce īn
mediul de masura, tubul capilar - 2 si resortul manometric - 3.
Aceste parti componente formeaza un sistem ermetic protejat
fata de corpul dispozitivului.
Variatiile
de temperatura ale fluidului din rezervor vor produce variatii de
presiune ale vaporilor de fluid si deformarea proportionala a
resortului manometric, care printr-un sistem de transmitere adecvat va
actionad pentru indicare, īnregistrare, semnalizare sau reglare.
Domeniul temperaturilor de lucru este cuprins īntre -50 ÷ +4000C, cu o eroare de masurare ce nu depaseste ±1,5%, fiind utilizate la scara redusa datorita constructiei dificile si pretului de cost ridicat.
Traductoare pirometrice. Notiunea de pirometrie deriva de la cuvāntul grecesc "piro" (foc), referindu-se la masurarea temperaturii pe baza unor metode fara contact, īn concordanta cu legile radiatiei termice.
Este cunoscut faptul ca toate substantele emit energie radianta ce depinde de temperatura absoluta a corpurilor respective, fenomenele de radiatie termica fiind descrise de o serie de legi deduse din termodinamica. Aceste legi au fost verificate pentru un corp negru absolut , care este un emitator sau receptor total al energiei radiante. Dar, nu toate corpurile īndeplinesc aceasta conditie, fiind necesara introducerea unui coeficient de corectie (emisivitatea) mai mic decāt unitatea, coeficient ce depinde de natura si starea suprafetei corpului, precum si de lungimea de unda a radiatiei (cu exceptia corpurilor gri).
Pe baza legilor lui Planck, Wien si Stefan-Boltzmann [23] s-au realizat pirometrele ce permit masurarea temperaturii prin intermediul energiei radiante īn mai multe variante ca: pirometre cu radiatie totala; pirometre monocromatice (cu banda īngusta); pirometre cu disparitie de filament; pirometre bicromatice.
Deoarece, īn lantul de masura, de la corpul a carui temperatura se masoara exista o anumita distanta, se impune ca radiatia sa se propage spre un traductor sau fotodetector. In raport de caracteristica de sensibilitate a fotodetectoarelor, utilizarea pirometrelor este limitata, tabelul 3.4. prezentānd limitele inferiare ale intervalului de temperatura pentru o parte redusa de fotodetectoare utilizabile.
Tabelul 3.4.
|
Tip fotodetector |
Fotodiode |
Fototranzistoare |
|||||
|
Si |
Ge |
PbS |
PbSe |
InSb |
HgCdTe |
||
|
Temperatura minima [0C] |
|
||||||
Pirometrele
de radiatie totala au la baza functionarii legea
Stefan-Boltzmann si implica utilizarea unui detector de banda
larga, semnalul electric obtinut la iesirea fotodetectorului
fiind proportional cu puterea a patra a temperaturii, adica e = e0.k.T4, k fiind o
Principial, pirometrul cu
radiatie totala se realizeaza dupa schema prezentata
īn figura 3.73. Corpul - 1 cu suprafata emisiva - 2 transmite
radiatia termica spre detectorul - 3, cu ajutorul unei diafragme - 4
si o og;linda concava - 5.
Pentru absorbtia totala a radiatiilor de catre detector, care poate fi un termocuplu, acesta va trebui sa se īnnegreasca.
La aceste traductoare, masurarea temperaturii nu depinde de distanta dintre suprafata emisiva si pirometru (oglinda), cu exceptia ca suprafata vizata de pirometru sa fie activa. Existenta unor reflexii suplimentare, de exemplu corpul este executat din aluminiu, duce la aparitia unor erori de masurare deoarece corpul poate reflecta si sursa care īl īncalzeste.
Pirometrele cu banda īngusta (monocromatice) fac uz de o serie de filtre optice si detectoare si prezinta o sensibilitate maxima pe axa filtrului optic doar pentru o anumita fractiune a spectrului de radiatie termica.
Pirometrele cu disparitie de
filament functioneaza pe acelasi principiu cu cele
monocromatice, avānd īn componenta lor si o lampa etalon cu
filament de wolfram. Masurarea se face prin comparatie, adica pe
imaginea suprafetei radiante ce emite o radiatie īn spectrul vizibil,
se suprapun lampa etalon. Reglānd curentul de filament se va modifica
temperatura acestuia si implicit culoarea. Astfel (figura 3.74.), īn
functie de temperatura filamentului Tf, valoarea curentului
prin acesta constituie o masura a temperaturii urmarite Tm.
Pirometrele obisnuite au domeniile: 7000C (filament rosu īnchis) si tempera-tura maxima a filamentului 15000C, dar pot fi extinse pāna la 30000C prin utilizarea unor atenuatoare optice.
In cazul īn care disparitia filamentului e sesizata cu fotodetectoare, limita inferioara poate ajunge pāna la 5000C, cu erori de masurare ce se pot situa sub ± 0,5%.
Pirometrele bicromatice se
realizeaza din doua pirometre monocromatice care lucreazīn doua
regiuni apropiate ale radiatiei termice, īn asa fel īncāt
emisivitatea sa se poata considera
Pirometrele sunt foarte mult utilizate īn siderurgie (metalurgie) pentru masurarea temperaturii sarjei īn cuptoare, furnale etc.
Pe lānga traductoarele de temperatura amintite īn acest paragraf se mai pot aminti traductoarele speciale (termometre) cu semiconductoare (cu una sau doua diode), termometrele bazate pe masurarea zgomotului de fond s.a., assupra carora nu se va insista.
3.11. Traductoare integrate
Dezvoltarea alerta a tehologiei microelectronicii a permis realizarea unor traductoare integrate miniaturale, cu o fiabilitate ridicata prin reducerea numarului de conexiuni si lipituri, cu o protectie ridicata la actiunea agentilor externi si actiunea perturbatiilor. Cu toate ca pretul de cost al acestor traductoare este relativ ridicat, prin avantajele pe care le oferasi tinānd cont de intersanjabilitatea lor, la productia de serie devin net superioare (performante si cost) traductoarelor obisnuite.
Ca material de baza pentru executia acestor traductoare se foloseste siliciul din care se pot produce usor rezistente, condensatoare, diode si tranzistoare. Folosind metoda de depunere a unor pelicule subtiri, din alte materiale, ce sunt compatibile cu tehnologia siliciului, pot fi obtinute si alte dispozitive ca: termocuple (Bi - Sn), magnetorezistoare (In, Sb), traductoare higroscopice (cu polimeri), traductoare cu unde acustice de suprafata SAW (ZnO), etc., domeniul temperaturilor de lucru fiind de - 50 ÷ +1500C.
Fara a intra īn prea multe amanunte vom cita ca traductoare integrate pe cele cu senzori elastici (lama, membrana) folosite la accelerometre cānd lama elastica este completata cu o masa seismica. De asemenea, se pot realiza structuri termice pentru masurarea unei diferente de temperatura ce e necesara pentru masurarea altor marimi.
Mentionez ca, primele traductoare integrate realizate practic au fost cele de temperatura, care desi nu prezinta un domeniu extins (- 50 ÷ +1500C), īsi gasesc aplicabilitate īn tehnica.
La nivelul actual, pentru masurarea temperaturii se pot utiliza:
traductoare integrate la care curentul de iesire are o variatie direct proportio-nala cu temperatura absoluta;
traductoare integrate la care tensiunea de iesire variaza direct proportional cu temperatura absoluta.
Reprezentativ, pentru prima categorie, este circuitul integrat AD 590 (Analog Device), a carui schema de principiu e data īn figura 3.75., si care reprezinta o sursa de curent cu doua terminale ce furnizeaza un curent (īn μA) numeric egal cu temperatura absoluta (īn K), pentru gama de temperaturi - 50 ÷ +1500C, la tensiuni de alimentare īntre 4 ÷ 30 V.

Cu ajutorul tranzistoarelor T3
si T4 se
realizeaza asa numita "oglinda
de curent" care īmparte curentul I(T) īn
doua parti egale Ic1 si Ic2 . Tranzistorul T2
este format din opt tranzistoare identice T1, conectate īn paralel
si īn [23] se demonstreaza ca:
(3.73)
unde: q = 1,60218 x 10-19 C -
sarcina electronului; k = 1,38066 x 10-23 -
Daca se alege valoarea rezistentei R = 358 Ω va rezulta ca:
I(T) = T, cu I(T) īn μA si T īn K
Acest circuit īsi gaseste aplicatii la executarea unor termometre digitale dar, se poate utiliza si īn circuitele de compensare a temperaturii sudurii reci sau la masurarea altor marimi neelectrice pe baza masurarii temperaturii.
Astfel, īn figura 3.76. se prezinta un termometru realizat cu senzorul de temperatura AD 590. Acest senzor injecteaza curentul I(T) īn rezistorul R1 de 1 kΩ
producānd la bornele acestuia o cadere de tensiune, īn mV, proportionala cu tempe-ratura absoluta. Aceasta tensiune se aplica amplificatorului diferential īmpreuna cu tensiunea furnizata de divizorul R2, P, R3, alimentat de la sursa de referinta AD 580 ce asigura o tensiune de 2,5 V. Daca tensiunea aplicata bornei neinversoare a amplificatorului este 273,15 mV si amplificarea este de 10, la iesirea amplificatorului se obtine o tensiune, īn mV, numeric egala cu temperatura, īn 0C, multiplicata cu 10.
Din punct de vedere electric, traductoarele din cea de-a doua categorie sunt echivalente cu o dioda zenner la care tensiunea de strapungere este proportionala cu temperatura absoluta si tipic pentru acestea este traductorul integrat LM 135 (National Semiconductor) ce prezinta o sensibilitate de 10 mV/K. Se mai poate utiliza si un alt circuit integrat, tip STP 35 (Texas Instruments), cu domeniul - 40 ÷ 1250C, cu o eroare maxima absoluta de ±40C si o eroare de neliniaritate de ±0,5%.
Senzorii de temperatura utilizati pot fi: diode, tranzistoare, termorezistoare din siliciu sau termocupluri, sau pot fi realizate oscilatoare termice.
Din marimile ce pot fi masurate pe baza varitiilor de temperatura pot fi enumerate: valoarea efectiva a curentului electric; debitul; detectia radiatiilor īn infrarosu; vacuumul; determinari calorimetrice; nivele, etc.
In prezent, multe din traductoarele integrate sunt produse īn serie, cu aplicatii īn special īn productia bunurilor de larg consum, īn industria automobilelor sau īn masurarile din biologie si ecologie.
Aplicatiile traductoarelor integrate nu se rezuma numai la realizarea acestora īn serie mare ci, prin tehnici moderne de proiecatre ca ASIC (Application Specific Integrated Circuit) se pot realiza traductoare integrate specializate unor procese bine definite.
Cercetarile actuale īncearca eliminarea traductoarelor clasice cu cele integrate, procesul de realizare al acestora fiind īn continua perfectionare viānd atāt diversificarea gamei, cresterea performantelor si a fiabilitatii dar, si gasirea unor noi metode si principii de masurare.
In īncheiere se poate aminti ca utilizānd tehnica circuitelor integrate s-au realizat traductoare integrate ultrasonice īn tehnica POSFET (īn diferite variante), precum si traductoare cu unde de īncovoiere.
3.12. Traductoare inteligente
Dezvoltarea īntr-un ritm galopant a ciberneticii si tehnicii de calcul a permis realizarea simultana īn cazul aceluiasi CIP a traductoarelor integrate si elementelor de prelucrare, dānd īn acest fel posibilitatea ca informatia obtinuta la iesire sa poata fi utilizata direct de calculatoare. In acest sens, s-au obtinut traductoare foarte performante pe care le vom numi traductoare inteligente. Prin introducerea unui procesor īn componenta traductorului si realizarea unei interfete de comunicare bidirectionala cu exteriorul, a devenit posibila cresterea nivelului procesare īn cadrul traductoarelor inteligente care īntr-o schema bloc pot fi prezentate ca īn figura 3.75.
Elementul de baza este constituit din traductorul principal ce preia informatiile de la masurand si care poate fi identificat printr-un codce este stocat īn memoriaa PROM. Marimile de influenta actioneaza asupra traductoarelor secundare, semnalele provenite de la acesta (este inclus si traductorul principal) sunt transmise unui sistem de achizitii de date format dintr-un multiplexor, amplificatorul A, circuitul de esantionare si memorare CEM si convertorul analogic numeric CAN. Microprocesorul μP īndeplineste rolul de a gestiona achizitia datelor, corectia marimilor de influenta, influenta caracteristicii de transfer si diagnosticarea traductoarelor. In memoria PROM sunt stocate programul de operare, tabele de corectii si liniarizare, etc., pe lānga codul de recunoastere al traductorului, iar īn
memoria RAM sunt stocate datele curente de operare sau acelea ce urmeaza a fi transmise.

Prin interfata
bilaterala se realizeaza conectarea traductorului inteligent cu un
calculator central printr-o magistrala externa ce poate fi
utilizata si pentru alte traductoare. Mesajele ce se transmit de la calculator la traductor se refera la
configuratia utilizata, autoetalonare, stabilirea domeniului de
masurare, iar cele transmise de la traductor la calculator, īn afara
rezultatelor, mai contin si date ce se refera la domeniul de
masurare, depasirea domeniului sau valoarea marimilor de
referinta.
Dupa cum rezulta din schema bloc prezentata, traductorul inteligent apare simplu dar, prin componentele ce le contine acesta este foarte complex, implementarea acestuia īn aplicatiile industriale necesitānd cunostiinte vaste īn domeniul ciberneticii, electronicii, tehnicii de calcul si alte domenii adiacente.
|