Câteva exemple.
Familia de chipset-uri Intel 845 este pâinea si untul alegerilor pentru sistemele desktop P4. Probabil ca nu exista alta familie de chipset-uri produsa în cantitate mai mare si disponibila pe mai multe placi de baza decât 845. Familia de chipset 845 începe s& 424i82e #259; devina ceea ce era Intel 440BX acum câtiva ani: e ieftin, nu face necazuri, stabil, cu performante înalte si privit de catre multi ca cel mai bun chip set pentru overclocking-ul unui sistem P4.
Se mai poate spune ca îi lipseste suportul pentru ultimele inovatii ca ATA 133, SATA, AGP 8X si DDR 333/PC 2700.
Suporta Intel Hyper-Threading Procedure (HT)
Stea cazatoare: SiS 648 pentru P4
Mai jos se observa o diagrama a chipset-ului 648 care consista dintr-un Northbridge (648) si un Southbridge (963). E interesant ca SiS a decis împotriva tehnologiei single-chip pe care o implementase cu chipset-ul 735.
Nu
suporta DDR400
ASUS A7V333 se bazeaza pe chipset-ul de mare performanta KT333 de la VIA (una dintre primele placi de baza cu aceasta caracteristica.
Încorporeaza DDR333 (PC2700), ATA133 RAID, USB 2.0 (de mare viteza), audio 6 canale ca si alte facilitati unice si inovative pentru timpul lor.
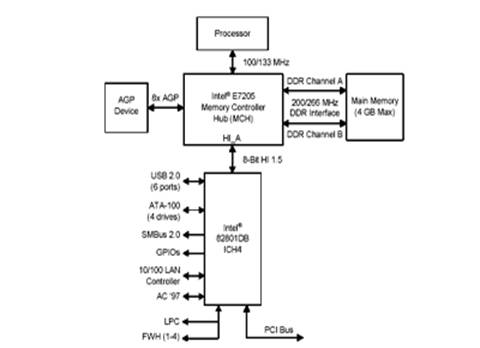
Dual Channel DDR pentru Pentium 4
- procesor Socket
478
- suporta procesor Pentium 4 pâna la 3.06GHz+
- 533/400MHz Front-Side Bus suport
- Intel E7205 chipset
- 4 socket-uri DDR DIMM cu 184-pin 2.5V
- suporta pâna la 4GB de unbuffered DDR266/200
- dual channel memory bus
Intel 82540EM Gigabit Ethernet Controller integrat
- slot 8X/4X AGP Pro50 (1.5V)
- 5 slot-uri PCI 32-bit 33MHz (5V)
|
CPU |
Socket-478 |
|
Chipset |
ATI 9100IGP |
|
Viteze bus-uri |
100-233, 0-15 scala pentru Overclock |
|
Slot-uri memorie |
2 x 184-pin Dual-Channel DDR DIMM Slot |
|
Slot-uri de extensie |
1 AGP 8X Slot |
|
Video onboard |
ATI 9100IGP |
|
RAID onboard |
Silicon Image 3512 (SATA RAID 0, 1) |
|
Onboard USB 2.0/IEEE-1394 |
6 USB 2.0 |
|
Onboard LAN |
Broadcom 4401 10/100 |
|
Onboard Audio |
Realtek ALC650 5.1 Digital Audio |
|
Onboard Serial ATA |
Sil3512 cu 2 conectori SATA |


|