Circuite integrate utilizate
3.1. Familia de microcontrolere 8051
Familia 8051 este reprezentata de o serie de circuite de 8 biti de înalta performanta, destinate utilizarii în aplicatii în timp real, cum ar fi automatizari industriale, controlul unor sisteme automate, aparate de masura si control etc.
Aceasta familie constituie o perfection 323j99d are a controlerului 8051, în sensul adaugarii de noi periferice, cresterii vitezei de lucru sau a integrarii de facilitati suplimentare.
În lucrare se va folosi în continuare termenul generic 8051 pentru toti membrii familiei, cu exceptia indicata circuitele având structura si instructiunile identice. Modelul initial 8051 consta în adaugarea a doua moduri cu consum redus de energie selectabile prin program:
inactiv (IDLE), care lasa în functiune numai componentele existente si în 8051 (numaratoarele 0 si 1, memoria RAM, interfata seriala asincrona);
oprit (POWER-DOWN), care blocheaza oscilatorul circuitului, lasând activa numai memoria RAM.
Descrierea functionala a pinilor circuitului este prezentata în figura 1.1.

figura 1.1
Controlerul 8051 contine:
unitate centrala de 8 biti;
256 octeti de memorie RAM, suprapusi cu 128 octeti de memorie alocati registrelor speciale;
controler de întreruperi;
patru porturi de intrari/iesiri digitale;
doua timere/numaratoare de 16 biti;
un numarator de 16 biti cu registre de captura si comparatie;
un timer pentru deblocarea sistemului (watchdog);
doua interfete seriale (una asincrona, compatibila RS-232, cealalta sincrona, compatibila I2C).
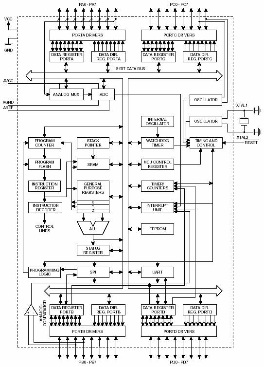
Structura interna a controlerului 8051 este prezentata în figura 1.2.
Structura memoriei

Propunerea generala a CPU de AVR a registrilor de lucru

X - bitul de joasa înregistrare
X - bitul de înalta înregistrare
Y - bitul de joasa înregistrare
Y - bitul de înalta înregistrare
Z - bitul de joasa înregistrare
Z - bitul de înalta înregistrare

Grupul format din aceste 2 circuite integrate permit masurarea si calcularea marimilor electrice de putere, energie, factor de putere, etc. At 73C500 este un DSP pe 16 biti in virgula fixa ce realizeaza calculele necesare determinarii puterilor electrice active, reactive si aparente, a energiilor consumate, a foctorului de putere, a frecventei retelei. At 73C501 este un convertor analog numeric cu 6 intrari( 3 curenti, 3 tensiuni), rezolutie 16 biti.
Prima functie executata de AT73C500 este filtru digital. Scopul filtrului este sa stearga componenta DC.
Mai întâi, esantioanele de curent actuale sunt înmultite cu esantioanele de tensiune.
Rezultatele multiplicarii sunt adunate peste o perioada si în cele din urma valoarea insumata este împartita cu 64. Aceasta functionarea de timp discreta da o puterea medie pe o perioada si rezultatul corespunde formulei de timp continuu urmatoare:
unde
![]()
n = 1, 2, 3,..., 20 (Frecventa de baza 50 Hz si armonicele)
AN = raspunsul de frecventa
Aceasta metoda de calcul tine seama de efectul armonicelor.
Puterea totala este calculata adunând putere pe fiecare faza. Calculul de putere reactiva este în functie de o procedura asemanatoare. Înaintea înmultirii curentului cu esantioanele tensiunii, AT73C500 executa o schimbare de faza a tensiunii semnalului de 90 grade. Acesta este realizat cu un filtru digital Hilbert. Largimea de banda de calcul de putere reactiva este limitata la 360 Hz.
În functie de caracterul activ si reactiv decurge puterea aparenta si factorii de putere sunt determinati. Faza tensiunii RMS este calculata tinand cont si de suma esantioanelor tensiunii si în cele din urma a radacinilor patrate a rezultatelor.
Masuratoarea de frecventa este în functie de o comparatie a frecventei de linie cu frecventa de ceas a circuitului AT73C500.
Domeniul de masurari este de la 20 Hz la 350 Hz.Toate masuratorile si calculele, cu exceptia masurarii de frecventa, e facuta pe 10 perioade de ciclu. Rezultatele sunt actualizate si ransferate la procesor în 200 ms.Registri utilizati pentru calcule:

Dimensiunea registrelor este ori 16 biti ori 32 biti. Specificatiile aplicate calculelor ale puterii active, reactive si energiei sunt continute de registri ( REG 0-5 si REG 12-15). Acuratetea este limitata datorita rezolutiei limita.
Formula urmatoare este folosita pentru a calcula factorul de putere:
![]()
Daca frecventa de ceas (MCLK) a AT73C500 nu este nominala, formula urmatoare da rezultatul de frecventa:
![]()
![]()






Transfer de date de la procesor în sase pachete:

|