ALTE DOCUMENTE
|
||||||||||
ELEMENTE CONSTRUCTIVE COMUNE INSTALATII NAVALE
Ca dimensiune caracteristica a sectiunii interioare de trecere a unei tevi pentru instalatii, a unei armaturi si a altor elemente de trecere a fluidelor, se foloseste diametrul nominal Dn, exprimat in milimetri.
Un
alt parametru caracteristic al tubulaturilor si armaturilor este presiunea
nominala pn, exprimata in
Presiunea nominala este presiunea maxima admisibila de functionare a unui element de instalatie.
Fluidele de lucru din instalatiile navale pot fi: apa rece sau calda, de mare sau dulce; abur; aer la diverse presiuni; freon; amoniac; solutiile in apa ale unor saruri; substante spumogene; produse petroliere; uleiuri de ungere si de actionare hidrostatica; bioxid de carbo 19219d318t n. Agresivitatea lor fata de tubulaturi si armaturi, viteza de curgere, temperatura si presiunea sunt diferite, deci si materialele utilizate trebuie alese in mod corespunzator.
5.4.1. TEVI
Pentru realizarea traseelor de tubulaturi se utilizeaza tevi de diferite tipuri de materiale si sectiuni.
5.4.1.1. Tevi din otel
a. La instalatiile de balast - santina, circuitele de racire a agregatelor frigorifice, ambarcare combustibil, ungere, sonde si aerisiri, scurgeri de pe punti, scurgeri generale, alimentare cu apa sanitara si incalzire cu apa (care nu depasesc presiunea de lucru de 5 bari) se utilizeaza tevi din otel, sudate longitudinal, pentru constructii, tevi din otel, fara sudura, trase sau laminate la rece, pentru constructii si tevi din otel fara sudura, laminate la cald, pentru constructii. Pentru Dn 400 . Dn 1000 se utilizeaza tevi din otel, sudate elicoidal, pentru uz general.
b. La instalatiile care
depasesc presiunea de lucru de 5
5.4.1.2. Tevi rotunde, trase din cupru
Se folosesc pentru tubulaturi cu: apa de mare si apa dulce (instalatii de balast - santina, racire, stingere cu apa), bioxid de carbon (stingere volumica), abur (incalzire), aer comprimat (actionari pneumatice), freon si amoniac (instalatii frigorifice) si produse petroliere, uleiuri (instalatii de combustibil si ungere).
5.4.1.3. Tevi rotunde, trase din aliaj de Cu - Zn
La instalatiile de incalzire din tancurile de marfa ale navelor petroliere si pentru tevile schimbatoarelor de caldura se utilizeaza tevi din Cu Zn 28 Sn 1 cu rezistenta la coroziune mult mai buna decat a tevilor din alama obisnuita.
Pentru instalatiile fara solicitari mecanice se folosesc tevi din aliaj CuZn obisnuit.
5.4.1.4. Tevi din mase plastice
Se folosesc pentru tubulaturi de apa dulce (instalatii sanitare) sau de aer (ventilatie, conditionare).
5.4.2. ELEMENTE DE IMBINARE
Pentru imbinarea tevilor intre ele, cu armaturile, cu fitingurile sau pentru racordarea la peretii tancurilor si la invelisurile corpului navei, se folosesc elemente de imbinare demontabile si nedemontabile.
Imbinarile nedemontabile pot fi sudate, lipite sau incleiate, in functie de materialul de adaos folosit. In cazul sudurilor acesta este identic cu materialul de baza, in cazul lipiturilor el este un metal cu temperatura de topire mai scazuta decat a celui de baza (otel - alama, otel - cositor etc.), iar in cazul incleierilor se foloseste un adeziv nemetalic si diferit de materialul de baza.
In functie de clasa tubulaturii se utilizeaza urmatoarele imbinari nedemontabile:
imbinari sudate cap la cap clasa 1 cu patrundere completa pe adancime cu masuri speciale pentru asigurarea calitatii radacinii (inel metalic sau fuzibil) pentru instalatiile de abur, combustibil cu p>16 bari sau t > 150 C si instalatiile aer, gaz, ulei hidraulic cu p>40 bari sau t>300 C;
imbinari sudate cap la cap clasa 2 cu patrundere completa pe adancime, fara masuri speciale pentru asigurarea calitatii radacinii pentru instalatiile de abur, combustibil cu 7<p<16 bari si 60<t C si instalatiile aer, gaz, ulei hidraulic cu 16<p<40 bari si 200<t C;
imbinari cu mansoane sudate pentru clasele 1, 2, 3 la Dn 32 mm si pentru toate diametrele nominale la instalatiile care nu sunt de clasa 1 si 2.
Imbinari de colt cu racorduri neintarite pentru clasa 3, intarite pentru clasele 1 si 2 si folosind teuri forjate pentru clasa 1.
Dintre cele demontabile cea mai mare raspandire au capatat imbinarile cu flanse aplicabile la conductele metalice si nemetalice.
In functie de clasa instalatiei cele mai uzuale sunt: flansele cu gat pentru sudare in capul tevii clasa, flanse plate pentru sudare si flanse libere pe teava.
Suprafetele de etansare cele mai uzuale sunt: plane si cu pana si canal.
Imbinarile cu mufe, teuri, coturi si reductii filetate se utilizeaza pentru instalatiile de clasa 3 cu diametrul exterior 57 mm cu exceptia tubulaturii pentru medii fierbinti.
Imbinarile cu stuturi filetate se utilizeaza pentru toate clasele cu diametrul interior 32mm si cele mai uzuale sunt cu insurubari olandeze sau cu imbinare Ermeto.
Pentru destinatii speciale cele mai uzuale sunt: racordurile cu teava bordurata pentru instalatii frigorifice, racordurile olandeze oscilante pentru legatura cu malul la instalatiile de transfer marfa nave petroliere etc.
Trecerile tubulaturilor prin peretii etansi ai corpului navei se realizeaza cu: flanse sudate cu doua fete, trecere cu flansa sudata sau demontabila.
Tubulaturile instalatiilor navale nu trebuie sa fie tensionate datorita incovoierii corpului navei sau datorita dilatarilor termice. Pe traseele de tevi se monteaza compensatoare curbe, telescopice cu presetupa de etansare sau cu inel de cauciuc, lenticulare, cu furtun de cauciuc.
Compensatoarele elastice ale tubulaturilor de combustibil sau de ulei de ungere, ca si cele ale tubulaturilor legate cu dispozitivele de actionare a usilor etanse la apa si cu deschiderile din invelisul exterior al corpului a caror distrugere in caz de incendiu ar crea pericolul inundarii navei, vor fi rezistente la foc.
5.4.3. GARNITURI DE ETANSARE
Se aleg corespunzator naturii si parametrilor functionali ai fluidului. Ele trebuie sa aiba proprietati fizice stabile in timp, sa reziste la demontari si montari repetate, sa fie elasto-plastice pentru a etansa si sa fie ieftine.
In functie de presiunea si temperatura de functionare, garniturile pot fi nemetalice, metalice sau in structura combinata. Dupa forma pot fi plane sau spatiale, cu suprafata neteda sau striata.
In continuare sunt indicate domeniile de aplicare, in instalatiile navale, a diferitelor materiale de garnituri de etansare:
Cauciuc de orice fel : pana la pn 6, pentru apa de mare si apa tehnica, aer cald (+60 C) si agenti frigorifici (-30 C). Cauciuc alimentar: pentru apa potabila si instalatii tehnologice alimentare: pana la pn 10 pentru instalatii cu apa calda si supraincalzita (+150 C). Cauciuc stabil la agenti chimici : produse chimice, pana la pn 6 si +50 C.
Marsit unit (60 . 70% azbest, 12.15% cauciuc si 15 . 18% componenti minerali): abur supraincalzit (pn 50 si 400 C), apa de mare si apa tehnica (pn 50 si +50 C), aer (pn 50 si +250 C), gaze arse (400 C), vapori de produse petroliere, apa tehnica, calda, supraincalzita (pn 50 si +250 C), amoniac gazos la 35 bari, combustibili si lubrifianti (pn150 si 150 C).
Carton simplu : combustibili si
lubrifianti (pn 10 si +90 C), gaze de ventilatie (pn
6 si +90 C), aer comprimat si apa
potabila pana la 20
Fibra : bioxid de carbon (80
Policlorura de vinil: produse petroliere negre si albe, lubrifianti, apa de mare si apa tehnica, agenti frigorifici, aer si gaze de ventilatie.
Cupru : aer, abur (200
Aluminiu: combustibili si lubrifianti
(60
Fata de garniturile plane, garniturilor spatiale, folosite la presetupe, li se mai cere coeficient de frecare redus si uzura mica. Se executa din snur impletit, cu sectiune transversala circulara sau de preferinta patrata, sunt uscate sau impregnate cu diverse materiale lubrifiante.
5.4.4. ARMATURI NAVALE
Sunt elemente constitutive ale instalatiilor navale, montate pe tubulaturi pentru a dirija circulatia fluidelor sau reglarea parametrilor de functionare.
Armaturile navale trebuie sa fie: sigure in functionare, de gabarit redus si de rezistenta mecanica, rigiditate si etanseitate corespunzatoare. Materialul lor trebuie sa fie rezistent la coroziune si eroziune. Constructia armaturii trebuie sa excluda posibilitatea patrunderii agentului de lucru din tubulatura in mediul inconjurator prin locurile de contact ale pieselor, garniturilor si suprafetelor de etansare. De asemenea, ele trebuie sa asigure rapiditatea necesara de manevrare, evitand posibilitatea aparitiei loviturilor de berbec in tubulatura. Rezistenta lor hidraulica trebuie sa fie minima.
Dupa destinatie se deosebesc: armaturi de inchidere, care opresc circulatia fluidelor; armaturi de serviciu, care deservesc consumatori de capat, cum sunt obiectele sanitare, sticlele de nivel, dispozitivele de control etc.; armaturi de retinere sau de sens unic, care impiedica circulatia fluidelor in sens invers celui normal; armaturi de siguranta, care impiedica cresterea excesiva a presiunii; armaturi de reglaj (comandate manual sau de un traductor), care regleaza parametrii (presiune, temperatura, debit, nivel) de functionare a instalatiei; armaturi de semnalizare (optica sau acustica) la atingerea unor parametri prescrisi; armaturi de separare, filtrare, vizualizare; aparate de masura si control.
5.4.4.1. Actionarea armaturilor de inchidere si reglaj
Cand diametrele nominale sau distanta dintre locul de comanda si armaturi este mare sau cand ele fac parte din sisteme cu functionare automata, manevrarea manuala trebuie inlocuita cu o alta forma de actionare.
Sistemele de actionare ale armaturilor trebuie sa asigure viteza necesara de manevrare, sa excluda variatia arbitrara a pozitiei organului de inchidere, sa permita controlarea permanenta a pozitiei organului obturator, la nevoie sa permita utilizarea mijloacelor mecanice sau manuale de rezerva, in functionare sa nu dea semnale false, sa nu provoace scantei si sa nu depaseasca nivelele admisibile de zgomote si vibratii.
5.4.4.2. Actionarea electromagnetica
Aceasta este aplicabila doar armaturilor de inchidere, pentru ca realizeaza curse complete, neavand posibilitate de reglaj intermediar.
5.4.4.3. Actionarea electromecanica
Poate realiza functiile de inchidere si reglaj fiind aplicabila tuturor tipurilor de armaturi. Sistemul este relativ simplu, dar pentru ca cere cate un electromotor si un reductor pentru fiecare armatura, este recomandat in instalatii cu armaturi putine si de diametre nominale mari. Nu se recomanda utilizarea sa in instalatiile de marfa ale petrolierelor. In Romania sunt omologate electromecanismele de actionare a armaturilor REGMO (fig.1 : 1-electromotor de actionare; 2- reductor; 3- cofret electric; 4- roata de manevra pentru actionare manuala; 5- armatura de inchidere si reglaj), care pot fi cu sertar sau cu ventil. Cele noua marimi de baza au momente de actionare (8 . 10000)Nm si puteri de actionare (0,3 . 22) KW.
1 z4 z13 z12 z18 z17
z1 H 2 5 z6 z7 z14 z15 z19
z2 9 11
z5
z9 z8 z9
z3 3 4
Deschis Inchis
Fig.2.
In fig.2 este reprezentata schema cinematica a mecanismului de actionare ( 1- electromotor; 2- cuplaj cu bile pentru limitarea momentului maxim; 3- balanta dinamometrica pentru reglarea momentelor mecanice de inchidere si deschidere a armaturii; 4- arcurile balantei dinamometrice; 5- arcul cuplajului de limitare a momentului maxim; 6- microintrerupatori limitare cursa; 7- came actionare microintrerupatori; 8- indicator local de pozitie; 9- potentiometru; 10- roata de mana; 11- microintrerupator actionare electrica; z1,z2,z3,H - mecanism planetar; z1- roata motoare centrala; z2- satelit; z3- roata centrala fixata, cu momentul mecanic reglat; z4- roata mecanism limitare moment; z5- pinion fixat pe arborele mecanismului de limitare a momentului; z6/z7, z12/z13, z14/z15 - angrenajele mecanismului de limitare a momentului; z8/z9- roti de schimb; z10/z11- angrenaj melcat principal;z16/z17- angrenajul mecanismului de actionare manuala; z18/z19- cuplaj mobil dintat).
5.4.4.4. Actionarea hidrostatica
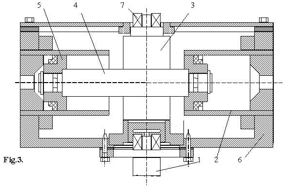
Este aplicabila instalatiilor cu multe armaturi, de diverse diametre nominale. Este silentioasa in functionare si poate antrena orice fel de armatura de inchidere si reglaj. In fig.3 ( 1- tija armaturii de inchidere si reglaj; 2- cilindru; 3- pinion; 4- tija cu cremaliera; 5- piston; 6- corpul hidromotorului; 7- capat patrat de actionare manuala ) este reprezentat hidromotorul liniar si mecanismul de rotire a tijei unei valvule fluture Dn 125, de fabricatie romaneasca, folosite in instalatiile de santina, balast, ambarcat si transfer combustibil. Caracteristicile tehnice ale actionarii sunt: presiunea maxima de lucru 60 bari; presiunea de probare a circuitelor hidrostatice 90 bari, deplasare unghiulara 90 , diametrul cilindrului hidraulic 63 mm; debitul pompei 15 l/min; puterea si turatia motorului electric 3 kW si, respectiv, 1450 rot/min; alimentare in c.a. trifazat 3 x 380 V; 50 Hz; lichid de lucru: ulei hidraulic H30. Generatorul hidrostatic este proiectat sa deserveasca 15 armaturi de inchidere si reglaj Dn 125.

|