MASURI PENTRU CRESTEREA CALITATII SEMIFABRICATELOR TURNATE CONTINUU
1.MASURI CONSTRUCTIVE
S-au introdus urmatorii factori de imbunatatire:
A) Perfectionarea instalatiilor de T.C.:
- protejarea jetului
- reglarea tamperaturii in distribuitor
- cristalizoare cu marime variabila
- agitare electromagnetica
- reglarea automata a debitului de metal
- reglarea regimului de racire secundara
- automatizarea taierii semifabricatului
B) Perfectionarea tehnologiei de turnare contiunua
- viteza de turnare
- prelucrarea cu zguri sintetice
- prelucrarea in vid si in oala a otelurilor destinate T.C.
Protectia jetului de otel impotriva oxidarii

|
Fig. 1. Protectia jetuluiu de otel impotriva oxidarii |
- protectia jetului intre oala de turnare si palnia intermediara folosind tuburi imersabile atasate oalei de turnare.
- mansoane imersabile ale oalei intermediare prevazute cu insertii de aparare in zona zgurii. Insertiile se realizeaza din materiale zirconice
- bara port dop si mansonul imersabil al palniei intermediare se confectioneaza din materiale rezistente la coroziune mai ales in zona scaunului mansonului.
- suflarea de argon intre bara port dop si mansonul oalei intermediare pentru a preveni infundarea mansonului cu pelicule de Al2O
- mansonul imersabil cu pereti subtiri care permit turnarea semifabricatelor marunte( cu dimensiuni mici ).
Dezavantaje: - materiale refractare compozite sunt scumpe.
Apararea jetului folosind tub imersat la oala de turnare

Un astfel de sistem ( fig. 2 ) se compun dintr-un tub ceramic care are o legatura conica cu mansonul alungit al inchizatorului cu sertar de la oala de turnare. Este actionat print-un sistem de contragreutate care permite apropierea sau indepartarea sa de oala de turnare. Tubul se realizeaza din samota grafitata, care are un dublu avantaj:
- rezistenta la soc termic
- se poate refolosi dupa curatarea cu O2 tehnic
Avantajele sistemului:
- prevenirea oxidarii secundare
- accesul otelului sub nivelul oglinzii din oala intermediara conduce la micsorarea turbulentei si deci si particulele de zgura antrenate.
- scade pericolul infundarii mansonului cu particule de Al2O3
- cresterea duratei de functionare
- imbunatirea conditiilor de munca ( dispar improscarile cu otel)
Dezavantaj: durabilitatea scazuta a tubului imersat ( maxim 10 ori )

Manson imersat cu insertii din materiale zirconice
Mansonul in contact cu zgura se corodeaza. La inceput pentru cresterea rezistentei lui el se confectiona cu pereti grosi. In prezent el se confectioneaza din materiale compozite pe baza de samota grafitata cu insertie protectoare ( fig. 4 ). Insertia se face din ZrO2 cu t top = 2700°C care nu este umetata de zgura.

Problema este evitarea infundarii orificiilor dopului poros ( fig. 5 ).

Tija port dop ( bara ) a oalei intermediare si manson imersibil cu rezistenta mare la coroziune in zona scaunului mansonului.
Problema s-a rezolvat prin utilizarea refractarelor compozite foarte rezistente in zona scaunului. Aceasta tija se foloseste impreuna cu mansonul cu bucsa in zona scaunului ( fig. 6 ). Durabilitatea a crescut de la 1 la 3 turnari. Pentru evitarea depunerilor de Al2O3, pe orificiul mansonului se introduce argon prin dopul poros al tijei sub forma de bule dispersate.
Protejarea jetului intre oala intermediara si cristalizor pentru semifabricate mici
Rolul sistemului:
- reglarea
debitului cu ajutorul tijei si mansonului cu orificii cu diametrul mare. Acest
sistem se foloseste la turnarea otelului cu fluiditate mica ( contine Al si Ti
) si nu mai trece prin dozator. Sistemul reprezinta o tija cu d =
90 mm. Mansonul are un orificu mare, ceea ce elimina pericolul infundarii lui
la inceputul turnarii. Cand se renunta la oala intermediara se foloseste un
sistem din doua parti. ( fig.7 )![]()

a) mansonul oalei intermediare si mansonul imersat unite
b) in cazul utilizarii oaleai intermediare se foloseste un singur manson imersat ( tija – manson imersat )
Avantajul: eliminarea admisiei aerului intre oala si cristalizor si presupune o montare exacta a mansonului in oala
c) reglarea debitului cu ajutorul dozatorului si a mansonului imersat ( dozator – manson imersat )
folosirea mansonului imersat pentru introducerea otelului in cristalizor permite
Folosirea inchizatoarelor cu sertar la palnia intermediara este necesara pentru:
- durata mare de folosire a masinilor de turnare
- imbunatatirea indicatiilor economici ( cresterea tonajului turnat odata in serii )
- cresterea
securitatii muncii ( nu mai sunt necesare tije port dop lungi
1600 mm)

Evitarea acestui lucru se poate face prin:
crearea unei atmosfere de argon in jurul inchizatorului care permite inlocuirea unei parti din aer cu argon si se evita astfel oxidarea secundara. Dezavantaj: metoda presupune mult argon si nu permite eliminarea totala a aerului.
suflarea de argon ( alt gaz inert ) direct in mansonul de turnare la presiuni care sa permita egalizarea presinii in interiorul si in exteriorul mansonului. Avantaj: metoda elimina aerul. Dezavantaj: agita oglinda otelului in cristalizor.
suflarea argonului intre placile inchizatorului – metoda cea mai eficienta
Utilizarea tijei in oala intermediara.
Se utilizeaza datorita urmatoarelor cauze:
- usurarea inceperii turnarii ( turnarea incepe cand oala este complet plina la valori maxime ale entalpiei si presiunii statice pentru reducerea pericolului inghetarii )
- usurarea operatiei de inlocuire a mansonului imersibil. In timpul inlocuirii lui otelul din canalul superior ingheata si se dezgheata cu oxigen. In acest timp canalul se inchide cu tija pentru a nu afecta otelul din palnie.
- curatarea canalului interior cu O2 in cazul blocarii lui cu Al2O3
- suflarea argonului prin dopul poros din capatul tijei pentru evitarea infundarii mansonului cu Al2O
Pentru evitarea infundarii canalului de turnare se sufla argon in trei locuri: prin bucsele poroase ale canalului, mansonului interior si a celui imersat.
Utilizarea inchizatoarelor cu sertar la palniile intermediare presupune:
- folosirea unor refractare de calitate ridicata
- cresterea fiabilitatii masinii de turnare
- cresterea productivitatii anuale
- cresterea calitatii otelului
- scaderea cheltuielilor materiale si de manopera
- scaderea consumului de energie
Inchizatorul rotativ al distribuitorului cu tub ( manson ) imersat.
Inchizatorul rotativ al distribuitoruluieste cea mai noua conceptie constructiva a subansamblului de reglare a debitului de otel care combina avantajele inchizatoarelor de constructie simpla cu siguranta mare in functionare a inchizatoarelor cu sertar. El este format dintr-o tija ceramica care se invarte in jurul axei sale si o palnie de turnare ( manson, tub imersat ). Contactul dintre ele se face pe suprafete in forma de semisfera. Ambele parti au canale directe care ies pe suprafetele de contact sub forma de orificii. Prin rotirea palniei se modifica sectiunea de scurgere a canalului. Materialul pentru inchizatorul rotativ este un amestec de grafit cu ZrO2, Al2O3 sau MgO. Cand inchizatorul rotativ este inchis tot otelul lichid se scurge sistem ( din canal ), iar dupa o intrerupere de 120 de minute nu trebuie utilizat oxigenul pentru deschiderea ( deblocarea ) orificiului.
Cercetarile efectuate au aratat ca:
- se pot turna oteluri dezoxidate cu Al, Ca ca si otelurile cu [%C] ridicat
- la turnarea otelurilor pentru sine si a celor aliate cu bor conduce la cresterea calitatii suprafetei, la micsorarea segregatiei axiale si a proportiei de incluziuni nemetalice.
- a devenit mai rentabila tehnologia de turnare a sleburuilor din oteluri rezistente la coroziune, tratate cu titan.
Concluzii:
- masurile de crestere a calitatii semifabricatelor turnate continuu prin protectia jetului de otel sunt eficiente atat din punct de vedere tehnologic cat si economic.
- de asemenea aceste masuri imbunatatesc substantial conditiile de munca, dat cel mai important lucru este ca aceste masuri permit largirea gamei de oteluri turnate continuu
Reglarea temperaturii otelului in distribuitor
Temperatura otelului la turnarea continua este unul dintre parametrii de baza care influenteaza decisiv asupra functionarii intregii instalatii. Se utilizeaza de regula reglarea indirecta a temperaturii otelului, adica in oala de turnare . Reglarea temperaturii in oala de turnare se realizeaza cu mare precizie prin doua metode:
- prin racirea otelului cu adaosuri corespunzatoare
- prin incalzirea otelului in oala
Aceste procedee se utilizeaza azi in multe otelarii, desi acestea prezinta dezavantajul ca datorita pierderilor de caldura pe parcursul operatiilor ulterioare, prin nici una din metode nu se poate asigura o temperatura constanta a otelului la intrarea lui in cristalizor.
In timpul turnarii continue temperatura otelului in distribuitor oscileaza din cauza modificarii conditiilor tehnice din distribuitor. La inceputul turnarii temperatura otelului scade ( are loc incalzirea captuselii distribuitorului ), apoi, dupa egalizarea pierderilor tehnice, temperatura se stabilizeaza, dar la sfarsitul turnarii, temperatura otelului scade din nou pe masura incetarii patrunderii otelului in distribuitor.
Prin urmare, pentru a mentine o temperatura constanta de turnare trebuie reglata temperatura otelului in distribuitor prin incalzirea sau racirea acestuia.
Incalzirea se poate realiza prin:
a) curent de inductie ( Japonia – Kawasaki Steel Kobe )
b) cu plasma - ( RFG – Krupp Stahl ) – plasmatron - curent alternativ
Incalzirea prin curent de inductie. La uzina Chiba din Japonia a fost instalat un distribuitor experimantal cu capacitate de 8 tone otel lichid cu canal in care este montat un inductor pe instalatia de turnare a staburilor. S-a turnat otel inoxidabil ( 200 sarje ).
Schema incalzitorului prin inductie.

Stabilizatorul regimului de temperatura a contribuit la imbunatatirea calitatii otelului.
- sub crusta semifabricatului cantitatea de incluziuni mari a scazut cu 75-85%;
- s-a imbunatatit substantial calitatea suprafetei tablei laminate la rece.
Incalzirea cu plasma - puterea plasmatronului este 1,5MVA ( si de 20MVA la firma Siegen, RFG )
- schema instalatiei ( plasmatron de curent continuu )

Prin incalzirea otelului in distribuitor se imbunatatesc: 1) conditiile de indepartare a incluziunilor nemetalice in distribuitor ca urmare a agitarii intensive a otelului si oscilarii acestora de catre zgura de acoperire;
Racirea otelului in distribuitor
Schema instalatiei

Injectarea piliturii de fier s-a facut cu argon ( 200-300 l /min ). Agentul de racire se introduce sub capacul de protectie unde argonul creaza o atmosfera neutra si impiedica patrunderea aerului in spatiul de lucru al distribuitorului.
Avantaj – buncarul pentru pulberea metalica poate fi asezat la distanta mare de distribuitor ( in cazul de fata 10 m ). Eficienta racirii este considerabila, dar ea depinde de caracteristicile jetului care trebuie sa fie omogen sau compact. Teoretic s-a stabilit ca o cantitate de 1% pulbere metalica scade temperatura otelului cu aproximativ 18°C. Granulatia pulberii este 0,125 – 1,00 mm.
Studierea acestui procedeu asupra structurii interne a slebului turnat continuu a aratat ca:
- se miscsoreaza foarte mult numarul de fisuri interne
- s-a ingustat zona de cristale dendritice
- scade gradul de segregare axiala
- scade porozitatea interna
- consumul de pulberi 5 – 40 kg /min
- el poate fi reglat automat pe baza datelor obtinute de la masurarea continua ( periodica ) a temperaturii
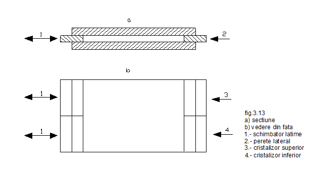
Cristalizoare cu latime variabila. ( Nippon Steel Corporation )
Schema principala de modificare a latimii cristalizorului.

In acest caz dimensiunile semifabricatului coincid cu necesitatile laminorului a carei productivitate creste.
2. MASURI TEHNOLOGICE
Prafuri de acoperire si prafuri de turnare
O calitate superioara a otelului inseamna absenta impuritatilor si a fisurilor de suprafata, ceea ce se poate obtine prin utilizarea prafului de turnare in combinatie cu un tub de imersie. Tubul de imersie serveste dublului scop de alimentare cu otel a cristalizatorului, fara antrenarea prafului sau a particulelor de zgura in fir si de a proteja jetul de otel impotriva reoxidarii.
Functiile pe care trebuie sa le indeplineasca praful de turnare in cristalizator sunt extrem de complexe.
Prafurile de acoperire au rolul de protectie suplimentara a otelului lichid, in distribuitor. Ele trebuie sa indeplineasca urmatoarele conditii :
a) sa nu reactioneze cu metalul lichid ;
b) sa nu produca gaze ( hidrogen, oxigen, azot) sau oxizi;
c) sa fie capabile sa absoarba impuritatile care decanteaza din otel;
d) la topire, sa nu fie foarte fluide, pentru a se evita absorbirea lor prin orificiile distribuitorului, la scaderea nivelului otelului;
e) sa nu formeze o crusta tare care sa blocheze functionarea dopului monobloc
Prafurile de turnare se aplica pe suprafata otelului, in cristalizator.
Caracteristicile lor ( compozitie chimica, comportare la topire, vascozitate si tensiune superficiala) trebuie sa asigure :
a) viteza de topire a prafului, sa fie proportionala cu cantitatea de praf consumata de topitura ;
b) sa previna contactul intre otelul lichid si atmosfera ;
c) sa nu reactioneze cu metalul lichid ;
d) sa asigure un profil al meniscului de otel, astfel incat semnele din urma oscilatiei sa nu se suprapuna ;
e) sa asigure formarea unui 'filtru 'uniform, intre crusta semifabricatului si peretele cristalizatorului, pentru o buna lubrifiere si o racire controlata ;
f) sa se evite inglobarea la suprafata semifabricatului a particulelor de zgura ;
g) sa previna radiatia de caldura si solidificarea otelului, la nivelul baii, in cristalizator. Pentru a determina influenta pulberilor de turnare asupra solidificarii otelului, au fost testate pulberile care se topesc repede si cele care se topesc incet, in cristalizator.
Pulberile care se topesc incet raman la suprafata otelului, pana cand au absorbit o asemenea cantitate de oxizi (care se ridica ca produsi de dezoxidare din otel) , incat ele devin o masa vascoasa, care trebuie indepartata. Contrar la acesta , pulberile care se topesc repede, devin rapid fluide si curg intre peretele cristalizatorului si crusta firului, astfel incat o alimentare continua cu pulbere, trebuie facuta la nivelul otelului din cristalizator, pe intreaga perioada de turnare. Se asteapta ca, aceasta diferenta, in ceea ce priveste comportarea celor doua tipuri de pulbere, sa exercite, de asemenea, o influenta diferita asupra gradientului de caldura in cristalizator. Ca urmare , valorile transferului de caldura, la firele turnate cu pulbere care se topeste mai repede sunt mai scazute, decat la firele turnate cu pulbere care se topeste mai incet. Aceasta se poate explica, prin faptul ca, pulberea care se topeste repede realizeaza o pelicula de zgura pe suprafata firului, care actioneaza ca un izolator intre fir si peretele cristalizatorului si astfel scade transferul de caldura .Transferul de caldura creste, daca se intrebuinteaza pulberi care se topesc incet, deoarece ele nu formeaza o pelicula de zgura intre fir si peretele cristalizatorului . Aceasta crestere a vitezei de indepartare a caldurii nu este deloc de dorit, din moment ce, proportiile de indepartare variaza pe suprafata firului, de exemplu : unde firul este in contact direct cu peretele cristalizatorului, racirea este mai rapida , crusta firului se contracta, si este incalzita de miezul ei pana cand crusta atinge din nou peretele de cupru . Aceasta contractie necontrolata si reincalzirea crustei firului, are ca rezultat, o distributie neuniforma a temperaturii in crusta si, dupa cum arata experienta practica,
conduce la tensiuni termice si fisurare.
Compozitia si comportarea la topire a prafului de turnare, reactiile chimice, vascozitatea si tensiunea la suprafata zgurii topite trebuie sa fie astfel incat :
- cantitatea de zgura topita sa ramana tot timpul aceeasi;
- nici o reactie de oxidare cu otelul sa nu aiba loc si zgura sa
previna orice contact intre mediu si metalul lichid;
- sa se mentina un profil al meniscului otelului astfel incat la
oscilatie sa nu se produca nici o suprapunere sau fisura pentru
a evita incluziunile de zgura si fisurile transversale;
- sa formeze un 'filtru' uniform intre crusta firului si peretele
cristalizatorului, pentru a garanta transferul controlat al caldurii
si lubrifierea suficienta;
- nici o cantitate de zgura topita sau solidificata, sa nu fie inglobata
la suprafata firului;
- incluziunile care se ridica din baia de otel in cristalizator sa fie
absorbite de zgura;
- sa previna radiatia de caldura de la nivelul otelului in cristalizator
pentru a nu se forma 'aisberguri'(inghetarea otelului la nivelul baii).
Aceasta arata ca functiile pe care le are praful de turnare sunt foarte diverse si cruciale pentru calitatea produsului.
Cand se alimenteaza in cristalizator , praful de turnare trebuie raspandit repede si uniform pe suprafata metalului si trebuie sa acopere bine otelul . Trebuie sa formeze un strat bun de izolare pentru a evita radiatia caldurii la suprafata metalului; in acelasi timp nu trebuie sa arda si sa se topeasca prea repede , deoarece in acest caz se formeaza un strat prea gros de zgura . Trebuie sa se formeze un strat lichid relativ subtire, intre praf si otel, pentru a putea absorbi incluziunile metalice din otel si astfel, sa curga in jos peste meniscul de metal in spatiul dintre fir si peretele cristalizatorului .
Mecanismele in zona critica unde actioneaza sistemul zgura - faza de pulbere, cu meniscul de otel lichid, care se solidifica si peretele cristalizatorului, sunt foarte complicate si nu sunt inca complet investigate. Prafurile de turnare asigura totusi, ca
o anumita cantitate de zgura lichida curge peste menisc, in spatiul dintre crusta firului si peretele cristalizatorului, si formeaza o pelicula constituita din mai multe faze, de la lichid ( pe crusta firului ) pana la solid ( pe peretele cristalizatorului ) . Aceasta pelicula se comporta ca un lubrefiant si pe de alta parte, ca un izolator intre crusta firului si caldura care se degaja din peretele cristalizatorului . Aceasta izolare termica este foarte importanta . Daca este excesiva, crusta firului se poate mari destul de repede ; daca este insuficienta , crusta firului se poate raci prea brusc.
In cel de-al doilea caz are loc o supraracire locala , iar deformarea si cresterea neuniforma a crustei pot conduce la fisurarea firului.
In plus, praful de turnare si zgura formata, nu ar trebui sa cauzeze nici o alterare nedorita a compozitiei otelului, cum ar fi captarea de carbon ; nu ar trebui sa duca la formarea de incluziuni sau porozitate si nu ar trebui sa produca gaze toxice in mediul inconjurator.
Praful de turnare trebuie adaugat, de indata ce nivelul otelului se ridica deasupra iesirii tubului de imersie . Otelul lichid ar trebui sa fie intotdeauna acoperit uniform, fara pete goale de otel, care raman vizibile si intreaga suprafata a stratului de praf ar trebui sa ramana colorata inchis . Cu toate acestea stratul de zgura nu trebuie sa devina prea gros , deoarece nivelul otelului, ar putea scadea in mod necontrolat. Grosimea totala recomandata de praf si zgura este de 20 - 30 mm .
Nivelul de otel trebuie mentinut constant pe intreg procesul de turnare. Fluctuatiile de nivel duc usor la defecte de calitate pe suprafata firului si in fir, cauzate de praful de turnare, care poate fi inglobat sau care nu mai reactioneaza dupa cum se asteapta . Fluctuatiile nivelului de otel, cauzeaza de asemenea, un consum mai mare de praf de turnare . Nu este recomandabil sa se loveasca cu tije la nivelul otelului, pentru a indeparta scoarte de zgura intrucat exista riscul de a introduce zgura in crusta firului, rezultand defecte interne . Crustele de zgura mari trebuie indepartate, daca este posibil fara introducerea tijei in stratul de zgura.
Praful de turnare trebuie mentinut uscat tot timpul .
Prafurile de turnare utilizate la instalatia de turnare continua a otelului la S.C.SIDERURGICA S.A. Hunedoara sunt :
Pentru distribuitor : Accutherm T
Accutherm ST-H12/16-60GL
Pentru cristalizator : Scorialit C 126 II
ScorialitC 163-79/H
Accutherm T are urmatoarele caracteristici :
Analiza chimica :
Bazicitate : 0,09
|
SiO2 |
CaO |
MgO |
Al2O3 |
TiO2 |
Fe2O3 |
MnO2 |
NaO2 |
K2O |
Ctotal |
CO2 |
Cliber |
|
|
|
|
|
|
|
|
|
|
|
|
|
Punct de topire : 1290°C
Greutate specifica : 0,61 kg/dm3
Accutherm ST-H12/16-60GL are urmatoarele caracteristici :
Analiza chimica :
Bazicitate : 0,61
|
SiO2 |
CaO |
MgO |
Al2O3 |
TiO2 |
Fe2O3 |
MnO2 |
NaO2 |
K2O |
Ctotal |
CO2 |
Cliber |
|
|
|
|
|
|
|
|
|
|
|
|
|
Punctul de inmuiere : 1040 C ;
Punctul de topire : 1090°C ;
Punctul de curgere : 1105°C ;
Greutate specifica : 0,74 kg/dm .
Vascozitatea : calculata
1300 1400 °C
0,45 0,25 Pa s
Concluzii
Ca urmare a studiului literaturii de specialitate si a experientei practice, rezulta urmatoarele concluzii :
1. Din punct de vedere constructiv, fiecare parte componenta a instalatiei de turnare continua isi are o contributie aparte in realizarea unor semifabricate de calitate ;
2. In ceea ce priveste oala de turnare trebuie acordata o atentie deosebita captuselii refractare, preincalzirii oalei, iar pentru a impiedica reoxidarea si a evita scaderea de temperatura, se impune acoperirea oalei fie cu capace, fie cu un compus de izolare. Asa cum s-a mentionat, acesti compusi nu trebuie sa formeze o zgura foarte fluda, care ar putea fi absorbita in distribuitor sau chiar in cristalizator ;
Pentru distribuitor se vor alege materialele refractare optime si obligatoriu trebuie luate masuri de protectie impotriva reoxidarii atat prin folosirea prafurilor de acoperire cat si prin utilizarea tuburilor de imersie. In scopul inceperii in bune conditii a turnarii si a limitarii scaderilor bruste de temperatura, se impune preincalzirea distribuitorului ;
4. Din punct de vedere constructiv cristalizatorul va fi realizat din materiale cu o conductibilitate termica ridicata si cu o conicitate optima. Pentru orificiul de ghidare al apei se va folosi otel inoxidabil si se va urmari permanent sa se realizeze o racire continua si uniforma pentru a se evita supraincalzirile locale si formarea bulelor de aer.
5. In scopul evitarii aparitiei fisurilor se va urmari o aliniere corecta a rolelor iar pentru evitarea lipirii crustei nou formate pe peretele cristalizatorului se vor utiliza oscilatoare adecvate ale acestuia.
6. Pentru realizarea racirii secundare se va urmari asigurarea debitelor de apa necesare pe fiecare zona iar reglarea duzelor, a unghiurilor de pulverizare, distantele dintre duze si presiunea apei se va urmari realizarea unui mediu care va permite o evacuare constanta si uniforma de caldura la periferia firului pe un anumit nivel.
7. Din punct de vedere tehnologic, o calitate buna a semifabricatelor turnate continuu se va realiza prin asigurarea unei compozitii chimice optime a otelului, se va urmari permanent incadrarea in limitele prescrise a continutului de C, S, P, Cu, St, As, Pb, dar si a elementelor de aliere sau microaliere ( Cr, Ni, Mo ).
8. Temperatura de turnare si supraincalzirea vor fi reglate astfel incat solidificarea sa urmeze un traiect ce favorizeaza crearea structurilor echiaxiale fine.
9. Viteza de turnare corelata cu supraincalzirea, constituie poate cei mai importanti factori in realizarea unor semifabricate corespunzatoare din punct de vedere calitativ.
|