PREVENIREA INCENDIILOR LA DEPOZITE DE PRODUSE PETROLIERE
1. DEPOZITAREA PRODUSELOR LICHIDE INFLAMABILE
a. Pericolul de incendiu. Posibilitatea formarii amestecurilor explozive īn rezervoarele de produse petroliere este determinata de existenta īn interiorul rezervorului a unui spatiu de vapori de produs si aer la suprafata lichidului. Concentratia vaporilor īn spatiu de deasupra lichidului este īn functie de temperatura initiala de fierbere a produsului si de conditiile climatice.
La cresterea temperaturii īn rezervor se produce o crestere a presiunii īn spatiul de vapori, ca urmare a vaporizarii unei cantitati suplimentare de produs. Īn conditii egale de temperatura, presiunea īn spatiul de vapori si deci concentratia vaporilor este mai mare īn cazul depozitarii unor produse cu punct de fierbere scazut. Din aceasta cauza produse petroliere volatile, cum sunt: pentan, hexan, heptan, izo-octan se depoziteaza īn rezervoare la o oarecare suprapresiune (peste 200 mm H2O), īn timp ce produsele greu volatile, ca petrolul lampant, motorina si uleiurile pot fi depozitate īn rezervoare avānd comunicatie libera cu atmosfera.
Variatiile de temperatura ale aerului īnconjurator īn cursul unei zile produc variatii ale temperaturii si presiunii amestecului de vapori si aer din spatiul gazos al rezervorului. Ziua, datorita īncalzirii rezervorului si a produsului, cantitatea de vapori si deci presiunea īn spatiul gazos creste si o parte din vapori si aer se evacueaza īn atmosfera. Īn timpul noptii se observa fenomenul invers, temperatura aerului exterior si a produsului scade, o parte din vapori se condenseaza, presiunea īn rezervor descreste, iar aerul din exterior intra īn rezervor. Acest proces de schimb material īntre spatiul gazos din interiorul rezervorului si atmosfera, datorita variatiilor de temperatura din timpul unei zile se numeste "respiratia mica'' a rezervorului.
Īn timpul īncarcarii unui rezervor, aerul din interior saturat cu vapori de produs petrolier este evacuat īn atmosfera. La golirea rezervorului patrunde aer din exterior. si īn acest caz are loc o respiratie, care, fiind de volum mai mare decāt prima, poarta numele de "respiratia mare" a rezervorului.
Īn timpul "respiratiei" rezervoarelor se pot forma amestecuri inflamabile īn interiorul rezervoarelor si īn exteriorul lor, ca urmare a evacuarii vaporilor de produs īn aer.
Desi presiunea din rezervor ar trebui sa fie egala cu presiunea de vapori a produsului la temperatura respectiva, s-a constatat ca vaporii de hidrocarburi din rezervoare nu sunt saturati decāt la suprafata lichidului si ca, īn practica, presiunea īn rezervor nu este decāt aproximativ jumatate din presiunea de vapori a produsului. Acest fenomen se explica prin faptul ca vaporii saturati de la suprafata lichidului, datorita densitatii mari, difuzeaza foarte īncet īn masa de vapori īmpiedicānd evaporarea. Īncalzirea datorita razelor solare, īn special lānga mantaua rezervorului, creeaza curenti de convectie, care antreneaza vaporii saturati de la suprafata lichidului favorizānd evaporarea. Astfel, se explica de ce unui rezervor de benzina īi sunt necesare 48 h si chiar mai mult pentru a se satura spatiul de vapori pe vreme īntunecata, īn timp ce saturarea este atinsa in cāteva ore pe vreme īnsorita.
Īncetinirea vitezei de evaporare īn rezervoare 343n1318d mareste pericolul de aprindere īntrucāt favorizeaza formarea amestecurilor inflamabile de vapori si aer. Īntr-un rezervor cu benzina, daca spatiul de deasupra lichidului este saturat cu vapori, aprinderea de la o scānteie de origine electrostatica este neprobabila vara. Īntrucāt aceasta scānteie s-ar produce īntr-o zona īn care concentratia vaporilor de benzina este mai mare decāt limita superioara de inflamabilitate a amestecului vapori-aer. Pericolul nu apare decāt iarna, la temperaturi sub -15°C, cānd concentratia vaporilor de benzina se afla īn limitele de explozie. Ori, datorita faptului ca spatiul de vapori īntr-un rezervor de benzina nu este saturat īn partea superioara, aprinderea se poate produce chiar si vara, amestecul situāndu-se īn limitele de inflamabilitate.
Un pericol important la depozitarea produselor petroliere īl constituie debordarea lichidului prin fierbere. Īn cazul īn care produsul este format din componenti cu diferenta mare īntre punctele de fierbere, ca de exemplu īn cazul motorinei, īn timpul incendiului fractiunile usoare se evapora, īn timp ce fractiunile grele īncalzite coboara la fundul rezervorului. Rezulta asa numita "unda de caldura" care poate atinge temperaturi de l50-260°C. Viteza ei este diferita dupa natura produsului. Daca exista un strat de apa la fundul rezervorului, unda de caldura provoaca vaporizarea lui. Vaporii formati ocupānd un volum mare (1 l apa formeaza 1700 l vapori) are loc de cele mai multe ori debordarea produsului prin fierbere, ceea ce conduce la intensificarea focului si raspāndirea lui.
Īn timpul unui incendiu pot avea loc mai multe debordari succesive. Debordarea este semnalata prin cresterea lungimii flacarilor care devin īn acelasi timp mai luminoase.
Īnaintarea undei de caldura putānd fi urmarita, se poate determina viteza ei si deci se poate prevedea momentul īn care va avea loc debordarea produsului, putāndu-se lua astfel masurile de securitate cum ar fi: evacuarea apei, coborārea nivelului produsului īn rezervor, executarea de diguri, evacuarea muncitorilor etc.
Atunci cānd pentru stingerea unor produse care provoaca unda de caldura se proiecteaza apa sau spuma, se poate forma īn straturile superioare o emulsie īnsotita de producerea de vapori, ceea ce provoaca o debordare prin emulsie. O asemenea debordare poate fi provocata de ploaie. Ea este semnalata de zgomote specifice. Masurile de prevenire constati īn racirea rezervorului si scoaterea unei parti din produsul depozitat.
Un pericol īnsemnat īn parcurile de rezervoare din rafinarii īl constituie rezervorul īn care se colecteaza scurgerile de diferite produse din instalatii si de la spalarea rezervoarelor denumit "rezervor de slop". Acesta poate sa contina īn afara de apa, reziduuri petroliere, parafina si cantitati de hidrocarburi usoare care maresc pericolul de incendiu Astfel la o rafinarie din Rotterdam (Olanda) un incendiu de mari proportii a izbucnit la un rezervor de slop de 1500 m3. Serpentina de īncalzire a rezervorului a īncalzit stratul de apa de la fundul rezervorului. Dupa ce presiunea de vapori a apei a putut īnvinge stratul hidrostatic de hidrocarburi, s-a produs o debordare a produsului care s-a aprins de la o sursa oarecare,
b. Surse de aprindere. Cauzele principale de aprindere a amestecurilor de vapori-aer din rezervoare sunt: * sarcini electrostatice; *descarcari atmosferice; * producerea accidentala de scāntei electrice; *formarea sulfurii de fier. Se vor examina pe rānd aceste cauze, aratāndu-se masurile de īnlaturare a lor.
Sarcini electrostatice
Acestea sunt inevitabile la miscarea lichidelor cu conductivitate scazuta, cum sunt produsele petroliere. Sarcinile si diferentele de potential produse sunt īnsa inofensive, cāt timp lichidele se afla īn recipiente metalice legate la pamānt si lipsite de gaze. Zonele de lichid īncarcate electrostatic se descarca prin lichid sau prin suprafata acestuia, cu atāt mai repede, cu cāt conductivitatea lor este mai mare si cu cāt distanta fata de partile metalice legate la pamānt este mai mica.
Īn cursul operatiilor de pompare si transvazare a lichidelor, sarcinile electrostatice pozitive tind sa se acumuleze īn conducte, iar sarcinile negative transportate de lichidul īn miscare; tind sa se acumuleze īn rezervor. Cu cāt vitezele de curgere sunt mai mari, cu atāt cresc posibilitatile de acumulare a sarcinilor. Īn general, la curgerea lichidelor inflamabile, vitezele ce depasesc 1 m/s trebuie considerate periculoase.
La umplerea unui rezervor cu lichide īncarcate electrostatic, purtatorii de sarcini electrice se aduna la suprafata lichidului. Daca rezervorul este legat la pamānt, potentialul scade de la mijlocul rezervorului catre peretele acestuia. Īn cazul existentei, īn rezervoare a unor obiecte straine care plutesc pe suprafata lichidului (indicatoare pentru masurarea nivelului, aparate pentru luat probe etc.) acestea joaca rolul de condensatoare, care acumuleaza pe suprafata lor sarcinile electrostatice. La contactul cu un conductor (peretii rezervorului, conducta, cablu metalic) se produce o descarcare electrica cu formare de scāntei. De aceea, este o greseala de a se introduce īn rezervor rigle de masurat nivelul, tevi suplimentare sau recipienti de metal pentru luat probe īn timpul sau imediat dupa o operatie de umplere.
Pentru micsorarea pericolului de aprindere, fenomenul de īncarcare electrostatica trebuie redus la minimum chiar la locul de formare al acestuia. Astfel se va evita scurgerea turbulenta a lichidelor īn sectiunile īnguste ale conductei. Turbulenta creste odata cu viteza de curgere si depinde mult de geometria curgerii.
O importanta deosebita trebuie acordata orificiilor de iesire. La sistemele la care lichidul iese turbionar din orificiu, stropeste sau formeaza ceata, are loc o separare intensa a sarcinilor electrostatice īn interiorul lichidului, ceea ce poate constitui un pericol. Chiar si īn cazul lichidelor cu punct de inflamabilitate peste 55°C, cum este cazul carburantilor Diesel, aparitia sarcinilor electrostatice datorita stropirii si dispersarii acestor lichide poate duce la aprinderi.
Descarcari atmosferice
Acestea constituie o alta cauza de incendii la depozitarea produselor petroliere. Rezervoarele sunt īn mod special predispuse de a fi lovite de trasnet datorita formei lor rotunjite, suprafetei exterioare mari si faptului ca ies īn relief fata de solul īnconjurator. La contactul direct al trasnetului, curentul de descarcare, ajungānd pāna la 80000 A, produce īncalzirea partilor metalice ale rezervorului pāna la topire, ceea ce provoaca aprinderea amestecului de vapori-aer din interior.
Protectia rezervoarelor īmpotriva descarcarilor atmosferice se realizeaza cu instalatii de paratrasnet. Trebuie avut īn vedere ca deasupra rezervoarelor de capacitate mare 5000-10000 m3, īn timpul umplerii lor, se pot forma amestecuri explozive de vapori-aer pāna la o īnaltime de 3-5 m. De aceea, dispozitivul de protectie trebuie astfel executat, īncāt canalul trasnetului sa vina īn contact cu instalatia de paratrasnet īn afara sferei concentratiilor explozive.
Producerea de scāntei electrice constituie o sursa de aprindere a numeroase incendii. Aceste surse pot fi clasificate īn doua grupe. Prima grupa se refera la incendii provocate de supraīncarcarea conductorilor, prin formarea de scāntei la instalatii prost montate sau datorita unor neglijente. Īn a doua grupa mai importanta figureaza incendii provocate de scurtcircuite sau legaturi la pamānt cu defecte de izolatie.
Formarea sulfurii de fier constituie de asemenea o sursa de inflamare si un numar apreciabil de explozii la rezervoare a putut fi atribuit cu certitudine acestei cauze. Sulfura de fier (SFe) rezulta īn urma actiunii hidrogenului sulfurat asupra fierului. Ea se prezinta sub forma unui praf de culoare neagra sau bruna. Expusa la aer, sulfura de fier se oxideaza spontan. Aceasta oxidare degaja suficienta caldura pentru a inflama sulfura de fier, care este adusa īn stare de incandescenta. Datorita acestei proprietati de a se aprinde īn aer sulfura de fier a fost denumita sulfura piroforica.
Procesul formarii sulfurii de fier este urmatorul: titeiul si materiile brute contin īn diferite procente hidrogen sulfurat, care ataca tabla rezervoarelor si da sulfura de fier. Formarea sulfurii de fier īn rezervoarele de produse finite este legata de prezenta apei. Exista īn apa o bacterie anaeroba, care are proprietatea de a reduce sulfatii (prezenti īn apa sau īn noroiul de la fundul rezervorului) dānd nastere la hidrogen sulfurat. Actiunea acestei bacterii este cu atāt mai importanta, cu cāt temperatura este mai ridicata. Multa vreme s-a crezut ca bacteriile reducatoare de sulfati nu se gasesc decāt īn apa de mare. Īn prezent se stie ca ele exista si īn apa dulce.
Sulfura de fier se formeaza atāt pe tablele udate de lichid cāt si pe cele neudate. Depozite importante de sulfura de fier se gasesc īntotdeauna pe partile care nu sunt atinse niciodata de hidrocarburi, adica tabla capacului, partea superioara a mantalei rezervorului si pe piesele scheletului ce sustine capacul.
Pentru īndepartarea formarii sulfurii de fier se va elimina pe cāt posibil apa din produs. Cum aceasta nu este posibil īntotdeauna, se va controla ca apa care se evacueaza de la fundul rezervorului sa nu contina sulfuri si hidrogen sulfurat. Noroaiele acumulate la fundul rezervoarelor, care contin apa, sulfuri si bacterii reducatoare trebuie evacuate periodic (de exemplu, la fiecare 2-3 ani).
Īn exploatarea curenta, pericolul inflamarii vaporilor de hidrocarburi īn rezervoare este redus. Dimpotriva, pericolul este considerabil īn timpul deschiderii rezervoarelor si aerarii lor. De aceea se va evita aerarea prin ventilatie naturala sau artificiala fara a se umezi suprafata interioara a rezervorului.
Masuri de securitate la depozitarea produselor petroliere
Pentru a evita scaparile de produse petroliere si raspāndirea lor, care constituie principalul pericol de incendii si explozii, la depozitare se vor lua o serie de masuri :
Cuve de retentie. Rezervoarele izolate sau grupurile de rezervoare se prevad cu cuve de retentie pentru a īmpiedica revarsarea produsului īn cazuri de avarie sau incendiu. Īnaltimea digului sau zidului de protectie, precum si spatiul din interiorul īndiguirii se calculeaza astfel īncāt sa īncapa īn el īntreaga capacitate de lichid din rezervoarele grupei respective sau a rezervorului izolat. Oglinda lichidului scurs trebuie sa fie cu 0,20 m sub īnaltimea digului.
Īn ultima vreme s-au realizat rezervoare avānd spatiul colector sub forma unui spatiu inelar format din peretele rezervorului si o manta exterioara tot din otel. Folosirea acestui sistem prezinta pe lānga un cost mai scazut urmatoarele avantaje:
se poate realiza scurtarea timpului de constructie, deoarece mantaua exterioara se poate realiza simultan cu constructia rezervorului;
necesita mai putin teren care trebuie amenajat special;
spatiul inelar mai mic atrage dupa sine cantitati mai mici de spuma īn caz de incendiu;
īn cazul supraīncarcarii rezervorului, mantaua poate fi folosita pentru primirea produsului deversat;
spatiul inelar acoperit, datorita pernei de aer realizeaza o izolatie termica eficienta, care la produsele usor volatile, īn cazul rezervoarelor cu capac fix, duce la scaderea pierderilor prin evaporare.
Aceasta constructie prezinta īnsa dezavantajul ca pentru evitarea unor concentratii periculoase de vapori-aer este necesara prevederea unor dispozitive de aerisire a spatiului inelar.
Stabilizarea titeiului si produselor. Este recomandabil ca, īnainte de depozitare, titeiul si benzinele usoare sa fie stabilizate pentru īndepartarea gazelor si a produselor foarte volatile (metan, etan, propas si partial butan).
Reducerea spatiului gazos este una din masurile principale īmpotriva scaparilor de produse datorita celor doua tipuri de "respiratii. Aceasta se realizeaza prin urmatoarele metode :
Depozitarea īndelungata a produselor petroliere numai īn rezervoare umplute īn īntregime.
Pastrarea produselor petroliere pe o
perna de apa de īnaltime variabila. La evacuarea
produsului, se introduce apa īn rezervor,
iar la īncarcare se evacueaza apa, astfel īncāt nivelul superior al
produsului petrolier īn rezervor
ramāne constant. Acest procedeu nu a capatat o
larga folosire din cauza unor neajunsuri si anume: consum mare de
energie, pericol de introducere a apei
īn produs, pericol de īnghetare a apei īn timpul iernii etc.
Izolarea spatiului gazos al rezervorului de oglinda lichidului, prin acoperirea suprafetei acestuia cu un strat de spuma, care sa nu permita evaporarea produsului petrolier si saturarea spatiului gazos cu vapori. Greutatea consta īn producerea unei spume cāt mai stabile.
4) Folosirea unor rezervoare de constructie speciala dintre care amintim:
a) Rezervoare "picatura de apa". Forma acestor rezervoare reprezinta o picatura de lichid ce sta pe o suprafata plana sub actiunea fortelor de tensiune superficiala (fig.1). Ele se folosesc īn special pentru produse volatile, īn cazul depozitari īndelungate, find calculate la presiuni pāna la 2 at si vid de 600 mm H2O. Acest tip de rezervor asigura micsorarea pierderilor "respiratiei mici".
Fig. 1. Rezervor "picatura" de apa" :
1- mantaua rezervorului; 2- fund; 3 -nervuri
de sustinere; 4 - placa inelara; 5- pat de nisip; 6 - ferme.
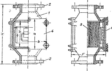
b) Rezervoare cu capac plutitor. Pentru a reduce pierderile de produse volatile īn timpul "respiratiei mari si mici" se folosesc rezervoare al caror capac pluteste pe suprafata lichidului depozitat, coborāndu-se si ridicāndu-se odata cu acesta.
Īn figura 2 este reprezentat un rezervor cu capac plutitor. Spatiul inelar dintre marginea capacului si peretele rezervorului se etanseaza cu ajutorul unei constructii speciale. Drept material de etansare se foloseste tesatura de azbest cu plasa de sārma pentru rezistenta si īmbibata cu tiocol pentru a rezista la actiunea vaporilor de produse petroliere.
Rezervoarele cu capac plutitor nu
au spatiu gazos deasupra lichidului, cu exceptia unui spatiu mic
din zona īnchizatorului, care fiind īnsa constant la orice
pozitie a capacului nu reprezinta o sursa de pierderi prin
"respiratie". Desi mai costisitoare decāt rezervoarele
obisnuite, diferenta de cost se amortizeaza datorita
reducerii pierderilor de produse volatile. Aceste rezervoare sunt foarte utile
atunci cānd se fac operati dese de īncarcare si descarcare
(rezervoare curente), deoarece se reduc pierderile datorita
"respiratiei mari".
Rezervoarele cu capac plutitor au neajunsul ca deasupra capacului īn spatiul cilindric, se pot acumula vapori de produse petroliere, īn cazul unei etansari necorespunzatoare, ceea ce prezinta pericol de incendiu. Un alt neajuns este ca īn regiunile cu ninsori abundente, pentru a evita acumularea zapezii trebuie constituit un acoperis exterior, ceea ce scumpeste constructia.
Acest tip de rezervor a capatat o larga raspīndire īn ultimii ani. El nu se recomanda pentru depozitarea produselor foarte volatile izooctan, benzine de aviatie) din cauza imposibilitatii de a se asigura o īnchidere absolut etansa a spatiului inelar.
c) Rezervoare cu capac "respirator". Capacul acestor rezervoare consta dintr-o membrana de otel elastic cu grosime de 2-3 mm. Cānd rezervorul este gol, partea de mijloc a capacului, sub propria greutate, coboara si se sprijina pe suporti (fig. 3). La umplerea rezervorului sau la cresterea presiunii, capacul se ridica si volumul rezervorului creste. Variatiile de volum reprezinta 3-5%, ceea ce este pe deplin, suficient pentru lichidarea totala a "respiratiei mici" a rezervorului.
fig.3.Schema rezervorului cu capac "respirator"
d) Rezervoarele gazometrice cu capacul construit sub forma unui clopot (fig.4). La cresterea presiunii īn rezervor clopotul se ridica. Etansarea spatiului inelar dintre peretii clopotului si ai rezervorului se realizeaza ou ajutorul unei īnchideri hidraulice. Lichidul de etansare a īnchiderii hidraulice este un produs petrolier cu punct de congelare scazut. Pentru a nu permite patrunderea diferitelor obiecte si a precipitatiilor atmosferice, el este aparat de o manta exterioara. Pozitia corecta a clopotului se realizeaza cu ajutorul unor dispozitive de ghidare.
Acest tip de rezervor asigura lichidarea totala a "respiratiei mici". El se comporta foarte bine īn exploatare si se foloseste īn special pentru depozitarea īndelungata a produselor petroliere.
Micsorarea amplitudinii variatiilor de temperatura, care se realizeaza prin urmatoarele metode :
1) Vopsirea suprafetei exterioare a rezervorului īn culori deschise, ce reflecta razele solare. Eficacitatea acestui imijloc de protectie a rezervorului īmpotriva īncalzirii datorita radiatiilor solare rezulta din datele de mai jos, care reprezinta pierderile anuale de produse volatile, īn %, īn functie de culoarea vopselei :
vopsea de aluminiu : 0,83
cenusie : 0,99
Fig. 4. Rezervor gazometru.
a-vedere generala; b-detaliu de īnchidere; 1-mantaua rezervorului; 2-īnchidere hidraulica; 3-peretele capacului ; 4-capac; 5-balustrada; 6-stālpi de sustinere a capacului; 7-scara de acces; 8- aparatoare; 9-cornier de īntarire.
Izolarea termica a capacului rezervorului cu materiale izolatoare; sarcina suplimentara pe capac datorita izolarii nu trebuie sa depaseasca 20-23 kgf/m2.
Ecranarea rezervoarelor prin plantarea īn apropierea lor
a unor pomi cu frunza deasa sau prin amenajarea unor constructii
speciale pentru reflectarea razelor solare.
Stropirea capacului rezervorului cu apa pulverizata. Īn
cazul rezervoarelor cu capac plat, prevazute cu o bordura, se
realizeaza un strat de apa uniform pe toata suprafata
capacului, care reduce pierderile de produs prin evaporare.
Depozitarea produselor sub presiune
Prin acest sistem se reduc aproape complet pierderile datorita respiratiei mici si partial cele provenite din "respiratia mare". Presiunea optima se alege īn functie de proprietatile fizice ale produsului si de conditiile mediu lui, īn rezervoarele sferice si sferoide presiunea poate atinge valori de 200-300 mm H2O.
Captarea vaporilor
Pentru captarea vaporilor de produse petroliere din rezervoare cu capac fix se folosesc rezervoare cu capac "respirator", rezervoare gazometru, baloane sau absorbere. Īn acest scop se leaga conductele de aerisire de la mai multe rezervoare pentru produse de acelasi fel īntr-o retea colectoare. Legarea spatiului gazos al rezervoarelor asigura un schimb reciproc de gaze si o izolare perfecta fata de mediul exterior. Vaporii de produs petrolier trec din rezervorul care este īn īncarcare īn rezervorul ce se descarca, ceea ce permite sa se reduca considerabil pierderile. Pentru cazurile īn care nu exista o sincronizare a operatiilor de īncarcare si descarcare, ceea ce duce la aparitia unui excedent de vapori sau a unui minus, īn reteaua, de gaz se cupleaza un rezervor gazometru. Acest sistem foarte eficient este una din masurile principale pentru reducerea pierderilor de produse volatile datorita ambelor tipuri de "respiratii".
Uneori pentru captarea vaporilor se folosesc rezervoare cu pereti elastici, sub forma unor baloane īn care se aduna vaporii de la mai multe rezervoare. Aceste rezervoare-balon au diametru mare cu fund si capac rigid din tabla de 2 mm. Corpul se confectioneaza din tesatura de bumbac impregnata cu o substanta rezistenta fata de produsele petroliere. La umplerea lor ou vapori de produs petrolier, capacul se ridica de la 2,00 pāna la 4,50 m. Supape de siguranta mentin īn interiorul balonului presiunea de 20-300 mm H2O.
Deseori pentru captarea vaporilor de la rezervoare se folosesc absorbere, al caror principiu de functionare consta īn absorbtia vaporilor īn absorbanti speciali. Drept absorbanti se pot folosi petrol lampant, uleiuri etc. Īn absorbere nu se retine īntreaga cantitate de vapori (acesta ar necesita absorbere de dimensiuni mari), dar se micsoreaza scaparile de produse volatile datorita "respiratiei mici" cu circa 40%. Pentru scurgerea vaporilor produselor petroliere se folosesc si instalatii de adsorbtie cu carbune activ.
Exploatarea rationala
Pentru a micsora scaparile de vapori si a reduce pericolul de incendiu se pot lua usi o serie de masuri organizatorice si anume :
Verificarea zilnica a etanseitatii rezervoarelor.
Reducerea la minimum a numarului de operatii de īncarcare si descarcare, ceea ce micsoareaza pierderile datorita "respiratiei mari".
īncarcarea produsului īn rezervoare sa se faca pe cāt posibil noaptea, la o temperatura cāt mai scazuta, iar descarcarea ziua.
Echiparea rezervoarelor cu echipamentul necesar unei exploatari lipsite de pericol si anume :
1) Clapeta de retinere pentru a īmpiedica deversarea produsului din rezervor īn cazul deteriorarii conductelor. Mecanismul de actionare a clapetei se monteaza la partea inferioara a rezervorului.
2)Supapa de respiratie, īn cazul
rezervoarelor cu capac fix,
care asigura automat comunicatia spatiului gazos al rezervorului
cu atmosfera la variatiile de presiune datorita temperaturii sau la
operatiile de īncarcare si golire a rezervorului. Supapa
consta dintr-o cutie cu doua clapete : una din clapele se deschide la
cresterea presiunii īn spatiul gazos si asigura evacuarea
gazelor īn atmosfera, iar cealalta se deschide īn cazul formarii unei depresiuni si permite intrarea aerului īn
rezervor. Cele doua clapete se
deschid la o suprapresiune de 100-200 mm
H2O, respectiv la o depresiune de 50-100 mm H2O.
Supapele de respiratie se monteaza pe aceeasi conducta cu opritoarele de flacari.
3)Supapa de siguranta hidraulica (fig.5) limiteaza marirea suprapresiunii sau a depresiunii din spatiul gazos al rezervorului, īn cazul nefunctionarii supapei de respiratie.
Drept lichid de etansare se foloseste o fractie greu volatila, de obicei ulei mineral cu greutatea specifica 0,86-0,88 si temperatura de congelare -20°C. La cresterea presiunii īn rezervor, uleiul din spatiul inelar A este īmpins īn spatiul B. Cānd uleiul coboara sub marginea crestata a despartituri, amestecul vapori-aer din rezervor trece sub forma de bule prin stratul de ulei, iesind īn atmosfera. Īn cazul presiunii scazute, fenomenul se petrece invers.
Fig.5.Supapa de siguranta hidraulica: 1-slut central; 2- flansa;
3-corp;4-spatiu inelar; 5-capacul supapei ; 6-plasa de sārma; 7-perete despartitor; 8-tija pentru nivel;9-bulon; 10-dop de scurgere.
4) Opritorul de flacari serveste la protectia spatiului gazos al rezervorului de patrunderea flacarii prin supapele de respiratie. Opritorul de flacari consta dintr-un corp turnat, avānd īn interior un pachet de placi metalice, alternānd unele ondulate cu altele netede fig.6. Placile se confectioneaza dintr-un metal anticoroziv (otel inoxidabil etc). Distanta dintre placi este de regula de 1 mm.
Exista si alte tipuri de opritoare de flacari cu plase de sārma cu ochiuri mici denumite site Davy sau cu umplutura de pietris. Cele cu plasa de sārma prezinta dezavantajul unei rezistente mecanice insuficiente, iar cele cu pietris au neajunsul īnfundarii lor usoare, posibilitatilor grele de curatire si uzurii premature a armaturilor.
Principiul de functionare al opritoarelor de flacara consta īn faptul ca flacara trecānd prin sistemul de canale de sectiune mica este dispersata ; suprafata de contact a flacarii marindu-se creste schimbul de caldura cu peretii canalelor si flacara se stinge
Fig.6. Opritor de flacara :
1-corp turnat; 2-flansa; 3- fascicule din placi metalice ondulate; 4- capace.
Īn cursul exploatarii, opritoarele de flacari se vor controla cel putin odata pe luna, verificāndu-se starea de curatenie a pachetelor cu placi metalice si asezarea corecta a placilor. Pachetele īmbācsite cu praf se curata, iar placile defecte se īnlocuiesc.
2. DEPOZITAREA GAZELOR LICHEFIATE
Īn functie de natura gazului, depozitarea gazelor lichefiate se face sub presiune la temperatura ambianta sau la presiunea atmosferica si la temperaturi scazute.
Anumite gaze cum sunt: etanul, etilena, gazul natural, metanul nu pot fi depozitate īn stare lichefiata la temperatura ambianta, īntrucāt temperatura critica a acestor gaze este inferioara temperaturii ambiante. Ele nu se pot depozita decāt la temperaturi scazute si la presiuni oare pot varia de la presiunea atmosfericapāna la presiunea corespunzatoare temperaturii admisibile (sub temperatura critica). Asemenea rezervoare se numesc rezervoare criogenice. Astfel, etilena poate fi depozitata la presiunea atmosferica si temperatura de -104°C (corespunzatoare temperaturii de fierbere la presiunea atmosferica) sau la presiunea, de exemplu, de 9 at si temperatura de -53°C corespunzatoare acestei presiuni.
Gaze lichefiate ca: propanul, propilena, butanul, butilena, butadiena sau amestecurile de aceste hidrocarburi se depoziteaza de regula īn rezervoare de presiune. Presiunea variaza īn functie de natura gazului de la 6 at pāna la 20 at. si aceste gaze lichefiate pot fi depozitate īn rezervoare criogenice la presiune atmosferica, īn acest caz, scaparile de gaze sunt considerabil reduse, ceea ce micsoareaza pericolul de incendiu si explozie.
Īntr-o situatie deosebita se gasesc unele produse ca: gazolina, izoprenul, izopentanul si īn general fractia C5, care sunt la limita dintre lichide foarte volatile si gaze lichefiate. Din cauza volatilitatii lor ridicate, la depozitarea īn rezervoare atmosferice obisnuite, īn timpul verii, se pierd cantitati mari de produs. Īn afara de aceasta, iesirea īn atmosfera a unor cantitati mari de vapori inflamabili constituie un pericol important de incendiu.
La depozitarea īn rezervoare fara comunicare cu atmosfera trebuie avut īn vedere ca īn timpul verii aceste hidrocarburi dezvolta o suprapresiune īn rezervoare. Din contra īn timpul iernii, la temperaturi scazute presiunea lor de vapori scade sub cea atmosferica, astfel īncāt īn spatiul īnchis al rezervorului se produce vacuum, care poate conduce la ,,burdusirea" rezervorului. Din aceasta cauza, multa vreme aceste produse erau depozitate īn rezervoare de presiune, sferice sau cilindrice, ceea ce constituia o solutie costisitoare.
Īn prezent, pentru depozitarea hidrocarburilor din fractia C5 se folosesc rezervoare cilindrice, fara presiune. Pentru a nu avea pierderi de produs se recomanda depozitarea īn anumite conditii.
Vara, produsul este racit la intrarea īn rezervor la temperatura de 15°C 'qu apa racita de 5°C. Rezervorul este izolat pentru a micsora īncalzirea produsului din exterior. Vaporii care se formeaza la o depozitare īndelungata sunt condensati cu sola de -15°C, iar lichidul se īntoarce īn rezervor. Se prevede si posibilitatea racirii produsului prin recirculare cu pompa īn aceleasi racitoare cu apa de +5°C. Cānd presiunea creste totusi peste o anumita limita (200 mm H2O), un regulator de presiune deschide iesirea spre atmosfera. La scaderea presiunii sub cea atmosferica (vacuum de 50 mm H2O), acelasi regulator deschide intrarea azotului, evitāndu-se astfel patrunderea aerului. Pentru protectia rezervorului de distrugere se prevad doua supape hidraulice: una pentru evacuarea vaporilor īn atmosfera la cresterea presiunii peste limita admisibila si una pentru intrarea aerului cānd presiunea scade sub limita minima admisa. Pe conductele de aerisire de pe rezervor si supapele hidraulice se prevad opritoare de flacari.
Fig.7. Schema conductelor la rezervorul sferic pentru gaze lichefiate.
a.Rezervoare de presiune. Pentru depozitarea gazelor lichefiate sub presiune se folosesc rezervoare sferice sau, pentru capacitati mici, rezervoare cilindrice orizontale. Rezervoarele cilindrice pot fi supraterane sau īngropate.
Īn cazul rezervoarelor supraterane ele trebuie protejate de īncalzirea datorita razelor solare, prin izolare termica sau parasolare. Cum presiunea din interior este variabila functie de temperatura mediului ambiant, pentru a īmpiedica cresterea temperaturii si presiunii, īn timpul verii rezervoarele se stropesc ou apa īn partea lor superioara, cu ajutorul unei tevi prevazuta cu ajutaje. Debitul de stropire este de circa 0,10 m3/m2h. Pentru a nu introduce cantitati mari de apa īn spatiul de sub rezervor se prevede un jgheab de colectare a apei putin sub ecuatorul sferei sau generatoarea rezervorului cilindric.
Īn anul 1966 la rafinaria de la Feysin (Franta) a avut loc o catastrofa, care a cauzat mari pagube materiale. Cauza acestei catastrofe a fost scurgerea unor cantitati mari de gaze lichefiate din partea inferioara a unui rezervor sferic de propan, īn timpul interventiei la armaturi. Gazele scurse s-au aprins cu explozie. Focul de sub rezervor a dus la deformarea acestuia urmata de ruperea si rasturnarea lui.
O sursa importanta de pericol pot prezenta ventilele de golire a apei din rezervor īn cazul īn care la evacuarea apei ies gaze lichefiate, la o umiditate ridicata a aerului exterior, ele produc o īnghetare a racordului datorita evaporarii lor prin destindere, nepermitānd astfel īnchiderea ventilului. Iesirea unei cantitati mari de gaze poate duce la catastrofa. Pentru a preveni astfel de accidente se recomanda prevederea pe conducta de evacuare a apei a doua ventile, separate īntre ele printr-un tronson de conducta,, astiel īneīt, la īnfiuinidarea unuia, celalalt sa ramāna īn stare de functionare. Conducta de evacuare a apei trebuie .amplasata lateral si nu su'b rezervor, iar diametrul sa nu depaseasca 25 mm.
Pentru prevenirea unor scapari de gaze la īmbinarile cu flanse, acestea trebuie executate astfel, īncāt garnitura sa nu poata fi īmpinsa de la locul ei, ca de exemplu la flansele cu prag si adāncitura, sau sa se foloseasca garnituri speciale (armate cu metal). Aceasta se impune mai ales īn cazul gazelor lichefiate ce se depoziteaza la presiuni de 16 at si mai mari. Īn cazul rezervoarelor de C4, o asemenea masura nu este absolut necesara.
b. Rezervoare criogenice. Pentru depozitarea gazelor lichefiate la presiunea atmosferica si temperaturi scazute se folosesc īn general rezervoare cilindrice cu pereti dubli. Ca material de constructie rezistent la temperaturi scazute se utilizeaza otelul cu continut de 9% nichel. Pentru reducerea la maximum a pierderilor de frig, īntre cei doi pereti se introduce un material cu proprietati izolatoare bune, de obicei perlita. Stratul izolator trebuie mentinut sub o usoara presiune de gaz de protectie uscat, de obicei azot, pentru a īmpiedica patrunderea umiditatii din aerul exterior īn timpul "respiratiei" spatiului inelar umplut cu izolatie, īn prezenta umiditatii, izolatia īsi pierde proprietatile izolatoare, īn cazul īn care se foloseste azot drept gaz de protectie, chiar scurgeri mici din rezervorul interior pot fi usor detectate prin analizarea azotului care se evacueaza din spatiul inelar īn timpul "respiratiei". Pentru a nu se pierde azotul, acesta este depozitat īntr-un vas "respirator". La cresterea presiunii īn spatiul inelar, azotul este trimis īn vasul "respirator", iar la scaderea presiunii, intra din vasul "respirator" īn spatiul inelar al rezervorului. Vasul "respirator" se prevede cu o membrana elastica.
De o importanta capitala pentru securitatea unui rezervor criogenie este constructia acoperisului. Solutia cea mai simpla si mai. des folosita datorita pretului scazut este cu acoperisul rezervorului interior suspendat. Deoarece la acest tip de constructie etansarea mantalei interioare nu este posibila, īn timpul variatiilor de: temperatura, presiunea gazului ajunge la stratul de izolatie. Īn acest caz, chiar vaporii gazului lichefiat servesc drept gaz de protectie pentru stratul de izolatie.
Mai sigure īn exploatare, dar mai costisitoare sunt rezervoarele cu pereti dubli la care mantaua interioara cāt si cea exterioara sunt īnchise si spatiul inelar cu izolatie dintre cele doua rezervoare formeaza un sistem separat. īn acest caz stratul de izolatie trebuie sa "respire" odata cu unul din rezervoare, pentru a putea prelua schimbarile de volum. Pentru aceasta stratul de izolatie de līnga rezervorul interior se executa dintr-un material elastic.
Rezervoarele criogenice sunt echipate cu instalatii anexe pentru evaporarea gazului lichefiat si comprimarea vaporilor care se formeaza, ca urmare a pierderilor de frig prin izolatie. Volumele de gaz lichefiat īn aceste instalatii sunt īnsa comparativ foarte mici, astfel īncāt sunt valabile masurile generale de prevenirea incendiilor si exploziilor aratate la gazele lichefiate.
Aceste rezervoare se construiesc pentru capacitati pāna la 50000 m3 si chiar mai mari.
RAMPE DE ĪNCĂRCARE - DESCĂRCARE
1. RAMPE DE CALE FEKATA
Īncarcarea si descarcarea produselor petroliere din vagoane cisterna de cale ferata reprezinta una din operatiile cu grad ridicat de pericol. Amestecuri inflamabile pot lua nastere atāt īn interiorul cisternelor, cu ocazia umplerii si golirii lor, cāt si īn jurul cisternelor, īn gropi, canale si camine de canalizare.
Incendiile la rampele de īncarcare - descarcare se manifesta cu mare forta si rapiditate. Temperaturile ridicate care se dezvolta īn timpul unui incendiu provoaca arderea garniturilor de la īmbinarile cu flanse, ceea ce conduce la scurgeri suplimentare de produse ce alimenteaza incendiul. De asemenea, temperaturile ridicate deformeaza constructiile metalice ale rampei, ceea ce provoaca ruperea conductelor.
Sursele de aprindere cele mai caracteristice sunt : * scānteile produse prin lovirea unor obiecte metalice de peretii cisternei īn timpul umplerii;
* electricitatea statica datorita frecarii īn conducte; * descarcarile atmosferice;
* scānteile produse de locomotive etc.
Īn timpul īncarcarii produselor petroliere lichide īn cisterne au loc scapari intense de vapori inflamabili la guria cisternei. Scaparile sunt deosebit de mari atunci cānd umplerea nu se face sub un strat de lichid. Pentru a se reduce scaparile de vapori, la produsele volatile se recomanda ca umplerea sa se faca īn sistem etans (printr-un racord prevazut īn capacul gurii de vizitare), iar spatiul gazos al cisternei sa fie legat printr-o conducta cu spatiul gazos din rezervorului din care se face īncarcarea. Aceasta masura, care se foloseste īn mod curent la īncarcarea gazelor lichefiate pentru egalizarea presiunii, permite īntoarcerea vaporilor de produs petrolier īn rezervor, īn loc sa iasa īn atmosfera.
La īncarcarea cisternelor cu produs se va avea grija sa se lase un spatiu de vapori deasupra lichidului, care sa permita dilatarea produsului la variatiile de temperatura īn timpul transportului.
Conductele de īncarcare si golire a cisternelor trebuie prevazute cu ventile de īnchidere pentru cazuri de avarie, situate la 15-20 m distanta de rampa. Pentru a evita formarea scānteilor, furtunurile de īncarcare se prevad cu racorduri din metale neferoase.
Capacele gurilor de īncarcare a cisternelor se vor īnchide cu grija, fara a le trānti. Dupa introducerea furtunului, gura cisternei se va acoperi cu o husa din prelata, pentru a īmpiedica iesirea vaporilor si īmprastierea lor pe o raza mare.
Rampele de īncarcare se amplaseaza la distantele cerute de normele de paza contra incendiilor. Terenul din jurul rampelor va fi curatit de ierburi, buruieni sau plante, care uscāndu-se, favorizeaza producerea si propagarea unui incendiu, īn cazul aruncarii neglijente a resturilor de tigari si chibrituri aprinse.
La manevrarea vagoanelor cisterna pentru īncarcare sau descarcare se vor lua anumite masuri. Vagoanele vor fi īmpinse pe linie pāna īn dreptul gurilor de īncarcare, iar locomotiva de manevra, fie ca este cu abur sau cu motor Diesel, nu va trece niciodata prin dreptul rampei. Distanta minima la care o locomotiva se poate apropia de rampa este de 30 m, īn care scop se vor folosi la īmpins 2-3 vagoane tampon.
Īn cazul rampelor de īncarcare-descarcare gaze lichefiate, pentru tragerea vagoanelor cisterna īn dreptul gurilor de īncarcare se vor folosi cabestane. Dispozitivul de antrenare a cablului, precum si rotile dintate ale angrenajului trebuie sa fie din materiale care nu produc scāntei.
Circulatia locomotivelor cu abur īn zona depozitului se va face cu gratarul īnchis, iar cosul de tiraj va fi prevazut cu dispozitiv parascāntei. Sub nici un motiv nu se vor folosi frānele pe tamburii rotilor, īntrucāt frecarea sabotilor pe roti poate provoca scāntei. Oprirea vapoanelor īn dreptul gurii de īncarcare se va face folosind saboti speciali īn acest scop. Aceasta impune ca manevrarea vagoanelor cisterna pe linia rampei sa se faca cu viteza mica, echivalenta cu mersul normal al unui om. Īn acest mod oprirea prin folosirea sabotilor de sina este asigurata.
Multi manevranti, din comoditate, arunca pietre, luate de pe terasamente, sub rotile vagoanelor. O asemenea practica, pe lānga faptul ca poate provoca scāntei, duce īn multe cazuri la accidente. La manevrarea vagoanelor se vor lua masuri ca lovirea tampoanelor dintre vagoane sa fie evitata sau sa se faca usor, pentru a nu produce scāntei.
La trecerea vagoanelor cisterna prin dreptul rampei, gurile de īncarcare vor fi rotite lateral. De asemenea, puntile metalice de trecere de pe pasarela rampei pe cisterna se vor rabata pentru a nu lovi cisternele īn trecere. Scānteile ce s-ar putea produce īn cazul unei loviri, ar conduce la incendiu daca tinem seama ca mediul din jurul rampei este exploziv.
Elementele metelice ale rampei, conductele cisternelor si sinele de cale ferata trebuie legate la pamānt. Conductele vor fi legate la pamānt pe portiuni de cāte 150 m. Pentru īnchiderea circuitului, la īmbinarile cu flanse se vor suda puntile.
Rampele de īncarcare-descarcare a gazelor lichefiate vor fi separate de cele pentru lichide. La depozitele de lichide de categoria I se vor prevedea linii separate pentru īncarcarea produselor cu temperatura de inflamabilitate a vaporilor pāna la 45°C. La distanta de 20 m de liniile de īncarcare-descarcare se va prevedea o linie de derivatie paralela cu linia rampei, cu legaturi la fiecare front de īncarcare.
La depozitele de categoria a II-a si a III-a se admite o singura linie de rampe pentru toate produsele, pastrānd īnsa distanta de 20 m īntre marginile rampelor. Daca la aceste depozite nu exista posibilitatea construirii unei linii de derivatie, se admit linii de capat, marindu-le īnsa lungimea cu 20 m pentru decuplarea garniturii īn caz de incendiu.
Iluminatul rampelor trebuie studiat astfel īncāt operatorii si manevrantii sa aiba asigurate conditii optime de vizibilitate, atāt noaptea, cāt si pe timp de ceata. Iluminatul exterior se va realiza cu reflectoare protejate contra exploziilor montate pe stālpi proprii īncarcarea cisternelor pe timp de furtuna cu descarcari electrice violente este interzisa.
Pentru stingerea īnceputurilor de incendiu, īn lungul rampelor se vor prevedea conducte de abur cu prize pentru montarea furtunurilor. Furtunurile se vor amplasa pe suporti anume amenajati si vor fi prevazute cu minere izolate termic. īn plus se vor asigura stingatoare cu spuma, lazi cu nisip si paturi de azbest.
2. ĪNCĂRCAREA ĪN AUTOCISTERNE
La umplerea autocisternelor cu produse petroliere, pericolul de incendiu se datoreste degajarii de vapori inflamabli din lichidul transferat si formarii unor amestecuri explozive, atāt īn recipient, cāt si īn apropierea punctului de iesire a aerului deplasat. Aprinderea se poate produce de la setatei statice provocate de frecarea produsului de stratul de aer īn timpul īncarcarii.
Prin īncarcarea "pe jos" a autocisternelor, folosind acelasi racord care serveste pentru descarcare, se reduce īn mare masura pericolul, īntrucāt īncarcarea facāndu-se sub presiune, cu gura de vizitare īnchisa, se micsoreaza evaporarea. Pe de alta parte, nu exista pericolul debordarii produsului, umplerea controlīndu-se cu un indicator de nivel, iar formarea electricitatii statice are loc īn masura neīnsemnata. Generalizarea iacestei metode, care se foloseste īn aeroporturi la īncarcarea carburantilor īn rezervoarele avioanelor, a fost frīnata de faptul ca echipamentul autocisternelor trebuie modificat īn consecinta.
La umplerea cisternelor, mai ales la umplerea "pe sus", trebuie contat pe aparitia unor sarcini electrostatice foarte mari, datorita izolarii vehiculelor fata de pamānt. De aceea este necesar sa se efectueze o legare la pamānt eficienta. Pentru a se evita cazurile cānd legarea la pamānt s-ar efectua gresit, sau nu s-ar face de loc, s-a pus la punct un dispozitiv cu control automat. Integrat īn circuitul sistemului de īncarcare, acest dispozitiv obliga operatorul sa efectueze legarea la pamānt. Releul de forta al pompei de alimentare este comandat de un circuit electronic de control, care nu raspunde decāt daca borna de legare la pamānt este conectata la vehiculul rutier. Daca aceasta nu se realizeaza, nu poate fi pornita pompa de alimentare. Legatura vehicul - pamānt este realizata astfel, īneīt arcul electric nu se poate produce decāt īn interiorul unei cutii antideflagrante. Comanda poate fi manuala de la un buton sau automata prin intermediul unui releu temporizat, īn ambele cazuri, o lampa montata īn interiorul cutiei, semnalizeaza ca legatura este asigurata.
E. TRANSPORTUL PRODUSELOR PETROLIERE PE CONDUCTE
Conductele de produse petroliere, īn special cele de produse volatile, prezinta pericole mari de incendiu si explozie īn cazul ruperii conductei, īntrucāt vaporii produsului scurs din conducta se rāspāndesc pe suprafete mari, putāndu-se aprinde de la o sursa oarecare. Perimetrul focarului de incendiu este īn functie de datele de exploatare ale conductei, de diametrul conductei si timpul pāna la īnchiderea vanelor de sectionare.
Conform unei statistici, ruperea conductelor se datoreste īn 36% din cazuri unor suduri defectuoase, 40% din cazuri - coroziunii, 20% din cazuri - unor cauze externe (de exemplu lovirea de catre un escavator) si 4% din cazuri - unor cauze necunoscute.
Pentru a preveni ruperi de conducte care transporta titei sau produse petroliere volatile este necesar a se lua o serie de masuri speciale. Controlul de calitate al tevilor īn timpul fabricatiei si īnainte de montare trebuie facut de un specialist, altul decāt specialistul uzinei producatoare sau al īntreprinderii de montaj. Sudurile, atāt cele de īmbinare a tevilor, cāt si cele longitudinale (daca este cazul) vor fi probate nedistructiv (prin gamagrafiere sau cu ultrasunete) īn proportie de 100%. Se previn astfel sudurile necorespunzatoare, care sunt cauza a numeroase ruperi de conducte. Presiunea de proba pentru conductele de transport produse petroliere trebuie sa fie mai mare fata de cea de regim, īn raport cu alte conducte. Avānd īn vedere ca multe ruperi de conducte se datoresc unor cauze externe, se va īmbunatati sistemul de protectie a conductei. De asemenea, coroziunea fiind una din cauzele importante de rupere a conductelor, se va efectua un control periodic al conductei, pentru a determina schimbari īn structura cristalina a materialului prin mijloace electronice sau cu ultrasunete. Conductele vor fi prevazute cu sisteme de protectie contra coroziunii.
Pentru a micsora scurgerile de lichid īn cazul ruperii conductei se va limita distanta dintre ventilele de sectionare de pe traseul conductei. De asemenea, se va limita diametrul conductei, avānd īn vedere ca la diametre mari si cantitatile de produs scurse sunt mai mari.
La transportul produselor petroliere pe conducte trebuie luat īn consideratie si influenta asupra celorlalte conducte īn cazul ruperii uneia din conducte. Ruperea conductei duce la aparitia unui sant simetric īn cazul conductelor sudate longitudinal si de forma neregulata īn cazul conductelor sudate īn spirala. Drept rezultat, conducta se deplaseaza atāt de mult, īncāt exista pericolul influentarii conductelor paralele alaturate.
Ca urmare a unor accidente care au avut loc, s-a putut determina ca santul format are la baza o latime de 2 m si un unghi de īnclinare de 70°. (fig. 8).
Pentru a proteja conductele paralele de efectele ruperii uneia, distanta de siguranta S dintre ele se poate calcula cu formula:
S=S0+d(tgα-1)[m];
S0 = semiīnaltimea fundului santului (de obicei 1), īn m;
d = diametrul conductelor paralele (considerate de acelasi diametru), īn m;
α = unghiul de īnclinare al santului;

S0 si α depind de conditiile de exploatare ale conductei, de adīncimea de pozare si modul de acoperire cu pamānt.
La conductele de diametre mari, se poate considera :
S = 1 + 1,5 d [īn m].
Desi domeniul de valabilitate al acestei expresii este pentru diametre īntre 500 si 1000 mm, el poate fi extins si pentru conducte mai mici, de pāna la 150 mm. S0 si α scad īn general cu diametrul conductei si presiunea de exploatare.
|