Procedee si utilaje de îndoire a tevilor
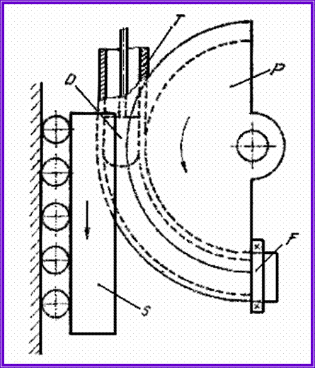
A. Procedeul de îndoire a tevilor bazat pe înfasurarea pe un sector profilat, cu folosirea dornului pentru evitarea turtirii

teava T, ghidata de sablonul S, se înfasoara în jurul sectorului profilat P;
sectorul P este antrenat în miscare de rotatie de un motor electric, prin intermediul unui reductor;
dornul D este mentinut în permanenta în dreptul sectiunii în care se realizeaza îndoirea, pentru a evita p 15115o149p ericolul turtirii;
dupa fiecare îndoire, sablonul de ghidare S si sectorul profilat P revin la pozitia initiala, iar teava se refixeaza de sectorul P cu ajutorul dispozitivului F.
Latimea cavitatii S > De cu 0,6...1 mm;
Joc D-teava: 0,8...2,5 mm;
Dm = 50...200 mm - actionare electrica;
Dm = 200...500 mm - actionare hidraulica;
B. Procedeul de îndoire pe portiuni a tevilor, bazat pe înfasurarea pe un sector profilat, cu ajutorul sabloanelor profilate actionate de cricuri hidraulice
Aplicabilitate: tevi subtiri (k ≤ 0,02) de diametru mare (Dm = 500...1000 mm)

Succesiunea fazelor:
introducerea tevii T pe suportul S, cricurile C1, C2 si C3 fiind reglate la aceeasi înaltime, a.î. teava T sa stea în pozitie orizontala - a;
îndoirea primei portiuni a tevii prin coborârea sablonului profilat P si ridicarea la o înaltime corespunzatoare a cricurilor C2 si C3 - b;
avansul tevii, simultan cu ridicarea cricului C1 si coborârea cricurilor C2 si C3 în pozitia initiala - c;

îndoirea celei de-a doua portiuni a tevii prin coborârea sablonului si ridicarea a cricurilor C2 si C3;
repetarea fazelor pâna la terminarea îndoirii.
C. Procedeul de îndoire pe presa, bazat pe înfasurarea pe un sector profilat

îndoirea are loc cu ajutorul unui dispozitiv de curbat pravazut cu un poanson profilat P, dupa diametrul exterior al tevii, De, si raza de îndoire, R;
poansonul, împins cu forta F de berbecul B, îndoaie teava T, sprijinita pe doua role profilate S, montate pe batiul presei A.
D. Procedeul de îndoire la cald, folosind curenti de înalta frecventa
Aplicabilitate: tevi cu pereti grosi (s ≤ 75 mm) de diametru mare (Dm ≤ 1600 mm);
tevi din otel aliat si nealiat, cu raze de curbura minime de 1,5 Dm

teava 1 este ghidata în miscarea ei de avans axial uniform de perechi de role;
încalzirea la 800...1200oC are loc prin trecerea printr-un inductor CIF 2, de latime inelara 10...12 mm;
rola deformatoare 3 (fig. a) sau dispozitivul de curbare uniforma 4 (fig. b), actionând asupra portiunii încalzite a tevii, o curbeaza la raza dorita;
uzual, în zona de îndoire - atmosfera de gaze protectoare (argon, azot, CO2)
5.3.3. Fabricarea serpentinelor
Serpentinele - parti componente ale schimbatoarelor de caldura.
Tipuri de serpentine: - plane;
- elicoidale;
-
spirale. 
A. Fabricarea serpentinelor plane

lungimea unei tevi nefiind suficienta pentru a obtine lungi-mea desfasuratei serpentinei, initial are loc sudarea cap la cap la o masina de sudat prin presiune 2;
debavurarea interioara se realizeaza cu un dorn cu muchii taietoare 3, fixat în tija 4;
debavurarea exterioara are loc la avansul tevilor sudate, obtinut prin împingere cu ajutorul dispozitivului de antrenare-ghidare 5-8, sub actiunea polizorului 7, ce penduleaza în jurul tevii;
dupa obtinerea lungimii dorite a tronsonului sudat, se executa îndoirea pe o linie paralela, folosind dispozitivul cu bacuri de îndoit sectoare profilate 10;
dupa fiecare îndoire, serpentina 11 se roteste succesiv în doua sensuri, cu ajutorul ghidajelor 12 .

dispozitivul e format dintr-un tambur profilat 2, pe care se înfasoara teava 10, ghidata de rola 7;
rola 7 se deplaseaza libera pe arborele 6;
serpentina se poate scoate de pe tamburul 2 în urma rotirii pârghiei-distantier 5, ce sustine bucsa 4;
antrenarea în miscare de rotatie a tamburului profilat 2 este asigurata de arborele principal al unui strung, prin intremediul manivelei 1;
fixarea pe batiul strungului se realizeaza cu ajutorul placii 8, prin intremediul suportului 9;
dimensiunile tamburului se stabilesc tinând cont de deformatiile elastice ale serpentinei, la scoaterea de pe tambur.
C. Fabricarea serpentinelor spirale
înfasurare pe dispozitiv cu platou rotitor profilat, antrenat de AP al unui strung
|