Documente online.
Zona de administrare documente. Fisierele tale
Am uitat parola x Creaza cont nou
 HomeExploreaza
upload
Upload




STABILIREA PROCESELOR TEHNOLOGICE DE SEMIFABRICARE PRIN SUDARE

tehnica mecanica


STABILIREA PROCESELOR TEHNOLOGICE DE SEMIFABRICARE PRIN SUDARE





Lucrarea are drept scop familiarizarea studentilor cu metodologia de īntocmire a unui proces tehnologic de semifabricare prin sudarea elementelor ce īl compun.

Procesul tehnologic de fabricare contine urmatoarele etape:

I. Operatii pregatitoare:

II Operatii de asamblare sudare:

III. Operatii ulterioare:

Procesul tehnologic este unul cadru care se aplica īn practica. In lucrare se vor trata o parte dintre aceste operatii. Nu se va insista asupra proceselor tehnologice de prelucrare prin aschiere deoarece acestea fac obiectul altei discipline.

Īn continuare se va da un exemplu de semifabricare a constructiilor sudate (fig.1). Īn fig. 1 este reprezentat drept exemplu o tija construita din tabla groasa de 10 mm (poz.3) iar capetele au doua urechi (poz.2) asamblate prin sudare cu doua elemente de rigidizare (poz.1) debitate din teava.



Fig.1



Mijloacele de lucru pentru stabilirea procesului tehnologic de fabricatie trebuie sa fie cunoscute: bancul de trasare si sculele aferente: rigla gradata, compas, echer, dornul de punctare, creion de trasare; mijloacele de debitare si echipamentul aferent; bancul de īndreptare si sculele aferente: ciocan, presa de māna cu surub; masina de gaurit si sculele aferente; masina de rabotat (sepingul) si sculele aferente; echipamentul de debitat cu flacara.

Itinerariul tehnologic pentru prelucrarea si asamblarea tijei este dat īn tabelul de mai jos.







Tab. 1



Denumirea operatiei

Schita operatiei

Echipament tegnlogic

Trasarea si taierea elementelor

ndreptarea

Fara schita

Fara schita

poz.3

Fixarea si sudarea provizorie a elementelor


Sudare de asamblare

3. Modul de lucru


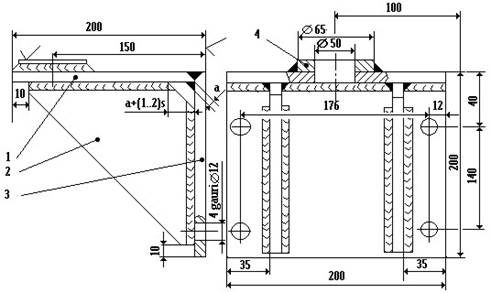
Dupa īnsusirea modului īn care s-a stabilit procesul tehnologic pentru obtinerea semifabricatului ca o constructie sudata, prezentat īn lucrare, se trece la stabilirea tehnologiei de obtinere a semifabricatelor ansamblul sudat suport prezentate īn fig. 2. In care poz.1( 1 buc.) si 3 (1 buc) sunt placile suportului, poz.2 sunt elemente de rigidizare (2 buc.), iar poz.4 este un inel cu rol de rigidizare īn jurul alezajului.

Fig. 2


Pentru aceasta se parcurg urmatoarele etape:

4. Concluzii

Se vor face observatii asupra metodologiei de īntocmire a procesului tehnologic de obtinere a semifabricatelor ca ansambluri sudate.






Document Info


Accesari: 6035
Apreciat: hand-up

Comenteaza documentul:

Nu esti inregistrat
Trebuie sa fii utilizator inregistrat pentru a putea comenta


Creaza cont nou

A fost util?

Daca documentul a fost util si crezi ca merita
sa adaugi un link catre el la tine in site


in pagina web a site-ului tau.




eCoduri.com - coduri postale, contabile, CAEN sau bancare

Politica de confidentialitate | Termenii si conditii de utilizare




Copyright © Contact (SCRIGROUP Int. 2025 )