Am uitat parola
x
Creaza cont nou
Home
Exploreaza
Upload
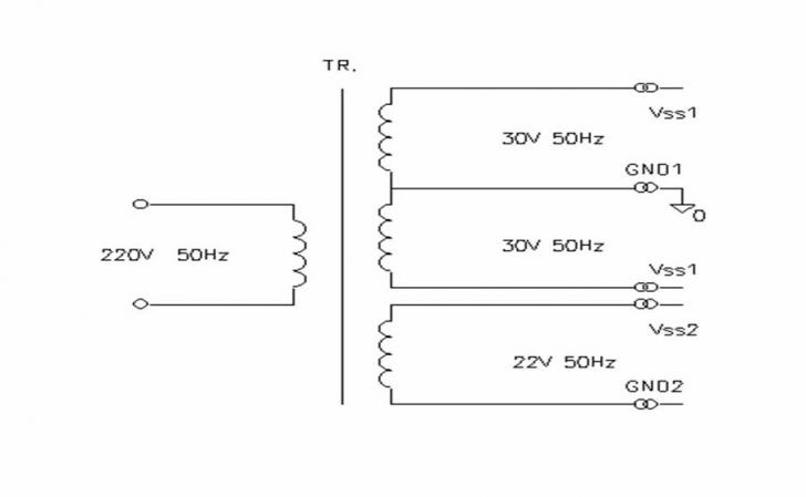
Schema electrica a transformatorului
tehnica mecanica
ALTE DOCUMENTE
CONTROLUL CALITĂŢII ĪMBINĂRILOR SUDATE
Norme specifice de securitate a muncii pentru lucrul la īnaltime
INSTALATII DE STINGERE A INCENDIILOR CU AEROSOLI
ECHOSTAR DSB-707 FTA
Ansamblu vana cu trei cai si componentele de automatizare.
P R O I E C T - POMPA SERVO-DIRECTIE
Efectul Seebeck. Studiul termocuplei
AUTOMATIZARI ELECTROPNEUMATIECE
ANALIZA ECHIPARII TABLOURILOR ELECTRICE
Tipuri de proprietate
Figura3.5.2.
Schema electrica a transformatorului
Document Info
Accesari: 3075
Apreciat:
Comenteaza documentul:
Nu esti inregistrat
Trebuie sa fii utilizator inregistrat pentru a putea comenta
Creaza cont nou
A fost util?
Daca documentul a fost util si crezi ca merita
sa adaugi un link catre el la tine in site
Copiaza codul:
in pagina web a site-ului tau.
Schema electrica a transformatorului
eCoduri.com - coduri postale, contabile, CAEN sau bancare
Politica de confidentialitate
|
Termenii si conditii de utilizare
Copyright
©
Contact
(
SCRIGROUP Int. 2026
)