Documente online.
Zona de administrare documente. Fisierele tale
Am uitat parola x Creaza cont nou
 HomeExploreaza
upload
Upload




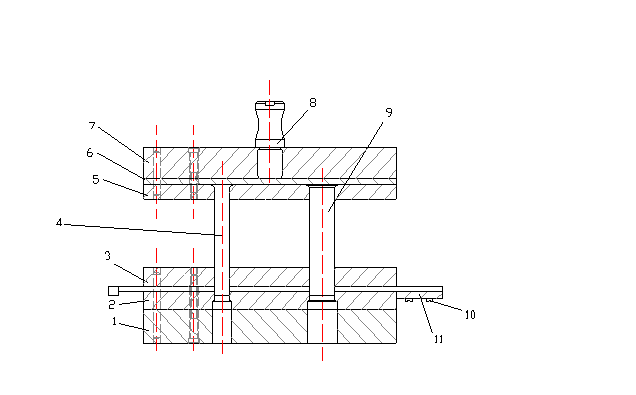
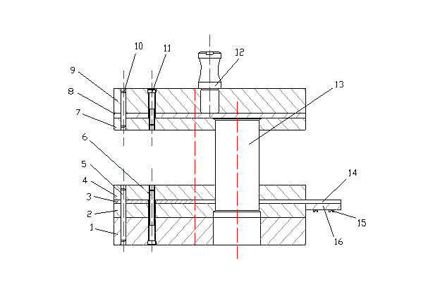
Stanta de perforat-decupat cu actiune succesiva.

tehnica mecanica


Varianta I:

stanta de perforat-decupat cu actiune succesivă 16316t1921q ;.



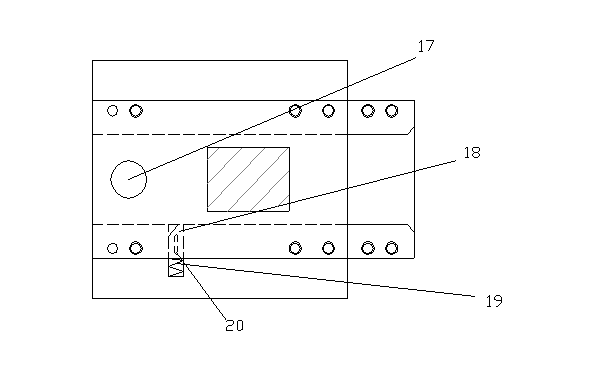
Varianta II:

stanta de decupat

stanta de perforat




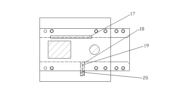
Varianta III:

stanta combinata de perforat retezat cu actiune succesiva




Document Info


Accesari: 6322
Apreciat: hand-up

Comenteaza documentul:

Nu esti inregistrat
Trebuie sa fii utilizator inregistrat pentru a putea comenta


Creaza cont nou

A fost util?

Daca documentul a fost util si crezi ca merita
sa adaugi un link catre el la tine in site


in pagina web a site-ului tau.




eCoduri.com - coduri postale, contabile, CAEN sau bancare

Politica de confidentialitate | Termenii si conditii de utilizare




Copyright © Contact (SCRIGROUP Int. 2025 )