stantarea
Este un procedeu tehnologic de prelucrare a materialelor prin taiere, la cald sau la
rece, cu ajutorul unei scule neaschietoare de constructie complexa denumita stanta prev 18418d36s 259;zuta cu cel putin doua taisuri asociate.
În aplicarea stantarii, efectul maxim se asigura prin rezolvarea complexa a problemelor tehnice respective în toate etapele de pregatire a productiei. În acest sens este necesar sa se proiecteze piese cu constructii simple si tehnologice, care sa permita o executie economica a lor. Trebuie sa se foloseasca materialele cu caracteristicile mecanice si tehnologice cel mai potrivite pentru procedeul de stantare stabilit.
stanta este alcatuita, de obicei, din doua subansamble, din care unul fix (pe masa presei), iar celalalt mobil (prins în culisorul sau berbecul presei), forta taietoare fiind furnizata de catre presa.
stantarea la rece cuprinde: operatii de taiere dupa un contur deschis (debitare) si operatii de taiere dupa contur închis ( decupare-perforare).
Decuparea si perforarea semifabricatelor
Decuparea este o operatie de separare completa a materialului dupa un
contur închis cu ajutorul stantei. La operatiile de decupare-perforare se disting trei faze ale procesului de forfecare, dupa cum urmeaza:
faza elastica, în care semifabricatul este comprimat si îndoit putin în cavitatea placii taietoare ( tensiunile si deformatiile nu depasesc limitele elasticitatii);
faza plastica, în care poansonul patrunde în material pe o anumita adâncime provocând presarea acestuia în cavitatea placii taietoare ( deformatiile materialului devin permanente, tensiunile depasesc limita de curgere);
faza de forfecare, în care se produc microfisuri, apoi macrofisuri, dupa care are loc separarea piesei de semifabricat.
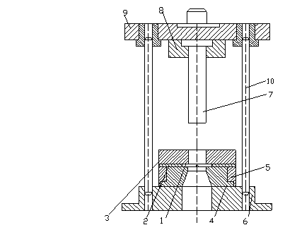
stanta de decupare este constituita din: 1- locasul în care se introduce banda; 2- placi de ghidare; 3- placa de retinere; 4- placa activa de taiere; 5- placa de fixare; 6- placa de baza; 7- poanson de decupare; 8- port poanson; 9- placa superioara; 10- coloane de ghidare.

Figura 2
Perforarea: este operatia de separare a unei parti a semifabricatului dupa
un contur închis, partea decupata fiind deseul rezultat dupa formare gaurii.
stanta de perforare si decupare cu actiune succesiva este constituita din: 1- placa activa de decupare perforare ; 2- poanson de decupare; 3- poanson de perforare.
Rezultatul operatiilor de decupare-perforare sunt: piesa si deseu.

Figura 3
|