Documente online.
Zona de administrare documente. Fisierele tale
Am uitat parola x Creaza cont nou
 HomeExploreaza
upload
Upload




UTILAJE PENTRU INCALZIRE

tehnica mecanica




Lucrarea nr. 7



UTILAJE PENTRU ĪNCĂLZIRE

7.2.1. Caracteristici generale, clasificare


Utilajele pentru īncalzire reprezinta circa 70% din totalul utilajelor din dotarea atelierelor de tratamente termice. Se pot utiliza atāt pentru īncalzirea si mentinerea pieselor la temperatura finala cāt si pentru racirea cu viteze deosebit de mici (racire īn cuptor).

La alegerea sau proiectarea unui asemenea utilaj trebuie īndeplinite urmatoarele cerinte: sa admita realizarea temperaturii dorite īntr-un timp minim; sa permita reglarea cu mare precizie a temperaturii; sa asigure o temperatura cāt mai uniforma īn spatiul de lucru; sa lucreze cu un randament maxim; sa realizeze o productivitate maxima; sa ocupe un spatiu minim; operatiile de īncarcare-descarcare sa poat 525x232f 9; fi mecanizate; sa fie de constructie simpla si usor de īntretinut; sa garanteze protectia mediului ambiant si a personalului care-l deserveste.

Cele mai importante criterii de clasificare a utilajelor pentru īncalzire sunt:

a) Dupa natura energiei utilizate:

chimica, folosind combustibil gazos, lichid sau solid;

- electrica: cu rezistoare (prin radiatie) sau. prin inductie

b) Dupa natura mediului de īncalzire:

- cu mediu gazos natural (cu flacara, electrice), artificial (cu atmosfera

controlata, cu vid)

- cu mediu lichid, bai de metale sau amestecuri de metale topite, bai de saruri

topite,

- cu īncalzire īn medii mixte, īn pat fluidizat

c) Dupa caracterul regimului de functionare:

- cu functionare discontinua

d) Dupa modul si directia de manevrare a pieselor:

- orizontale,

- verticale.


7.2.2.Cuptoare cu flacara


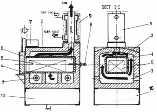
Fig.7.1. Cuptor cu flacara


La aceste cuptoare, energia termica necesara īncalzirii pieselor se obtine prin arderea unor combustibili lichizi sau gazosi. Gazele calde care rezulta īn urma arderii cedeaza caldura pieselor aflate pe vatra cuptorului, īncalzindu-le prin convectie, cāt si peretilor refractari care delimiteaza spatiul de lucru si care, la rāndul lor, vor īncalzi piesele prin conductibilitate (cele doua elemente fiind īn contact) si eventual prin radiatie, daca temperatura va depasi 500°C.

Cuptorul cu flacara (fig.7.1), consta din mufla 1 confectionata din otel sau un material refractar cu o rezistenta mecanica corespunzatoare, care separa spatiul util de gazele de ardere, peretii refractari 2, arzatoarele (la combustibili gazosi) sau injectoarele (la combustibili lichizi) 3, montate īn peretii laterali si spatiul necesar pentru buna circulatie a gazelor de ardere 4. Piesele 5 se īncalzesc prin radiatia muflei, iar aceasta printr-un schimb de caldura complex de radiatie - convectie īntre peretii cuptorului, mufla si gaze. Gazele de ardere, care au cedat o parte din caldura lor sistemului, sunt evacuate printr-un canal de fum.

sarjarea se realizeaza prin manevrarea usii 6 de catre un sistem mecanic 7 actionat cu un motor electric sau hidraulic. Temperatura din spatiul de lucru se masoara si se regleaza automat cu ajutorul unui termocuplu 8 legat la un milivoltmetru termoregulator. Pentru reducerea pierderilor de caldura prin gazele care sunt evacuate la cos, se recomanda folosirea unor recuperatoare 9, care sa permita reintroducerea īn circuitul termic a unei īnsemnate cantitati de caldura, prin īncalzirea aerului necesar arderii combustibilului. Cuptorul este montat pe un schelet metalic 10, construit din profile si tabla de 2-5 mm.

Pentru īmbunatatirea randamentului termic, īn afara preīncalzirii aerului necesar arderii si chiar a combustibilului gazos, se poate realiza o recirculatie a gazelor (fig.7.2), prin faptul ca o parte a gazelor de ardere sunt reintroduse īn spatiul de lucru sau īn focar, folosind ventilatoare speciale rezistente la temperaturi ridicate.


Fig.7.2. Cuptor cu flacara cu recirculatia gazelor

Cuptoarele cu flacara indirecta prin faptul ca elimina contactul direct dintre piese si flacara, se folosesc mai des īn tratamentele termice decāt cuptoarele cu flacara directa (fig.7.3), deoarece la acestea exista pericolul arderii, supraīncalzirii, decarburarii, oxidarii sau īncalzirii neuniforme a piesei.


Fig.7.3. Cuptoare cu flacara indirecta







Fig.7.4. Cuptoare cu functionare discontinua; īncarcare manual (a); cu vatra mobila (b).


Pentru piese mari, care necesita īncarcare cu macarale se construiesc cuptoare cu vatra mobila (fig.7.4) ce este antrenata mecanic cu ajutorul unor lanturi sau cremaliere. Vetrele mai usoare sunt montate pe boghiuri si roti pentru sine, iar cele mai grele se deplaseaza pe bile si cai de rulare. Izolarea termica a spatiului de lucru se realizeaza cu ajutorul unor sicane cu nisip.

Fig.7.5. Cuptor cu functionare continua

Cuptoarele cu functionare continua (fig.7.5) sunt prevazute cu sisteme mecanice de deplasare a pieselor (transportoare cu placi, vetre pasitoare, vetre pulsatorii, etc). Temperatura īn spatiul de lucru al cuptorului este variabila, piesa parcurgānd la o trecere un ciclu de īncalzire - mentinere bine determinat. Aceste cuptoare se mai numesc si cuptoare zonale.

Dupa cum s-a mai amintit, pentru arderea combustibililor gazosi se folosesc arzatoare, īn timp ce pentru arderea combustibililor lichizi - injectoare. La noi īn tara cei mai utililizati combustibili sunt gazul metan, pacura si motorina.

Fig.7.6. Diverse tipuri de arzatoare si injectoare:

a) arzator cu absorbtia aerului; b) arzator tub īn tub;c) injector; d) tuburi radiante.

Arzatoarele si injectoarele au drept scop realizarea unui amestec intim īntre particulele de combustibil si aerul necesar arderii. Dintre diversele tipuri de arzatoare se prezinta arzatorul cu absorbtia aerului (fig.7.6.a) care foloseste gaze sub presiune, are o constructie simpla si este foarte usor de reglat si īntretinut si arzatorul tub īn tub (fig.7.6.b), care foloseste gaze la o presiune mai scazuta, aerul primit fiind de la un ventilator. Acest arzator admite reglarea lungimii flacarii prin varierea distantei dintre gura de evacuare a amestecului si duza pentru gazul combustibil si permite utilizarea aerului si combustibilului preīncalzit.

Fluturele montat la gura de evacuare a injectorului din fig.7.6.c are drept scop sa imprime aerului o miscare turbionara de īnglobare a jetului de combustibil, īn vederea pulverizarii cāt mai fine a acestuia si realizarii unui amestec cāt mai intim aer - combustibil, care sa permita o ardere completa. Īn acelasi scop, vitezele aerului, combustibilului si unghiul de atac trebuie sa fie cāt mai diferite.

Cuptoarele cu flacara moderne, folosesc tuburi radiante (fig.7.6.d). Flacara arzatoarelor este īnchisa īn tuburi din otel refractar, transferul de caldura realizāndu-se prin radiatia tuburilor. Pentru ca evacuarea gazelor sa se realizeze cāt mai usor, la capatul liber al tubului radiant se monteaza un ajutaj cu aer comprimat. care sa intensifice deplasarea gazelor de ardere prin tub. Īn spatiul de lucru al cuptorului, tuburile radiante se monteaza pe peretii laterali īn consola sau transversal sub bolta cuptorului.

Reglarea temperaturii īn aceste cuptoare se poate face manual prin varierea debitului de combustibil (respectiv aer), sau automat.

Īn cazul cuptoarelor cu flacara randamentul este mic, h


7.2.3. Cuptoare electrice


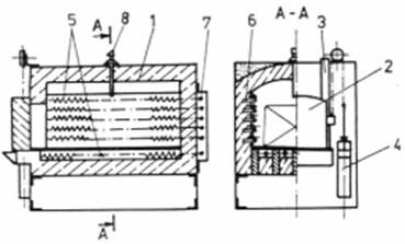
Cuptoarele electrice sunt mai simple decāt cuptoarele cu flacara, deoarece nu necesita arzatoare si conducte aferente de combustibil si aer, camere de combustie separate si canale pentru evacuarea gazelor la cos (fig.7.7).

Spatiul de lucru 1 este izolat termic cu caramizi refractare si prevazut cu o usa 2, ce se deplaseaza pe ghidajele 3, prin actionare cu motorul hidraulic 4.

Elementele īncalzitoare 5 (rezistentele) sunt montate pe peretii laterali pe niste suporti speciali 6 si īn vatra, fiind legate la un panou de borne 7. Temperatura din spatiul de lucru se urmareste cu ajutorul termocuplului 8 si a aparatului termoregulator corespunzator, montate īntr-un panou de comanda.

Fig.7.7. Cuptor electric


Datorita faptului ca lipsesc gazele de ardere, care prin evacuare la cos produc cea mai mare pierdere de caldura, randamentul cuptoarelor electrice este mult mai mare decāt al celor cu flacara     ( h

Marele avantaj al cuptoarelor electrice īl constituie posibilitatea lor de reglare si automatizare, ele permitānd precizii curente de C si o functionare īntr-un regim economic.

Fig.7.8. Diverse tipuri de elemente īncalzitoare electrice



Elementele īncalzitoare nu trebuie sa se oxideze, trebuie sa aiba o rezistenta mecanica mare la temperatura de regim pentru a nu se deforma datorita greutatii proprii, un coeficient de dilatare cāt mai scazut si o rezistenta electrica mare, pentru ca īncalzitoarele sa nu fie de dimensiuni prea mari si pentru a putea fi amplasate mai usor īn cuptor. Ele se confectioneaza din diverse aliaje ca: nicrom (80 - 85 % Ni;
15 -20 % Cr; 0,25 % C), care asigura o temperatura de 1100
C, kanthal (22 % Cr;
5,5 % Al; 0,5 % Co; restul Fe), care asigura o temperatura de 1370
C; silita -bare- (SiC), care asigura o temperatura de circa 1450 C; etc. Īncalzitoarele se fabrica din sārme cu diametre cuprinse īntre 0,5 - 6 mm (sub forma de spirala), sau din platbanda si se monteaza īn spatiul de lucru dupa una din variantele prezentate īn fig.7.8.



a - rezistor spiralat: b - montare pe suport ceramic tubular: c - montare pe peretii laterali pe un suport consola ceramic: d - montare īn bolta folosind caramizi speciale: e - montare pe vatra cuptorului: f - fixare īn zig - zag utilizānd distantieri ceramici: g - rezistor platbanda: h - fixarea platbandei cu butoni ceramici: i, j - bare din carbura de siliciu (silita) montate sub bolta sau pe peretii laterali.


7.2.4.Cuptoare bai


Īn cazul cuptoarelor cu bai mediul de īncalzire este lichid, constānd din metale sau amestecuri de saruri topite supraīncalzite la temperatura necesara, ceea ce presupune o serie de avantaje ca:

- transferul caldurii se face mult mai avantajos, duratele de īncalzire fiind mai scurte;

- temperatura de īncalzire se poate realiza mult mai usor si precis, temperatura baii si a pieselor fiind aceeasi;

- suprafata pieselor nu este expusa actiunii chimice a mediului;

dar si de dezavantaje ce rezulta din masurile speciale de protectia muncii (pentru prevenirea unor accidente) ce trebuiesc luate:

- necesitatea existentei unor instalatii de exhaustare pentru eliminarea gazelor care se emana;

- necesitatea existentei unor instalatii de protectie īmpotriva supraīncalzirii si autoaprinderii;

- luarea unor masuri īmpotriva stropirilor, etc.

Ca si cuptoarele, cuptoarele-bai pot fi actionate cu combustibil sau electric, īncalzirea baii facāndu-se din exterior sau din interior (fig.7.9).

Fig.7.9. Diverse tipuri de cuptoare bai

a) cu īncalzire exterioara cu gaz metan; b) cu īncalzire exterioara
electrica; c) cu īncalzire interioara cu tuburi radiante; d) cu īncalzire
interioara cu electrozi imersati;

- camera de preīncalzire; 2 - camera de īncalzire; 3 - arzator; 4 - suport; 5 - creuzet; 6 - baie; 7 - piesa; 8 - canale pentru gaze; 9 - capac; 10 - termocuplu; 11 - hota pentru exhaustare; 12 - mufla; 13 - electrozi; 14 - rezistoare; 15 - panou de borne; 16 - placa de protectie.


Cuptorul baie cu īncalzire exterioara cu gaz metan (a), dispune de doua camere: camera 1 (destinata preīncalzirii pieselor (pentru a se evita producerea stropilor la imersionarea lor īn baie) si camera 2 (īn care este montat creuzetul metalic care contine sarurile topite). Arzatorul se dispune astfel īncāt flacara lui sa bata tangential fata de creuzet, asigurānd o miscare mai intensa a gazelor, care apoi trec īn camera de preīncalzire prin cele doua canale practicate īn peretele despartitor, unde īntr-o mufla se gasesc piesele. Piesele sunt introduse īn baie cu ajutorul unor dispozitive speciale care permit si deplasarea lor ulterioara īn utilajele de racire.

Cuptorul baie cu īncalzire exterioara electrica (b), permite un reglaj foarte precis si comod. Sistemul de exhaustare, constānd din doua guri de absorbtie plasate la nivelul creuzetului, asigura o evacuare mai completa a majoritatii gazelor emanate.

Ambele tipuri de cuptoare-bai se folosesc numai la temperaturi joase     200-550 C, pentru care creuzetele metalice prezinta o rezistenta mecanica corespunzatoare. Plasarea elementelor īncalzitoare direct īn baia de saruri este īnsa mai avantajoasa.

Cuptoarele baie cu īncalzire interioara cu tuburi radiante (c), permit o miscare a topiturii īn baie datorita diferentei de temperatura, ceea ce asigura un schimb corespunzator de caldura si se utilizeaza pentru temperaturi medii 650 - 950 C. Pentru temperaturi mai ridicate (de maximum 1300 C), se folosesc cuptoare bai cu īncalzire interioara cu electrozi imersati īn topitura (d).

Randamentul termic al cuptoarelor bai este de 8 - 15 % pentru cele cu flacara, 20 - 30 % pentru cele cu rezistoare si de 50 - 70 % pentru cele cu electrozi.


Īn cadrul lucrarii se folosesc utilajele de īncalzire existente īn laborator.

3.4. Modul de lucru

Se vor clasifica cuptoarele din laborator dupa: natura energiei utilizate, natura mediului de īncalzire, caracterul regimului de functionare si directia de manevrare. Se vor identifica partile componente si se va cunoaste modul de functionare si de reglare a temperaturii acestora.

3.5. Prelucrarea si interpretarea rezultatelor. Concluzii

Se vor schita cuptoarele studiate.

Se vor analiza:

- modul de reglare a temperaturii, rapiditatea si precizia cu care se atinge temperatura dorita;

- posibilitatea de mentinere constanta a temperaturii īn timp si īn spatiu;

- posibilitatea masurarii corecte a temperaturii īn diferite locuri ale spatiului de lucru;

- mentinerea cāt mai constanta a temperaturii cuptorului īn timpul īncarcarii si descarcarii acestuia ;





Document Info


Accesari: 9564
Apreciat: hand-up

Comenteaza documentul:

Nu esti inregistrat
Trebuie sa fii utilizator inregistrat pentru a putea comenta


Creaza cont nou

A fost util?

Daca documentul a fost util si crezi ca merita
sa adaugi un link catre el la tine in site


in pagina web a site-ului tau.




eCoduri.com - coduri postale, contabile, CAEN sau bancare

Politica de confidentialitate | Termenii si conditii de utilizare




Copyright © Contact (SCRIGROUP Int. 2025 )