Tehnica incubatiei artificiale a oualor de gaina
1.2. Tehnica incubatiei Istoricul incubatiei artificiale
Primele date privind practicarea incubatiei artificiale provin din China,unde, cu mult īnainte de anul 2000 ī.e.n., se utilizau cuptoare de diferite capacitati, realizate din lut ars, cu cāte doua īncaperi suprapuse; īn īncaperea de 535c24f jos se facea focul,iar īn cea de sus se introduceau ouale, asezate īntr+un cos, pe fundul caruia se punea un strat de pamānt cu rol de mentinere constanta a temperaturii de incubatie.
Īn cosuri, ouale erau pastrate 11-16 zile (11 zile ouale de gaina, 13 zile ouale de rata si 16 zile ouale de gāsca), dupa care erau trecute pe sertare, īn vederea eclozionarii. Din ziua a 4-a de incubatie, se proceda la īntoarcerea oualor de 5 ori īn 24 de ore, operatiune ce se īntrerupea īnainte de ciocnirea cojii minerale. Controlul temperaturii se realiza īn mod empiric, prin atingerea cātorva oua luate la īntāmplare din cosuri, de pleoapa operatorului, aceasta avānd o temperatura apropiata de cea specifica incubatiei
Preocupari pentru obtinerea puilor prin incubatie artificiala au existat si īn vechiul Egipt. Astfel, Aristotel aminteste īn scrierile sale ca egiptenii, cu 400 de ani ī.e.n., practicau incubatia artificiala a oualor īn gramezi de balegar, ulterior, tehnica a fost perfectionata, īn sensul ca, ouale erau puse la incubat īn vase de lut, care la rāndul lor se īngropau īn balegar (Pliniu cel Batrān).
Incubarea artificiala a oualor īn Egipt nu s-a oprit la acest nivel de dezvoltare, ci s-au cautat diferite solutii tehnice, pāna s-a ajuns la construirea unor adevarate statii de incubatie, cu capacitati de 100.000 de oua pe serie, īn care incubatoarele se prezentau sub forma unor cuptoare speciale. Aceste cuptoare erau confectionate din caramizi si aveau peretii dubli,īntre care se interpunea un strat izolator de nisip uscat, argila uscata sau de paie tocate. Īn centrul fiecarui cuptor se gasea un coridor, folosit si pentru uscarea puilor dupa ecloziune. De o parte si de alta a coridorului erau dispuse compartimentele de clocit (cāte doua de fiecare parte, suprapuse) ; īn compartimentul de jos se puneau ouale la clocit, iar īn cel de sus se facea focul, astfel īncāt caldura radia de sus īn jos, solutie tehnica preluata si la incubatoarele moderne.
Egiptenii cunosteau importanta īntoarcerii oualor si practicau mirajul. Verificarea temperaturii se facea, mai ales, cu ajutorul simturilor, dar si prin intermediul unui ,,termometru'', la care partea activa era alcatuita dintr-un amestec de untdelemn si seu, īntr-o anumita proportie.
Grecii si romanii au avut si ei īncercari de īnmultire a pasarilor pe cale artificiala, preluānd metodele egiptene de incubatie a oualor īn balegar, rezultatele obtinute nu au fost cele scontate, dat fiind diferentele climatice dintre aceste tari si Egipt.
Adevarata revolutie tehnica īn constructia aparatelor de incubatie a fost marcata de descoperirea termoregulatorului cu banda bimetalica de catre Bounemain īn 1873, dar mai ales a capsulei termostatice īn 1881, de catre Hearson.Aceste descoperiri au stat la baza fabricarii incubatorului lui Voitellier īn 1877, dar si a unei serii īntregi de incubatoare de suprafata, cu capacitati de pāna la 200 oua pe serie.
Pāna la īnceputul celui de-al doilea razboi mondial, īn tara noastra se importau numai incubatoare de suprafata, de mica capacitate. Īncepānd cu anul 1949 s-a trecut la importul masiv de incubatoare de volum, de tipurile Nickerl, Petersime, Gergely, Bismark de mare capacitate, dar īn paralel, a fost demarata constructia pe plan local a unor incubatoare originale, precum : B-36, B-60, B-30, D-3, C.M.O. etc.
La ora actuala, īn tara noastra exista un sector industrial destul de bine pus la punct, īn care sunt produse aparate de incubatie cu capacitati variabile, de la cele destinate uzului familial si pāna la incubatoare specifice unitatilor avicole de tip industrial, realizate sub licenta Buckeye
Īn practica avicola, majoritatea statiilor de incubatie functioneaza dupa principiul seriilor de incubatie, respectiv, introducerea īn acelasi aparat a unor sarje successive de oua, dar exista si statii unde se aplica sistemul de lucru "all in-allout" (totul plin, totul gol),potrivit caruia fiecare incubator se īncarca de la īnceput la capacitatea proiectata, urmānd ca la momentul transferului sa se faca trecerea oualor cu embrionii normal dezvoltati īn eclozionatoarele aferente.
1.2.1. Clasificarea si caracteristicile incubatoarelor
1.2.1.1. Incubatoare de suprafatā
Se caracterizeazā prin repartitia naturala a caldurii, fara ajutorul ventilatoarelor. La aceasta categorie de incubatoare sitele sunt dispuse in acelasi plan. Sursa de īncalzire este amplasata la partea superioara a incubatorului, iar caldura se repartizeaza de sus in jos. Circuitul aerului se realizeaza cu ajutorul orificiilor de ventilatie.Īn aparat vor exista straturi de aer cu temperaturi diferite, mai mari la nivelul superior si mai mici la cel inferior. Datorita acestei stratificari, īntre partea superioara a oului (care este asezat orizontal pe sitele de incubatie) si cea inferioara vor fi diferente de +1++3°C, motiv pentru care temperatura masurata la partea superioara a oului (este considerata temperatura de lucru) vafi mai ridicata (+38++39,5°C) decāt cifra medie indicata anterior.

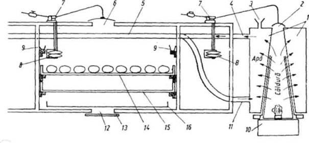
CREMAT 600 - ( incubator de suprafata)
1 - rezervor pentru apa;
4 - conducta de apa calda;
5 - calorifer ;
6 - orificii de ventilatie;
7 - īntrerupator cu mercur;
11 - conducta de revenire a apei īn rezervor;
orificii de aerisire;
- clapeta de reglare a orificiilor de ventilatie;
14 - sertar pentru oua;
15 - sertar de uscare a puilor eclozionati;
Capacitatea 600 oua
Constructie cutie cu pereti dubli din lemn de brad, captusiti cu material termoizolant, prevazuta cu picioare de sustinere. Este prevazut cu mai multe compartimente, īn functie de capacitate. Īn fiecare compartiment se introduce pe suportul superior sita de incubatie, iar pe suportul inferior sita de ecloziune.
Gabaritul 3.374×904×1.017 mm.
Īncalzirea
un rezervor pentru apa (cu pereti dubli, confectionat din tabla) si dintr-un cadru dreptunghiular confectionat din teava cu diametrul de 4 6 cm, montat īn partea superioara a compartimentelor, sub tavan.
Conducta de alimentare cu apa calda a acestui ,,calorifer pleaca de la partea superioara a rezervorului. Conducta de revenire a apei īn rezervor ajunge la partea inferioara a rezervorului. La partea superioara, rezervorul are un orificiu cu pālnie pentru alimentarea cu apa.
Sursa de caldura, amplasata sub rezervorul de apa poate fi o lampa cu petrol, un arzator cu gaz sau o rezistenta electrica
Fiecare compartiment al incubatorului are la partea superioara un orificiu de evacuare al aerului, prevazut cu un capacel. Acesta se ridica numai cānd capsula termostatica a compartimentului respectiv actioneaza asupra lui printr+un sistem de pārghii. Cānd temperatura depaseste regimul optic de incubatie, amestecul de alcool si eter din capsula fierbe, trece īn stare gazoasa, destinde peretii capsulei, iar tija acesteia actioneaza sistemul de pārghii. O capsula termostatica suplimentara este prevazuta pentru sursa de īncalzire. Prin sistemul propriu de pārghii, ea īnchide capacul cosului de tiraj al rezervorului de apa calda, atunci cand se depaseste temperatura optima de incubatie. Daca temperatura scade sub normal, deschide acest capac, intensificānd arderea.
Cānd īncalzirea se face cu rezistenta electrica, capsula actioneaza un īntrerupator basculant cu mercur, integrat īn circuitul rezistentei.
Īn partea inferioara a fiecarui compartiment al incubatorului se afla un orificiu de evacuare al aerului viciat, prevazut cu o clapeta reglabila (manual). Pe peretele posterior al compartimentelor sunt prevazute orificii de admisie a aerului proaspat.
Umidificarea
Īn timpul incubatiei, umidificarea se realizeaza prin evaporarea din doua jgheaburi de tabla, care sunt fixate īn partea superioara a peretilor laterali ai compartimentelor.
Īn timpul ecloziunii se suplimenteaza umidificrea prin evaporarea apei introduse īn tava de tabla asezata pe podeaua compartimentului, sub sita de ecloziune.
Ventilatia
Admisia aerului se efectueaza prin orificiile de admisie de pe peretele posterior al cutiei incubatorului, iar evacuarea prinorificiul de evacuare din tavan si orificiul de evacuare din pardoseala. Jiecare compartiment are asemenea orificii de ventilatie, a caror deschidere este corelata cu temperatura din compartimentul respectiv.
Asezarea oualor pe sita si īntoarcerea
Pe sita de incubatie (formata din rama d lemn de brad si sipci longitudinale pentru sustinerea oualor), ouale se aseaza īn pozitie orizontala, cu camera de aer īn aceeasi directie.
Cānd puii eclozioneaza, cad printre aceste sipci, pe sita de ecloziune, asezata pe suportul inferior si ramān acolo pāna la uscarea pufului. Sita de ecloziune are rama din lemn de brad si fiind din plasa de sārma.
Īntoarcerea oualor se face manual, de 3 ori pe zi, la un unghi de 180°, adica de pe o fata pe alta.
|