


FABRICAREA PRODUSELOR DE PANIFICATIE
FABRICAREA PANI 222f54c I SI A PRODUSELOR DE FRANZELARIE
Tehnologia fabricarii painii si produselor de franzelarie (cornuri, chifle, impletituri etc.) reprezinta baza panificatiei, care se completeaza cu fabricarea produselor speciale, produselor dietetice si covrigilor. Produsele se obtin prin coacerea unui aluat format din faina, drojdie, sare, apa - ca materii prime - si alte materii, cum ar fi grasimi zahar, lapte, oua - ca materii auxiliare. Procesul tehnologic de fabricatie cuprinde un ansamblu de faze si operatii, datorita carora se obtine aluatul, din care, prin coacere, in urma transformarii materiilor utilizate la prepararea lui, rezulta produse destinate consumului. Prepararea, prelucrarea si coacerea aluatului reprezinta fazele de baza ale obtinerii produselor de panificatie. Schema tehnologica pentru fabricarea painii si a produselor de franzelarie este prezentata in figura 21.
Ea se aplica atat in unitatile mici (brutarii), care folosesc procedee traditionale (clasice) de obtinere a produselor, cat si in unitatile mari, care folosesc procedee moderne.

4.1. PREPARAREA ALUATULUI
Faza tehnologica de preparare a aluatului cuprinde urmatoarele operatii principale :
dozarea materiilor prime si auxiliare, pregatite in prealabil corespunzator ;
framantarea aluatului;
fermentatia aluatului.
Aluatul se prepara dupa anumite metode, ale caror etape se executa in mod obisnuit (traditional), discontinue folosind utilaje si instalatii cu functionare periodica, principalele fiind framintatoarele numite si malaxoare.
In ultima vreme, pe plan mondial, s-a extins prepararea aluatului in flux continuu, cu ajutorul unor utilaje moderne, ceea ce reprezinta un important progres tehnic. Acest procedeu se aplica in prezent in tara noastra deocamdata intr-un numar restrans de fabrici, urmind sa fie generalizat pe masura ce se vor construi instalatiile necesare.
4.1.1. METODE PENTRU PREPARAREA ALUATULUI
Fabricarea produselor de panificatie in tara noastra are la baza prepararea aluatului prin doua metode : indirecta (in mai multe faze), care este metoda de baza, si directa (monofazica).
Metoda indirecta de preparare a aluatului consta in prepararea mai intai a unor semifabricate intermediare, numite ..prospatura' si "maia', care folosesc apoi la obtinerea aluatului propriu-zis. Cand se lucreaza dupa ciclul prospatura - maia - aluat, metoda de preparare se numeste trifazica, iar cand se aplica ciclul maia - aluat, atunci metoda se numeste bifazica. Prepararea aluatului prin metoda indirecta se aplica in exclusivitate la fabricarea painii, ciclul in trei faze utilizandu-se in special la prelucrarca unor fainuri cu insusiri inferioare de panificatie, la fabricarea painii cu secara, precum si la inceput de lucru, sau dupa intreruperea saptaminala a productiei.
Prospatura si maiaua se prepara din faina, apa si drojdie, avind o consistenta mai mare decat a aluatului. Se mai adauga si o anumita cantitate dintr-o maia anterioara, maturizata, denumita has. In unele cazuri se prepara maia fluida, numila si polis. Prepararea acestor semifabricate are drept scop obtinerea unui mediu prielnic atit pentru inmultirea celulelor de drojdie, care sa afaneze prin fermentatie in mod corespunzator aluatul, cat si pentru obtinerea unor compusi de fermentatie, in primul rand acid lactic, care imbunatatesc insusirile aluatului si contribuie la formarea gustului si aromei painii.
Pentru obtinerea prospaturii si a maielei (impreuna) se utilizeaza o cantitate de faina in urmatoarea proportie fata de cantitatea totala de faina pentru prepararea aluatului :
55-60% in cazul fainii de calitate foarte buna;
45-55% in cazul fainii de calitate medie (buna) ;
30-45% in cazul fainii de calitate satisfacatoare.
Prospatura se prepara cu 5 - 10% din cantitatea de faina totala. Cantitatea de apa se stabileste in asa fel incat sa se obtina semifabricate de consistenta mare, iar in cazul maielei fluide, de consistent redusa. Pentru cazul maielei consistente, raportul dintre faina si apa este de aproximativ 2 : 1, iar in cazul maielei fluide este de aproximativ 2 : 3.
Cantitatea de drojdie folosita pentru prospatura reprezinta 25-30% din total, iar pentru maia, diferenta pina la 100 %.
Metoda directa de preparare a aluatului consta in amestecarea si framintarea, intr-o singura etapa, a tuturor materiilor prime din care se obtine aluatul. La prepararea aluatului prin aceasta metoda se consuma o cantitate aproape dubla de drojdie faina de metoda indirecta ; in schimb, se reduce mult durata ciclului de preparare a aluatului fie implicit, cea de fabricare a produselor.
In tara noastra metoda directa de preparare a aluatului se aplica uneori la painea alba si, in special, la produsele de franzelarie cu adaos de zahar si grasime. Aplicarea acestei metode la fabricare a painii obisnuite nu da produse de cea mai buna calitate, care sa satisfaca exigentele consumatorilor.
Comparand cele doua metode de preparare a aluatului rezulta urmatoarele :
Prin metoda indirecta se obtine paine de calitate mai buna (cu gust si miros placute, miez cu porozitate bine dezvoltata avand pori cu pereti subtiri). Totodata, aluatul astfel preparat are o mai mare flexibilitate tehnologica, putindu-se interveni in cursul fabricatiei pentru indreptarea unor eventuale greseli, mai ales in cazul prelucrarii fainurilor de calitate slaba sau ale caror insusiri de panificatie nu au fost suficient de cunoscute in prealabil.
Cantitatea mai mica de drojdie care se foloseste reprezinta, de asemenea, un avantaj al acestei metode.
Ca dezavantaje se remarca sporirea numarului de operatii tehnologice si de utilaje (dozarea, framintarea si fermentarea repetindu-se la fiecare preparatie), cum si prelungirea ciclului de fabricatie, datorita maririi duratei totale de fermentatie.
Prin metoda directa procesul de fabricatie se simplifica, reducandu-se, totodata, si numarul de utilaje (in special cuve de malaxor). De asemenea, se scurteaza ciclul de fabricatie.
Ca dezavantaje principale, se remarca objinerea painii de calitate inferioara (datorita gustului necorespunzator si structurii miezului), precum si consum marit de drojdie.
Intrucit la alegerea metodelor de preparare a aluatului calitatea produselor reprezinta un indice decisiv, este pe deplin justificata aplicarea metodei indirecte la prepararea aluatului pentru paine.
4.1.2. DOZAREA MATERIILOR PRIME SI AUXILIARE
Obtinerea semifabricatelor - prospatura, maia, aluat - necesita o anumita cantitate din fiecare materie prima si auxiliara, care intra in alcatuirea lui, astfel incat, in final, sa se asigure compozitia si calitatea produselor fabricate. In acest scop materiile prime si auxiliare, pregatite asa cum s-a aratat mai inainte, se cantaresc sau se masoara (dozeaza), spre a fi utilizate in cantitatile corespunzatoare retetelor de fabricate specifice fiecarui produs.
La fabricarea principalelor sorturi actuale de paine si produse de franzelarie se prevede utilizarea materiilor prime si auxiliare in cantitatile mentionate in tabelul 5 (raportate la 100 kg faina). Aceste cantitati se recalculeaza in functie de marimea sarjei de aluat, la prepararea careia poate fi utilizata, spre exemplu, 200 sau 240 kg faina deodata, in functie de volumul cuvei malaxorului existent. Se tine seama de faptul ca toti componentii aluatului se raporteaza fata de greutatea fainii utilizate prepararea sarjei de aluat.
Cantitatile de materii prime si auxiliare astfel stabilite se inscriu in reteta de fabricate a fiecarui produs, care se realizeaza de catre unitatea in cauza.
Dozarea fainii. Pentru aplicarea corecta a retetei de fabricate, dozarea fainii are un rol important, tinand seama de ponderea cu care aceasta intra in compozitia aluatului. Paina, pregatita dupa cum s-a aratat, se masoara in portii corespunzatoare
prepararii prospaturii, maielei si aluatului, prin cantarire, introducindu-se in cuva malaxorului. Se foloseste, in total, o cantitate de faina care reprezinta 45% fata de volumul cuvei malaxorului in cazul fainii negre, 40% in cazul fainii semialbe si 35% in cazul fainii albe, cantitati care reprezinta gradul de incarcare a cuvei.
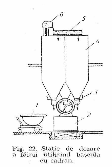
Dozarea portiilor de faina se face utilizind bascula cu cadran, cantarul semiautomat sau dozatorul continuu, iar in brutariile mici, in lipsa basculei, prin masurarea cu vase cotate.
Bascula ca cadran reprezinta mijlocul cel mai simplu pentru cantarirea fainii. Ea se utilizeaza in unilatile mici si mijlocii, montandu-se intr-un anumit loc, in sala de preparare a aluatului si constituind stasina de dozare a fainii (fig. 22). Pentru dozare, cuva 1 in care urmeaza a se prepara aluatul se aduce pe platforma basculei 2, se stabileste greutatea initiala si apoi se deschide subarul 3 al timocului de faina 4 ce deserveste statia de dozare, lasand sa curga cantitatea necesara. Faina se aduce la timoc cu ajutorul melcului transporter 5 si elevatorului 6. In cazul cand se fabrica produse din mai multe sorturi de faina, pentru fiecare sort trebuie sa existe un timoc aparte. Dupa cantarire, cuva se transporta la malaxor. Acest procedeu de dozare necesita multe manipulari si eforturi sporite din partea muncitorului framintator.
Circularul semiautomat se utilizeaza in fabricile mari. El reprezinta un mijloc perfectionat care, pe de o parte, asigura precizia dozarii, iar pe de alta usureaza munca lucratorului la framantare. Acest cantar (fig. 23) se compune dintr-un rezervor 1, in care se primeste faina, sprijinit pe un sistem de caqntarire cu pirghii 2. Cantitatea de faina cantarita se citeste pe cadranul gradat 3 prevazut cu sistem de fixare si indicare a dozei necesare de cantarit. Rezervorul de cantarire are in partea inferioara o gura de evacuare 4, care se inchide si se deschide cu subarul 5. Alimentarea cu faina se face prin intermediul unci ecluze 6 actionata de motorul electric 7.
Cantarirea se realizeaza in modul urmator : se comanda de la tablou incarcarea, moment in care se pune in functiune instalatia de transport a fainii (de regula, pe cale pneumatica) ce alimenteaza ecluza, care la rindul ei debiteaza faina in rezervorul cantarului. Pe masura ce rezervorul primeste faina
greutatea lui creste pina cand indicatorul de pe cadran ajunge in dreptul pozitiei care corespunde dozei de faina stabilite, iar alimentarea se opreste automat. Se deschide apoi subarul si faina trece in cuva malaxorului.
Dozatorul continuu se foloseste pentru alimentarea cu faina a malaxoarelor cu functionare continua. Dozarea se realizeaza prin debitarea unei cantitati constante de faina in unitatea de timp. Dozatoarele de acest i'el sint de mai multe tipuri (fig. 24), si anume : cu ban da transportoare, la care modificarea dozei se realizeaza prin schimbarea grosimii stratului de faina pe banda sau a vitezei benzii; cu tambur (ecluza rotativa), la care doza se modifica prin schimbarea turatiei tamburului ; cu melc, doza modificindu-se o data cu turatia transportorului cu melc ; cu vibrator, la care se regleaza doza prin modificarea sectiunii de descarcare.
Dozarea lichidelor. Apa, suspensia de drojdie, solutia de sare, grasimile in stare lichida utilizate la prepararea aluatului se dozeaza in cantitatile prevazute in retetele pentru fabricarea fiecarui sortiment de produs, prin masurarea fie cu vase simple, gradate, fie cu ajutorul unor instalatii semimecanizate sau mecanizate. Instalatiile sunt dotate cu posibilitati de citire a volumului de lichid masurat si, eventual, a temperaturii acestuia (in cazul apei).
Se vor prezenta instalatiile cele mai reprezentative si de nivel tehnic actual (fig. 25).
Dozatorul semiautomat (fig. 25, a) reprezinta un vas cilindric J, avind un indicator de nivel 2 si un termometru 3. Alimentarea cu lichidul care trebuie masurat se face prin conducta 4, iar evacuarea prin conducta de golire 5. Dozatorul serveste si la amestecarea apei, in care caz alimentarea se face prin doua conducte, una de apa calda si alta de apa rece, prin intermediul robinetelor corespunzatoare. In acest dozator apa se poate incalzi si prin barbotarea aburului, care se introduce printr-o conducta aparte.

4.1.3. FRAMINTAREA ALUATULUI
Framantarea reprezinta acea operatie tehnologica in urma careia se obtine, din materiile prime si auxiliare utilizate, o masa omogena de aluat, cu o anumita structura si insusiri reologice (rezistenta, extensibilitate, elasticitate, plasticitate). Insusirile reologice ale aluatului influenfeaza volumul si forma painii, elasticitatea miezului si a cojii, mentinerea prospetimii. Atunci cand aluatul are elasticitate si extensibilitate suficient de mari, rezulta paine afinata, cu volurn dezvoltat. si miez avind pori cu pereti subtiri. Daca aluatul este prea rezistent (tenace), painea se obtine nedezvoltata, cu miezul dens, iar cand aluatul este excesiv de extensibil, painea se aplatizeaza, are volum redus si porozitate grosiera.
Operatia de framintare se realizeaza in cuva malaxorului, in care materiile prime si auxiliare introduse in doze corespunzatoare. se supun amestecarii, atit in stadiul de "prospatura' sau de "maia', cat si in cel de aluat propriu-zis.
■Procesele care au loc in aluat, la framintare. Aceste procese sint legate de modificarile complicate ale substantelor componente, mai importante fiind cele coloidale si fizico-chimice. Asemenea procese se desfasoara in plinatatea lor in faza de aluat, imprimindu-i insusirile structurale caracteristice.
In practica se constata ca aluatul ia nastere treptat, in procesul de framintare si isi modifica continuu insusirile fizice, astfel dupa cum arata si farinograma fainii, care se obtine la determinarea insusirilor tehnologice cu ajutorul farinografului.
La formarea aluatului se pot distinge trei faze : in prima faza, cand are loc amestecarea componentelor aluatului, apa patrunde intre particulele de faina si acestea se hidrateaza ; in faza urmatoare, sub actiunea apei, are loc solubilizarea componentelor fainii si umflarea proteinelor generatoare de gluten ; in cea de a treia faza, datorita umflarii si actiunii
formelor mcanice de framantare, proteinele din aluat isi modifica structura.
Procesele esentiale care au loc in aluat la framintare si care alcatuiesc baza insusirilor lui fizice pe care trebuie sa le aiba in procesul tehnologic sunt : legarea apei si modificarea proteinelor. Pe drept cuvint, se considera ca structura de baza a painii se formeaza in cursul framintarii aluatului, atunci cind iau nastere fibrele glutenului.
Legarea apei in aluat reprezinta un proces complex, depinzind de proprietatile coloidale ale proteinelor si amidonului - principalii componenti ai fainii.
Proteinele leaga apa in aluat in cea mai mare parte osmotic (75%) si in parte prin absorbtie. Apa legata osmotic provoaca umflarea gliadinei si a gluteninei si trecerea lor in stare de gluten, pe cand apa legata prin absorbtie formeaza in jurul lanturilor proteice asa-zisele pelicule de hidratare. La formarea aluatului, glutenul trebuie sa fie hidratat complet; daca, insa, cantitatea de apa este mica si nu satisface necesarul cerut de gluten, structura acestuia nu se formeaza complet si, ca urmare, calitatea painii va fi slaba.
Amidonul leaga principala masa a apei, in general, prin adsorbtie (fixarea la suprafata granulelor), in microcapilare. Intrucit, datorita structurii solide a amidonului, nu se pot lega osmotic cantitati insemnate de apa, granule le se raresc in mod neinsemnat la framintarea aluatului.
|