BIBLIOGRAFIE
1. TEHNOLOGIA INDUSTRIILOR FERMENTATIVE
N. Filimon
T. Bratescu
2. UTILAJUL sI TEHNOLOGIA ÎN INDUSTRIA ALIMENTARĂ FERMENTATIVĂ
V. Rotaru
3. TEHNICA ANALIZELOR DE LABORATOR ÎN INDUSTRIA ALIMENTARĂ
Dimitriu Matilda
4. STUDIUL TEHNOLOGIEI DE PREPARARE A VINURILOR DEMISECI SI DULCI NATURALE DE COTNARI
5. TEHNOLOGIA SI INSTALATIA PENTRU PRELUCAREA STRUGURILOR
Anghel Gheorge.
CUPRINS
I. IMPORTANŢA sI DEZVOLTAREA VITICULTURII sI A INDUSTRIEI
VINULUI ÎN ŢARA NOASTRĂ
Generalitati
Materia prima-strugurii
1.2.1. Soiuri de struguri pentru vinurile rosii
Patrimoniul vitivinicol al tarii noastre
Structura si compozitia chimica a strugurilor
1.4.1. Structura strugurilor
1.4.2. Compozitia chimica a strugurilor
II. TEHNOLOGIA GENERALĂ DE OBŢINERE A VINURILOR
Pregatirea si amenajarea cramei
Constructii viticole
Vase folosite în industria bauturilor
Procesul tehnologic de obtinere a mustului din struguri
2.4.1. Receptia strugurilor
2.4.2. Zdrobirea si dezciorchinarea strugurilor
2.4.3. Separarea mustului ravac
2.4.4. Presarea bostinei
2.4.5. Limpezirea musturilor
2.4.6. Corijarea musturilor cu compozitii chimice anormale
2.4.7. Fermentarea mustului de struguri
2.4.8. Factorii care influenteaza fermentarea mustului de struguri
Capitolul I
IMPORTANŢA sI DEZVOLTAREA VITICULTURII
sI A INDUSTRIEI VINULUI ÎN ŢARA NOASTRĂ
1.1. GENERALITĂŢI
Vinul este o bautura alcoolica, obtinuta prin fermentarea mustului de struguri proaspeti sau stafiditi. Obtinerea vinului este un proces de lunga durata, care necesita o îngrijire deosebita, începând de la recoltarea strugurilor si pâna la învechirea, conditionarea si îmbutelierea produsului. Materia prima destinata obtinerii vinului o constituie strugurii.
Vita de vie ( Vitis vinifera ) se cultiva pe teritoriul tarii noastre aproape în toate judetele. Din documentele arheologice gasite în diverse zone, rezulta ca vita de vie a fost cultivata din cele mai vechi timpuri, iar vinul era folosit la ospete chiar de catre geto-daci. Deoarece clima si solul corespund cultivarii acestei valoroase plante, în tara noastra se acorda o atentie deosebita extinderii viticulturii.
O trasatura caracteristica a podgoriilor românesti o constituie faptul ca viile sunt cultivate pe terenuri în pante, cu expunere favorabila maturarii strugurilor, pe soluri nisipoase si calcaroase. Plantarea vitei de vie pe terenuri în panta, cu înclinatii mari, expuse eroziunilor se face pe terase executate mecanic, fapt ce consolideaza solul, obtinându-se recolte mari, de buna calitate.
În urma studiilor facute pe o perioada lunga, prin raionarea viticulturii s-a stabilit care sunt soiurile care dau cele mai bune rezultate în fiecare podgorie, atât ca productie la hectar cât si din punct de vedere calitativ. S-a dezvoltat, în mod special, cultivarea soiurilor de struguri de masa, folosindu-se atât soiuri timpurii cât si soiuri târzii, care sa asigure consumul de struguri în stare proaspata, pe o perioada cât mai îndelungata. De asemenea, se urmareste ca strugurii de masa cultivati sa aiba boabe mari si carnoase, gustoase, aspectuoase si rezistente la transport si pastrare.
Prin raionarea strugurilor pentru vin, s-a urmarit atât cultivarea unor soiuri valoroase cât si obtinerea unor vinuri tipizate, cu caracteristici bine definite. Vinurile românesti sunt apreciate atât de consumatorii interni cât si de cei externi, obtinând de-a lungul anilor numeroase premii si medalii la concursurile mondiale.
În tara noastra s-au realizat, în ultimii ani, constructii vinicole moderne, de mare capacitate, dotate cu utilaje corespunzatoare unui nivel tehnic ridicat. S-au proiectat si construit unitati de vinificatie situate în centrul podgoriilor, unde se realizeaza prelucrarea strugurilor, fermentarea mustului si obtinerea vinului nou. S-au construit unitati pentru conditionarea si învechirea vinurilor, precum si pentru îmbutelierea si livrarea lor pentru consum - combinate de conditionare, amplasate în principalele centre urbane din tara noastra. Pentru depozita 18418p1524s rea si învechirea vinului s-au construit pivnite si crame moderne, dotate cu sisteme de conditionare a temperaturii si umiditatii aerului, la parametri optimi.
1.2. MATERIA PRIMĂ - STRUGURII
Strugurii sunt fructele vitei de vie. Din punct de vedere al destinatiei lor, strugurii se împart în urmatoarele categorii:
- struguri pentru consum în stare proaspata sau conservati ( Perla de Csaba, Chasselas, Coarna alba, Coarna neagra, Afuz - Ali, Muscat de Hamburg etc.);
- struguri pentru vinificatie:
a) vinuri albe (Crâmposie, Galbena de Odobesti, Creata, Feteasca alba, Grasa de Cotnari, Frâncusa, Plavaie Iordana, Riesling italian, Alligote! , Pinot gris, Traminer, Chardonnay)
b) vinuri rosii (Feteasca neagra, Babeasca, Cabernet - Sauvignon, Merlot, etc.);
c) vinuri aromate (Muscat Ottonel, Tamâioasa româneasca, Busuioaca, etc.);
- struguri pentru stafide (apirene - fara seminte) Sultanina, Corinth, Kis - Mis, etc.).
Caracteristicile tehnologice si podgoriile în care se cultiva diverse soiuri de struguri sunt redate în tabelele 1 si 2.
1.2.1. Soiuri de struguri pentru vinuri albe
Soiuri autohtone pentru vinuri de consum curent.
Creata ( Riesling de Banat). Strugurii sunt mici si mijlocii, de forma cilindroconica, uniaripati sau biaripati. Boabele au forma sferica si sunt asezate des pe ciorchine. Culoarea este verde-galbuie, iar miezul suculent. Da productii mari, ajungând pâna la 10 000-12 000 kg. de struguri la hectar. Soiul acesta este raionat în podgoria Banatului.
Galbena de Odobesti. Este unul din soiurile autohtone de cea mai mare productivitate. Strugurii sunt mijlocii spre mari, cilindroconici, uniaripati sau biaripati. Boabele au culoare verde-galbuie cu nuante argintii, asezate des pe ciorchine. Da productii mari si vinuri placute. În podgoria Odobesti, productia ajunge pâna la 20 000 kg./hectar. Raionat pentru Moldova, este indicat în mod special pentru podgoriile Odobesti si Panciu.
Iordana (Jordovana). Se întâlneste mai ales în podgoriile Sibiu si Alba, fiind un soi recomandat pentru sampanie. Strugurii sunt mijlocii, de forma cilindroconica, cu boabe sferice, de culoare verde-galbuie, suculente. Este rezistent la mana si la putregaiul cenusiu. Produce vinuri usoare, cu aciditate ridicata. Productia ajunge pâna la 18 000 - 20 000 kg/ha.
Soiuri autohtone pentru vinuri superioare.
Grasa de Cotnari. Este un soi românesc cultivat la Cotnari si Pietroasele. Strugurii sunt mijlocii, de forma cilindroconica, deseori aripati. Boabele sunt rotunde, usor ovale. Pielita subtire, galben - verzuie, cu pete ruginii. Acumuleaza la coacere o cantitate mare de zahar, producând vinuri tari, dulci, fine. Productiile sunt mijlocii, între 5 000 - 6 000 kg/ha.
Feteasca alba. Are struguri cilindroconici, adeseori aripati. Sunt mici, cu boabele asezate dens si uniform. Boabele sunt sferice, cu pielita subtire, verde - galbuie. Are pulpa zemoasa, cu gust placut, caracteristic soiului. Da productii de 6 000 - 7 000 kg/ha. Este raionat în podgoriile din Transilvania si Moldova unde produce vinuri superioare, de o deosebita finete.
Soiuri straine pentru vinuri de consum curent.
Alligot . Este un soi care se cultiva în special în podgoriile din Moldova. Strugurii sunt mici, de forma cilindrica sau cilindroconica, boabele sunt mici, sferice, asezate des pe ciorchine. Pielita are culoare verde - galbuie spre ruginie. Miezul este zemos si placut la gust. Da productii mari, în medie de 10 000 - 15 000 kg/ha.
Soiuri straine pentru vinuri superioare.
Riesling italian. Este întâlnit aproape în toate podgoriile tarii noastre. Strugurii sunt de marime mica, de forma cilindrica, deseori uniaripati. Boabele sunt mici, sferice, asezate des pe ciorchine. Pielita este subtire, de culoare galben - verzuie, cu nuante aurii. Miezul este zemos, nearomat, cu gust caracteristic soiului. Da productii de 8 000 - 10 000 kg. la hectar, ajungând pâna la 15 000 kg/ha. Produce vinuri cu grad alcoolic mare, seci si dulci, echilibrate.
Pinot gris. Este un soi care produce vinuri de mare marca, îndeosebi în podgoriile Murfatlar, Târnave si Alba Iulia. Strugurii sunt de marime mica, cilindrica, uneori uniaripati. Boabele sunt mici, asezate foarte des pe ciorchine, cu pielita subtire, miezul zemos, nearomat. Da productii mari la hectar: 5 000 - 8 000 kg. Strugurii acumuleaza mult zahar ajungând la
250 g/l. Se foloseste pentru vinuri albe superioare seci si de desert.
|
Tabelul 1 Struguri albi pentru vinificatie |
Observatii |
Soi de mare productivitate. Vinuri placute |
Soi raionat pentru vinuri desert |
Vinuri albe superioare |
Vinuri curente de masa |
Intra în sortimentul de Cotnari, vinuri albe superioare. Vinificat separat sau în amestec |
Vinuri curente de masa. În amestec cu Plavaie, Frâncuse, da soiuri pentru distilat |
Intra în sortimentele de Cotnari |
Vinuri superioare fine, armonioase |
Vinuri fine, armonioase, desert |
Vinuri fine, armonioase, aromate |
Vinuri fine, armonioase, desert, vinificat separat sau în amestec |
Vinuri foarte fine, superioare |
În amestec cu Feteasca da vinuri pentru sampanie. În amestec cu Mustoasa da vinuri pentru distilat |
Vinuri de masa superioare |
|||||||||
|
Productia kg/ha |
max. | |||||||||||||||||||||||
|
min. | ||||||||||||||||||||||||
|
Randament în must, fata de struguri (%) | ||||||||||||||||||||||||
|
Concentratia în zahar la maturitate (g/l must) |
| |||||||||||||||||||||||
|
Raionarea soiului |
Judetele Constanta, Galati, Prahova, Tulcea |
În toate regiunile tarii, în plantatii pure sau în amestec |
În judetele Timis, Arad, Maramures, Bihor, în cultura pura sau în sortiment cu Majarca |
În toate podgoriile din sudul tarii si în special în Moldova |
În toate podgoriile din Moldova |
În toate podgoriile din: Ardeal, judetele Galati, Bacau, Iasi |
În judetele Bacau, Iasi, Vrancea. În podgoriile din Moldova |
Jud. Iasi, podgoria Cotnari; Jud. Prahova, podgoria Pietroasele |
În podgoriile din Ardeal si izolat în restul podgoriilor |
În toate podgoriile în asociatie biologica cu Cinsaut |
În toate podgoriile |
În toate podgoriile din Ardeal, Prahova, Galati si Moldova |
În podgoriile din Ardeal si izolat în Dolj, Prahova, Iasi |
Vrancea, Prahova, podgoriile din Ardeal |
În toate podgoriile tarii |
|||||||||
|
Soiul |
Chardonnay |
Feteasca alba |
Creata |
Alligoté |
Frâncusa |
Furmint |
Galbena de Odobesti |
Grasa de Cotnari |
Traminer |
Muscat Ottonel |
Tamâioasa româneasca |
Pinot-gris |
Sauvignon |
Iordovana |
Riesling italian |
|||||||||
|
Tabelul 2 Struguri negri pentru vinificatie |
|
||||||||||||||||||||||||
|
Soiul |
Raionarea soiului |
Concentratia în zahar la maturitate (g/l must) |
Randament în must, fata de struguri (%) |
Productia kg/ha |
Observatii |
|
|||||||||||||||||||
|
min. |
max. |
||||||||||||||||||||||||
|
Babeasca neagra |
În podgoriile din Moldova, Dolj si Constanta |
Vinificat separat da vinuri curente de masa. În amestec cu Merlot, Cabernet - Savignon da vinuri curente |
|
||||||||||||||||||||||
|
Feteasca neagra |
Judetele Galati, Iasi, Prahova, Bacau |
În amestec cu Cabernet -Sauvignon, Feteasca nea-gra, Merlot, da vinuri superioare |
|
||||||||||||||||||||||
|
Cabernet-Sauvignon |
În majoritatea podgoriilor ca soi pur sau în sortiment cu soiuri locale |
Vinuri de masa |
|
||||||||||||||||||||||
|
Cadarca |
În podgoriile din nordul Transilvaniei, Mures, Recas, Harghita, Oradea, Baia Mare |
Vinuri superioare |
|
||||||||||||||||||||||
|
Merlot |
În podgoriile din Moldova si în podgoriile din sud: Prahova, Arges, Dolj, Timis |
Vinuri superioare, vinifi-cate separat sau în amestec cu Cabernet Sauvignon, Babeasca, Pinot noir, Feteasca neagra, Oporto |
|
||||||||||||||||||||||
Chardonnay. Este un soi raionat în special în podgoria Murfatlar. Strugurii sunt de forma cilindrica sau cilindroconica, uniaripati. Boabele sunt mici, sferice sau usor ovale, asezate des pe ciorchine. Pielita este subtire, colorata în verde albicios cu puncte cafenii. Produce 8 000 - 10 000 kg. la hectar.
Sauvignon. Se întâlneste în toate podgoriile din Moldova, Muntenia si Oltenia. Cele mai bune rezultate în cultura acestui soi se obtin în podgoriile Dragasani, Odobesti, Dealu-Mare, Murfatlar, pe Târnave si Aiud. Strugurii sunt de marime mijlocie, de forma conica, uni sau biaripati. Boabele sunt mijlocii, de forma sferica, asezate des pe ciorchine. Pielita este groasa, verzuie. Miezul este zemos, cu aroma specifica.
Productia de struguri este mijlocie: 5 000 - 9 000 kg. la hectar. Se obtin vinuri de o finete rara, armonioase.
Traminer roz. Se cultiva în special pe Târnave, în Banat, Odobesti si Dealu-Mare. Strugurii sunt de marime mijlocie, de forma conica sau cilindroconica. Boabele sunt mici, de forma sferica, cu pielita groasa, de culoare roz-violacee. Miezul este zemos, necolorat, cu o aroma specifica. Productia la hectar este mijlocie, variind între 5 000 - 7 000 kg.
1.2.2. Soiuri de struguri pentru vinuri rosii
Soiuri autohtone.
Babeasca neagra. Este raspândit în Moldova si în special în podgoria Nicoresti, unde se produc cele mai bune vinuri din acest soi. Strugurii sunt de marime mijlocie spre mare, ramurosi. Boabele sunt de marime mijlocie. Pielita este subtire, rosie-închis, cu aspect negru-albastrui. Miezul este semizemos, necolorat.
Feteasca neagra. Se cultiva în podgoriile din Moldova si Dealu-Mare, unde produce vinuri superioare. Strugurii sunt de marime mijlocie, de forma cilindrica sau cilindroconica. Boabele sunt mici, sferice si asezate des pe ciorchine. Pielita de grosime mijlocie, rosie-închis, acoperita cu pruina. Miezul este zemos, necolorat. Da productii de 8 000 - 10 000 kg/ha. Vinurile obtinute din acest soi sunt fine si catifelate.
Soiuri straine
Cabernet-Sauvignon. Se cultiva în Dealu-Mare si Odobesti, Dragasani si Minis. Strugurii sunt mici, uniaxiali, aripati uneori, de forma cilindrica sau cilindroconica. Boabele sunt mici, sferice, asezate des pe ciorchine, cu pielita groasa, negru-albastruie. Miezul este zemos, cu gust ierbos-astringent, caracteristic. Productia de struguri este mijlocie:
7 000 - 8 000 kg/ha.
Merlot. Se gaseste în special în podgoriile Dealu-Mare, Odobesti, Nicoresti, Corcova si Arad. Strugurii sunt de forma cilindrica, uneori biaripati, cu boabele asezate des pe ciorchine. Boabele sunt mici, sferice, cu pielita de grosime mijlocie, colorata în negru, acoperita cu pruina. Miezul este zemos si mustul necolorat. Da productii mari, pâna la 15 000 kg/ha.
1.3. PATRIMONIUL VITIVINICOL AL ŢĂRII NOASTRE
Patrimoniul vitivinicol cuprinde totalitatea viilor, centrelor de vinificare, depozitare, conservare, conditionare si îmbuteliere, cu instalatiile aferente si capacitatile de depozitare, indiferent daca viile apartin sau nu sectorului de stat.
În mod conventional, patrimoniul viticol s-a repartizat pe zone care cuprind podgorii, centre si plaiuri.
O trasatura caracteristica a podgoriei românesti o constituie faptul ca viile sunt cultivate pe pante, cu expunere favorabila dezvoltarii procesului de maturare a strugurilor, în regiuni de nisipuri si regiuni calcaroase.
Patrimoniul vitivinicol este în continua dezvoltare. Viile se vor extinde în special în terenuri în panta, expuse eroziunii, în regiuni de nisipuri, urmarind ca prin plantarea de vii sa se fixeze dunele umblatoare si sa se obtina terenuri proprii acestei culturi.
În urma studiilor facute, pe o perioada foarte lunga, prin raionarea viticulturii, s-au stabilit cele mai valoroase soiuri care trebuie sa se cultive în fiecare podgorie.
Viile de hibrizi care se întindeau la ses, luând locul altor culturi valoroase, au fost defrisate, iar în locul lor s-au plantat peste 140 000 ha de vie nobila.
În culturile noi s-au promovat cele mai valoroase soiuri de struguri, atât ca productie la hectar cât si din punct de vedere calitativ. S-a dezvoltat în mod special cultivarea soiurilor de struguri de masa. La plantarea viilor cu struguri de masa s-a tinut seama de urmatoarele considerente:
- sa se cultive atât soiuri timpurii cât si soiuri târzii, ca sa se asigure un consum de struguri în stare proaspata, pe o perioada cât mai îndelungata;
- sa se cultive soiuri de struguri cu boabele mari si carnoase, gustoase, aspectuoase si rezistente la transport si pastrare.
Prin raionarea soiurilor de struguri pentru vin s-a urmarit atât cultivarea unor soiuri valoroase cât si obtinerea unor vinuri tipizate, cu caracteristici bine definite.
1.4. STRUCTURA sI COMPOZIŢIA CHIMICĂ A STRUGURILOR
1.4.1. Structura strugurilor
Strugurele este alcatuit din ciorchine si boabe. Ciorchinele este format dintr-o axa centrala cu ramificatii de care sunt prinse boabele. Boabele sunt alcatuite din pielita, miez si seminte, în anumite proportii (tabelul 3).

|
Tabelul 3 |
||
|
Partile componente ale strugurilor si boabelor |
% fata de greutatea strugurelui |
% fata de greutatea boabelor |
|
Ciorchini | ||
|
Pielita | ||
|
Miez | ||
|
Seminte | ||
Proportiile partilor componente ale strugurilor influenteaza asupra randamentului la obtinerea vinului. Structura bobului este prezentata în figura 1.
1.4.2. Compozitia chimica a strugurilor
Calitatea vinului depinde, în primul rând, de compozitia chimica a strugurilor. Partile constituente ale strugurilor au compozitie chimica diferita, datorita functiilor fiziologice pe care le au (tabelul 4).
Tabelul 4
Compozitia chimica a strugurilor
|
Partile componente |
Miez |
Pielita |
Seminte |
Ciorchini |
|
Apa |
| |||
|
Substante azotoase | ||||
|
Grasimi | ||||
|
Substante extractive neazotoase | ||||
|
Celuloza |
foarte putin | |||
|
Substante minerale (cenusa) | ||||
|
Glucide |
putin |
urme |
urme |
|
|
Acid malic |
putin | |||
|
Acid tartric |
foarte putin |
urme |
||
|
Substante tanante |
urme |
Miezul este partea principala a bobului, a carui compozitie este transmisa aproape integral mustului. Peretii celulari ai miezului reprezinta o cantitate de 5% din greutatea totala a miezului. În el se acumuleaza glucidele, acizii organici, substantele extractive neazotoase si substantele minerale.
Pielita bobului are rolul fiziologic de a apara bobul de agentii externi, având un strat ceros de pruina care da aspectul brumat al strugurilor. În pielita sunt localizati pigmentii si substantele aromate care se extrag prin fermentarea mustului pe bostina la obtinerea vinurilor rosii si aromate.
Semintele se gasesc în bob în numar de 1 pâna la 4. Sunt anumite soiuri de struguri fara seminte (apirene) care se folosesc la obtinerea stafidelor. Componentii importanti ai semintelor sunt substantele tanante si grasimile care se pot extrage prin valorificarea semintelor din tescovina. În timpul presarii strugurilor trebuie sa se evite spargerea semintelor, care ar determina trecerea taninului în must si obtinerea gustului astringent.
Ciorchinii se înlatura la prelucrarea strugurilor pentru obtinerea vinurilor albe si rosii, datorita continutului lor mare în tanin care imprima gustul astringent mustului si vinului.
Componentii chimici principali ai strugurilor sunt redati în tabelul 4.
Apa este componenta principala, din punct de vedere calitativ, a mustului, ocupând în medie 70-80% din masa sa.
Glucidele sunt reprezentate prin glucoza si fructoza, care se acumuleaza în bob, formate fiind prin fotosinteza. La coacere, în struguri raportul glucoza/fructoza este 1. În momentul coacerii depline a strugurilor se acumuleaza cantitatea maxima de glucide în bob, care difera de la un soi la altul. La unele soiuri se gasesc cantitati mici de zaharoza, de asemenea, cantitati mici de pentozani.
Acizii organici în struguri se gasesc liberi si sub forma de saruri de Ca si K. Specifici strugurilor sunt acidul tartric, acidul malic si mici cantitati de acid citric. Acidul tartric se gaseste liber în cantitati de 0,02.0,13% si sub forma de bitartrat de potasiu 0,4.0,8%, precum si tartrat da calciu. Acest acid este specific mustului si vinului. Acidul malic se gaseste mai mult în strugurii verzi având gustul acru, ierbos, specific fructelor necoapte. Pe masura ce strugurii se coc, acidul malic se arde prin fenomenul de respiratie.
Substantele azotoase în must se gasesc sub forma de albumoze, peptone, peptide, aminoacizi, amide, saruri amoniacale si azotati. Dintre acestea, aminoacizii, amidele si sarurile amoniacale sunt asimilate de catre drojdii la fermentarea mustului. Substantele proteice pot sa precipite în timpul depozitarii vinului, producând tulburel.
Substantele pectice se gasesc în cantitati mai mari în pielita si în seminte. Ele au proprietatea de a retine în solutie substantele coloidale, care mentin mustul tulbure. Pentru a înlatura acest defect, substantele pectice se pot hidroliza folosind preparate enzimatice pectolitice.
Pigmentii sunt localizati mai ales în pielita. În struguri se gasesc urmatoarele tipuri de pigmenti:
- rosii: antociane;
- verzi: clorofila;
- galbeni: caroten si xantofila;
- galbeni-bruni: flavone.
În boabele strugurilor negri se gasesc pigmentii antocianici: enina si enidina. La obtinerea vinurilor rosii, se face o fermentare a mustului în prezenta pielitei, pentru a se extrage pigmentii antocianici (solubilitatea lor creste în solutii alcoolice). Sunt anumite soiuri de struguri care au si miezul colorat în rosu (soiuri tinctoriale) : Gamay Freaux, Saperavi, Alicante Bouschet.
Substantele tanante specifice strugurilor sunt reprezentate prin enotanin, care se gaseste în cantitate mai mare în seminte si ciorchini. Mustul care vine în contact cu ciorchinii sau cu seminte zdrobite are un continut mai mare în tanin, care îi transmite un gust astringent.
Substantele de aroma sunt localizate mai ales în pielita si în zona periferica a miezului. În boabele de struguri se gasesc uleiuri eterice: terpineol, antranilatul de metil, eugenol, vanilina, etc. Aroma diferitilor struguri prezinta caracteristici specifice dupa cum predomina un grup sau altul de substante aromate.
Vitaminele se gasesc în must în cantitati mici: 2-4 mg./l. Ele maresc valoarea dietetica si alimentara a mustului si vinului. Au fost identificate urmatoarele vitamine: vitamina C (acidul ascorbic), inozita, vitaminele B1, B2, B6, si B12 care fac parte din grupul vitaminelor B, vitamina E, PP, vitamina A, biotina, etc.
Enzimele. În mustul de struguri se gasesc mai multe enzime, dintre care un interes practic îl reprezinta enoxidaza care catalizeaza procesele de oxidare, în special ale substantelor colorante, tanante si aromate, imediat la iesirea sucului din bob. Enoxidaza a fost gasita în mustul strugurilor sanatosi cât si în cei atacati de mana, Botrytis cinerea si Monilia. Studiind enzimele oxidante ale strugurilor, s-a stabilit existenta urmatoarelor enzime: dehidraza, ascorbinoxidaza, si citocromoxidaza. În afara de acestea, în struguri se mai gasesc: invertaza, glucosidaza si lipaze.
Substantele radioactive. O data cu dezvoltarea cercetarilor în domeniul radioactivitatii, activitatea cercetatorilor s-a îndreptat si în domeniul mustului si al vinului, cautând sa analizeze posibilitatea ca aceste produse sa fie folosite în alimentatie si terapeutica. Pâna în prezent, s-a stabilit ca singurul element radioactiv în must si în vin este potasiul. Puterea radioactiva a mustului este destul de mica.
Capitolul II
TEHNOLOGIA GENERALĂ DE OBŢINERE
A VINURILOR
2.1. PREGĂTIREA sI AMENAJAREA CRAMEI
Înainte cu 2-3 saptamâni de începerea campaniei de vinificare se pregateste crama, se curata interiorul ei, se varuiesc peretii, tavanul si postamentele vaselor. Pardoseala de ciment sau asfalt se spala cu solutie de carbonat de sodiu de 2% sau cu solutie de SO2 1% si, apoi, se spala cu apa. În salile de fermentatie se verifica sistemul de ventilatie pentru asigurarea unei bune aerisiri. Vasele de fermentare si depozitare se repara si se conditioneaza. Trebuie sa se asigure capacitatea de depozitare corespunzatoare recoltei evaluate de struguri. De asemenea, se verifica starea de functionare a utilajului tehnologic. În afara de aceste masuri tehnice, mai trebuie luate s masuri organizatorice în vederea începerii campaniei de vinificare. Astfel:
- se asigura aprovizionarea cu materiale(bulgari, pastile sau fitile de sulf, butelii cu bioxid de sulf, carbonat de sodiu) , aparatura pentru analiza curenta a mustului la receptie, pâlnii de fermentare, termometre pentru masurarea temperaturii mustului în vasele de fermentare;
- se asigura personal necesar si instruirea lui pentru a cunoaste cu precizie operatiile ce trebuie sa le execute;
- se asigura mijloacele de transport pentru struguri, musturi sau vinuri, precum si pentru angajati, daca este necesar.
2.2. CONSTRUCŢII VINICOLE
Prin constructii vinicole se înteleg încaperile cu utilajele si utilitatile corespunzatoare, unde se realizeaza procesele de receptie si prelucrare a strugurilor, limpezirea, deburbarea si fermentarea mustului, depozitarea si fermentarea tescovinei, depozitarea drojdiei rezultate, conditionarea si maturarea vinurilor, prelucrarea, cupajarea si îmbutelierea pentru consum.
În sectorul vitivinicol din tara noastra s-au realizat constructii vinicole moderne, de mare capacitate, dotate cu utilaje de cel mai înalt nivel tehnic.
Pentru ca unitatile vinicole sa corespunda mai bine si mai rational scopului pentru care sunt construite, specialistii au cazut de acord sa realizeze trei tipuri de constructii vinicole:
a) Unitati de vinificare, situate în podgorii, unde se face prelucrarea strugurilor, fermentarea mustului, primele pritociri si îngrijiri ale vinului, urmând ca vinul rezultat sa fie transportat la unitatile special amenajate pentru învechirea, conditionarea si îmbutelierea lui. Acest tip de unitati poarta numele de crame de vinificare.
b) Unitati care prelucreaza struguri, conditioneaza si învechesc vinurile si le livreaza la consum.
c) Unitati amplasate în centrele de consum care învechesc si prelucreaza vinurile primite de la centrele de vinificare, le conditioneaza, le îmbuteliaza si le livreaza pentru consum
Crama este construita la suprafata solului. În centrele mari viticole, unitatea de vinificare este prevazuta cu crama si pivnita asezata sub crama, pentru depozitarea vinului.
Marimea cramei trebuie sa fie în corelatie directa cu:
- cantitatea de struguri care se prelucreaza orar si zilnic;
- utilajele care concura la vinificare;
- durata culesului;
- numarul liniilor tehnologice de prelucrare pe soiuri a strugurilor.
Crama trebuie sa aiba un compartiment de prelucrare a strugurilor în care sa fie instalate prese, linuri, vase de limpezire, instalatii pentru racirea sau încalzirea mustului, bascule pentru cântarirea strugurilor, un laborator pentru determinarea rapida a continutului în zahar a strugurilor supusi presarii.
De asemenea, crama va avea un compartiment pentru fermentarea vinurilor albe, pentru fermentarea vinurilor rosii, a vinurilor aromate si o sala pentru prepararea drojdiilor selectionate. Capacitatea de depozitare trebuie sa fie corelata cu cantitatea de must ce trebuie fermentat, tinând cont de durata medie a timpului de fermentare.
Crama trebuie amplasata pe teren sanatos, cu fata spre sud-vest, la loc de acces pentru atelajele care aduc strugurii si pentru cele care evacueaza vinul, cu posibilitati de alimentare cu apa potabila si de evacuare a apelor uzate, cu dispozitiv de aerisire si de evacuare a dioxidului de carbon.
Pivnita este locul unde se depoziteaza vinul dupa terminarea fermentarii, pentru continuarea dezvoltarii calitatilor vinului si pentru maturizare.
Constructiile noi sunt prevazute cu pivnite în pamânt, asa cum sunt combinatele de la Valea Calugareasca, Tohani, Dragasani, Blaj, Jidvei, sau cu spatii subterane unde se asigura vinurilor aceleasi conditii de evolutie ca si în pivnita.
Pivnita trebuie sa îndeplineasca o serie de conditii:
- Sa aiba o temperatura constanta în tot timpul anului: 8.100 C pentru vinurile albe si 10.120 C pentru vinurile rosii.
Pivnitele moderne sunt dotate cu exhaustoare, ventilatoare si instalatii de reglare automata a temperaturii si umiditatii aerului.
Acest fel de pivnite se executa pe terenuri sanatoase si fara infiltratii de apa. Asemenea pivnite s-au construit în ultimii ani, în aproape toate podgoriile mari din tara noastra.
În cele mai multe cazuri, pentru a asigura un circuit tehnologic mai bun, cu reducerea cheltuielilor de productie, pivnitele se construiesc sub crama.
- Aerul din pivnita trebuie sa aiba o umiditate între 85 si 90% determinata cu higrometrul. Aerul uscat da nastere la evaporari mari, la uscarea doagelor, care poate duce la scurgeri de vin. Aerul prea umed creeaza conditii prielnice pentru dezvoltarea mucegaiurilor.
- Pentru a asigura conditii bune de igiena a vinului, pivnita se va afuma cu sulf la anumite intervale, dupa starea de umezeala a pivnitei, la doua saptamâni sau o luna.
- postamentele si peretii se vor varui ori de câte ori va fi nevoie.
- Pardoseala se va spala cu apa, înlaturând orice urme de vin care ar putea fi un mediu prielnic de dezvoltare a bacteriilor acetice.
Centre de conditionare si desfacere cu sectii de învechire. Nivelul tehnicii actuale pune la dispozitie mijloace dintre cele mai moderne pentru a asigura si în încaperi situate deasupra solului conditii de învechire a vinului. Asemenea centre sunt combinatele de vinuri din orasele: Constanta, Craiova, Timisoara, etc. Aceste centre pentru învechirea vinului sunt situate deasupra solului, pe mai multe niveluri.
Peretii cladirii sunt izolati ca sa se evite schimbul de temperatura cu exteriorul. Conditionarea aerului si reglarea temperaturii se fac automat.
Circulatia aerului se face pe verticala, prin orificii mici, pentru a nu se crea curenti de aer.
Vasele sunt asezate pe trei rânduri, cele mari (5 000-10 000 l) la baza, cele cu capacitate de 3 000-6 000 l la mijloc, iar cele mici (1 000-3 000 l) deasupra.
Între budane se lasa spatii largi pentru circulatie si pentru înlocuirea unor vase la care
s-ar ivi defecte de constructie, care ar da nastere la prelingerea sau scurgerea de vin. Pentru conditionarea vinurilor curente, aceste centre sunt prevazute cu cisterne din beton protejat. Asemenea constructii sunt mult mai economice si mult mai sigure.
2.3.VASE FOLOSITE ÎN INDUSTRIA BĂUTURILOR
Alaturi de materia prima, vasele joaca un rol hotarâtor în calitatea si formarea vinului. La dotarea cu vase a unei crame si pivnite trebuie sa se tina seama de linia tehnologica adoptata, de calitatea produsului ce va rezulta în mod constant, de la recolta la recolta, de durata vinificatiei si de cantitatea de struguri ce trebuie vinificata. Pentru unitatile de conservare si desfacere, capacitatea pivnitei si a utilajelor trebuie corelata cu sarcinile pe care le au pentru învechit si depozitare si de planul de livrari, atât cel zilnic cât si cel anual. Vasele de prelucrare, fermentare si depozitare se pot confectiona din lemn, din beton sau din otel.
Vasele din lemn. Cel mai mult utilizat pentru confectionarea vaselor si utilajelor este lemnul de stejar. Din lemnul de stejar se confectioneaza: ciubere, curatori, cazi, butoaie, budane.
Ciubere. Constituie un utilaj marunt de crama, de 7-12 l, confectionat din doage subtiri, legate cu cercuri de otel.
Curatori. Sunt în forma rotunda sau elipsoidala, cu capacitati variind între 50 si 250 l, folosite în special la evacuarea drojdiilor, a zaturilor de la cleire, la prepararea materialelor pentru cleit vinurile(gelatina, bentonita, etc.) ;
Cazi. Capacitatea si modul de confectionare a cazilor sunt în functie de rolul pe care îl joaca în procesul tehnologic. În mod obisnuit, cazile au forma tronconica, cu diametrul bazei mai mic decât diametrul gurii. Se confectioneaza cazi închise si cazi deschise.
Butoaie. Aceste vase au forma ovala, cu fundurile rotunde. În cazuri foarte rare se construiesc vase din stejar cu funduri ovale. Butoaiele au capacitati între 50-1 200 l. Se folosesc atât la transportul cât si la depozitarea vinului. Butoaiele destinate transportului vinului sunt prevazute cu vrana de umplere, în timp ce butoaiele pentru depozitare, în afara de vrana de umplere, au în partea opusa vranii, pe unul din funduri, o gura de vizitare.
Budane. Capacitatea budanelor este cuprinsa între 1 100 si 70 000 l, în functie de spatiul unde se amplaseaza. Pe unul din funduri, au o portita de vizitare, în asa fel realizata încât sa poata intra un om înauntru, pentru a le curata. Budanele se folosesc atât la fermentare cât si la depozitarea si învechirea vinului.
Cisternele metalice. Se fabrica cu capacitati mari, fie din otel inoxidabil, fie din otel protejat cu emailuri antiacide sau cu materiale antiacide. Materialul cu care se protejeaza cisternele trebuie sa îndeplineasca urmatoarele conditii esentiale:
- sa adere perfect si usor pe peretii cisternei;
- sa nu imprime miros sau gust displacut produsului depozitat;
- sa nu se desprinda de pe pereti în cazul contractiilor si dilatarilor;
- sa prezinte o suprafata neteda care sa se poata spala usor;
- sa fie ieftin si usor de aplicat;
- sa reziste la variatii de temperatura între 200C si 500C.
Cisternele metalice servesc numai pentru depozitarea si conditionarea vinului, însa nu sunt apte pentru învechirea lui. Au avantajul ca se construiesc usor si ca ocupa spatiu redus. Când sunt prevazute cu dispozitive speciale, aceste cisterne pot servi la fermentarea vinurilor sub presiune de CO2, putându-se realiza o fermentare dirijata. Pot servi cu succes la pastrarea vinurilor sub presiune de dioxid de carbon, ferindu-le de fermentarea secundara si mentinându-le prospetimea si fructuozitatea.
Cisternele de beton armat. În mod curent, din beton se construiesc cisterne paralelipipedice si cisterne cilindrice. Cisternele paralelipipedice au avantajul ca folosesc mai rational spatiul. Când sunt construite în grup, au pereti comuni, ceea ce duce la ieftinirea pretului de construire. Sunt prevazute cu orificii pentru umplere- la partea superioara- si cu portite de golire - în fata, la partea inferioara. Spre a evita contactul vinului cu aerul, capacul superior are o usoara înclinare spre orificiul de umplere, creând astfel posibilitatea ca cisterna sa fie complet plina si fara goluri de aer. Cisternele cilindrice necesita un spatiu mai mare pentru construirea aceleiasi capacitati, deoarece, partile libere, ramase din înscrierea unui cerc într-un patrat nu sunt utilizate. Avantajele pe care le prezinta cisternele din beton sunt:
- se construiesc usor;
- sunt mai ieftine decât vasele din stejar; ocupa spatiu redus;
- se pot construi la orice capacitati;
- se pot construi suprapuse.
Cisternele se protejeaza cu placi de sticla, placi de masa plastica sau polistiren, rasini epoxidice, mase pe baza de bitum si parafina, etc.
Cisternele din material plastic sunt introduse în industria bauturilor în ultima perioada.
2.4. PROCESUL TEHNOLOGIC DE OBŢINERE A MUSTULUI DIN STRUGURI
De la recoltarea strugurilor si pâna la obtinerea vinului au loc o serie de operatii tehnologice, fiecare având o importanta deosebita în obtinerea unor vinuri de calitate. Aceste operatii sunt prezentate în schema tehnologica din figura 2 si linia tehnologica din figura 3.


2.4.1. Receptia strugurilor
Strugurii sunt adusi la crama în cosuri, containere de material plastic, bene de lemn, sau, mai modern, în bene metalice basculante. De la cules si transport se poate transmite strugurilor un continut de fier sau cupru care duce ulterior la casarea vinurilor obtinute. Se impune deci un control riguros al modului de protectie al benelor metalice izolante, în vederea evitarii contactului strugurilor cu partile metalice. În cazul strugurilor soiuri pure, acestia se aduc în ladite, pe partizi speciale. Receptia strugurilor se face cantitativ si calitativ.
La receptia calitativa se constata starea de sanatate a strugurilor urmând ca în cazul unor partizi cu struguri alterati, acestia sa fie dirijati spre a fi vinificati separat. Se ia o proba medie din struguri de 1,5 - 3 kg care se preseaza, iar lichidul obtinut se filtreaza, urmând sa i se determine concentratia de zahar.
Receptia cantitativa. Înainte de a se trece la prelucrare, strugurii se cântaresc. Pentru cântarire, se folosesc bascule automate sau manuale. Pe baza receptiei calitative si cantitative se întocmeste fisa de productie a strugurilor.
2.4.2. Zdrobirea si dezciorchinarea strugurilor
Zdrobirea strugurilor are scopul de a separa mustul de struguri, pentru ca acesta sa vina în contact cu drojdiile care produc fermentatia alcoolica. Aceasta operatie se face cu ajutorul unor utilaje numite zdrobitoare, care sunt de tipuri si marimi diferite. Între diferitele tipuri de zdrobitoare, curent folosite în industria vinicola, deosebirile sunt neesentiale si se refera, în special, la modul de construire a pieselor si a dispozitivelor care regleaza debitul de alimentare si distanta dintre valturi.
Zdrobitorul cu valturi este prevazut cu doua valturi de forma cilindrica, executate din fonta, bronz, otel inoxidabil sau masa plastica. Valturile sunt prevazute cu santuri drepte sau elicoidale, cu o adâncime care variaza între 5 si 8 mm. Viteza de rotatie si distanta dintre valturi se regleaza prin intermediul unor cuzineti.
Zdrobitorul cu lame are un singur cilindru metalic, prevazut cu lame mobile care în timpul rotatiei intra si ies din cilindru, în functie de pozitia acestuia. Acest zdrobitor este prevazut cu un resort special care înlesneste îndepartarea suficienta a placii cu nervuri de cilindrul de presare, atunci când vreun corp ar fi patruns între struguri.
Dezbrobonitul strugurilor. Prin dezbrobonire se întelege separarea ciorchinilor de boabe de struguri, în scopul evitarii influentei negative a acestora asupra calitatii mustului. Pentru efectuarea dezbrobonirii se folosesc masini numite dezbrobonitoare sau dezciorchinatoare. Exista numeroase modele de astfel de utilaje, unele efectuând numai operatia de separare a boabelor de pe ciorchini, numite dezbrobonitoare, altele realizând zdrobirea bobitelor si separarea ciorchinilor, numite zdrobitoare-dezbrobonitoare, iar altele care fac zdrobirea, dezbrobonirea si împingerea mustului la locurile dorite, numite egrafulopompe.
Zdrobitorul-dezbrobonitor obisnuit se compune din cosul de alimentare, zdrobitorul propriu-zis, format din doi cilindri cu valturi sau canale, care se învârtesc în sens invers. Distanta dintre aceste valturi este reglabila. Dezciorchinatorul, format dintr-un ax cu palete, desprinde bobitele de pe ciorchini, iar prin cilindrul perforat se scurge mustuiala în jgheabul de evacuare. Capacitatea de lucru a acestui zdrobitor-dezbrobonitor este de 5 000 - 7 000 kg. de struguri pe ora.
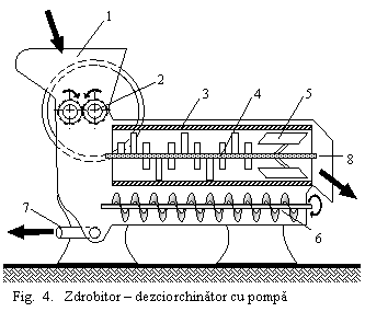
Zdrobitorul - dezciorchinator cu pompa este folosit în majoritatea centrelor de vinificatie din tara noastra, datorita complexitatii sale, calitatii superioare a mustuielii obtinute, simplitatii reglarii si spatiului redus pe care îl ocupa. Este alcatuit din:
- un cos de alimentare 1
doua valturi de zdrobire 2
un cilindru perforat rotativ 3
în interiorul cilindrului perforat se roteste un ax prevazut cu palete dispuse elicoidal 4
Paletele de pe ax au rolul de a desface boabele de pe ciorchini proiectându-le spre peretii cilindrului.
- un jgheab în care se colecteaza boabele zdrobite trecute prin orificiile cilindrului perforat
- un surub melcat 6, care antreneaza boabele din jgheab
- o pompa 7, care transporta mustuiala printr-un furtun, spre cazile de fermentare, în cazul vinurilor aromate sau rosii sau spre linurile de scurgere, în cazul vinurilor albe nearomate.
- un jgheab, 8, prin intermediul caruia ciorchinii separati sunt evacuati continuu.
2.4.3. Separarea mustului ravac
Dupa zdrobire si dezbrobonire, în mustuiala obtinuta, o parte din must se afla liber, urmând ca el sa fie separat de pielite si seminte. Acest must provenind din centrul bobului este mai sarac în resturi de pulpa, pielita, însa mai bogat în zahar, acizi, substante azotoase, tanin, etc. Este mai armonios alcatuit, se limpezeste mai repede si poarta numele de ravac. Pentru separarea mustului din mustuiala se folosesc linuri simple, linuri suspendate, scurgatoare rotative sau scurgatoare cu surub-melcat (melc).
Scurgatoarele gravitationale
Linurile simple sunt utilaje simple de
mica productivitate, confectionate din lemn de brad sau de stejar. Se
pot confectiona usor, în fiecare centru viticol, deoarece nu
necesita pregatire si utilaje speciale; în linurile simple se
poate scurge pâna la 50% din mustul ravac. De aceea, aceste linuri se
folosesc astazi numai la unitatile mici.
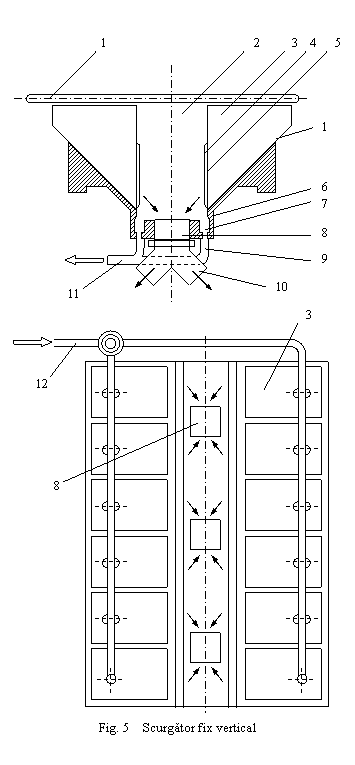
Scurgatorul fix vertical, denumit si lin înaltat, are în prezent o arie mai restrânsa de utilizare datorita randamentului scazut si al spatiului mare pe care îl ocupa. Linul înaltat este alcatuit dintr-un bazin de beton 1, înaltat pe picioare încastrate în fundatia cladirii. De-a lungul axei sale longitudinale are un culoar de trecere 2, care împarte bazinul în doua recipiente mari, cu fundul înclinat la 450, plasate de o parte si de alta a culoarului, cu pante de scurgere spre acesta. La rândul lor, cele doua recipiente sunt împartite în mai multe compartimente 3, prin pereti de separare. Volumul de mustuiala, ramas dupa scurgerea mustului dintr-un compartiment, este egal cu capacitatea presei. În peretele dinspre culoar al fiecarui compartiment este montata rigid o rama de lemn 4, pe care se fixeaza trei usi de lemn 5. Montarea usilor pe rame se face articulat, în balamale sau în prezoane, care permit detasarea întregii usi. În interiorul compartimentelor, pe peretii laterali, pe fundul înclinat si pe usa sunt montate gratare de scurgere. La partea inferioara a compartimentelor, de o parte si de alta, la baza pantei de scurgere, sunt montate în perete doua conducte 6, din otel inoxidabil sau material plastic, pentru scurgerea mustului. În podeaua culoarului, de-a lungul axei sale si plasate simetric fata de acesta, sunt practicate canalele 7, care au rolul de a colecta si dirija mai departe mustul ce curge prin conducta 6. Pe mijlocul culoarului, astfel încât sa poata deservi patru compartimente, doua de o parte si doua de cealalta, sunt practicate gurile 8, prin care se face alimentarea preselor. Sub aceste guri se afla burlanele 10, montate pe un dispozitiv de rulare 9, care servesc la distribuirea mustuielii scurse în cosul presei. Tot la partea inferioara a constructiei sunt montate conductele 11 inoxidabile, care servesc la recoltarea mustului din canalele 7 si la dirijarea acestuia spre cisternele de fermentare ale cramei. Deasupra compartimentelor de scurgere se afla, montate rigid, conductele de alimentare cu mustuiala 12, prevazute cu robinete distribuitoare; mustuiala ramasa dupa scurgere, prin deschiderea usilor 5, cade în culoarul 2, de unde cu ajutorul unor lopeti de lemn este împinsa spre gurile 8, apoi prin burlanele 10 cade în cosul presei (fig.5).
Scurgatorul fix vertical prezinta urmatoarele avantaje: datorita suprafetei mici de contact cu aerul, fenomenul de oxidare este redus, masa de mustuiala prin care se scurge mustul asigura o filtrare a acestuia micsorând astfel procesul de burba si asigurând o continuitate a procesului tehnologic prin încarcarea si descarcarea consecutiva a compartimentelor.
Procentul de must ravac obtinut cu scurgatorul vertical ajunge pâna la 60-65%.
Scurgatoare gravitationale cu scurgere intensificata prin vehicularea materialului pe suprafata pe care are loc scurgerea. Din aceasta categorie fac parte scurgatoarele rotative si scurgatoarele transportoare cu snec de mare capacitate, utilizate curent în liniile tehnologice moderne.
Scurgatorul-transportor înclinat este alcatuit dintr-un jgheab de tabla perforata 1, prevazut cu un melc transportor 2. La partea inferioara a carcasei, sub jgheabul melcului-transportor, este amplasat bazinul de colectare a mustului 3, iar la partea superioara, buncarul de alimentare cu mustuiala, 4. Evacuarea mustuielii scurse, transportata de catre melc spre partea superioara a scurgatorului, se face prin gura de evacuare 5 în cosul presei 7. Scurgatorul-transportor stabil se caracterizeaza printr-un volum mare al buncarului de alimentare

(8 000 - 10 000 l) si prin suprafata mare de scurgere a
mustului, realizata prin montarea unor ferestre cu gratar din metal
inoxidabil 6, pe peretii înclinati ai acestuia (figura 6).
Scurgatoarele compresoare sunt folosite în liniile de preparare a vinurilor curente, prezentând simplitate functionala, dimensiuni reduse si eficienta economica.
Scurgatorul-compresor asigura scurgerea unei mari cantitati de must (68-80%) din cantitatea totala de must obtinuta, prin trecerea mustuielii prin scurgator si presa. Mustul obtinut are însa un continut mare în burba (pâna la 34%) si un continut mare de substante tanante (150-230 mg/l).
Din acest motiv, acest tip de scurgatoare nu se utilizeaza, de obicei, în unitatile noastre vinicole (figura 7).
O îmbinare partiala a calitatilor scurgatoarelor compresoare cu cele ale scurgatoarelor gravitationale verticale este realizata de scurgatoarele transportoare de beton, care rezolva problema stocului tampon din mustuiala, asigurând indici calitativi si economici superiori.

2.4.4. Presarea bostinei
La prepararea vinurilor albe, bostina de struguri, obtinuta dupa scurgerea mustului ravac, este trecuta la presare pentru epuizarea în must. Utilajele folosite pentru presarea bostinei trebuie sa asigure separarea unui procent cât mai mare de must, iar calitatea mustului sa fie cât mai buna. Pentru ca operatia de presare sa fie rational condusa, trebuie sa îndeplineasca urmatoarele conditii:
- asigurarea extractiei maxime a mustului, evitând frecarea bostinei si distrugerea tesutului pielitei, a sâmburilor si a ciorchinilor;
- durata presarii sa fie mica pentru a evita contactul îndelungat între must si tescovina, oxidarea mustului si declansarea fermentatiei;
- dirijarea presiunii;
- obtinerea unui must cât mai limpede, fara fragmente de pulpa si pielite.
Alegerea tipului de presa se face în functie de tipul de vin care urmeaza a se obtine si de cantitatea de struguri care se prelucreaza.
Prese discontinue. Presele cu actiune discontinua pot fi actionate manual, mecanic, hidraulic sau pneumatic. Ele au un randament în must mai mic decât presele cu actiune continua, dar calitatea mustului obtinut este net superioara. Din acest motiv, pentru obtinerea vinurilor superioare sunt preferate presele cu actiune discontinua.
Presa cu surub. Cea mai simpla presa discontinua este formata din:
- platforma metalica fixa sau mobila
- cos de presare cilindrica din sipci de stejar, prinse între ele cu cercuri de otel
- un surub central filetat prevazut cu un mecanism de presare, care poate fi actionat manual sau hidraulic.
Presa hidraulica verticala este destinata presarii cantitatilor mici de mustuiala în vederea obtinerii vinurilor albe si rosii superioare. Aceste prese sunt simple si robuste. Prezinta dezavantajul ca au un grad scazut de mecanizare, încarcarea si descarcarea cosurilor facându-se manual.
Prese orizontale. Din aceasta grupa fac parte urmatoarele tipuri de prese:
- presa orizontala cu actionare dubla
- presa mecano-hidraulica orizontala
- presa pneumatica orizontala.
Presa orizontala cu actiune dubla este formata dintr-un corp cilindric orizontal din sipci de stejar 1, în interiorul caruia se gaseste un ax filetat 2, pe care se deplaseaza prin însurubare doua platane de presare 3. Axul filetat si toba de presare cilindrica sunt antrenate în miscare de rotatie de un angrenaj pinion-coroana dintata 5. Între cele doua platane de presare sunt prinse lanturi metalice inoxidabile 4, care au rolul de a destrama bostina când platanele se îndeparteaza prin rotirea axului în sens invers. Pentru alimentarea cu bostina a tobei este prevazuta o usa de încarcare, care poate servi si la descarcarea tescovinei, dupa presare. Mustul, care se scurge prin sipcile tobei, se colecteaza într-un jgheab amplasat sub toba si se transporta cu o pompa spre instalatiile de limpezire. Dupa presare tescovina este descarcata într-un jgheab cu melc si evacuata (figura 8).

Presa mecano-hidraulica orizontala de tip Colin este o varianta a presei descrise mai sus, cu unele modificari mai mult de natura mecanica (figura 9).

Presa pneumatica orizontala cu actiune discontinua de tip Wildmes este formata
dintr-o toba de presare orizontala 1, confectionata
din tabla de otel inoxidabil, perforata, în interiorul
careia este montat un burduf de cauciuc 2, în care se introduce aer
comprimat care determina umflarea burdufului si comprimarea
bostinei. Antrenarea tobei se face cu ajutorul rotii dintate 3.
În timpul comprimarii, mustul se scurge prin orificiile tobei de presare
(figura 10).
Pâna
în prezent, cele mai bune rezultate s-au obtinut cu presele orizontale
pneumatice, care asigura un randament mare de must, evita contactul
mustuielii cu suprafetele metalice oxidabile si asigura o
presare progresiva si elastica. Presiunea specifica a acestor
prese este de
5-6 kg/cm2.

Pentru evacuarea mustului si tescovinei, la presele
orizontale, în partea inferioara a tobei de presare, se afla
doua jgheaburi care se manevreaza sub toba (figura 11).
Deplasarea compartimentelor 2 si 3, astfel încât unul din
acestea sa se gaseasca în dreptul tobei 1 si al
deschiderii dintre aparatorile laterale 7, se realizeaza
cu ajutorul a patru role de ghidare 5, ce se deplaseaza de-a lungul
a doua sine montate pe cadru, la cele doua extremitati
ale jgheabului. Cu ajutorul rotilor de lant 4, a unei manivele
de antrenare a unei din aceste roti si a lantului 6,
ancorat la capete de rolele 5, jgheabul, poate fi deplasat în sensul
dorit.
Prese continue. Presa mecanica cu actiune continua este folosita în liniile tehnologice, pentru fabricarea vinurilor albe curente, rosii si aromate, datorita capacitatii ei, a randamentului, a vitezei de lucru care evita oxidarile si asigurarii unei continuitati în fluxul tehnologic.
Principiul de actionare a acestei prese consta în comprimarea
progresiva a bostinei prin intermediul unui snec care se
roteste în interiorul unui cilindru perforat, având în partea opusa
alimentarii un capac obturator cu contragreutati.
În productie exista foarte multe tipuri de prese continue. În tara noastra se construieste presa continua tip "Independenta" - Sibiu (figura 12).
Este formata din cosul de alimentare 1, care comunica cu corpul metalic turnat, captusit în interior cu tabla perforata de alama 2. Melcul de alimentare 3 este montat în cilindrul de presare 4, întarit cu cercuri de otel
inoxidabil 5. Melcul de presare 6 din interiorul cilindrului perforat 7 are rolul de a asigura o scurgere suplimentara de must în zona presiunii maxime; conul de presare 8, montat liber pe axul filetat 9, serveste la obturarea gurii de evacuare a tescovinei din cilindrul de presare. Antrenarea celor doua melcuri 3 si 6 în miscarea de rotatie se face cu sistemul de actionare 10.
Mustuiala proaspata ( în cazul vinurilor albe) sau fermentata partial (în cazul vinurilor aromate si rosii), separata în prealabil de mustul ravac, este introdusa prin cosul de alimentare în corpul presei. Prin rotirea melcului de alimentare, mustuiala este introdusa catre melcul de presare. Melcul de presare, care se roteste în sens invers celui de alimentare, preia mustuiala si o împinge mai departe spre conul de presare, care astupa partial gura cilindrului presei. Prinsa între melc si conul de presare, mustuiala este comprimata spre peretii cilindrului perforat prin orificiile caruia are loc scurgerea mustului în jgheabul de colectare.
Astfel rezulta trei calitati de must:
- cel obtinut prin comprimarea mustuielii de catre melcul de alimentare, stutul I
- cel obtinut în zona de presiune normala a cilindrului de presare, stutul II
- cel obtinut în zona de presiune maxima, stutul III.
2.4.5. Limpezirea musturilor
Mustul de la presa contine în suspensie pielite, parti de ciorchine, pulpa, praf, etc., care nu aduc nici o îmbunatatire calitativa viitorului vin; ceva mai mult, maresc depozitul de drojdie micsorând prin aceasta capacitatea de fermentare si creând greutati la tragerea vinului de pe drojdie.
Din punct de vedere al compozitiei chimice burba contine o mare cantitate de polifenoli (taninuri în special, care transmit vinului astringenta si duritate), substante proteice si pectice, substante mucilaginoase, care duc ulterior la instabilitatea vinului, constituind un mediu optim pentru dezvoltarea diferitelor microorganisme. Separarea imediata a burbei este necesara pentru a crea conditii cât mai eficiente pentru desfasurarea activitatii maielelor de drojdii selectionate si a îndeparta focarele de infectie prezente în must, dupa zdrobire. Pentru a diminua aceste neajunsuri, înainte de fermentare, mustul se limpezeste. În depozitul rezultat de la limpezirea mustului, în afara de pielite, seminte, resturi de ciorchini, se gaseste pamânt, sulf, cupru, arsen de la materialele cu care s-a stropit via, precum si o microflora abundenta care poate influenta negativ fermentatia alcoolica.
Metode folosite pentru limpezirea musturilor
Limpezirea se poate obtine prin mai multe metode, în functie de starea strugurilor si de dotarea unitatii.
În orice metoda de limpezire folosita, mustul trebuie sa se afle sub protectia unei doze de dioxid de sulf adaugat pe struguri, înainte de zdrobire si în mustul obtinut dupa scurgere si presare pentru protectie antioxidazica, doza ce variaza functie de starea de sanatate a recoltei, între 40 si 1000 mg/l SO2 total, adaugat în parti egale pe struguri si must.
Limpezirea spontana. În toamnele reci, când strugurii sunt sanatosi, limpezirea se face spontan, în timp de 10-20 h.
Limpezirea prin folosirea frigului artificial. Centrele mari si moderne sunt dotate cu instalatii frigorifice si cu spatii de limpezire adecvate acestui tratament. În acest scop, se folosesc schimbatoarele de caldura, de capacitati si de constructii diferite. Mustul este trecut prin niste conducte racite la exterior de agentul frigorific. Racirea se face pâna la temperatura la care substantele în suspensie se depun. Este un procedeu foarte bun, pentru ca o data cu scaderea temperaturii se depune si excesul de bitartrat. Vinurile devin mai armonioase si cu o fructuozitate sporita.

Desi limpezirea musturilor prin folosirea frigului
artificial duce la îmbunatatirea calitatii vinului,
aplicarea acestui procedeu are dezavantajul ca, dupa limpezire,
mustul intra greu în fermentare, din cauza temperaturii scazute. Din
acest motiv se recomanda încalzirea înainte de fermentare pâna
la temperatura optima, de + 150C.
Limpezirea prin centrifugare este din ce în ce mai practicata. Introducerea acestui mod de limpezire prezinta avantajul ca se realizeaza pe masura vinificarii (figura 13).
Metoda prezinta si dezavantajul ca se poate produce o puternica aerare a mustului, influentând, în parte, asupra calitatii vinului. Din aceasta cauza, limpezirea prin centrifugare nu se practica decât la vinurile de consum curent.
Limpezirea gravitationala în prezenta dioxidului de sulf este curent folosita înainte ca mustul sa fie trecut la fermentatie. Aceasta metoda se bazeaza pe proprietatile dioxidului de sulf de a inhiba dezvoltarea drojdiilor salbatice si a altor microorganisme daunatoare.
Rolul dioxidului de sulf în vinificatie
Dioxidul de sulf se foloseste în vinificatie de mult timp si în multe tari, datorita proprietatilor sale de antiseptic, limpezitor, antioxidant, decolorant si conservant al aromelor.
Aceasta substanta se introduce în mustul proaspat pentru a întârzia fermentatia spontana, usurând astfel limpezirea, precum si selectia drojdiilor prin rolul sau antiseptic asupra unor specii.
Actiunea antiseptica este în functie de doza. Dioxidul de sulf este fungistatic sau fungicid, bacteriostatic sau bactericid, având deci rol de stabilizator biologic. Exercita o actiune selectiva prin aceea ca inhiba activitatea unor specii de drojdii si bacterii nedorite în vin si neadaptate la dozele de dioxid de sulf folosit.
Actiunea antioxidanta se bazeaza pe proprietatile sale de a retine oxigenul, deci actioneaza ca agent reducator, fapt ce are rol pozitiv pentru evolutia vinului.
Actiunea de conservant al aromelor, datorita blocarii proceselor de oxidare si deci de denaturare a acestora.
Reactivitatea ridicata cu constituentii vinului face ca o parte mare din doza de dioxid de sulf adaugata sa se combine, parte ce constituie dioxidul de sulf legat, fara actiune în must sau vin. Partea de dioxid de sulf necombinata constituie dioxidul de sulf liber cu rol activ în vin. Suma celor doua componente constituie dioxidul de sulf total.
Adaugata în must, anhidrida sulfuroasa se combina cu apa, producând acid sulfuros, care se disociaza în doua faze:
H2SO3 = HSO3 + H+
HSO3 = SO3 + H+
Foarte active sunt formele H2SO3 si HSO3. Formele SO3 si H+ nu sunt active.
Trebuie mentionat rolul de dizolvant al substantelor colorante din pielita bobului de strugure, de floculant fata de coloizii mustului, fapt important în operatia de decantare, rolul de favorizator al dezvoltarii aromelor în timpul vinificatiei, având în acelasi timp rolul de blocare a substantelor cu miros si gust neplacute. Are rol important în asigurarea stabilitatii culorii
(a antocianelor).
Ca efecte secundare favorabile se remarca o usoara crestere a gradului alcoolic, a aciditatii totale si o diminuare a aciditatii volatile.
Dozele de dioxid de sulf liber (parte activa) recomandate ca optime pentru vinurile sanatoase sunt:
Doza de SO2 liber Doza de SO2 total
mg/l mg/l
Vinuri albe 20-25 80-120
Vinuri rosii 15-20 60-80
Vinuri dulci, licoroase 25-40 150-200
Foarte importanta este adaugarea dozelor de dioxid de sulf în trei etape tehnologice si anume: din doza totala:
pe struguri 20-40 mg/kg;
în must 20-40 mg/l înainte de decantare.
Corectarea finala a dozei de dioxid de sulf liber trebuie sa se faca dupa efectuarea pritocului 1.
Adaugarea în doze repetate a bioxidului de sulf, în timpul evolutiei vinului, duce la cresterea dozei de dioxid de sulf legat, la valori mari, neadmise de normele de calitate.
Adaugarea de dioxid de sulf în timpul fermentatiei duce la formarea hidrogenului sulfurat ce da un miros dezagreabil vinului.
O parte din dioxidul de sulf, introdus în must se combina cu anumiti componenti ai mustului, mai ales cu cei cu grupari carbonilice, conform urmatorului mecanism chimic:

Numai dioxidul de sulf liber are rol antiseptic. Din acest motiv,
în vinuri se determina analitic SO2 liber si legat, iar în cazul când SO2 liber este în doza
insuficienta, se recomanda o resulfitare a vinului.
Dioxidul de sulf se recomanda în vinificatie în urmatoarele scopuri:
- la întretinerea igienica a încaperilor si a vaselor de depozitare a vinului si a mustului;
- pentru limpezirea mustului înainte de fermentare;
- pentru mentinerea mustului în stare proaspata timp îndelungat;
- pentru a împiedica fermentarea completa a zaharului la obtinerea vinurilor de desert;
- la prelucrarea strugurilor din recolte avariate;
- pentru a feri vinurile de oxidare în timpul manipularii;
- pentru prevenirea si tratarea unor boli ale vinului.
Utilizarea dioxidului de sulf
Dioxidul de sulf se utilizeaza în mai multe moduri:
- prin arderea sulfului (bulgari, pastile, fitile, pentru dezinfectarea vaselor, instalatiilor si a încaperilor)
- sub forma de solutii apoase, care se introduc în must sau în vin într-o anumita concentratie

- prin barbotarea SO2 gazos, direct prin intermediul unor aparate speciale de dozare
numite sulftometre (fig. 14 si 15).
În practica vinicola, se folosea metabisulfitul de potasiu(K2S2O5) care, în contact cu acizii din must, genereaza SO2 . Folosirea metabisulfitului nu mai este recomandata industrial, deoarece îmbogateste vinul în ioni de K, ceea ce duce la un dezechilibru al vinului.
Sulfitarea excesiva este daunatoare vinurilor; acestea se învechesc greu si sunt nocive organismului, producând dureri de cap, greturi si, de asemenea, ataca aparatul respirator. SO2 în exces determina formarea în vin a H2 S, care produce un miros dezagreabil. El se combina cu alcoolii din vin cu formare de mercaptani, substante cu miros neplacut.
Vinurile slab sulfitate evolueaza rapid, se învechesc repede si se oxideaza sau se îmbolnavesc. Pentru aceasta este necesar sa se stabileasca care este doza optima necesara de bioxid de sulf si timpul potrivit de folosire. Pentru vinuri albe si rosii seci, se recomanda 10-15 mg/l(SO2 liber), iar pentru vinuri demiseci si dulci 30-50 mg/l.
Cantitatile de SO2 total necesare pentru musturi, provenind din diverse recolte de struguri sunt urmatoarele:
- pentru strugurii sanatosi, la +150.+200..........10.20 g/hl
- pentru strugurii alterati................20.30 g/hl
- pentru strugurii în toamne calde, cu temperaturi peste 200C...15.25 g/hl
- pentru strugurii în toamnele reci, cu temperaturi sub + 150C....5.10 g/hl
Pentru musturile cu un continut mai mic de zahar sau cu aciditate mai mare se vor folosi doze mai scazute.
Cantitatea de SO2 total necesara pentru obtinerea vinurilor rosii variaza între 5 si 25 g SO2/hl must.
Datorita nocivitatii sale, s-au facut studii de înlocuire partiala a dioxidului de sulf cu alte substante care au, de asemenea, un efect antiseptic, asociate cu SO2. Acestea sunt acidul sorbic, esterul dietilic al acidului pirocarbonic, etc.
Desulfitarea mustului. În cazul în care, în
mod accidental, s-au folosit doze prea mari la sulfitarea unui must, pentru a
evita întârzierea fermentatiei, mirosul neplacut si gustul
dezagreabil produs de SO2 trebuie sa se elimine excesul de SO2
liber prin desulfitare. Aceasta se realizeaza prin aerarea
puternica a mustului, folosind robinete de aerare sau agitatoare cu elice 
(fig. 16, 17 si 18).
2.4.6. Corijarea musturilor cu compozitii chimice anormale
Compozitia chimica a mustului are un rol hotarâtor asupra calitatii viitoarelor vinuri. Cu cât mustul este mai armonios constituit, cu atât vinul rezultat va fi de calitate mai buna. Calitatea vinului depinde, în special, de compozitia mustului din care a provenit, fiecare parte componenta a strugurelui având o influenta mai mare sau mai mica, dupa cum ele au luat parte la obtinerea mustului.
Pentru a se putea remedia la timp unele neajunsuri ce ar putea sa apara în vin, trebuie sa se cunoasca bine compozitia chimica a mustului.
În toate cazurile, când datorita unor împrejurari cu totul speciale, musturile au o compozitie chimica anormala, se procedeaza la corectarea lor, pentru a obtine vinuri corespunzatoare.
Toate corectiile care se aplica la, atât la must cât si la vin, se fac în limitele admise de Legea viei si vinului care reglementeaza aceste adaosuri. Se admite astfel adaugarea în must a maximum 1,5 gr. dall alcool la litru si o corectie la must sau vin de 0,5 g/l la aciditatea totala, exprimat în acid sulfuric (corectia se face la must cu acid tartric, iar la vin cu acid citric).
Corectarea tariei alcoolice se face cu distilat de vin. Corijarea cu distilat de vin are avantajul ca se introduce în must alcool provenit tot din vin.
Cupajarea musturilor. Când exista partizi mari de must cu o concentratie diferita în zahar, din care rezulta vinuri de consum, se va face cupajarea acestora, între ele. Aceasta cupajare prezinta avantajul ca nu implica cheltuieli suplimentare si din aceasta operatie rezulta un vin armonios constituit.
Corectarea musturilor cu exces de aciditate. În cazul recoltelor avariate, adaosul de must concentrat influenteaza asupra gradului alcoolic si numai într-o mica masura asupra echilibrului mustului, acesta ramânând destul de acid.
Corectarea aciditatii se poate face prin cupajarea unui must cu aciditate mare cu musturi cu aciditate mica.
Corectarea musturilor cu aciditate redusa. În cazul recoltelor supramaturate, ca si în cazurile când strugurii sunt atacati de mucegaiul nobil (Botrytis cinerea) , musturile sunt sarace în aciditate. Corectarea aciditatii se face prin cupajarea cu musturi acide din aceeasi podgorie si aceeasi categorie.
Corectarea aciditatii cu acid tartric. Acidul tartric fiind un constituent al mustului, corectarea mustului si vinului cu acest acid nu este interzisa. Acidul tartric adaugat ramâne în must sub forma de acid liber, iar parte din el se combina cu potasiu si calciu si da saruri acide sau neutre.
Corectarea aciditatii cu acid citric. Fata de acidul tartric, acidul citric are avantajul ca nu da saruri cu bazele din must. În afara de rolul pe care îl au acizii în conservarea vinurilor, în asigurarea unor armonii care dau senzatie de placut musturilor si vinurilor, acizii au un rol important în formarea buchetului de vin.
Corectarea musturilor cu continut redus de substante tanante. Mustul ravac este sarac în substante tanante. Pentru a ajuta dezvoltarea drojdiilor si pentru ca vinurile rezultate sa se limpezeasca usor, se adauga mustului pâna la 0,4 tanin/l. Taninul adaugat trebuie sa fie din grupa taninurilor catechinice care se hidrolizeaza. În mod curent, se foloseste taninul de struguri (enotaninul).
Corectarea se poate realiza si prin fermentarea pe tescovina a unei parti de must.
Corectarea musturilor care au exces de tanin. Excesul de tanin face ca musturile sa nu fermenteze complet. Pentru îndepartarea acestui neajuns se procedeaza la bentonizarea musturilor. Deoarece musturile de la prese sunt mai bogate în tanin, în mod obisnuit, în productie se fermenteaza la un loc mustul ravac cu mustul de la presa I si, în unele cazuri, de la presa a II-a, obtinându-se în final, vinuri echilibrate în tanin fara a mai fi nevoie de adaosuri care duc la marirea costurilor de productie.
2.4.7. Fermentarea mustului de struguri
Vinul se obtine prin fermentatia alcoolica a mustului de
struguri. Fermentatia alcoolica consta în descompunerea
glucidelor, sub influenta enzimelor secretate de drojdii, în alcool etilic
si dioxid de carbon, conform ecuatiei globale:
C6H12O6 2C2H5OH
+ 2 CO2 + 27,6 kcal
Transformarea glucidelor din must în alcool etilic are loc într-un proces biochimic sub influenta unui complex de enzime, formându-se mai multi produsi intermediari.
Alaturi de alcoolul etilic si dioxidul de carbon se formeaza si alte substante, ca produsi secundari ai fermentatiei alcoolice: glicerina, acid succinic, acid acetic, alcooli superiori etc.
Microorganismele care produc fermentatia alcoolica sunt drojdiile.
Drojdiile utilizate industrial ca agenti ai fermentatiei alcoolice fac parte din genul Saccaromyces, (Meyen) Rees. În figura 19 sunt prezentate câteva drojdii izolate din mustul de struguri.
Unele din aceste drojdii sunt izolate si selectionate prin culturi în scop practic, industrial si se numesc drojdii cultivate, altele ramân cu caractere primitive, intervin spontan în fermentatia diferitelor lichide, numindu-se drojdii salbatice.
Folosirea drojdiilor selectionate pentru fermentarea mustului are ca scop grabirea fermentatiei prin introducerea unui numar mare de celule de drojdii active, cu scopul de a utiliza complet si în cele mai bune conditii zaharul din must.
2.4.8 Factorii care influenteaza fermentarea mustului din struguri
Fermentarea mustului este influentata de o serie de factori.
Factorii fizici. Temperatura are rolul cel mai important dintre factorii fizici. În fermentarea mustului de struguri temperaturile optime sunt cuprinse între 22.270 C. Sunt drojdii care pot fermenta între limitele de 130C si 350C.
Fermentarea la temperaturi mai scazute prezinta urmatoarele avantaje: mentinerea aromei vinurilor, retinerea unei cantitati mai mari de CO2 în vin (ceea ce are ca efect obtinerea vinurilor cu prospetime, fructuozitate), pierderi mici în alcool, aciditate volatila mica, evitarea fermentatiilor nedorite produse de bacterii sau drojdii salbatice. Conditii: este necesara selectionarea unor specii de drojdii criofile si întretinerea temperaturilor joase la fermentare.
Presiunea osmotica. Substantele care se gasesc dizolvate în must si în special zaharul, exercita o anumita presiune osmotica asupra celulelor de drojdie. Majoritatea drojdiilor sunt jenate în activitatea lor (multiplicare si fermentare) în solutii cu concentratii mari de zahar. Viteza de fermentare scade o data cu cresterea concentratiei zaharului.
Presiunea osmotica mare a solutiei ( a mustului de struguri cu concentratii de peste 40%) determina fenomenul de plasmoliza (concentrarea si strângerea continutului celular) stare în care drojdia este inhibata. Genul Zygosaccharomyces grupeaza drojdiile osmotolerante care pot fermenta musturi cu peste 50% zahar.
Factorii chimici. Continutul în oxigen favorizeaza dezvoltarea drojdiilor (determina metabolismul aerob) ceea ce are consecinta înmultirea rapida a drojdiilor si acumularea unei cantitati mari de biomasa capabila sa amorseze într-un timp scurt fermentatia.
Aciditatea are un rol favorabil pentru activitatea drojdiilor, pH-ul optim este de 3.5 la un pH 3 activitatea drojdiilor este jenata. Dezvoltarea drojdiilor este încetinita de asemenea în mediu usor alcalin.
Acizii volatili jeneaza activitatea drojdiilor; acidul acetic jeneaza în doze de peste 2 g/l, acidul formic opreste fermentatia în doze de 1,5 g/l. Amestecul de mai multi acizi (rezultati în urma unor fermentatii bacteriene în musturi) determina o întrerupere a fermentatiei alcoolice.
Dioxidul de sulf folosit la limpezirea mustului are rol antiseptic asupra unor organisme:
- în doze de 50 mg/l inhiba timp de 10 ore fermentatia;
- 100-150 mg/l inhiba 24 ore fermentatia.
|