ALTE DOCUMENTE
|
||||||||||
zdroje vn
Zdroje vn slouzí pro napájení vysokonapěťových obvodů, např. obrazovek, některých čidel(mikrofony), ionizačních komor a mnoho dalsích zařízení.
Je mozno je realizovat různými způsoby:
transformací
napětí pomocí transformátorů. Tento působ se pouzí 515x2319f vá jen u
nepřílis vysokých napětí, protoze transformátory jinak vychází
rozměrově veliké, tězké a cenově drahé. Při vyssích
napětích rovněz nastávají problémy s izolací jednotlivých vrstev a s
moznostmi napěťových přeskoků nebo jiskření v
transformátoru..
pomocí
násobičů napětí. Pouzívá se buď Greinacherovo nebo Delonovo
zapojení. Rovněz je mozno řadit kaskádně Graetzovy můstky.
Greinacherovo zapojení lze pouzít pro zdvojovač napětí, Delonovo
zapojení nebo kaskádní Graetzovy můstky téz pro násobiče napětí.
Schematické zapojení je:

Greinach. Zdvojovač Delonův násobič Graetz.můstky
V televizorech se pro získání urychlovacích vysokých napětí vyuzívá napětí indukované na indukčnosti vychylovacích cívek v době zpětného běhu paprsku, jehoz maximální hodnota je dána vztahem
kde T1 je doba přímého běhu paprsku, T2 je doba zpětného běhu paprsku, a u1 je napětí na indukčnosti v době přímého běhu.
Zdvojovač napětí je v podstatě zapojení dvou jednocestných usměrňovačů, pracujících do společné zátěze. Při činnosti jednocestného usměrňovače se vyuzívalo jen jedné půlvlny síťového napětí. Kondenzátor C0 se nabíjel jen v kladné půlvlně a pouze v době 2a , v druhé půlperiodě byla dioda uzavřena a transformátor byl odlehčen. Připojením dalsí opačně pólované diody, jak je vidět na obr. 9, lze vyuzít i druhé půlvlny záporné polarity. V záporné půlvlně je diodě D2 polarizována propustně a nabíjí se kondenzátor C0'. Oba usměrňovače jsou napájeny z jednoho sekundárního vinutí, jinak jsou na sobě nezávislé. Oba kondenzátory jsou nabíjeny na stejné napětí jako v usměrňovači jednocestném, avsak jediná zátěz je zapojena na jejich sériovou kombinaci, na níz je napětí součtové. Pracuje-li zdvojovač naprázdno, pak je výstupní napětí U0max=2U2max=2,8U2ef. Při zatízení je výstupní napětí zdvojovače nizsí. Výstupní napětí zdvojovače je rovněz zvlněno s dvojnásobným kmitočtem sítě.
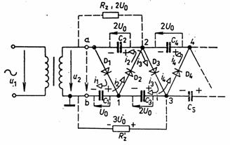
Násobiče napětí se pouzívají pro získání napětí řádu stovek voltů az několik jednotek kilovoltů. Jsou určeny pro odběr malých proudů - maximálně několik desítek mA. Činnost tzv. kaskádního násobiče napětí je následující: působí-li v bodě a kladná půlvlna, je otevřena dioda D1 a nabíjí se kondenzátor C1 na napětí U0. Ve druhé půlvlně je otevřena dioda D2 nabíjí se kondenzátor C2 na součtové napětí kondenzátoru C1 a transformátoru, neboť tyto jsou zapojeny v sérii. V dalsí kladné půlvlně se jednak otevírá dioda D1 a dobíjí se kondenzátor C1 a jednak se otevírá dioda D3 a nabíjí se kondenzátor C3 na napětí 2U0. V následující půlperiodě se otevírají diody D2 a D4, nabíjí se kondenzátory C2 a C4, atd. Popsaný postup nepůsobí v skutečnosti postupně, jak je naznačeno, ale najednou, tzn. ze při kladné půlvlně v bodě a se otevírají vsechny "liché" diody a nabíjejí se vsechny "liché" kondenzátory, v záporné půlvlně se pak otevírají "sudé" diody a nabíjejí se "sudé" kondenzátory.

|