|
Electric Guitar and Bass Assembly Guide |
||||
|
|
||||
| ||||
Recommended tools, supplies and reference materials The following tools
and supplies will help you make your guitar/bass building project fun and
rewarding. Most are common, 636m125g but you may have to borrow/buy a few specialized
items.
Tools
|
#0625 Hammer
(dead-blow) |
|
Good quality Phillips and blade type
screwdrivers. You will need several sizes. |
Supplies
|
Sharp pencil |
|
Small diameter rosin-core solder |
Reference materials
#5111 "Guitar Finishing Step-By-Step" by Dan Erlewine and Don
MacRostie
#3720 "The Guitar Player Repair Guide" by Dan Erlewine
#3975 "The Fender Stratocaster" by A.R. Duchossoir
#3258 "The Fender Telecaster" by A.R. Duchossoir
#0532 "Make Your Own Electric Guitar" by Melvin Hiscock
Parts list We offer many styles and types of parts and components to construct a Stratocaster® and Telecaster® solid body guitar, Jazz Bass®, and Precision Bass®. The options are almost limitless. Because of this, we cannot tell you exactly which parts to order, just the required parts for some typical models.
Assembly Drilling
holes
It is highly recommended to assemble the instrument prior to applying a finish
to a body or neck. This means you must also drill all of the holes (bridge,
strap button, pickguard, tuner, etc.) before a finish is applied. This will
eliminate any accidental chipping of the finish with the drill bits. If you are
working with a pre-finished body and/or neck, start the hole with the drill
going backwards. This causes the bit to "burnish" its way through the
finish, reducing the chance of chipping out the finish. This also works for
cleaning excess paint out of a drilled hole after a body or neck has been
finished. Start the holes slowly and if you're in doubt, try a few test holes
on an area of the guitar that will be covered by the pickguard, or some other
hidden location.
Always centerpunch the hole locations before you
drill; this will ensure that the holes are properly located (very important
with bridge screws). A drill press is also recommended when drilling bridge
mounting holes, especially tremolo bridges. If you don't have direct access to
a drill press, have a friend with a drill press drill a series of holes through
a block of wood that correspond to the holes required for your bridge. Then put
the block on top of the body and use it to guide your drill bit(s). Make sure
the block is large enough to give you adequate support, but not too thick so
that the drill bit(s) won't go deep enough into the guitar. See below for
an example of this drill guide.

Use
masking tape to mark the required depth on the drill bit. This will ensure that
the holes are deep enough, but not too deep (critical when drilling tuner screw
and string tree holes). Lastly, when drilling holes
completely through wood, always have a backer board (scrap hardwood or plywood
for example) to prevent the wood from chipping out when the bit punches through
the back side of the wood.
Be sure to have a good selection of drill bits (a 1/16" through 1/2"
drill index is recommended) so that you can properly size the holes for the
particular screws. Standard wood/steel drill bits work fine for drilling all of
your holes. Brad point drill bits are great in certain situations, but they're
not absolutely necessary. Spade or butterfly bits should be avoided-they tend
to make oval instead of round holes.
The hole shouldn't be too big (the screw may strip out the wood), nor too small
(the hole will be tight and you may twist off the head of the screw or split
the wood). The threaded portion of a screw has two dimensions. The outside
diameter or peaks of the threads are referred to as the maximum diameter, and
the minimum diameter refers to the central core or valleys of the threads. The
hole for a wood screw should be the same as, or just slightly larger than the
minimum diameter of the screw.
To size a bit, hold the screw against the drill bit (drill bit closest to you),
and find the one that is the same size as the minimum diameter of the screw. If
the screw has a smooth shank or shoulder, you will need to drill a two-step
hole. One will correspond to the threaded portion and the other will be the same
diameter as the shoulder of the screw.
Tuner installation
There are many different types of tuners being
used on guitars today. Most of them install easily, and without too much
layout. Read any instructions that may come with your tuners to aid you in installing
them. Be aware of the size of the hole required for the tuner through the
peghead.
Most enclosed-gear tuners require a 3/8"-diameter hole, while traditional
Kluson-style tuners use a 11/32"-diameter
peghole. Our 22-fret necks are drilled for 3/8"-diameter holes, which will
accept almost any tuner on the market. If you wish to use a traditional
Kluson-style tuner with a 22-fret neck, you will need to use the #3458 or
#3458-G conversion bushings to properly fit the 3/8" peghole.
Press-in bushings can be installed carefully using a small
"dead-blow" hammer or a medium-sized Phillips
screwdriver (slide the bushing over the shaft of the screwdriver and
then tap the handle of the screwdriver with a hammer). Be sure to support the
peghead when installing the bushings. It is best to work near or over a leg of
your workbench so that you get a solid hit.
Once the tuners can be fitted into the holes you must align them and
centerpunch for the tuner screws. Carefully layout the
tuners. Be sure they are aligned with one another and that they are
square with the edge of the peghead. If the tuners have a threaded hex bushing,
snug them finger-tight so that the tuners can be adjusted easily, but won't
move when you centerpunch. With Kluson-style tuners it's always good to make a
small pencil mark, and then remove the tuners and connect the seven marks with
a straightedge. Re-install the tuners and centerpunch on the line. This will
help ensure that the tuners line up correctly, since they share tuner screws.
Next, centerpunch the positions of the tuner screws and determine the size(s)
of the drill bit for the tuner screws. If a portion of the screw has a smooth
shank, you must drill a two-step hole. Hold the screw against the end of the
drill bit to determine the depth required, and wrap some masking tape around
the bit as a depth guide. Drill carefully and slowly. Don't try to drill the
full depth in one plunge; pull the bit out periodically to clear the shavings
packed onto the bit.
Place the tuners back on the neck and snug the threaded hex bushings if
applicable. Install the tuner screws (a good sharp and properly-sized
screwdriver will make this job much easier!) and double-check the alignment.
After everything is square and true, check the tightness of the screws and
tighten the peghead bushings with a 10mm wrench or socket if applicable.
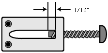
Locating the bridge
Our guitar bodies are routed for a standard Fender-style 25-1/2" scale
neck with 21 frets, or a 22-fret neck with a 22nd fret overhang. To locate your
bridge correctly, adjust the high E-string saddle to the last 1/16" of its
travel toward the neck (see below).

Now
measure 25-1/2" from the nut (at the side facing the bridge) to the point
were the string stops vibrating on the high E string saddle (break point). When
the instrument is properly intonated, the length of the high E-string is
roughly the same as the scale length. All the other strings are longer than the
actual scale length. See chart below for some locations based on specific
bridges.
To properly locate the bridge, you must use the neck and the pickguard (if you
are installing one). Place the neck into the neck pocket and check its fit. It
should drop in or be a little snug-you shouldn't have to force the neck into
the pocket. If the body is unfinished and you are pre-assembling the instrument
(highly recommended!), remember that the finish will make the neck pocket
smaller-it will build up on the edge of the rout. Therefore, the neck shouldn't
fit too snug if there is no finish on the body, or the neck will be too tight
later.
Locate and center the neck in the neck pocket. Use a small clamp with thin
wooden shims on the clamping surfaces to hold the neck in place. After you have
determined the proper location for the bridge mounting screws, make a light
pencil mark on the body, parallel to the frets and the nut. We recommend that
you make two small marks, one corresponding to each E-string, and connect the
dots with one line. This will help ensure that the line is parallel to the nut.

|
Bridge |
|
Distance from nut to center of forward- most mounting screw or pivot post |
![]()
|
#0024, #0025, #0090, #0099 Telecaster-style bridges |
|
25-3/4" ± 1/16" from nut to center of mounting screws. |
|
#1255 Floating Tremolo Bridge |
25-1/4" ± 1/16" from nut to center of pivot screws. |
|
|
#0179 Non-tremolo Stratocaster-style bridge |
25-1/4" ± 1/16" from nut to center of front mounting screws. |
|
|
#0577 |
26-3/16" from nut to center of mounting screws. |
|
|
#1264 |
25-1/4" ± 1/16" from nut to center of pivot screws. |
|
|
Floyd Rose II or #1270 Schaller |
24-15/16" ± 1/16" from nut to center of pivot screws. |
|
|
Floyd Rose or Gotoh |
25" ± 1/16" from nut to center of pivot screws. |
|
|
#0093 Fender® Style Bass Bridge |
35" ± 1/16" from nut to center of rear-most mounting screws. |
Now
you must locate the bridge laterally (side-to-side). With the neck in the neck
pocket, place the pickguard (if used) onto the instrument. Align the pickguard
on the end of the neck and make sure that it properly follows the contours and
shape of the body. Tape the pickguard onto the body in its proper location. Now
place the bridge on the instrument and align it with the rout in the back of
the pickguard and your length mark for the mounting screws. Make intersecting "cross-hair"
marks for the mounting screw holes through the bridge plate. If the bridge is a
tremolo, make sure that it is moving freely and it's not binding on the edges
of the rout. If the pickguard seems to throw the location of the bridge off,
you may have to move it slightly so that everything works correctly. Remember
the golden rule of woodworking, "Measure twice and cut once!" This is
especially important with bridge location and drilling.
To double-check the bridge's lateral location, take a long straightedge and
place it along the edge of the neck. Be sure that a portion of the straightedge
is over the body at the bridge's location. Compare the two sides of the neck
and where the straightedge hangs over the bridge. (Example: the straightedge
may be even with the outside of the E-string saddles, the outer saddle height
screws, the outer edges of the bridge plate, etc.) Once you are convinced that
the bridge is located correctly, centerpunch your marks and drill for the
mounting screws/posts.
String grommets
Some bridges require the installation of string
grommets the back of the guitar. Grommets should not be installed into an
unfinished body because they are too difficult to remove. To properly install
grommets on a finished body you will need the following tools
Hammer
#1 Phillips screwdriver
Soldering iron (25-45 watt) with pencil or chisel tip (soldering guns are not
recommended!)
Needle-nose pliers
To install a grommet, hold it with your needle-nose
pliers and make sure the chamfered edge aligns with the pre-drilled hole. Next,
insert the soldering iron's tip into the opening of the grommet. Be sure to
preheat your soldering iron (5-10 minutes) to ensure uniform, quick heating of
the grommets.
Now, press down with the soldering iron (loosen your grip with the needle-nose,
but don't let go). You're not trying to press the grommet in with the soldering
iron, just transferring some heat to soften the finish to allow the grommet to
be pressed into the wood. After 3-5 seconds, remove the soldering iron while
holding onto the grommet with the needle-nose pliers. This ensures that the
soldering iron will pull off of the grommet. Don't let the grommet fall onto
the finish; it will melt into it!
Next, insert the tip of the #1 Phillips screwdriver
into the grommet and tap the handle with your hammer. The screwdriver will help
you guide the grommet into the hole, ensure that it doesn't tip or lean, and
keep you from contacting the finish with the hammer while you drive it into
place. The grommet should stop just under the top ledge of the drilled
hole-don't keep hitting it with your hammer. Install the other grommets using
the same method.
Tips on tremolo installation
Tremolo bridges require special attention during installation. You will
need special tools to make the job clean and easy. One tool that assists in the
installation of a tremolo is a 7/64" extension or "aircraft"
drill bit (our part #1990). This bit is 12" long and allows you to drill
the two holes for the tremolo claw correctly, without bashing into the body
with your drill.
When installing a tremolo system, be sure that the block (the portion of the
tremolo that passes through the body and to which the springs attach) is not
coming into contact with the sides of the through-body tremolo rout. This will
minimize tuning problems with a traditional (non-locking) tremolo. As mentioned
earlier, be especially careful when drilling the tremolo post mounting holes.
This is the most critical area to ensure smooth, glitch-free tremolo operation.
Most players and builders prefer three tremolo springs for smooth feel and
tension. Five springs can give a cool "faux-reverb" effect,
especially when the bridge is adjusted to bottom-out on the top of the guitar.
The tremolo is harder to push down, but the sympathetic vibration of the
springs can be a very nice addition to the tone and sustain of your guitar.
Attaching the neck
Drilling the neck bolt holes is one of the most
critical operations in the construction of a bolt-on neck guitar. The holes
must be properly sized and located so that the neck is secure in the pocket,
and the vibrations and resonance of the instrument are not compromised.
Often a body will have pre-drilled neck holes. In this case simply place the
neck into the pocket, properly located and aligned
with the bridge, and centerpunch or mark the locations to be drilled onto the
neck. You can use the four neck bolts and tap them with a hammer to make the
marks in the neck. If the body doesn't have the neck bolt holes drilled, use
the neck plate to locate them. The simplest way is to place the neck plate into
the pocket and properly position it in the rout (refer to the drawing for the
proper location). The measurement "A" is 5/8" for guitar,
1-5/16" for bass.

After
locating the plate, centerpunch your marks and drill the holes. Most body/neck
mounting holes are 3/16"-diameter, and they are
slightly countersunk on the backside of the body. We recommend drilling these
holes with a drill press (or use the wooden guide block trick mentioned
earlier) to maintain squareness and proper alignment.
Next, you must drill the holes into the neck. After centerpunching the neck
bolt locations, determine the proper size drill bit (most neck bolts use a
1/8"-diameter bit) and chuck it into your drill. Place a neck bolt through
the neck plate and body. Measure the amount of the neck bolt that extends up
into the neck pocket, and mark your drill bit so that it will drill into the
neck to that depth. Carefully drill the holes in the neck-when drilling maple
or other dense hardwoods, drill the hole in gradual steps so the bit won't get
too hot or clogged. Pull the bit out a few times while drilling to clear the
shavings packed onto the bit.
String nut
Installing a nut on your guitar neck is one of the
most crucial aspects of the instrument's playability and performance. A poorly
installed or poorly-shaped nut can cause tuning problems, inferior tone, and
poor sustain. For a nut to work well, the slots must be properly sized,
located, and shaped. The fit of the nut into the slot is also very critical. It
should fit snugly (not too tight) and conform to all aspects of the slot and
fingerboard's shape.
The slots must be sized per string and have a round "U-shaped"
bottom, to support the full diameter of the string (a "V-groove" slot
can bind on a string). Slots for unwound strings should be the same depth as
the diameter of the strings, and the depth of a wound string's slot should be
half the diameter of the string. For guitars with tremolos, or for players who
really bend strings, the slots may need to be deeper.
The slot cannot be too tight or it will pinch or bind the string in the slot.
Most everyone has heard the tell-tale "pink-pink-tink" sound of a nut
pinching and releasing the string as it is brought to pitch. This will cause
tuning problems galore, and is definitely a problem that should be addressed.
Depending on the nut material, you may want to lubricate the slots, especially
if a tremolo system is being used. Guitar Grease (part #3413) is ideal for
lubricating nut slots (and tremolo pivot posts and contact points).
The slot's width should be only a few thousandths wider than the gauge of
string that is to be fed through it. The proper width will ensure that the
strings don't rattle in the slot-a real tone and sustain killer. The slots
should also point to the tuner that the string is intended to wrap around.
Lastly, make sure that the slot slopes downward, toward the peghead. The
highest (or shallowest) part of the nut slots should be on the fingerboard side
of the nut. The peghead side of the nut slot is deeper to ensure proper
"string break" over the nut. Just as when you poorly fret a note on a
fingerboard (too far from the fret or with not enough downward pressure), an
improper nut slot will severely compromise tone, sustain, and overall
playability.
We sell gauged nut files that are perfect for slotting nuts. Refer to the
catalog and your string gauges to match up a set for your instrument. If you
don't want to invest in these tools, a pre-slotted GraphTech nut (#1866) is a
good solution. This nut will work well on all of our guitar necks, and the
GraphTech material has good tone and won't pinch or bind the strings. Before
you can take the slot depths down to their proper height, you must setup the
instrument. For now, rough-in the slots, but don't make them too deep.
Strap buttons, string trees, and other hardware
Use common sense when installing the other hardware on your electric
guitar. Always check for the correct size drill bit and carefully center punch
your hole locations before you drill.
Strap buttons should be located to securely hold the strap in the playing
position. The centerline of the attachment screw should be perpendicular to the
strap. The design of Fender-type instruments allows strap buttons to be
conveniently and easily located. Refer to pictures if you need exact locations
for certain vintage instruments.
Before installing a traditional Fender-style string tree, string the guitar.
This will help you determine the proper lateral location for the string trees.
Refer to pictures of guitars for the location of the trees on various models
and vintages.
Until sometime in the early Seventies, Fender used only one string tree on the
peghead (for the high E and B-strings). On Strats, this tree is located about
the same distance from the nut as the A-string tuner. Telecasters started with
the tree near the G-string tuner, but then moved toward the A-string in the mid
50s. If you are using a second string tree (for the G and D) it is generally
about 1/8" to 1/4" closer to the nut than the B and E tree. Why use a
string tree? It provides enough downward force on the string through the nut-all
in the name of tone and sustain.
The string retainer bar for Floyd Rose and other locking nuts is also
important. It must be located close enough to the nut and peghead to make the
strings follow the curvature of the bottom of the locking nut. If this is not
done, and the string locks on the nut are tightened, the strings will go sharp.
Look at the nut from the side and you will see the curvature that the string
must follow. Lower the retainer bar until the string conforms to the bottom of
the nut.
Wiring and electronics Wiring an electric guitar can be very simple, or it can get quite complicated dependent on the components used and the amount of custom wiring you wish to do. There are literally hundreds of ways to wire a somewhat traditional guitar depending upon the pickups, switches, and other components used. The player needs to determine what works. If you are unsure of the options you want, a trip to a few large music stores with a good variety of guitars is in order. This will allow you to test many different options, setups, and types of electric guitars and components to find what works for you.
|
When soldering, practice on scraps of wire and electronic tidbits. This will give you a "feel" for the soldering iron, its temperature, when a component gets too hot, how much solder is enough, etc. Soldering is 80% feel and technique, 20% materials and equipment. You don't need to spend tons of money on soldering equipment to successfully solder your guitar. The higher priced soldering pencils are designed for professionals who use them daily. An $8.00 Radio Shack 40-watt soldering pencil can do the job just fine. |
|
|
The more experienced and comfortable you are with your soldering pencil, the
better your wiring project will turn out. Below is a list of do's and don'ts.
They're designed to give you some insight into what can be one of the most
frustrating aspects of assembling an electric guitar.
Don't blow on a solder joint to cool it or make it harden faster. This can
cause air pockets within the solder joint that will corrode or come loose with
time (a "cold solder joint").
Always use rosin-core solder! Standard 60/40 rosin-core is the best. We like
the smaller diameters (.032" - .062") for guitar wiring.
Don't strip back too much of a wire's insulation-this can be the root of a
troubleshooting nightmare. Just expose enough wire for soldering. Too much
exposed wire can inadvertently come into contact with ground or other wires.
Potentiometers (or pots) used in guitar wiring are generally
"audio-taper." A pot will work as a volume or a tone control, since
the use of a capacitor makes a pot act as a tone control.
Generally, 500K-ohm pots are used with humbuckers and 250Ks are used with
single-coil pickups. You can use any value you like, but a 250K will have a
slightly warmer tone than a 500K pot. The 250K resistance between hot and ground
bleeds off (attenuates) more high frequencies to ground, even at full volume!
"Tin" the wire and connection before soldering them together. This
doesn't mean applying a huge glob of solder, but just a very thin pre-coating.
Always apply heat to the connection first. Then apply the solder and let it
flow over the joint. This also helps to ensure that you don't get a cold solder
joint.
When breaking-in a new soldering iron or tip, you must tin the tip. This is
done right away, as the tip gets hot enough to melt the solder for the first
time. Flow the solder over the contact surfaces of the tip and let it sit for
10 seconds or so. Wipe off the excess onto a water-soaked sponge and apply more
solder. Repeat this procedure a few times and your soldering tip will be
properly tinned.
Use a soldering iron stand (available at most electronic supply houses). A
soldering stand ensures the soldering iron has a home (so you know where to
find it and so you don't burn yourself, the guitar, your clothes, or your foot-you
get the idea!). It usually has a sponge for periodically cleaning old excess
solder off the tip.
Plan the wiring ahead of time, so you don't end up soldering beneath wires you
have already run.
Give yourself plenty of wire-enough to tidy the wires up and make the whole job
clean and neat. Any wires between the instrument and a pickguard or control
plate should be long enough for it to be removed for inspection without having
to unsolder the connection. A little forethought always goes a long way in
guitar wiring.
If you have more questions or interest in guitar wiring, a good book is Donald
Brosnac's Guitar Electronics for Musicians #0548. It's a great source
for learning the basics, wiring diagrams, pickup information, how volume and
tone circuits work, and more advanced information. If you use one of our wiring
outfits, specific wiring information is included to help you connect the
components.
A special note on pickup height adjustment: Pickups shouldn't be adjusted too
close to the strings. Generally for single-coils, there should be about an
1/8" gap between the top of the low E polepiece and the bottom of the low
E string fretted at the last (21st or 22nd) fret, and 3/32" for the high
E. Humbuckers can be adjusted closer (3/32" - 1/16"), since they
don't have as much focused magnetic pull as single-coils. Adjusting pickups any
closer (especially with single-coils) can cause false notes or
"wolf-tones." If you've ever played a Strat that seemed to produce
two notes from one string, usually the wound strings in the upper registers
(12th fret and up), you have witnessed this anomaly. It is most often referred
to as "Strat-itis" and can cause a lot of head-scratching unless you
know what is happening.
Shielding
Shielding eliminates virtually all unwanted interference and hum. All of
the shielding must be in contact with ground. There are several ways to apply a
ground to a shielding network. When using copper shielding foil, the ground
wire can be soldered directly to it. If your volume pot housing is in contact
with the foil, a ground jumper to the foil is not necessary. Shielding paint
#0029 is also good for shielding control cavities, pickup routs, and drilled
holes. The paint is very easy to apply in small tight areas, unlike
self-adhesive foils.
It's easy to apply ground to a painted cavity, or an aluminum adhesive foil in
a Strat-type guitar. Bring the paint or foil over the top of the body in the
area that would be under the pickguard and around the pickguard screw below the
bottom tone pot. The foil on the pickguard should surround this screw hole.
When the pickguard is screwed into place, the grounded foil on the pickguard
will come in contact with the cavity shielding paint. The same will work for a
Telecaster control plate/control cavity and a Stratocaster jack plate/jack
cavity.
Another method is the use of a solder lug screwed into the cavity's side wall.
Make the solder lug out of a scrap of brass and use a small wood screw to affix
it to the side wall. Just solder a wire from the volume pot's casing to this
lug for a good ground.
Set-up and intonation The setup of your
guitar is very subjective, and is often one of the main reasons for
constructing a guitar in the first place. Player preferences will dictate a lot
of how an instrument is setup as far as action, neck angle and straightness,
bridge and string height, and other factors. When setting up a guitar, you will
need to adjust the truss-rod to control the straightness of the neck. With
traditional Fender-type necks (heel-adjustable truss-rod), you may have to
remove the neck several times before you get it right. Setup can take several
hours in many cases. You will find that one adjustment will affect all of your
previous settings, and you will have to go back and reset many things. Don't
get discouraged! It's all part of the learning process, and once you have done
it a few times you will be able to access an instrument's setup much quicker.
Here is Fender's Ten Step setup outline. It allows them to quickly (from a
production stand-point) setup the guitars to make them playable and ready to
ship. Use this as an outline and fine tune the steps to your playing or setup
preferences.
Note
Fender uses a small wooden wedge (1" wide x 2" long, tapering from
1/4" to 1/2") to "block" the tremolo block when setting up
tremolo guitars. It removes the issue of dealing with the intricate
string-to-spring tension balance. It's probably worth the effort to have a
similar block of wood if you are setting up a tremolo guitar. This means that
the springs are not installed until the very last step.
String up the guitar with your desired gauge of strings.
"Block" the tremolo so that there is a 3/32" gap between the
back of the bridge and the top of the body.
Install capo at 1st fret.
Set neck relief.
Set string height.
Remove capo.
Set string height in the nut.
Adjust pickup height.

Play
guitar and check for buzzes-make adjustments if necessary.
Install 3 springs (5 if you want a heavier feel) and tighten the tremolo claw
screws until the wooden block drops out.
As with most setup operations, neck straightness should be checked in the
playing position. Use a straightedge and backlighting to show the gap between
the bottom of the straightedge and the tops of the frets. Measure the
"relief" (a slight bow in the neck) of the neck with feeler gauges.
We usually measure at the 7th or 9th fret and strive for something between
.004" and .012". Some necks will play with .000" relief,
depending on the player, the components, and the trueness of the frets.

Usually
some relief is required to eliminate excessive string rattle (the vibrating arc
of the string contacting the tops of the frets above the fretted note), and to
allow for sufficient sustain. Experiment with different measurements and see
what works for you. Remember that changes in string tension will affect the
neck's straightness. Be sure that the instrument is tuned close to pitch.
Once the neck is close to where you want it, you need to bring the string's
height into the picture. You may want to make these adjustments with the
strings capoed at the first fret. This will eliminate any input from the nut
slots. First, adjust the two E-strings height above the 12th fret by adjusting
the saddle height. Typical measurements are 3/64" - 4/64" for the
high "E" and 3/64" - 5/64" for the low E. Depending upon
your style, the "feel" you want, and other factors, find the
measurements that work for you. After you get the neck the way you want it and
the saddles roughed in, you will need to radius the saddles. Use
radius gauges (part #244, or make your own using the simple jig shown below and
stiff cardboard) to match the bridge saddles to the fretboard radius.
Now that the neck and saddles are adjusted, you are ready to finish the nut
slots. The slot depth is generally between .007" and .030" above the
first fret. Plain strings (high E, B, and G) are in the .007" - .012"
range and the wound strings (D, A, and low E) are generally around .013" -
.020". The actual height is up to you, the gauge of strings, and other
factors. Start a little high and bring them down lower as needed.
Once you complete your instrument setup, the intonation (the tempering of the
string length, gauge, and tension to the fret scale) must be set. New
instruments need time to completely
"settle-in," so you may have to recheck the intonation a couple of
times. Also, if you have changed string gauges (.009s to .010s, .010s to
custom-lights, etc.), tension of the tremolo springs, height of the bridge,
radical changes in tuning (i.e. drop-D, open-D, etc.) or anything else that
would affect the string lengths and/or the bridge's position, you should reset
the intonation.
Intonation is set by first tuning the instrument to the desired pitch (A-440,
down a half-step, drop "D", etc.) in the playing position. Once you
get the instrument in tune, and the bridge is set where you want it (i.e.
height of the strings above the body, sufficient tremolo up-pull, etc.),
compare the 12th fret harmonic and the 12th fret fretted note (we sometimes use
the 5th fret harmonic for the wound strings). If the fretted note is sharp, the
string must be lengthened (move the bridge saddle away from the neck). If the
note is flat, the string must be shortened (move the saddle closer to the
neck). Retune all the strings often to maintain the proper bridge position and
don't stop until all of the strings are perfectly in-tune when comparing the
harmonic to the fretted 12th note.
A high quality digital tuner or a strobe tuner is best for setting intonation.
Inexpensive tuners generally are not accurate enough to really nail the
intonation. Be sure to set the intonation with the guitar in the "playing
position," not flat on a table. Gravity will take its toll on the setup
and will cause inconsistencies or a false setup, especially with floating
tremolos and/or thin necks.
Intonating a "floating" tremolo like a Floyd Rose or a similar system
takes extra care. You must ensure that the plane of the bridge, relative to the
top of the instrument, is held constant. Remember that a floating tremolo is a
fine balance between string and tremolo spring tension. Any
deviations will cause the intonation to be compromised.
|