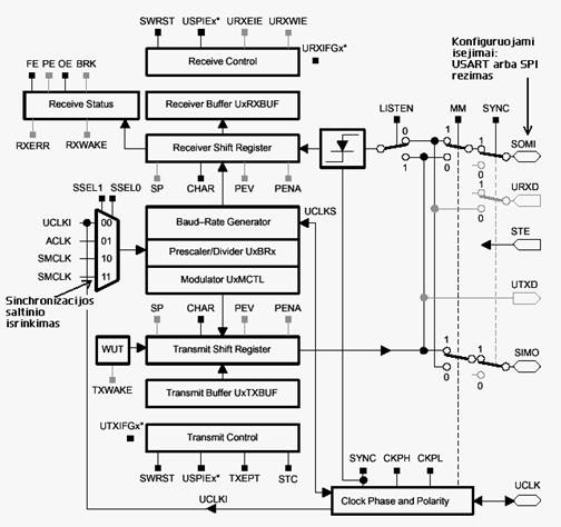
Si sąsaja gali būti konfigūruojama darbui dviejuose rėzimuose: 1) USART - universalus sinchroninis asinchroninis siųstuvas-imtuvas 24124g618y 2) SPI - nuosekli periferinė sąsaja. USART įrenginys pilnai suderinamas su RS232 protokolu. Funkcinio bloko dirbančio SPI rėzime blokinė schema pateikta 23 pav.
Norint paruosti sį įrenginį darbui reikia atlikti keletą pagrindinių zingsnių (kaip pavyzdys pateikiama konfigūracija darbui SPI rėzime):
Panaudojimo pavyzdys. SPI sąsaja gali būti naudojama duomenims nuskaityti is temperatūrinio daviklio AD7814. 10 bitų architektūros temperatūrinis daviklis skirtas matuoti temperatūrai diapazone nuo -55C iki +125C.

22 pav. Temperatūrinio daviklio konversijos inicializavimas ir duomenų nuskaitymas

23 pav. USART-SPI bloko funkcinė schema
Konvertavimas prasideda aktyvavus CS isvadą (zemas lygis). t1 - konvertavimo laikas ~25 μs. Vėliau SCLK isvade generuojama 16 impulsų seka tam, kad nuskaityti duomenų zodį. Duomenys isduodami pradedant 9 bitu, tik pirmi 10 bitų yra naudotini duomenys, likusieji neturi įtakos kadangi daviklis tik 10 bitų.
Keitiklis AD7814 sudarytas is keturių pagrindinių blokų:
Puslaidininkinis temperatūros daviklis;
10 bitų analogas - kodas keitiklis;
Keitiklio reiksmės saugojimo registras;
Nuoseklios sąsajos blokas.

24 pav. Temperatūros daviklio AD7814 blokinė schema
Daviklis palaiko dviejų tipų duomenų mainus su isoriniais įrenginiais:
25 pav. (A) naudojamos trys linijos;
25 pav. (B) naudojamos keturios linijos;

25 pav. Temperatūros daviklio jungimo su isoriniais įrenginiais būdai
|