Пристрої, елементи конструкції і клас 252j99c ифікація
Зварювальні випрямлячі є найпоширенішими джерелами живлення постійного струму, що мають значні переваги перед електромашинними перетворювачами. Вони мають більш високі зварювальні влас 252j99c тивості за рахунок підвищеної стабільності горіння дуги і зменшення розбризкувань електродного металу, високий ККД і менші втрати неробочого ходу, які особливо важливо для джерел, що працюють зі зниженими характеристиками ТН % або ТУ %. Випрямлячі мають широкі межі регулювання струму і напруги, можливість автоматизації та програмування зварювального процесу, характеризуються меншими масо-габаритними показниками і відсутністю масивних частин, що обертаються, високими санітарно-гігієнічними влас 252j99c тивостями через низький рівень шуму та вібрації, малою швидкістю повітряних потоків у зоні вентиляційних ґрат.
T VD L L
L L
VS
UZ VD1 VD2 L
VD VD VD VD
VD VD D D
VD VD VD VD
VD VD VD VD i
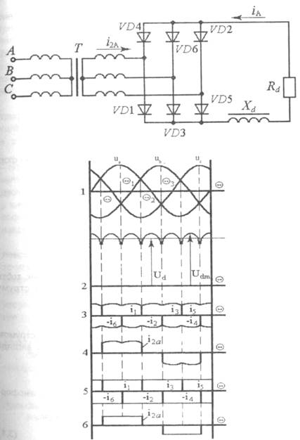
VD VD VD VD VD VD вторинних обмоток трансформатора (вісь 1), випрямленої напруги d i i a d d
VD VD
VD VD d d
де E
тому
крива
випрямленої
напруги
містить крім
постійної
складової вищі
гармоніки
кратні шести.
d
d d
Xd id Id
S
L
і, подані у вигляді суцільних і штрихових ліній (вісь 1). У кожній групі струм пропускає той вентиль, у якого в даний момент найбільша анодна напруга, наприклад, VD
VD VD
Крива
випрямленої
напруги d 
d для середнього, діючого і амплітудного значення анодного струму одержимо такі вирази (вісь 3):
|