Мет 858j91i 1072; лабораторної роботи:
Схема
досліду
Френеля
представлена
на рис.1:
і
–
двоє плоских
дзеркал. S
світла, яке
знаходиться
на відстані b O

S O
проводять
коло
радіусом
і
опускають з
точки S
перпендикуляр
на
продовження
прямої
: точка
перетину
продовження
цього перпендикуляра
з колом дає
зображення
джерела S A O S S
при повороті
першого
дзеркала
на
кут j,
оскільки
, то
лінійна
відстань між
оптичними
зображеннями
джерела
світла S S
дорівнює
.
Світло
від обох
зображень
і
падає
на екран MN a E MN S
Уявні
зображення
і
діють
як
когерентні
джерела,
оскільки
одержані
завдяки
поділу
одного і того
ж хвильового
фронту, який
виходить з
джерела S
, (1)
де
-
довжина
хвилі світла,
яке випромінює
джерело S
c
. (2)
j
.
S,
ширину якої
можна
регулювати.
Світло від ртутної
лампи
проектується
на щілину
лінзою L L S C

j
S
Зарядіть
касету
фотопластинкою
і вставте її
у рамку, яку
помістіть у
направляючі
пази на установці.
На рамці
нанесені
риски, а на
направляючій
приладу є
індекс, проти
якого треба
ставити ці
риски при
фотографуванні
інтерференційної
картини.
Відкривши
кришку касети,
зробіть
послідовно
чотири
фотографічні
знімки
інтерференційної
картини з
експозицією
5, 10, 15 хвилин для
зеленого
світлофільтра
(
) і 2, 4, 8, 12
хвилин для
синього
світлофільтра
(
). Після
завершення
кожної з
експозицій
фотопластинки,
світловий
пучок треба
перекривати
шторкою і
лише після
цього
змінювати
положення
касети.
a b
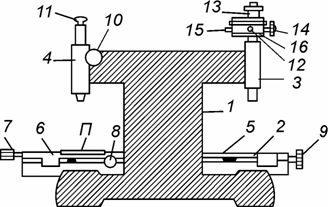
Горизонтальний
компаратор
ИЗА-2 є
оптичним
штриховим
приладом,
який
використовують
для
вимірювання
лінійних
розмірів у
межах від 0 до
.

Горизонтальний
столик, на
якому
розташований
предмет П, лінійні
розміри
якого
вимірюються,
є відполірованою
плитою, на
якій
встановлена
основна
шкала 5,
термометр,
планка 6, яка
переміщується
за допомогою
гвинта 7.
Столик може
переміщуватись
у межах від 0
до
при
відкрученому
гвинті 8 і у
межах
– за
допомогою
мікрометричного
гвинта 9.

Для
цього
встановлюють
нуль шкали за
спіральним
окулярним
мікрометром
мікроскопа 3:
обертаючи
маховичок 14
фіксують
нуль кругової
шкали (4) (рис.4)
проти
індексу (5)
основної шкали.
Після цього
відпускають
гвинт 16 і
гвинтом 15
рухають
найближчий
штрих
основної
шкали
(необов’язково
нульовий) у
напрямку до
нуля вертикальної
шкали (2)
підводячи
його так, щоб
він зайняв
симетричне
положення
між подвійним
витком
спіралі на
ділянці,
обмеженій
двома
вертикальними
червоними
штрихами. При
точній
установці
усіх шкал на
нуль штрих вертикальної
шкали (2) буде
служити ніби
продовженням
штриха
основної
шкали (1).
Затисніть
гвинт 16 і
здійсніть
відлік. При
здійсненні
відліків з
використанням
відлікового
мікроскопа «цілі»
міліметри
відлічують
проти того
штриха основної
міліметрової
шкали, який
підведений
до
найближчого
спірального
витка, десяті
долі
міліметра
відлічують
за шкалою (2) за
числом цілих
поділок, які
містяться
між нулем
шкали (2) і тим
штрихом основної
шкали (1), за
яким
відлічують «цілі»
міліметри, а
соті і
тисячні долі
міліметра –
за круговою
шкалою (4) (за
положенням
її вказівника,
тобто
стрілки (5)). На
око можна
оцінити
. Для
положення,
яке у якості
прикладу
наведене на
рис.3, відлік
відповідає
.
x на
фотопластинці
між тими
інтерференційними
смугами, що
досліджуються.
Ширину
інтерференційної
смуги визначають
за формулою
, де n x
За
формулою (3)
визначте кут
між
дзеркалами
Френеля і
виразіть його
у градусній
мірі. Для
розрахунку
кута
за
формулою (3)
використовують
середнє
значення
,
розраховане
за даними,
отриманими в
результаті
проведення
не менше ніж
5 вимірювань
відстані між
інтерференційними
смугами
,
виконаних з
використанням
горизонтального
компаратора
ИЗА-2.
|