Documente online.
Zona de administrare documente. Fisierele tale
Am uitat parola x Creaza cont nou
 HomeExploreaza
upload
Upload




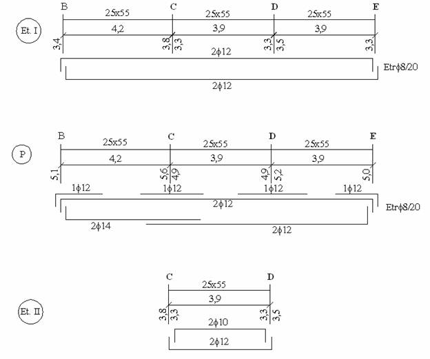
Armare rigle cadre

Arhitectura constructii


Armare rigle cadre

Cadru ax 1



Cadru ax 2

Cadru ax 3

Cadru ax 4

Cadru ax 5

Cadru ax 6

Cadru ax A

Cadru ax B

 
Dimensionarea la forta taietoare

 


Etr.

 



 

 


Etr.

 

 

 


Etr.

 

Stalpi

 
Armare constructiva

 

 




Document Info


Accesari: 2316
Apreciat: hand-up

Comenteaza documentul:

Nu esti inregistrat
Trebuie sa fii utilizator inregistrat pentru a putea comenta


Creaza cont nou

A fost util?

Daca documentul a fost util si crezi ca merita
sa adaugi un link catre el la tine in site


in pagina web a site-ului tau.




eCoduri.com - coduri postale, contabile, CAEN sau bancare

Politica de confidentialitate | Termenii si conditii de utilizare




Copyright © Contact (SCRIGROUP Int. 2025 )