M 8 - Elemente de constructii si lucrari publice
FUNDAŢII
A. NOŢIUNI GENERALE DESPRE FUNDAŢII
Fundatia este elementul de constructie care se afla în contact direct cu terenul bun de fundare si transmite acestuia toate încarcarile care actioneaza constructia.
Încarcarile trebuie astfel repartizate pe talpa fundatiei încât sa nu fie depasita capacitatea portanta a terenului, iar tasarile care rezulta sa fie cât mai uniforme si sa poata fi suportate de constructie fara urmari asupra acesteia.
Capacitatea portanta a terenului este presiunea maxima pe care o poate suporta terenul de fundare, fara a exista pericolul ruperii acestuia, sau al unor tasari care sa pericliteze constructia.
1. CLASIFICAREA FUNDAŢIILOR
Fundatiile pot fi clasificate dupa urmatoarele criterii:
- &n 434c24e bsp; &n 434c24e bsp; fundatii de suprafata ( de mica adâncime ) sau fundatii directe;
- &n 434c24e bsp; &n 434c24e bsp; fundatii de adâncime sau fundatii indirecte.
- &n 434c24e bsp; &n 434c24e bsp; fundatii executate deasupra nivelului apei freatice ( fundatii executate în uscat );
- &n 434c24e bsp; &n 434c24e bsp; fundatii executate sub nivelul apei freatice ( fundatii executate sub apa ).
- &n 434c24e bsp; &n 434c24e bsp; fundatii rigide ( din piatra naturala, caramida, beton simplu sau ciclopian );
- &n 434c24e bsp; &n 434c24e bsp; fundatii elastice ( din beton armat ).
- &n 434c24e bsp; &n 434c24e bsp; fundatii izolate
- &n 434c24e bsp; &n 434c24e bsp; fundatii continue sub ziduri sau sub stâlpi ( talpi continue )
- &n 434c24e bsp; &n 434c24e bsp; fundatii cu retele de grinzi ( talpi încrucisate )
- &n 434c24e bsp; &n 434c24e bsp; fundatii pe radier general - placa continua, placa cu grinzi.
- &n 434c24e bsp; &n 434c24e bsp; fundatii executate la fata locului, direct în groapa de fundatie ( monolite )
- &n 434c24e bsp; &n 434c24e bsp; fundatii prefabricate
2. ALEGEREA TIPULUI DE FUNDAŢIE
Alegerea tipului de fundatie se face pe baza unei analize tehnico-economice a structurii de rezistenta în ansamblu.
Tipul de fundatie, adâncimile de fundare, presiunile pe teren, materialele pentru fundatii se vor alege tinând seama de:
- &n 434c24e bsp; &n 434c24e bsp; conditiile climatice ( adâncimea de înghet, cantitatea de precipitatii etc. )
- &n 434c24e bsp; &n 434c24e bsp; conditiile de stabilitate generala a amplasamentului
- &n 434c24e bsp; &n 434c24e bsp; adâncimile, natura, grosimile si caracteristicile fizico-mecanice si chimice ale straturilor de pamânt de sub talpa fundatiei determinate cu ajutorul studiilor geotehnice
- &n 434c24e bsp; &n 434c24e bsp; conditiile hidrogeologice ale terenului ( ape subterane si de suprafata, proprietatile lor chimice, agresivitate, posibilitatea patrunderii acesteia la fundatii etc. )
- &n 434c24e bsp; &n 434c24e bsp; gradul de importanta al cladirii
- &n 434c24e bsp; &n 434c24e bsp; seismicitatea regiunii
- &n 434c24e bsp; &n 434c24e bsp; caracteristicile structurii de rezistenta a constructiei, existenta subsolurilor, densitatea si felul elementelor verticale portante ( pereti, stâlpi )
- &n 434c24e bsp; &n 434c24e bsp; marimea si uniformitatea în plan a încarcarilor transmise de constructie
3. STABILIREA COTEI DE FUNDARE
Una din problemele de baza ale proiectarii fundatiilor este stabilirea cotei de fundare. Aceasta se alege tinându-se seama de: cota minima de înghet, cota fundatiilor vecine, cota minima constructiva de fundare, cota apelor freatice, caracteristicile geotehnice etc.
Cota minima de înghet H i. Adâncimea de înghet este în functie de zona climatica si are valori cuprinse între 60..70 cm ( minime ) si 1,10.1,15 m ( maxime ); adâncimea de înghet se masoara de la cota terenului nivelat din jurul constructiei. Cota minima de fundare pentru talpa fundatiei se stabileste totdeauna cu 10.20 cm sub adâncimea minima de înghet pentru ca fundatia sa rezeme pe un strat de pamânt nedeformabil.
Cota fundatiilor vecine. La stabilirea cotei de fundare se face o corelare între cota noii fundatii si cotele eventualelor fundatii vecine, pentru a nu se produce perturbatii ale stabilitatii acestora.
Cota apelor freatice. Se urmareste ca aceasta cota sa ramâna sub cota de fundare, deoarece executia este dificila.
Caracteristicile geotehnice. Cercetarile geotehnice furnizeaza elemente cu privire la terenul de fundare si determina solutiile ce trebuie adoptate; acestea se refera la: caracteristicile geotehnice, presiuni admisibile, tasari etc.
Cota minima constructiva de fundare H. Aceasta se ia:
- &n 434c24e bsp; &n 434c24e bsp; pentru ziduri exterioare ( sau interioare reci ) între H i si H i + 20 cm, unde H i este adâncimea de înghet si în general nu mai putin de 80.90 cm pentru constructii definitive si 60..70 cm pentru constructii provizorii;
- &n 434c24e bsp; &n 434c24e bsp; pentru ziduri interioare în spatii calde si la constructii fara subsol H = 40.50 cm; la constructii cu subsol H = 40 cm, de la nivelul placii subsolului.
Talpile fundatiilor trebuie sa patrunda cel putin 20 cm în stratul de teren bun de fundare.
B. FUNDAŢII DIRECTE
Fundatiile directe sau de mica adâncime se folosesc când terenul bun de fundare se gaseste la adâncime mica fata de nivelul terenului natural si pot fi:
- &n 434c24e bsp; &n 434c24e bsp; fundatii rigide, continue sau izolate
- &n 434c24e bsp; &n 434c24e bsp; fundatii elastice, continue sau izolate
1. FUNDAŢII SUB ZIDURI ( PEREŢI )
1.1. Fundatii continue de beton simplu sub ziduri
Dupa forma sectiunii transversale fundatiile de beton simplu pot fi: dreptunghiulare, cu evazari si în trepte.
Latimea blocului de fundatie trebuie sa fie mai mare decât a zidului sau soclului cu 5.10 cm de fiecare parte. La rândul sau soclul ( când exista ), va fi mai mare cu cel putin 2,5 cm de fiecare parte a zidului, pentru a se putea aseza cofrajele pentru turnarea zidului (peretelui). Se poate considera ca valoarea minima constructiva pentru latimea fundatiei este:
B ≥ b0 + ( 10..20 ) cm
În care b0 este grosimea zidului ( peretelui ) care reazema pe fundatie.
Fundatiile cu sectiune dreptunghiulara se executa de regula când latimea talpii de fundatie nu depaseste 1,00 m.
Se folosesc când latimea talpii fundatiei rezulta mai mare decât latimea zidului cu 25.35 cm de fiecare parte a acestuia, iar terenul are coeziune suficienta pentru executarea evazarilor în peretii sapaturii. La executarea acestor fundatii se vor respecta urmatoarele reguli:
- &n 434c24e bsp; &n 434c24e bsp; latimea evazarii sa fie cel mult 15 cm
- &n 434c24e bsp; &n 434c24e bsp; panta evazarii sa fie de circa 4 / 1
- &n 434c24e bsp; &n 434c24e bsp; cofrarea sa se execute cu putin timp înainte de turnarea betonului
Se folosesc când talpa fundatiei rezulta mai lata cu 35.40 cm de fiecare parte a zidului. Treptele trebuie sa aiba înaltimea de cel puti 40 cm, iar tg α valori cuprinse între 1,1 si 1,8 în functie de presiunea maxima pe teren si de marca betonului din care se realizeaza fundatia. Spatiul dintre peretele sapaturii si fundatie se umple cu pamânt bine compactat cu maiul în straturi de 20 cm.

Fig. 1 Fundatii continue de beton simplu sub ziduri
1 - bloc fundatie; 2 - perete ( zid ); 3 - placa suport a pardoselii; 4 - strat de rupere a capilaritatii; 5 - teren natural; 6 - hidroizolatie; 7 - fundatie în trepte; 8 - umplutura de pamânt.
În fig. 2 se indica alcatuirea fundatiilor pentru zidul exterior si interior la o constructie fara subsol.

Fig. 2 Fundatii la constructii fara subsol
a - la zid exterior; b - la zid interior;
1 - perete ( zid ); 2 - bloc de fundatie; 3 - hidroizolatie; 4 - placa suport pardoseala; 5 - strat de rupere a capilaritatii; 6 - teren natural; 7 - soclu de beton; 8 - umplutura; 9 - trotuar; 10 - dop de bitum; 11 - protectia soclului de tencuiala hidrofuga;12 - nisip.
La constructiile cu subsol fundatiile zidurilor exterioare se alcatuiesc ca în figura 3.

Fig. 3 Fundatii continue rigide sub ziduri la constructii cu subsol
a - la zid exterior; b - la zid interior
1 - zidarie ( perete ); 2 - fundatie; 3 - hidroizolatie; 4 - placa suport pardoseala; 5 - strat pentru ruperea capilaritatii; 6 - teren natural; 7 - zidarie de protectie a hidroizolatiei; 8 - trotuar; 9 - nisip.
1.2. Fundatii continue din beton armat sub ziduri ( elastice )
În figura 4 sunt prezentate fundatii continue elastice sub ziduri. La latimi mici, fundatiile continue elastice sub ziduri se prevad cu sectiune dreptunghiulara, iar la latimi mai mari se proiecteaza fundatii continue elastice cu pante sau tesite, sau sub forma de grinda.
Fundatia se toarna pe un strat de beton de egalizare ( B 25 ) de 5.10 cm grosime. Talpa fundatiei se armeaza la partea inferioara cu armatura de rezistenta, alcatuita din bare drepte din otel - beton cu diametrul minim de 10 mm, asezate sa 10.25 cm, dispuse transversal si cu armatura de repartitie prevazuta în sens longitudinal, alcatuita din Ř 6 / 25 cm. Armatura înclinata se prevede numai daca rezulta din calculul de dimensionare si are diametrul minim de 12 mm.

a ) b ) c )
Fig. 4 Fundatii continue elastice sub ziduri
a - cu sectiune dreptunghiulara; b - cu pante; c - sub forma de grinda;
1 - zidarie ( perete ); 2 - fundatie; 3 - beton de egalizare 5.10 cm.
1.3. Fundatii sub ziduri despartitoare.
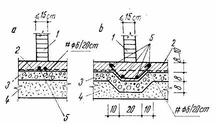
Fundatia se realizeaza direct de catre placa - suport a pardoselii parterului sau subsolului si se executa numai sub ziduri despartitoare, neportante, de cel mult 15 cm grosime si de înaltimea unui nivel. Se pot întâlni urmatoarele situatii:
- &n 434c24e bsp; &n 434c24e bsp; placa de pardoseala este asezata pe teren sanatos. În acest caz placa se executa din beton simplu de 8.10 cm grosime, iar zidul despartitor se aseaza direct pe placa. Daca sub placa se gasesc conducte de instalatii îngropate, placa se armeaza cu o retea Ř 6 / 20 cm si se executa din beton B 100.
- &n 434c24e bsp; &n 434c24e bsp; placa de pardoseala este asezata pe umplutura, acesta fiind cazul cel mai frecvent întâlnit în executie. Placa se executa din beton B 100 cu grosimea de 8.10 cm si se armeaza cu o retea Ř 6 / 20 cm. Daca umplutura nu depaseste 40 cm grosime, în placa, în lungul zidului se prevede o armatura suplimentara 2 Ř 8 ( 10 ) mm (fig. 5a). Daca umplutura este mai mare de 40 cm grosime se prevede o îngrosare a placii de-a lungul zidului care se va arma cu bare longitudinale 4 Ř 8 ( 10 ) mm si etrieri deschisi Ř 6 / 20.25 cm ( fig. 5b ).

Fig. 5 Fundatii sub ziduri despartitoare
a - cu grosimea umpluturii mai mica de 40 cm; b - cu grosimea umpluturii mai mare de 40 cm:
1 - zid despartitor; 2 - placa suport a pardoselii; 3 - pietris; 4 - umplutura; 5 - armatura suplimentara.
2. FUNDAŢII SUB STÂLPI
2.1. Fundatii izolate sub stâlpi
Fundatiile izolate sub stâlpi sunt de doua tipuri: fundatii cu bloc de beton simplu si cuzinet de beton armat; fundatii cu talpa din beton armat.

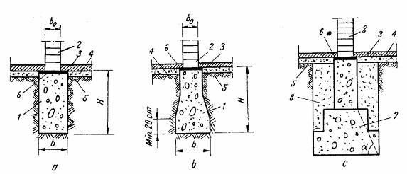
Fig. 6 Fundatii izolate sub stâlpi, cu bloc si cuzinet
1 - stâlp; 2 - cuzinet; 3 - bloc de fundatie

Fig. 7 Fundatii sub stâlpi, cu talpa de beton armat
a - prismatica; b - prismatica cu fata tesita ( obelisc )
1 - stâlp; 2 - fundatie elastica; 3 - beton de egalizare
2.2. Fundatii continue sub stâlpi
Din cauza naturii terenului si a încarcarilor importante, uneori suprafetele fundatiilor izolate devin foarte mari; în acest caz se adopta solutia de fundatii cu grinda continua ( fig. 8 ).

Fig. 8 Fundatie cu grinda ( talpa ) continua
1 - stâlp; 2 - talpa cu vute; 3 - talpa fara vute
Daca încarcarile sunt mari si terenul de fundare este slab se adopta solutia de fundatii cu talpi continue încrucisate ( fig. 9 ).

Fig. 9 Fundatie cu talpi continue încrucisate
1 - stâlpi; 2 - talpi de beton armat
Daca talpile încrucisate ajung la dimensiuni mari, din cauza presiunii terenului, apropiindu-se prea mult între ele, constructia se fundeaza pe un radier general ( fig. 10 ).

Fig. 10 Radier cu placa dreapta
1 - stâlpi; 2 - placa; 3 - beton de egalizare
2.3. Fundatii prefabricate ( fig. 11 )
Forma cea mai utilizata este fundatia tip pahar folosita ca un bloc de forma speciala, care este prevazut cu un locas în care se monteaza stâlpul de beton armat. Locasul va fi cu cel putin 10 cm mai mare decât stâlpul; dupa asezarea stâlpului se umple cu beton monolit. Sub fundatia - pahar se prevede un strat de beton de egalizare având grosimea de 5.10 cm.

Fig. 11 Fundatii pahar
a - sectiune verticala; b - sectiune orizontala
1 - peretele paharului; 2 - stâlp; 3 - beton de monolitizare; 4 - beton de egalizare.
C. FUNDAŢII INDIRECTE
Aceste fundatii se folosesc când terenul bun de fundare se gaseste la adâncimi de peste 6 m, când nivelul apelor subterane este ridicat si fundarea directa devine neeconomica sau chiar necorespunzator din punct de vedere tehnic.
Fundatiile indirecte se executa cu scopul de a transmite încarcarile constructiei la straturile mai adânci ale pamântului ( pot ajunge la 30.40 m adâncime ) strapungându-se cele neconsistente si care nu pot prelua încarcarile date de constructie.
Fundatiile indirecte sunt:
- &n 434c24e bsp; &n 434c24e bsp; piloti prefabricati
- &n 434c24e bsp; &n 434c24e bsp; piloti executati direct în opera ( piloti forati, piloti cu tub metalic de protectie pierdut, piloti executati cu tub metalic de protectie recuperabil )
- &n 434c24e bsp; &n 434c24e bsp; fundatii pe chesoane deschise
- &n 434c24e bsp; &n 434c24e bsp; fundatii pe chesoane cu aer comprimat
|