Predimensionarea vanei segment
Date de calcul:
|
Locul instalarii |
Priza energetica Lac redresor Sebes |
|
Deschiderea in lumina |
4,0 m |
|
Inaltimea in lumina |
4,0 m |
|
Tipul echipamentului |
Vana segment cu actionare hidraulica |
|
Numarul de bucati pe amenajare |
3 buc. |
|
Sarcina de calcul |
16,0 mca |
|
Paletajul |
amonte |
|
Etansarea |
Spre amonte cu garnitura P 60 pe ghidajele laterale si frontal Garnitura tip I pe pragul inferior |
|
Actionare |
Cu servomotor |
|
Manevrare |
Deschidere - sub sarcina Inchidere - in curent |
|
Numarul de prinderi |
1 la mijloc |
Nivel static caracteristic in lacul de acumulare:
|
Nivel normal de retentie |
273,00mdM |
|
Cota etansare prag inferior |
256,75mdM |
|
Cota etansare prag superior |
260,75mdM |
|
Cota coronamentului |
275,00mdM |
|
Cota ax articulatie |
259,05mdM |

5.1 Fortele care actioneaza asupra vanei segment
Greutatea vanei segment
In faza initiala se evalueaza cu formule empirice, dintre care de retinut este relatia (4.1) a lui Berezinski , pentru greutatea partii mobile:
(kN) , in care A este
aria deschiderii obturate de vana, in m
.
Avand ca date initiale :
L
= 4 m ;H
=4 m vom calcula H si
L, corectand valoarea H
si L
H=(1,02÷1,05)H
, L=(1,15÷1,3)L
S-a ales H=1,04H
= 4,148 m si L=1,17L
= 4,686 m.
A=L
H= 4,686*4,148= 19,43753
(m
)
G=0,15
![]()
=6,12 (tf)=61,2(kN).


Presiunea hidrostatica (Fp)
Forta de presiunehidrostatica Fp este data de
rezultanta dintre componenta orizontala F
si cea verticala Fv:
F![]()
= ρ
(kN)
F
=![]()
Forta Fv este egala cu volumul de apa dislocuit:
Fv=![]()
Forta de presiune hidrostatica se
calculeaza cu formula : F![]()
![]()
si avem:
F
=2662 kN
Forta de presiune uniform distribuita pe vana:
Momentul de incovoiere total:
M![]()
![]()
Momentul de rezistenta la incovoiere necesar vanei:
unde:
rezistenta admisibila la incovoiere (N/mm![]()
Material utilizat S 235 JO G2 ,otel carbon cu urmatoarele caracteristi 727h71h ci mecanice:
rezistenta la tractiune;
rezistenta la curgere;
rezistenta la rupere;
S-a ales :
;
;
.
![]()
In acesta situatie , W
calculat este :
=9995 (cm![]()
)
5.3.Alcatuirea constructiva si calculul elementelor de rezistenta ale vanei:
5.3.1 Calculul montantilor
In functie de marimea solicitarilor exterioare , montantii se pot executa din profile laminate:(la incarcari mici ) ,sub forma de diafragme sau grinzi cu zabrele.
Pentru
calculul montantilor se determina ordonatele presiunii apei p
,p
,p
. . .din dreptul nodurilor montantului si aproximand curba de
variasie a presiunii hidrostatice cu o linie franta, se calculeza incarcarile
,
,
. . . . si pozitiile lor fata de nodurile montantului z
,z
. . . . cu relatii de tipul:
![]()
(kN/m)
(m)
S-a impartit H in 12 parti
egale h
=![]()
Se
calculeaza ![]()
116,34 (kN/m
)
119,73 (kN/m
)
123,12 (kN/m
)
126,51 (kN/m
)
129,9 (kN/m
)
133,3 (kN/m
)
136,69 (kN/m
)
140,08 (kN/m
)
143,47 (kN/m
)
146,86 (kN/m
)
150,25(kN/m
)
153,64 (kN/m
)
156,96 (kN/m
)
Din desen, masuram pe conturul stavilei lungimile celor 12 arce obtinute:
0,3505 m
0,3359 m
0,3441 m
0,3386 m
0,3391 m
0,3428 m
0,3364 m
0,3488 m
0,3349 m
0,3566 m
0,3350 m
0,3669 m
Calculul incarcarilor
![]()
![]()
![]()
![]()
![]()
![]()
![]()
![]()
![]()
![]()
![]()
![]()
Calculul centrelor de greutate ale suprafetelor
Pentru determinarea centrelor de greutate ale suprafetelor considerate, vom reduce forma geometrica a acestor suprafete la trapeze isoscele.Astfel, coordonata x a centrului de greutate va fi la jumatatea bazei mari, urmand sa determinam coordonata y :

![]()
y
=0,172029 m y
= 0,172127m
y
= 0,172051 m y
= 0,172144m
y
= 0,172071m y
= 0,17216m
y
= 0,172091m y
= 0,172176m
y
= 0,17211m y
= 0,172191m
y
= 0,172219m
Pozitia
incarcarilor fata de nodurile montantului (z
)
Pentru determinarea pozitiei incarcarilor, vom aproxima suprafetele cu trapeze isoscele, iar incarcarea se aplica in centrul de greutate.B si b reprezinta baza mare, respectiv baza mica a trapezului isoscel.
![]()
![]()
![]()
![]()
![]()
![]()
![]()
![]()
![]()
![]()
![]()
![]()
Calculul fortelor ce actioneaza in nodurile montantilor:
![]()
![]()
![]()
![]()
![]()
![]()
In continuare s-a trasat holograful presiunilor , adica s-au insumat fortele de presiune, iar rezultanta R s-a impartit in doua parti egale, pentru a distribui forta in mod egal pe cele doua grinzi principale pe care urmeaza sa le determinam.S-au dus apoi paralele prin centrul de curbura O la cele doua forte si s-a obtinut pozitia de amplasare a celor doua grinzi principale.

Scara : lungimi 1:100
presiuni 1mm1kN/m![]()
5.4.Dispunerea montantilor
Pentru inceput s-au pozitionat lonjeronii intermrdiari ai vanei.
Astfel s-a folosit relatia pentru distanta dintre doi loneroni succesivi:
![]()
tinand in acelasi timp seama si de incarcarile ce trebuie pastrate egale pe fiecare lonjeron.
In acest scop , s-a ales un numar N de 7 lonjeroni.
![]()
![]()
![]()
![]()
![]()
![]()
![]()
![]()
![]()
Deoarece pozitia celui de-al 2-lea si al 4-lea lonjeron intermediar se confunda cu cea a grinzilor principale, o vom ignora in continuare, modificand in acelasi timp pozitia urmatoarei grinzi, astfel incat sa obtinem o distributie cat mai uniforma a eforturilor.Cu aceste considerente, avem:
→ ![]()
→
→
→
→
→
→
→
→![]()
Presiunea medie pe fiecare camp pe verticala
![]()
![]()
![]()
![]()
![]()
![]()
![]()
![]()
![]()
![]()
Sarcina uniform distribuita pe fiecare camp pe verticala:
Se calculeaza sarcina uniform distribuita (q
) pe fiecare camp de pe verticala dintre 2 lonjeroni
succesivi:
![]()
![]()
![]()
![]()
![]()
![]()
![]()
![]()
Momentul de incovoiere pe lonjeron:
![]()
![]()
![]()
]
![]()
![]()
![]()
![]()
![]()

Dispunerea montantilor
Determinarea numarului de montanti
Se determina numarul de montanti astfel incat
NM=
=
, Am ales b=2,343 m
1 montant intermediar
amplasat la jumatate si doi montanti de capat.
5.5.Predimensionatea tolei metalice
Tola metalica este supusa la
compresiune si intindere si in functie de raportul
aceasta poate fi
rezemata pe doua laturi sau pe contur.
Daca:
tola se considera
incastrata pe 2 laturi si
(mm)
Daca:
tola se considera
incastrata pe contur si
(mm) ;
0,75
![]()

Tabel centralizator:
|
Nr. |
Pi |
ai |
qi |
Mi |
mi |
δi |
δales |
|
crt. |
[N/m2] |
[m] |
[N/m] |
[Nm] |
[m] |
[mm] |
[mm] |
|
- |
- |
- |
|||||
|
- |
Din cauza fenomenului de coroziune, se recomanda pentru constructiile hidrotehnice o grosime minima a tolei de 6 mm.
Pentru a se usura contructia vanei s-a ales o grosime constanta a tolei de 10 mm.
Masa tolei pentru intreaga vana este:
M![]()
![]()
![]()
M![]()
![]()
→ M![]()
.
5.6.Dimensionarea lonjeronilor secundari (LS) , lonjeronilor de capat(LC) si a lonjeronilor de fund (LF)

Deoarece montantii nu se sprijina pe grinzile principale, dimensionarea lonjeronilor secundari, de capat si de fund se face diferit fata de dimensionarea grinzilor principale.
Marimi echivalente, a
,
![]()
![]()
![]()
![]()
![]()
![]()
![]()
Presiuni pe lonjeroni:
![]()
![]()
![]()
![]()
![]()
Incarcarea pe fiecare lonjeron:





5.6.1.Momente pe reazeme:
![]()
![]()
Pentru
LC: ![]()
![]()
Pentru
LS
: ![]()
![]()
Pentru
LS
: ![]()
![]()
Pentru
LS
: ![]()
![]()
Pentru
LS
: ![]()
![]()
Pentru
LS
: ![]()
![]()
Pentru
LF: ![]()
![]()
5.6.2.Reactiuni pe reazeme:
, ![]()
![]()
![]()
Pentru
LC: ![]()
![]()
![]()
Pentru
LS
: ![]()
![]()
![]()
Pentru
LS
: ![]()
![]()
![]()
Pentru
LS
: ![]()
![]()
![]()
Pentru
LS
: ![]()
![]()
![]()
Pentru
LS
: ![]()
![]()
![]()
Pentru
LF: ![]()
![]()
![]()
5.6.3.Momente de incovoiere:

![]()
![]()
![]()
Pentru
LC: 
![]()
Pentru
LS
: 
![]()
Pentru
LS
: 
![]()
Pentru
LS
: 
![]()
Pentru
LS
: 
![]()
Pentru
LS
: 
![]()
Pentru
LF: 
![]()
Determinam
pentru LC, LS1, LS2,
LS3, LS4, LS5, LF.
Cu
calculam ![]()
![]()
Din
STAS 565-80 se citesc : tipul profilului, masa pe metru liniar
si se calculeaza masa lonjeronilor.
Toate aceste date calculate s-au trecut in urmatorul tabel:
Tabel centralizator:
|
marime |
U.M |
LC |
LS1 |
LS2 |
LS3 |
LS4 |
LS5 |
LF |
|
a* |
[m] | |||||||
|
p |
[Pa] | |||||||
|
S |
[N] | |||||||
|
M1 |
[Nm] | |||||||
|
M2 |
[Nm] | |||||||
|
M3 |
[Nm] | |||||||
|
V0 |
[N] | |||||||
|
V1 |
[N] | |||||||
|
V2 |
[N] | |||||||
|
V3 |
[N] | |||||||
|
M0 |
[Nm] | |||||||
|
Mi1-2 |
[Nm] | |||||||
|
Mi2-3 |
[Nm] | |||||||
|
Wnec |
cm3 | |||||||
|
Profil |
I 20 |
I 24 |
I 20 |
I 14 |
I 18 |
I 8 |
I 16 |
|
|
ml |
[kg/m] | |||||||
|
M |
[kg] |
Masa insumata a celor 7 lonjeroni este :
M= 698 (kg)
5.7.Dimensionarea montantilor de capat

Forte pe montanti
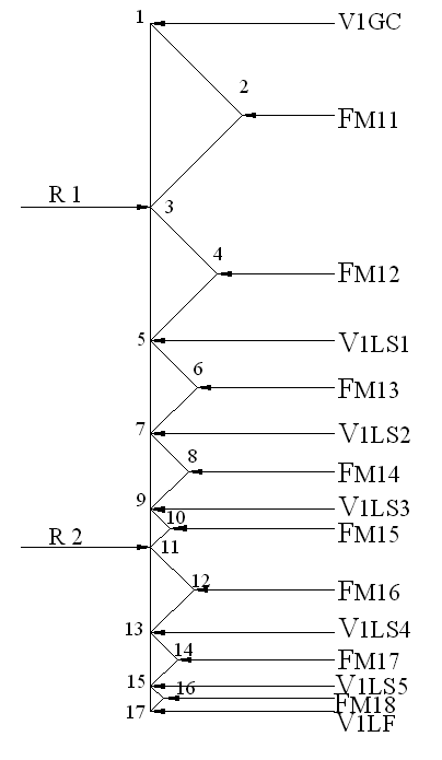
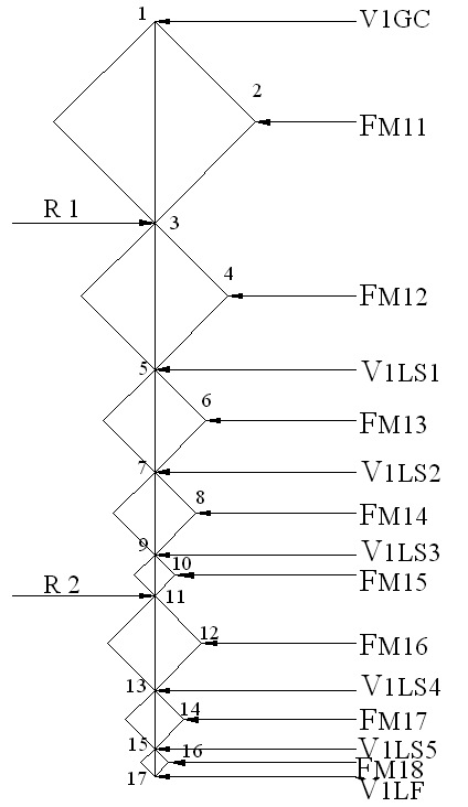
Se considera ca lonjeronii secundari sunt rezemati pe montantii de capat si se noteaza punctele in care sunt aplicate fortele rezultate ca reactiuni din actiunea grinzilor orizontale.
Presiunile ce actioneaza pe montanti:
![]()
![]()
![]()
![]()
![]()
![]()
![]()
![]()
![]()
Presiunile medii pe intervale:
![]()
![]()
![]()
![]()
![]()
![]()
![]()
Forte pe intervale:
![]()
![]()
![]()
![]()
![]()
![]()
![]()
![]()
Reactiunea care apare in reazem:
Deoarece vana are doua grinzi principale, reactiunea totala are doua componente.
Astfel, pentru determinarea reactiunii este nevoie de doua ecuatii: ecuatia momentelor si echilibrul fortelor.
1) ![]()
2) ![]()
Din
1)![]()
![]()
Din
2)![]()
![]()
![]()
![]()
Calculul momentelor incovoietoare pe montantii de capat:
- reazem de capat neincarcat
![]()
![]()

![]()
![]()
![]()
![]()
![]()
![]()
![]()
![]()
![]()
![]()
![]()
![]()
Cu datele obtinute anterior se va trasa diagrama fortelor si momentelor pentru montantii de capat.
Diagrama fortelor si momentelor pentru MC

Se obtine momentul de incovoiere maxim,
.Cu acesta s-a calculat modulul de rezistenta la incovoiere
necesar, s-a ales profilul corespunzator montantilor de capat, si s-a calculat
masa ![]()
![]()
S-a ales profilul I 30, pentru care ![]()
![]()
Avand 2 montanti de capat, masa lor totala este:
![]()
5.8.Dimensionarea montantului intermediar
Dimensionarea montantului intermediar se face in mod asemanator.Se vor folosi aceleasi presiuni in noduri si aceleasi presiuni medii pe intervale ca la dimensionarea montantilor de capat.Diferenta va fi data de valorile fortelor ce actioneaza pe montant.

Forte pe intervale:
![]()
![]()
![]()
![]()
![]()
![]()
![]()
![]()
Reactiunea care apare in reazem:
1) ![]()
2) ![]()
Din
1)![]()
![]()
Din
2)![]()
![]()
![]()
![]()
Calculul momentelor incovoietoare pe montantul intermediar:
- reazem de capat neincarcat
![]()
![]()
![]()
![]()
![]()
![]()
![]()
![]()
![]()
Cu datele obtinute anterior se va trasa diagrama fortelor si momentelor pentru montantul intermediar.
Diagrama fortelor si momentelor pentru MI

Se obtine momentul de incovoiere maxim,
.Cu acesta s-a calculat modulul de rezistenta la incovoiere
necesar, s-a ales profilul corespunzator montantului intermrdiar, si s-a
calculat masa ![]()
![]()
S-a ales profilul I 40, pentru care ![]()
![]()
Avand un singur montant intermediar, masa acestuia este:
![]()
5.9.Dimensionarea grinzilor principale

Forte pe grinda principala 1
Modul de incarcare a grinzilor principale este prezentat in figura de mai sus.
Grinda principala se sprijina pe montantii de capat.Se calculeaza reactiunile la capetele grinzii principale in punctele de sprijin ale acesteia pe montanti din ecuatia de momente si ecuatia de echilibru a fortelor.
a) Pentru prima grinda principala avem urmatoarele relatii:
![]()
![]()
![]()
![]()
![]()
, unde
reprezinta ariile celor doua triunghiuri dreptunghice, iar
presiunile pe grinda.
![]()
![]()
![]()
![]()
In continuare s-au calculat reactiunile de la capetele grinzilor principale din ecuatia de echilibru a fortelor:
![]()
Din
ecuatia de momente ![]()
![]()
![]()
![]()
Diagrama fortelor si momentelor pentru GP1

Se obtine momentul de incovoiere maxim:
![]()
Cu acesta se calculeaza modulul de rezistenta la incovoiere necesar, se alege profilul I corespunzator grinzii principale si se calculeaza masa grinzii:
![]()
![]()
![]()
Deoarece
depaseste cea mai mare valoare I
din S.T.A.S. 565-80, este nevoie sa se traseze curbele f
(h,W
) si f
(h,m
).Se vor obtine ecuatiile celor doua functii si se va calcula
masa primei grinzi principale.
Pentru
obtinut din graficul de mai jos rezulta masa:
M![]()
Profilul grizilor principale s-a ales din ANEXA 1.
b) Pentru cea de-a doua grinda principala se procedeaza in mod asemanator :

![]()
![]()
![]()
, unde
reprezinta ariile celor doua triunghiuri dreptunghice, iar
presiunile pe grinda.
![]()
![]()
![]()
![]()
In continuare s-au calculat reactiunile de la capetele grinzilor principale din ecuatia de echilibru a fortelor:
![]()
Din
ecuatia de momente ![]()
![]()
![]()
![]()
Diagrama fortelor si momentelor pentru GP2


Se obtine momentul de incovoiere maxim:
![]()
Cu acesta se calculeaza modulul de rezistenta la incovoiere necesar, se alege profilul I corespunzator grinzii principale si se calculeaza masa grinzii:
![]()
![]()
![]()
Din S.T.A.S. 565-80 s-a ales
profilul I 40 pentru care
.
M![]()
5.10.Verificare
Ca verificare, s-a calculat masa totala a vanei si s-a comparat cu cea predeterminata initial cu relatia lui Berezinski.
![]()
![]()
|