Experiment
Determinarea coeficientului de frecare la alunecare folosind teorema de variatie a energiei mecanice a unui corp
1.Principiul lucrarii:
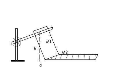
Se lasa liber un corp de masa "m" pe un plan inclinat , de unghi "a", miscarea pe plan fiind cu frecare ( M1).
Miscarea pe planul inclinat AB este uniform accelerate , iar pe portiunea BC, pe orizontala ,miscarea este uniform incetinita , cu frecare ( M2).Corpul va merge pe 19519c211t orizontala pana la oprire.
Legea de variatie a energiei mecanice este:

Legea de variatie a energiei mecanice este:
(1)
![]()
![]()
(2)
Pe
planul orizontal:
(3)

(4)
Din Ab= l => BO=d= lcos2
Din (2) si (4) prin adunare , rezulta:

(6)
h=M1 d+ M2 S (7)
Daca corpul este lasat liber pe plan de la alta inaltime , caruia ii corespunde pe orizontala d' si S' =>
Hh'= M1 d' + M2 S' (8)
Din ecuatiile (7) si (8) , se pot determina coeficientii de frecare M1 si M2.


2.Materiale si dispozitive necesare:
Corpuri de mase 59 , 109 ( banuti crestati)
Scandura subtire de lemn sau metal
Hartie milimetrica de latimea scandurii si de aproximativ 60cm lungime.
Suport cu tija orizontala pentru reglarea inaltimii

3. Modul de lucru
Se masoara h si d , se lasa corpul din varful scandurii si se lasa sa se opreasca. Se noteaza punctul unde se opreste centul masei marcate , crestate , pe hartia milimetrica fixate pe masa.Se fac 10 masurari si se ia media valorilor lui S masurat pe hartia milimetrica .Se iar datele : h, s, d , s'.
4.Tabel cu rezultate
|
Nr. Crt. |
h(cm) |
l(cm) |
d(cm) |
s (cm) |
|
1 |
48,5 |
| ||
|
2 |
48,5 | |||
|
3 |
48,5 | |||
|
4 |
48,5 | |||
|
5 |
48,5 | |||
|
6 |
48,5 | |||
|
7 |
48,5 | |||
|
8 |
48,5 | |||
|
9 |
48,5 |
Se obtin : M1= 0,397 si M2= 0,731
|