Lucrare
Determinarea rezistentei la soc si la indoire a diferitelor materiale
1. Generalitati
A. Aceasta lucrare se refera la metoda de determinare la soc Charpy a materialelor plastice rigide. Metoda este destinata aprecierii tenacitatii sau fragilitatii epruvetelor in limitele stabilite de conditiile de incercare.
Metoda de determinare la soc Charpy se aplica in principal urmatoarelor materiale :
materiale termoplasice rigide, cu sau fara umplutura destinate prelucrarii prin injectie sau extrudare si placi din aceste materiale ;
materiale de formare termorigide, cu sau fara umplutura, placi si stratificate din aceste materiale;
materiale plastice compozite armate cu fibra de sticla preimpregnate.
B. Lucrarea se refera la rezistenta la lovire a peliculelor de lac, de email sau vopsea. Incercarile se executa pe epruvete la care s-au aplicat diferite sisteme de vopsire.
C. Determinarile d 727f56h e la acest punct pun in evidenta comportarea diferitelor materiale, sub forma de tole si benzi, la incercarea de indoire alternanta si dependenta valorilor masurate de conditiile de incercare si de materialul din care sunt confectionate tolele si benzile.
2. Chestiuni de studiat. Definitii
A.2.1. Rezistenta la soc Charpy pe epruveta fara crestatura (an) reprezinta raportul dintre energia consumata pentru ruperea prin soc a epruvetei fara crestatura si aria sectiunii transversale drepte initiale a epruvetei si se exprima, in [kJ/m2].
A.2.2. Rezistenta la soc Charpy pe epruveta cu crestatura (ak), este raportul dintre energia consumata pentru ruperea prin soc a epruvetei cu crestatura si aria sectiunii transversale drepte initiale a epruvetei in dreptul crestaturii si se exprima, in [kJ/m2].
A.2.3. Rezistenta relativa la soc Charpy este raportul dintre rezistenta la soc pe epruveta cu crestatura si rezistenta la soc pe epruvete fara crestatura sau raportul rezistentelor la soc pe epruvetele cu crestatura diferita, si se exprima in procente.
B.2. Rezistenta la lovire se exprima prin inaltimea minima, in [cm], de la care o anumita masa prin cadere libera asupra peliculei, provoaca aparitia primelor semne de deteriorare (fisuri, exfolieri etc.).
C.2. Rezistenta la indoire alternanta este data prin numarul de dublu indoiri la 900, in sensuri opuse, a unei epruvete fixata la un capat, in jurul unor suporturi cilindrice cu raza determinata.
Incercarile la indoire alternanta se efectueaza la tolele laminate la cald, cu cristale neorientate, si la tolele texturate (laminate la rece cu cristale orientate).
3. Principiul metodei, aparatura, epruvete
A.3.1. Epruveta, asezata orizontal pe doua reazeme, este supusa ruperii, de catre un ciocan-pendul, dintr-o singura lovitura aplicata la distante egale de reazeme. In cazul epruvetelor crestate lovitura se aplica exact in sens opus crestaturii
A.3.2. Aparatul Charpy este de tip ciocan-pendul, prevazut cu un cadru rigid. Aparatul trebuie sa fie bine fixat pe un postament a carui masa trebuie sa fie de minim 40 de ori mai mare decat masa pendulului. Constructia ciocanului trebuie sa asigure, pentru ciocanul, pendulul si reazemele epruvetei realizarea urmatoarelor conditii:
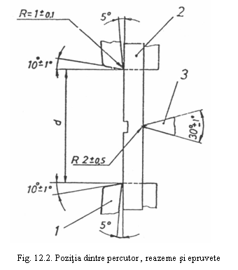
in momentul percutiei, muchia percutoare a ciocanului pendul trebuie sa fie situata la distanta egala de reazemele epruvetei cu o abatere de ± 0,2 mm (fig. 12.1);

reazemele epruvetei trebuie sa asigure orizontalitatea unei epruvete perfect rectangulare, cu abatere de maxim 1:200, paralelismul fetei epruvetei supuse socului cu muchia percutorului in momentul percutiei, cu abatere de maxim 1:200, perpendicularitatea axei longitudinale a epruvetei cu linia de contact a muchiei percutorului cu epruveta, cu o abatere maxima de 20, corespondenta dintre centrul epruvetei si centrul de percutie al ciocanului-pendul, cu abatere maxima de 1%;
muchia percutorului ciocanului pendul
si reazemele epruvetei trebuie sa aiba formele si
dimensiunile din figura 12.2.
Distanta dintre reazeme se regleaza dupa tipul epruvetei, conform specificatiilor din tabelul 12.1.
Tabelul 12.1. Valoarea distantei intre reazeme in functie de tipul epruvetei
|
Tipul epruvetei |
Lungimea (1) [mm] |
Latimea (y) [mm] |
Grosimea (x) [mm] |
Distanta intre reazeme (d) [mm] |
A.3.3. Epruvete pentru determinarea rezistentei la soc.
Se folosesc patru tipuri de epruvete, cu dimensiunile din tabelul 12.1
Dupa forma crestaturile sunt de trei tipuri : A, B, C (fig. 12.3)

A.
B.
C.
Dimensiunile crestaturii, in functie de tipul epruvetei si al crestaturii, sunt date in tabelul 12.2.
Tabelul 12.2. Tipuri de epruvete, crestaturi si valoarea grosimii sub crestatura
|
Tipul epruvetei |
Tipul crestaturii |
Grosimea sub crestatura [mm] |
|
A B C |
2,7 ± 0,2 ; n=2 ± 0,2 |
|
|
A B C |
2,7 ± 0,2 ; n=0,8 ± 0,1 |
|
|
A B C |
6,7 ± 0,3 ; n=2 ± 0,2 |
|
|
A B |
B.3.1. Epruveta, asezata intre nicovala si percutor astfel incat locul incercarii, sa fie la o distanta de minim 2 cm de marginile epruvetei sau de ale unei lovituri anterioare, este supusa loviturii.
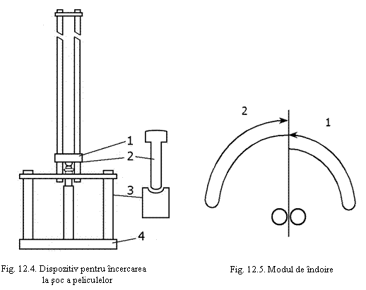
B.3.2. Dispozitivul pentru determinarea rezistentei peliculei la lovire are urmatoarele parti componente (fig. 12.4):
masa (1) de (500+0,1g) ce poate glisa de-a lungul a doua bare gradate in cm;
percutor (2) cu diametrul de 13,8 mm si latimea calotei sferice de 5,7 mm;
nicovala (3) prevazuta cu o adancime cu diametrul de 14,5 mm si adancimea de 7 mm;
placa suport (4) prevazuta cu un cadru de sustinere.
B.3.3. Epruvetele pentru determinarea la lovire, au un suport din tabla de otel decapata pentru ambutisare TDA, peste care este aplicat sistemul de vopsire utilizat la masinile electrice : grund 5040 si email 5001. Grosimea stratului, masurata cu ultrametrul A 52, se trece in tabelul cu rezultate experimentale, in microni .
C.3.1. Se
considera, pentru o indoire alternanta, dubla indoire a epruvetei la
900, de fiecare data se va reveni in pozitia
initiala conform figurii 12.5.
C.3.2. Epruvetele trebuie sa aiba grosimea tablei sau benzii incercate, pastrand stratul de oxizi din laminare. Latimea epruvetei va fi de 20 mm, iar pentru benzi cu latimea mai mica de 20 mm, se va lua o dimensiune a epruvetei egala cu latimea produsului.
Marginile epruvetei nu trebuie sa prezinte bavuri sau fisuri. Zonele ecruisate se vor indeparta prin prelucrare mecanica.
C.3.3. Dispozitivul de incercat trebuie astfel executat incat axa epruvetei sa fie perpendiculara pe axa suportilor cilindrice. Axele suporturilor cilindrice trebuie sa fie paralele intre ele. Spatiul liber intre epruveta fixata si suporturile cilindrice trebuie sa nu depaseasca 0,1 mm (fig.12.6).

Razele suportilor cilindrici (R) trebuie sa corespunda uneia dintre valorile: 1,0; 2,5; 5,0; 7,5; 10 mm. Distanta (h) intre suprafata superioara tangenta la suporturile cilindrice si suprafata interioara a ghidajului trebuie sa fie intre 25 si 50 mm.
4. Modul de lucru
A.4.1. Inainte de incercare se masoara (cu precizie de 0,02 mm) grosimea (x) si latimea (y) a fiecarei epruvete, precum si grosimea sub crestatura (xk) a epruvetelor cu crestatura.
A.4.2. Se alege ciocanul pendul astfel incat energia consumata pentru ruperea epruvetei sa reprezinte 10-18% din energia lui potentiala .
A.4.3. In functie de tipul epruvetei se aleg reazemele.
A.4.4. Se aduce acul indicator pe scara de energie a aparatului astfel incat sa atinga stiftul de angrenare cand pendulul este in pozitia de pornire. Se efectueaza o incercare in gol (fara epruveta) si se controleaza daca pierderile totale datorate frecarilor nu depasesc limitele impuse unei indicatii corecte pe scara.
A.4.5. Se ridica si se blocheaza ciocanul-pendul, se aseaza epruveta pe reazeme astfel incat muchia percutoare a ciocanului pendul sa loveasca centrul epruvetei; in cazul epruvetelor crestate, centrul epruvetei trebuie situat exact in planul de percutie, crestatura fiind situata pe fata epruvetei opuse muchiei percutoare (fig. 12.2).
A.4.6. Se elibereaza, cu precautie, ciocanul-pendul si se citeste pe scala valoarea energiei de soc absorbita de epruveta.
A.4.7. Se examineaza modul de rupere a epruvetei. Sunt posibile urmatoarele moduri de rupere:
ruperea completa sau spargerea (S): jumatatile epruvetei sunt complet separate intre ele;
ruperea ,,balama,, (RB):jumatatile epruvetei raman legate intre ele printr-o pelicula fina si flexibila;
ruperea incompleta (RI): ruptura este pornita pe toata latimea epruvetei si cuprinde o portiune oarecare din grosimea ei, dar partea ramasa este suficient de groasa pentru a mentine impreuna, sub un unghi oarecare, cele doua jumatati;
fisurarea (F): ruperea este doar initiata pe o portiune sau pe toata latimea epruvetei, dar adancimea rupturii este mica in raport cu grosimea;
fara rupere (FR):ruperea nu este initiata, eventual se observa deformarea plastica a materialului.
B.4.1. Epruveta se aseaza intre nicovala si percutor , astfel incat locul incercarii sa fie la o distanta de minim 2 cm de marginile epruvetei sau ale unei loviri anterioare.
B.4.2. Se ridica masa (1) prin culisarea la inaltimi progresive, incepand cu 10 cm, apoi se lasa sa cada liber. Prin intermediul percutorului (2) se imprima peliculei un soc.
B.4.3. Se scoate apoi epruveta, se examineaza locul lovit, se constata daca au aparut sau nu deteriorari ale peliculei, cum ar fi crapaturi, exfolieri etc. Daca nu se observa nici o deteriorare a peliculei se repeta incercarea marindu-se inaltimea de cadere a masei cu 2 … 10 cm, in functie de rezistenta de lovire a peliculei, pana la aparitia primelor semne de deteriorare. In jurul acestei inaltimi se executa minim 3 incercari.
C.4.1. Epruveta se prinde cu un capat intre falcile dispozitivului. Capatul liber al epruvetei se indoaie la 900 in jurul unuia dintre suporturile cilindrice si apoi se readuce in pozitia initiala. Aceeasi operatie se repeta in jurul celuilalt suport cilindric.
C.4.2. Incercarea se face pana la un numar stabil de indoiri ai ea nu trebuie oprita dupa fiecare indoire alternanta a epruvetei. Ultima indoire se considera atunci cand una sau mai multe crapaturi au efectuat mai mult de jumatate din grosimea epruvetei ; din acel moment epruveta se considera rupta.
C.4.3. Incercarea la indoire alternanta trebuie executata cu o asemenea viteza, incat sa se evite incalzirea epruvetei care ar influenta rezultatul incercarii ; in nici un caz aceasta viteza, daca nu se specifica altfel, nu trebuie sa depaseasca o alternanta pe secunda.
C.4.4. Incercarea se executa pe sase epruvete din tabla silicioasa. Media aritmetica si numarul de indoiri minim, impuse, sunt date in tabelul 12.3, in functie de calitatea benzii.
Tabelul 12.3. Valorile impuse pentru media aritmetica a incercarilor si pentru numarul minim de indoiri alternante
|
Nr. crt |
Calitatea epruvetei |
Grosimea [mm] |
|||
|
Media aritmetica si numarul minim de indoiri |
|||||
|
D15, D16, D17, D18 | |||||
|
D19, D20 |
| ||||
|
D21, D22, D23 | |||||
|
D24 | |||||
5. Calcule si rezultate
A.5.1. Rezistenta la soc Charpy pe epruvete fara crestatura (an), exprimata in ((kJ/m2), se calculeaza cu formula:
an = (An / x y) 103 kJ/m2 (12.1)
in care :
An = energia consumata pentru ruperea prin soc a epruvetei necrestate, in J;
ak = (Ak / xk y) 103 kJ/m2 (12.2)
in care:
Ak = energia consumata pentru ruperea prin soc a epruvetei necrestate, in J;
xk = grosimea epruvetei, in mm;
y = latimea epruvetei, in mm.
A.5.3. Se calculeaza media aritmetica a celor zece rezultate obtinute si se compara cu valoarea impusa de standardul materialului.
A.5.4. Rezistenta relativa la soc Charpy, se exprima in procente si se calculeaza, dupa caz, cu una din formulele :
KZ1 = (ak / an) (12.3)
in care ak si an au semnificatiile de la punctul A.5.2, respectiv A.5.1,
sau:
KZ2 = (akA / akB) (12.4)
in care akA si akB au semnificatiile de la punctul A.5.2, calculate pentru epruvete cu crestaturi de tip A.si B .
KZ1, se poate determina numai daca epruvetele necrestate prezinta rupere completa sau ,,balamare,,.
Pentru calculul ambelor rezistente relative de soc ak si an sau akA si akB trebuie sa fie determinate pe acelasi tip de epruvete.
A.5.5. Rezultatele incercarilor se trec in tabelul
Tabelul 12.4. Rezultate
|
Nr. crt. |
Mat |
Tipul epruvetei |
Sectiunea [mm2] |
Energia [J] |
Rezistenta la soc [kJ/m2] |
Obs. |
||
|
Valoare det. |
Valoare medie |
Valoare impusa |
||||||
B.5.1. Rezistenta la lovire are ca rezultat media aritmetica a trei determinari, care nu difera intre ele cu mai mult de 1 cm.
Rezultatele incercarilor se trec in tabelul 12.5.
Tabelul 12.5. Rezultate
|
Nr. crt. |
Epruv. |
a [mm] |
b [mm] |
R [mm] |
h [mm] |
Nb |
Nb med.det. |
Nb min.det. |
Nb med.imp. |
Nb min.imp. |
Obs. |
|