Traductoarele pot fi utilizate atāt ca elemente de masurare pentru controlul parametrilor cāt si ca elemente componente īn cadrul dispozitivelor de automatizare intercalate īn sisteme de reglare automata.
Traductoarele se pot clasifica dupa urmatoarele criterii:
Dupa parametrul masurat:
-traductoare de temperatura, presiune, debit, nivel, pH, compozitie, concentratie, etc.
Traductoarele īsi bazeaza functionarea pe feno 10410x2316k mene sau proprietati ale materialelor care permit transformarea unor marimi fizice īn altele cum ar fi: dilatarea corpurilor, variatia rezistentei electrice, pierderea de presiune pe rezistente hidraulice sau pneumatice etc.
Dupa natura fenomenului care sta la baza functionarii lor.
traductoare: electrice, pneumatice, chimice, de radiatie etc.
La aceste traductoare, presiunea de masurat se compara direct cu presiunea hidrostatica a unei coloane de lichid. Desi simple, aceste traductoare se caracterizeaza printr-o precizie mare. Prezinta īnsa o serie de neajunsuri din punctul de vedere al exploatarii (gabarite mari, domenii de masurare mici etc.), fapt pentru care īn industrie sunt mai putin raspāndite decāt traductoarele cu elemente elastice. Īn tehnica de laborator, mai ales īn domeniul presiunilor mici, traductoarele de presiune cu lichid sunt īnsa foarte utilizate. Din grupa acestor traductoare, cele cu tub U sunt constructiv cele mai simple (figura 1.8).Lichidul din tub poate fi mercur, apa, alcool etilic etc., acesta fiind ales functie de natura fizica a fluidului a carui presiune dorim sa o masuram si de valoarea acesteia.
Dependenta īnaltimii coloanei de lichid de diferenta de presiune ΔP=P1 - P2 este:
īn care: ρ - masa specifica a lichidului de umplutura;
ρf - masa specifica a fluidului a carui presiune se masoara;
g - acceleratia gravitationala.
Īn cazul īn care presiunile de masurat sunt foarte mici se utilizeaza traductoare de presiune cu tub īnclinat
|
|
|
Lungimea y a coloanei de lichid din tubul īnclinat se determina cu relatia data.
Aceste traductoare au o sensibilitate mai ridicata decāt cele cu tub U.
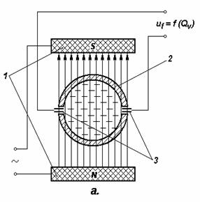
Aceste traductoare īsi bazeaza functionarea pe
existenta fenomenului de inductie magnetica. Constructiv, traductorul electromagnetic
este realizat dintr-un tub din material izolant sau metalic acoperit cu un
strat izolant, fixat īntre polii unui electromagnet (figura 1.13). Materialul tubului trebuie sa fie īn
toate cazurile nemagnetic (otel austenitic sau PVC). Prin peretii
tubului trec electrozii 3, īntre care apare o tensiune electromotoare ut,
indusa īn tubul de lichid dintre acestia. Lichidul care se
gaseste la un moment dat īntre electrozii 3 poate fi imaginat ca un conductor
ce se deplaseaza cu viteza
īn cāmpul magnetic de
inductie B
|
|
|
Traductoare termoelectrice
Aceste traductor denumite frecvent si termocuplu este compus din doi electrozi A si B, confectionati din metale diferite, care se sudeaza la unul din capete. Capetele nesudate se numesc reci" sau "libere si au aceeasi temperatura T0. Punctul de sudura al electrozilor se numeste capat "cald" sau "sudat" al termocuplului si se gaseste la o anumita temperatura T (fig.1.15).
Functionarea acestor traductoare se bazeaza pe fenomenul termoelectric, efectul Seebeck, care consta īn aparitia unui cāmp electric imprimat, si deci a unei tensiuni electromotoare, īntr-un circuit alcatuit din mai multi conductori de naturi diferite si cu punctele de contact la temperaturi diferite. Daca capetele libere ale termocuplului se gasesc īn gol, īntre acestea apare o diferenta de potential egala cu tensiunea electromotoare Seebeck:
īn care aAB este coeficientul Seebeck relativ la conductorii A si B.
|
|
|
Din relatia tensiunii se observa ca daca temperatura capetelor reci T0 este mentinuta constanta, atunci, prin masurarea diferentei de potential UAB se poate determina temperatura T a capatului sudat care, īn regim stationar coincide cu temperatura mediului īn care se afla acesta. Valoarea coeficientului Seebeck aAB, depinde de perechea de electrozi A si B ce alcatuiesc termocuplul si prin aceasta determina forma caracteristicii statice a fiecarui termocuplu.
Īn figura sunt prezentate caracteristicile statice pentru termocuplurile fier - constantan (Fe - Const.), cromel - alumel (C - A) si platina rodiu - platina (Pt Rh - Pt).
S-a aratat mai sus ca pentru a putea determina temperatura T prin masurarea tensiunii termoelectrice, temperatura T0 a capetelor libere trebuie mentinuta constanta la o valoare cunoscuta. Aceasta cerinta este mai usor de realizat īn zone cu temperaturi mai joase, īndepartate de punctul de masurare. Aceasta necesita prelungirea termoelectrozilor pāna la camerele de masurare sau īn alte locuri convenabile. Prelungirea se realizeaza cu ajutorul a doua conductoare, numite conductoare de prelungire, care pot fi din acelasi material cu termoelectrozii sau din alte metale sau aliaje, care īn intervalul -30 C . +100 C, au aceleasi proprietati termoelectrice cu termoelectrozii.
Pentru a nu fi expusi continuu mediului īn care se masoara temperatura, electrozii termocuplului sunt introdusi īntr-un tub protector (teaca). Materialul din care se confectioneaza teaca protectoare este ales functie de temperatura si mediul īn care lucreaza termocuplul. Īn general acesta este fie otel obisnuit sau special, fie material ceramic. Īn acest caz, comportarea dinamica a termocuplului este diferita, constanta de timp care apare īn transmiterea caldurii nu poate fi neglijata (2 - 20 s).
Tensiunea electromotoare dezvoltata de termocuplu se poate masura prin doua metode:
metoda deviatiei - milivoltmetrul magnetoelectric se leaga direct la termocuplu (figura 1.17), scala aparatului fiind gradata direct īn unitati de temperatura.
metoda compensatiei -(potentiometrica), care consta īn compensarea tensiunii necunoscuta UAB a termocuplului cu o tensiune cunoscuta, culeasa de pe portiunea RX a rezistentei R .
|
|
|
|
Pozitia 1 a comutatorului K corespunde masurarii. Īn acest caz tensiunii UAB i se opune caderea de tensiune UC culeasa pe rezistenta RX (UC=RX I). Se poate afla o asemenea pozitie a cursorului C, astfel īncāt UAB=UC, pozitie pusa īn evidenta de un galvanometru. Prin urmare fiecarei valori UAB, īi corespunde o anumita pozitie a cursorului C. Daca R este o rezistenta calibrata si liniara, aparatul se poate etalona, atasāndu-se acestei rezistente o scala gradata direct īn unitati de temperatura.
La instalatii industriale se utilizeaza potentiometrele electronice automate (figura 1.18.b). Daca tensiunile UC si UAB nu sunt egale, la intrarea amplificatorului A apare semnalul de eroare DI, respectiv o tensiune asociata acestuia. Amplificatorul electronic A comanda motorul M, care, rotindu-se īntr-un sens corespunzator, deplaseaza cursorul reostatului R, si īn acelasi timp cu acesta, acul indicator si īnregistrator al aparatului. Astfel daca UAB>UC, cursorul reostatului va fi deplasat spre dreapta si daca UAB<UC, spre stānga. Deplasarea cursorului īn sensul corespunzator are loc pāna cānd se realizeaza egalitatea UC=UAB, situatie īn care semnalul de eroare este nul si motorul M este īn repaus. Scala aparatului este gradata direct īn unitati de temperatura.
Traductoare termorezistive
Variatia rezistentei electrice a conductoarelor si semiconductoarelor cu temperatura constituie baza functionarii traductoarelor termorezistive. Īn raport cu termocuplele, acestea prezinta avantajul ca nu necesita conductoare de prelungire speciale. Sunt utilizate īn domeniul -200 . +600 C. Īn constructia termorezistentelor se folosesc metale pure: frecvent se utilizeaza cuprul, nichelul si platina.
Pentru cupru,
dependenta de temperatura īn intervalul -50 . +200 C este liniara:
iar pentru platina, īn intervalul 0 . C, dependenta este:
Constructiv, traductorul se compune dintr-un tub protector metalic, asemanator cu cel al termocuplului, īn care se introduce termorezistenta propriu-zisa (figura 20). Termorezistenta este compusa dintr-un suport de sticla, ceramica sau mica, pe care este bobinat conductorul (sārma cu diametrul de 0,08 . 0,04 mm).
La
materialele semiconductoare, rezistenta electrica variaza cu
temperatura dupa legea exponentiala:
īn care: A - constanta care depinde de forma si dimensiunile termistorului;
B - constanta caracteristica a materialului din care este confectionat termistorul, mai mica decāt zero;
T - temperatura absoluta a mediului īn care se afla materialul semiconductor.
Traductoarele termorezistive confectionate din materiale semiconductoare poarta numele de termistori. Īn raport cu termorezistenta, termistorul prezinta avantajul unei variatii mult mai mari a rezistentei cu temperatura, care conduce la o sensibilitate superioara acestuia. Fata de termorezistenta, termistorul prezinta īnsa dezavantajul ca interschimbabilitatea nu este posibila decāt īn conditiile luarii unor masuri suplimentare īn ceea ce priveste schema utilizata.
Masurarea temperaturii utilizānd ca element sensibil termorezistenta se poate face: 1. Direct, cu logometrul (figura 1.20) care este un aparat magnetoelectric cu ajutorul caruia se masoara raportul a doua marimi electrice (curenti, rezistente etc.).
|
|
|
Fig. 1.19 |
Fig. 1.20 |
O parte componenta a acestuia este un cadru mobil, alcatuit din doua bobine, de care este fixat acul indicator. Fiecare din cele doua bobine formeaza cāte un cuplu, acestea fiind de sensuri opuse; egalitatea celor doua cupluri determina pozitia de echilibru a echipajului mobil. Cadrul mobil este atasat īn īntrefierul unui magnet permanent. Forma circuitului magnetic este astfel alcatuita īncāt inductia este maxima pe axa polilor si scade catre extremitatile pieselor polare. Din acest motiv, inductia īn īntrefier este o functie de marimea unghiului a de deplasare a cadrului mobil. Caracteristica statica este:
Scala logometrului, īn urma unei etalonari prealabile poate fi gradata direct īn unitati de temperatura.
2. Montaje īn punte a carui schema este redata īn figura 1.21.
|
|
|
|
Fig.1.21 |
Fig.1.22 |
unde: R1, R2 - rezistente fixe; R3 - rezistenta variabila; RT - traductor termorezistiv;
r - rezistenta conductorului de legatura a traductorului la punte.
Cu ajutorul
rezistentei R3 se echilibreaza puntea, tensiunea Ucd=0
si:
Deoarece rezistenta r a conductorilor de legatura ai traductorului rezistiv se modifica cu temperatura mediului ambiant, rezulta ca precizia determinarii temperaturii cu RT este afectata de aceste variatii. Din acest motiv īn cazul unor conductori de legatura de lungime relativ mare, se utilizeaza montajul cu trei conductoare de legatura (trifilar), (figura 1.22).
Pentru masuratori industriale, īn locul puntilor cu echilibrare manuala se utilizeaza cele cu echilibrare automata (figura 1.22).
Atunci cānd puntea este neechilibrata, tensiunea Ucd se aplica la intrarea amplificatorului A, a carui iesire comanda motorul asincron bifazat M. Acest semnal de comanda, īmpreuna cu alimentarea din cealalta īnfasurare a motorului, creeaza un cāmp magnetic rotitor, care conduce la miscarea rotorului si astfel prin legatura mecanica reprezentata punctat, este pus īn miscare cursorul pentru echilibrarea puntii. Scala aparatului indicator īnregistrator este gradata īn unitati de temperatura.
Traductoare de presiune cu lichid.
Aceste traductoare folosesc fie fenomenul de dilatare a corpurilor (solide, lichide) cu temperatura, fie fenomenul de variatie cu temperatura a presiunii gazelor sau vaporilor īntr-un volum constant.
Īn cazul utilizarii corpurilor solide, solutia constructiva obisnuita este cea bimetalica, realizata sub forma de placute sau bara tub, īn care cele doua elemente au coeficienti de dilatare diferiti.
Traductoarele bazate pe dilatarea lichidelor si gazelor se construiesc sub forma unui cartus conectat printr-un tub capilar la un element deformabil, de exemplu tub Bourdon, figura 1.23.

Fig. 1.23
Cromatografia gazoasa
Cromatografia este o metoda fizica de separare a amestecurilor gazoase multicomponente care se bazeaza pe repartitia diferita a componentelor unui amestec īntre o faza mobila si una stationara, avānd ca urmare deplasarea cu viteza diferita a componentelor purtate īn faza mobila, de-a lungul fazei stationare.
Schema bloc a unui cromatograf de gaze este reprezentata īn figura 1.38.
|
|
|
|
Fig. 1.38a |
Fig. 1.38b |
Elementele lui principiale sunt coloana 1 si detectorul 2, la acestea adaugāndu-se sursa de eluent 3, dispozitivul de masurare si reglare a debitului 4, dispozitivul de introducere a probei 5, termostatul 6 si instrumentul de īnregistrare 7 a semnalelor furnizate de detector.
Eluentul trece prin dispozitivul de introducere al probei, preia proba de analizat si o introduce īn coloana cromatografica. Din cauza interactiunii moleculelor probei cu faza stationara, componentele ramān īn urma eluentului. Īn functie de diferentele care exista īntre echilibrele lor de repartitie īntre cele doua faze, se produce o diferentiere a vitezelor lor de migrare si final separarea. Esalonate astfel īn timp, componentele sunt purtate de eluent dupa iesirea din coloana, īn detector. Acesta transforma diferenta unei proprietati fizice īntre component si eluent īntr-un semnal electric, proportional cu concentratia componentului īn faza gazoasa.
Reprezentarea grafica a semnalului detectorului īn functie de timp, obtinuta cu ajutorul īnregistratorului, se numeste cromatograma (figura 1.38b). Semnalele obtinute sub forma unor vārfuri, numite picuri corespund componentelor probei.
Timpul la care apare maximul unui pic, masurat din momentul introducerii probei, se numeste timp de retinere, tR, si este caracteristica calitativa a componentului respectiv. Īnaltimea picului h, sau aria suprafetei lui A, constituie parametrul cantitativ, proportional cu cantitatea de component.
Cu tM, se noteaza timpul īn care eluentul si componentele care nu interactioneaza cu faza stationara parcurg distanta pāna la detector.
Performantele aparaturii gaz cromatografice si conditiile de lucru, variaza īntre limite largi si constituie obiectul multor tratate stiintifice si articole din publicatiile de specialitate.
Spectrometria de masa
Spectrometria de masa, metoda fizica de separare, permite analizarea amestecurilor diferitelor substante, pe baza ionizarii acestora īn conditii de vid īnalt si obtinerii ionilor īncarcati electric, dupa care acesti ioni se separa dupa numarul lor de masa. Marimea curentului ionic este o masura a continutului de component determinat īn amestecul de analizat. Ionii se grupeaza sub actiunea concomitenta a unui cāmp magnetic si electric si se misca pe diferite traiectorii.
Īntre masa ionului m si sarcina sa q exista urmatoarea relatie:
![]()
īn care: B - inductia magnetica;
r - raza de miscare a ionului;
U - potentialul electric.
Relatia dedusa constituie baza fizica a spectrometriei de masa.
La anumite valori ale lui B si U se poate masura numarul ionilor pozitivi sau negativi, cu determinarea raportului m/q si dupa valoarea curentului de ioni se determina cantitatea de ioni separati si apoi continutul amestecului de analizat.
Īn figura 1.39 este redata schema bloc a unui spectrometru de masa. Amestecul de gaz intra la presiune joasa īn camera de ionizare 1, unde este bombardat cu electroni, formāndu-se ioni pozitivi, care sub actiunea cāmpului electric realizat cu diferenta de potential DU, primesc o acceleratie corespunzatoare.
Ca atare ionii ies din camera de ionizare 1 cu o viteza determinata si prin orificiile 2 si 3 intra īn camera 5, īn care se afla un cāmp magnetic a carui vector de inductie B este īndreptat perpendicular pe suprafata desenului.
Ionii separati, īn concordanta cu raportul lor m/q descriu traiectorii īn forma de cercuri cu raze diferite. Ionii care se vor misca cu raza r3, trec prin orificiul 4 si cad pe colectorul cu disc 6, pe care se descarca.
Curentul electric a carui marime este determinata de numarul de ioni ce lovesc colectorul īn unitatea de timp, produce pe rezistenta 7, o cadere de tensiune, care este amplificata īn amplificatorul de curent continuu 8 si este īnregistrata la aparatul de masurare 9.
Modificarea inductiei B a cāmpului magnetic sau a tensiunii U a cāmpului electric pot mari sau micsora raza traiectoriei r, a ionilor, cu diferite mase, care cad pe colector.
Modificānd continuu una din cele 2 marimi, la aparatul de īnregistrare 9, se vor obtine īnregistrari cu picuri, care corespund ionilor de masa determinata.
Īnaltimea fiecarui pic este caracteristica pentru concentratia ionilor de masa data īn amestecul de gaz (figura 45).
Fiecare spectrometru de masa are un sistem de pompe cu vacuum.
Vidul īnalt este necesar pentru ca drumul liber mijlociu al ionilor trebuie sa fie mai mare decāt dimensiunea tubului si pentru a limita ciocnirea ionilor determinati, cu moleculele de aer din tubul spectrometrului. Pe lānga acestea si durata de īncalzire a firului pentru emisia de electroni depinde de marimea vaacumului.
Cu toate avantajele lor, aceste metode īnca nu se utilizeaza īn scheme de automatizare, aceasta fiind o problema a viitorului.
v Regulatoare autoadaptive
Exista situatii cānd instalatia tehnologica necesita regulatoare care sa prezinte structuri interne variabile īn amplificatorul operational AO, deci algoritmi de conducere care trebuie modificati īn decursul proceselor de fabricatie.
Aceasta situatie apare mai ales cānd punctul de functionare al unei instalatii este un punct de schimbare a caracteristicii statice. Īn aceasta situatie, se schimba valoarea dorita a parametrului reglat, se pot schimba valorile dorite ale mai multor variabile de iesire. Poate fi necesara schimbarea tipului algoritmului (PD → PID, P → PI) cāt si valorile pentru parametrii Kp, Ti si Td. Īn acest caz se folosesc regulatoare autoadaptive.

v Regulatoare optimale
Acest tip de regulatoare se utilizeaza īn situatiile īn care procesul este condus optimal. Acest lucru presupune ca starea procesului nu este stationara ci variabila, ea fiind dirijata īntr-o anumita zona īn care o anumita functie obiectiv este maximizata sau minimizata. Pentru a realiza acest lucru se utilizeaza regulatoare cu marime de referinta variabila dupa o anumita functie de timp. Aceasta functie notata w(t) este stabilita de un element de corectie ce primeste informatii din proces prin intermediul modelului matematic, MM, static sau dinamic determinat pentru acesta.
Modelul matematic este cunoscut īn urma operatiei de identificare si pe lānga relatiile matematice care caracterizeaza ecuatiile obisnuite de transport, stare, cinetica chimica, echilibru chimic, modelul matematic mai trebuie sa contina si expresia functiei obiectiv sau a criteriului de performanta care sa maximizeze sau sa minimizeze si relatiile de restrictie pentru o serie de parametri care influenteaza variabila de iesire. Programul de optimizare trebuie sa calculeze cea mai buna functie w(t) care sa duca la maximizarea sau minimizarea functiei obiectiv. Figura 4.36 prezinta schema bloc a unui regulator optimal.
Modelul matematic, respectiv elementul de calcul al functiei w(t) sunt reprezentate de softul unui calculator.
Variabila de iesire va trebui sa se modifice dupa o functie e(t) care sa urmareasca exact functia w(t). Programul de optimizare contine si calculele matematice necesare pentru metoda de cautare a optimului adoptata pentru problema respectiva.

|