ASYCUDA++
Modul Broker
Procedura instalare
Iunie,1997
Copyright © Iunie 1997, LogicLab ltd
All rights reserved
ASYCUDA++ is proprietary to the
United Nations Conference on Trade and Development
Autori : Ion Moise
Paul - Anton Siman
Trademerks: UnixWare is a trademark of The Santa Cruz Operation, Inc.
ORACLE is a trademark of ORACLE Corporation.
Windows and Windows 95 are trademarks of Microsoft Corporation.
OS/2 Warp is a trademark of IBM Corporation.
FTP OnNet is a trademark of FTP Software Incorporation.
Paradox is a trademark of Borland International.
Cuprins
Procedura de instalare a modulului Broker (ModBrk)
Introducere
UNCTAD - Document Administrativ Unic (DAU, SAD) - Sistem Armonizat (Harmonized System)
Institutii care contribuie la implementare
Componentele sistemului ASYCUDA++
Modulul Broker
Structura client a sistemului ASYCUDA++
Replicarea
Structura directoarelor:
Fisierele de configurare
NAT.cnf, SYS.cnf, MOD.cnf - destinatie si caracteristici
Filtre
Instalarea
Crearea pachetului de instalare
Instalare pe calculatorul local a pachetului cu modulul broker
Concluzii
Procedura de instalare a modulului Broker (ModBrk)
Acest capitol va introduce urmatoarele notiuni:
Sistemul ASYCUDA++
Modulul Broker.
Componentele modulului Broker.
Crearea pachetului de instalare.
Instalarea modulului broker.
|
Informatii & Rezumat capitol Notiuni introductive |
|
S |
istemul ASYCUDA++ este un software de aplicatie elaborat de catre UNCTAD, pentru uniformizarea tratamentelor vamale aplicate la schimbul de marfuri intre diverse tari..
ASYCUDA++ este rezultatul unei indelungate experiente in domeniul vamal si este raspunsul la necesitatile de uniformizare, standardizare, eficientizare si optimizare a activitatilor vamale din tarile vest-europene.
Rezultatul experientelor vamale individuale din fiecare tara a fost concretizat in elaborarea documentelor vamale unificate, standard, dintre care esential este Declaratia Vamala (Single Administrative Document sau Document Administratif Unique).
Forma si structura informatiilor utilizate si vehiculate de catre sistemul ASYCUDA++ sint, in principiu, aceleasi, indiferent de tara in care a fost implementat; difera numai, eventual, rubricile, din punct de vedere al limbii si / sau grafiei, ori, eventual, semnificatia unora sau altora dintre cimpurile ce compun formularul.
ASYCUDA++ permite o larga paleta de posibilitati de adaptare a structurii informatiilor din formulare la cerintele proprii.
ASYCUDA++ asigura, de asemenea, si o standardizare a formatului informatiilor, imbunatatind comunicarea pe plan international.
De asemenea, ASYCUDA++ se sprijina pe codificarea unitara a marfurilor (Sistemul Armonizat - Harmonized System) precum si pe standardizarea unitara a tipurilor de tratamente (regimuri, proceduri) vamale aplicate marfurilor.
|
|
La implementarea sistemului ASYCUDA++, inclusiv toate activitatile adiacente necesare, contribuie urmatoarele institutii:
Directia Generala a Vamilor din Romania cu sprijinul UNCTAD
IBM Austria in colaborare cu Forte - ICE Felix - ITC - Computerland
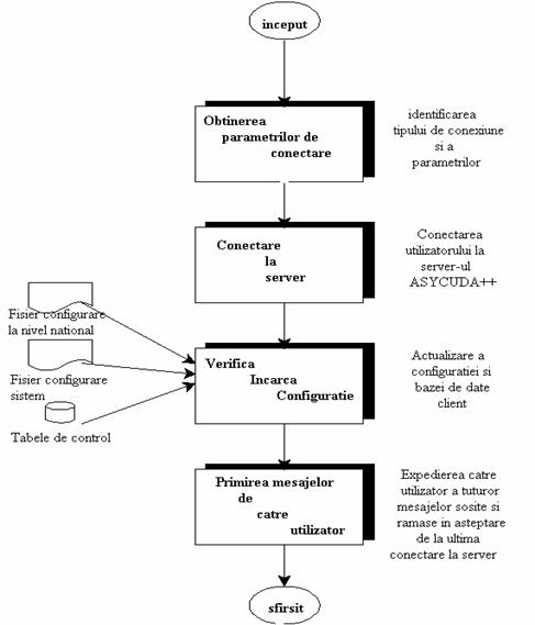
Sistemul ASYCUDA++ functioneaza intr-o arhitectura client - server, avand componente care opereaza pe un server UnixWare ( interferand cu o baza de date ORACLE) si componente client care interfereaza cu o baza de date locala de tip Paradox. Schema functionala a sistemului poate fi urmarita in figura 1.
Componentele client functioneaza utilizand date inglobate intr-o structura specifica ce contine directoare si fisiere avand adrese pre-stabilite. Trebuie retinuta ideea ca aceasta structura este fixa, orice interventie neavizata, in sensul schimbarii structurii, duce automat la nefunctionalitatea sistemului ASYCUDA++.

Figura - Arhitectura sistemului Asycuda++
Unul din modulele functionale la nivel client este modulul adresat comisionarilor vamali (brokeri sau declaranti). Acest modul se numeste ModBrk (Modul Broker) si la fel ca si celelalte utilizeaza aceeasi structura fixa de informatii. Modulul este proiectat sa opereze intr-un mediu DOS lucrand in mod protejat. Din aceste motive caracteristicle hardware in care el functioneaza sunt:
Microcalculator compatibil IBM PC avand un procesor de cel putin 80386SX ( Preferabil 80486 sau Pentium).
Memorie RAM cel putin 4MB.
Unitate de discheta de 1.44MB (tipul unitatii de discheta este impus de faptul ca toate calculatoarele apartinand DGVR au numai unitati de acest tip).
Spatiu disc disponibil de cel putin 50MB. la instalare acestuia fiindu-I necesar 30MB.
Pentru o operare facila este de dorit utilizarea unui dispozitiv de punctare de tip mouse, utilizarea acestuia fiind insa optionala.
In functie de dezvoltarile ulterioare ale retelei nationale vamale ASYCUDA++ vor fi necesare dipozitive de conectare la reteaua vamala, de exemplu placi de retea Ethernet, modemuri, servere de comunicatii.
Din punct de vedere software sistemul nu necesita decat prezenta sistemului de operare DOS de versiune 5.0 sau mai mare. De mentionat ca sistemul poate functiona si intr-o fereastra DOS a sistemelor Windows 3.1x si Windows '95, precum si intr-o fereastra DOS a sistemului OS/2 Warp versiune 3.x sau mai mare.
In functie de dezvoltarile ulterioare ale retelei nationale vamale ASYCUDA++ vor trebui instalate componentele software necesare comunicarii in protocol TCT/IP, respectiv FTP OnNet versiune 2.1 sau mai mare.
Structura client a sistemului ASYCUDA++ |
Fondul de date local, existent pe statia de lucru reprezinta copii autorizate ale informatiilor aflate pe server. Daca pe server baza de date este o baza de date relationala (Oracle), pe statia de lucru datele sint stocate in fisiere Paradox (comunicarea modificarilor, actualizare, rescrierea acestora conform actualizarilor survenite in baza de date relationala de pe server sint efectuate de catre sistemul ASYCUDA++
Replicarea |
ASYCUDA++ isi asigura coerenta logica a informatiilor detinute prin impunerea utilizarii unor informatii etalon (standard), pe care le difuzeaza in intreaga retea de statii de lucru conectate la servere, ori de cite ori este necesara o astfel de operatiune de aliniere la un etalon (standard) unic recunoscut.
Difuzarea si duplicarea (multiplicarea) in retea a informatiilor etalon sub forma de copii pe statiile de lucru, poarta denumirea de replicare si are ca rezultat trimiterea, - dinspre serverul detinator, catre statia de lucru din subordine - a etalonului (standardului) obligatoriu.
Difuzarea de catre server si reproducerea (duplicarea, multiplicarea) pe statie a informatiilor etalon se face numai pentru acele informatii care au suferit modificari fata de contectarea anterioara la serverul central si care au dus la o neconcordanta a acestora pe cele doua situri.
In acest fel se evita aglomerarea liniilor de comunicatii si transmiterea unui volum mare (si, in mare masura, redundant) de informatii. Totusi, sistemul ASYCUDA++, avind capacitatea de a sesiza nu numai neconcordantele ci si eventuala absenta a informatiilor etalon, asigura, la nevoie, o replicare completa a standardelor.
Replicarea, odata necesara, devine inevitabila, in virtutea regulilor prestabilite de tratare a informatiilor colectate pe statiile de lucru si ajunse, prin liniile de comunicatie, pe server, ceea ce constituie un alt avantaj major al sistemului ASYCUDA++
Astfel, devine imposibila inregistrarea
eronata, spre exemplu, a unor taxe vamale expirate, aplicate intr-un moment in
care acestea au suferit, deja, modificari, deoarece operatiunea de conectare la
server va obliga utilizatorul de pe statia locala sa accepte replicarea
informatiilor sosite de la server, deoarece, inainte de incheierea acestei
manevre (automate) el nu va putea sa efectueze nici o alta Operatiune.
Figure - Succesiunea operatiunilor efectuate si locul replicarii in momentul conectarii utilizatorului la server-ul ASYCUDA++
Structura directoarelor: |
In urma instalarii (de pe suportul de furnizare a sistemului ASYCUDA++), pe statiile de lucru se obtine o structura de directoare arborescenta, astfel:
ASY
CAR documente referitoare la transportator
EDI schimb de mesaje prin standardul de comunicatii EDIFACT
GTW informatii referitoare la gateway A++Gate
ERR
LOG
MAC
PRT liste destinate imprimantei
REF fisiere Paradox (baza de date locala).
SAD declaratii vamale stocate local
SQL cereri SQL ale utilizatorului
SYS
BIN module si biblioteci
CNF fisiere de configurare.
LNG dictionarele sistemului ASYCUDA++ (suport multinational).
PRM informatii referitoare la (gestionarea de) imprimante
TMP director de manevra
TOOLS utilitare de sistem
WRK director de manevra
NAT.cnf, SYS.cnf, MOD.cnf - destinatie si caracteristici |
Fisierele de configurare ale sistemului la nivel client sunt urmtoarele:
< NAT.cnf configurare la nivel national
< SYS.cnf configurare la nivel de sistem
< MOD.cnf configurare la nivel local fara implicatii de securitate
Fisierele de configurare nu sint accesibile decit prin intermediul utilitarelor puse la dispozitie de sistemul ASYCUDA++ si sint gestionate de catre modulele de configurare. Fisierul MOD.cnf contine, in principiu, informatii despre modurile de lucru utilizate, de exemplu limba, modul video, "scrren saver", etc. El este modificat prin optiunile de configurare specifice fiecarui modul in parte.
Aceste fisiere contin absolut toate standardele la nivelul Vamii (format de formulare, cimpuri si rubrici, relatii, modalitati de calcul, reguli de taxare, etc.).
Filtre |
Filtrul este un fisier de tip FTR_nnn, unde nnn reprezinta un cod prin care se determina carui document ii este atasat filtrul (de exemplu, FTR_001 este filtrul atasat documentului Declaratie Vamala (DAU, sau SAD)
Filtrul permite stocarea informatiilor continute de o Declaratie Vamala intr-un fisier de tip input care va avea extensia .FTR (in acest fel numai informatiile utile sint depuse in fisier, fara a fi nevoie memorarea chenarelor, liniilor, etc. specifice rubricilor documentului
Datele filtrate pot fi listate la imprimanta, pe hirtie pretiparita, astfel incit datele sa se inscrie in rubricile pretiparite ale formularului
In absenta unui filtru, continutul Declaratiei Vamale se tipareste in mod WYSIWYG (adica imaginea identica a documentului vizibil pe ecran) la imprimanta
Instalarea modulului Broker consta din doua faze:
faza de creare a pachetului de instalare
faza de instalare pe calculatorul local a pachetului de instalare.
Expertii in tehnologie informationala a comisionarilor vamali isi vor crea ei insisi pachetul de instalare pe propriile dischete de 1.44MB de pe unul de calculatoarele asignate lor de catre DGVR. Aceasta operatie va fi facuta saptamanal, dupa actualizarea de catre operatorii birourilor vamale a tabelelor de referinta care necesita actualizari saptamanale ( de exemplu cea de cursuri valutare). De asemenea aceasta operatie se poate face cand sunt modificate masiv celelalte tabele de control (de exemplu tariful vamal), regulile de taxare sau modificari in legislatie ( la nivel de coduri aditionale de exemplu).
Dupa crearea dischetelor cu pachetul de instalare acesta va fi instalat pe masinile proprii ale comisionarilor vamali.
Programele (scripturile) de instalere utilizeaza programul arj.exe ca utilitar pentru operatiile de arhivare, dezarhivare.
Crearea pachetului de instalare |
Pentru crearea pachetului de instalare sunt necesare 3 (trei) dischete goale de capacitate 1.44 MB formatate DOS. Este posibil ca pe viitor, in functie de gradul de umplere a tabelelor de referinta, este posibil ca pe viitor dimensiunea acestor tabele sa creasca si drept urmare sa fie necesare mai multe dischete. Ca atare este bine ca pentru orice eventualitate comisionarii sa aiba dischete suplimentare utile si in cazul unor erori de scriere.
Pachetul de instalare cotine doua programe batch (script) unul pentru instalarea pentru prima oara pe masina comisionarului vamal (InstBrk.bat) si celalalt pentru restaurarea curenta (RestArh.bat) si o arhiva de tip "arj" multi-volum continand componentele ASYCUDA++ ale modulului broker (AsyBrk.arj).
Pachetul de instalare se creaza utilizand urmatoarea procedura:
< se eticheteaza (se scrie pe eticheta) dischetele cu urmatoarele nume: disc_1, disc_2, etc.
< se introduce in unitatea de discheta a calculatorului din biroul vamal atribuit activitatii comisionarilor vamali discheta cu eticheta disc_1.
< se lanseaza din radacina partitiei DOS programul SaveBrk, si se alege unitatea de discheta pe care se creaza pachetul de instalare (implicit este a: ), ca de exemplu:
c:\>SaveBrk
Script salvare Modul Broker
*
Versiune 1.0 Iunie 1997
Copyright (c) LogicLab Ltd.
*
A Salvarea se face pe unitatea de discheta a:
B Salvarea se face pe unitatea de discheta b:
Alegeti unitatea de discheta :[A,B]?A
Se salveaza structura modulului Broker pe unitatea A:
Puneti discheta cu eticheta Disc_1 in unitatea A: si apasati o tasta.
Press any key to continue . . .
< Se asigura ca discheta cu etichete Disc_1 este in unitatea de discheta dupa care se apasa o tasta oarecare. Mesajele primite pe ecran sunt urmatoarele.
Se salveaza programul de instalare client broker pe unitatea A:
Asteptati pentru crearea arhivei modulului broker ASYCUDA++
Se arhiveaza directorul C:\ASY
Se arhiveaza directorul C:\ASY\REF
Se arhiveaza directorul C:\ASY\SYS
Se arhiveaza directorul C:\ASY\SYS\BIN
Se arhiveaza directorul C:\ASY\SYS\CNF
Se arhiveaza directorul C:\ASY\SYS\LNG
Asteptati pentru salvarea arhivei pe unitatea A:
ARJ 2.41 Copyright (c) 1990-93 Robert K Jung. Jun 03 1993
All Rights Reserved. U.S. Patent No. 5,140,321 and patent pending.
*** This SHAREWARE program is NOT REGISTERED for use in a business, commercial,
*** government, or institutional environment except for evaluation purposes.
Creating archive : A:\ASYBRK.ARJ
Adding C:\ASY\WRK\ASY$$.ARJ 98.3%
1 file(s)
Insert diskette with next volume (1). Enter "Y" when ready:y
< se vor introduce apoi de fiecare data cand programul va cere dischetele corespunzatore etichetelor Disc_2, Disc_3, etc. si se va apasa tasta "Y" si apoi <Enter> pana se va primi mesajul:
Creating archive : A:\ASYBRK.A01
Adding C:\ASY\WRK\ASY$$.ARJ starting at position 1358928 99.5%
1 file(s)
Insert diskette with next volume (2). Enter "Y" when ready: y
Creating archive : A:\ASYBRK.A02
Adding C:\ASY\WRK\ASY$$.ARJ starting at position 2823848 98.1%
1 file(s)
Sfarsit procedura salvare modul broker ASYCUDA++
Succes
C:\>
In urma executiei acestei proceduri se va obtine pachetul de instalare a modulului broker, urmand ca acesta sa fie instalat pe calculatoarele de la sediul comisionarului vamal.
Instalare pe calculatorul local a pachetului cu modulul broker |
Instalarea pe calculatorul local a pachetului cu modulul broker consta in restaurarea componentelor de pe discheta si dezarhivarea arhivei cu toate structurile necesare.
Instalarea modulului comporta doua aspecte:
instalarea initiala
proceduri de punere la zi a pachetului.
Instalarea initiala |
Se numeste initiala, instalarea facuta pentru prima oara pe o masina, pe care, deci, nu exista creata structura de directoare si subdirectoare ASYCUDA++ si nu exista programul de tratare a arhivei cu modulul broker.
Programul (scriptul) care face instalarea initiala se numeste InstBrk si el se gaseste intotdeuna pe discheta cu eticheta Disc_1. Ca atare dupa ce se introduce discheta cu eticheta Disc_1 in unitatea corespunzatoare se lanseaza InstBrk care creaza toata structura utilizata de modulul broker pe dispozitivul sau directorul specificat pe linia de comanda, ca in exemplul urmator, in care se doreste crearea structurii pe dispozitivul C:
C:\>a:\InstBrk C:
Script instalare Modul Broker
*
Versiune 1.0 Iunie 1997
Copyright (c) LogicLab Ltd.
*
Instalarea se va face pe discul c:
A Instalarea se face de pe unitatea de discheta a:
B Instalarea se face de pe unitatea de discheta b:
Alegeti unitatea de discheta :[A,B]?A
Puneti discheta cu eticheta Disc_1 in unitatea A: si apasati o tasta.
Press any key to continue . . .
Nota
Trebuie retinut ca acest program creaza structura specifica de directoare si subdirectoare utilizata de modulul ModBrk si este utilizat numai la prima instalare a produsului. In caz contrar el va semnala mesaje de eroare legate de existenta directoarelor pe care incearca sa le creeze. De asemenea, trebuie retinut ca parametrul de pe linia de comanda ( dispozivul sau directorul in care se face instalarea) este obligatoriu.
Daca se face instalarea initiala atunci programul de instalare InstBrk va face un apel corespunzator la programul de dezarhivare, care va finaliza intreaga operatie de instalare.
Proceduri de punere la zi a pachetului |
Pentru procedura de punere la zi a pachetului se pleaca de la premiza ca programul care face aceasta operatie, RestArh, se afla deja in directorul \ASY\SYS\BIN de pe dispozitivul pe care se gaseste structura de directoare si subdirectoare utilizata de modulul broker.
Procedura de punere la zi a pachetului consta in dezarhivarea arhivei salvate pe dischete. Se pleaca de la premisa ca programul directoare utilizata de modul. La instalarea initiala a pachetului programul de instalare face un apel direct la acest program. Modul de apel al programului este urmatorul:
RestArh destinatie sursa
Unde destinatie este adtesa dispotivului sau directorului in care se gaseste structura de directoare a modulului broker, iar sursa este adresa unitatii de discheta pe care se gaseste discheta etichetata cu Disc_1.
Un exemplu de aplicare a acestei proceduri este urmatorul. Dupa ce se introduce discheta cu eticheta Disc_1 in unitatea de discheta, de exemplu A: iar structura de directoare a modulului a fost creata pe dispozitivul C: se tipareste urmatoarea linie de comanda:
c:\>RestArh C: A:
*
Script Restaurare Modul Broker
*
Versiune 1.0 Iunie 1997
Copyright (c) LogicLab Ltd.
*
Restaurarea se va face pe discul c:
Asteptati pentru dezarhivare
ARJ 2.41 Copyright (c) 1990-93 Robert K Jung. Jun 03 1993
All Rights Reserved. U.S. Patent No. 5,140,321 and patent pending.
*** This SHAREWARE program is NOT REGISTERED for use in a business, commercial,
*** government, or institutional environment except for evaluation purposes.
Processing archive: A:\ASYBRK.ARJ
Archive created: 1997-06-07 16:13:26, modified: 1997-06-07 16:13:26
Extracting ASY\WRK\ASY$$.ARJ to C:\ASY\WRK\ASY$$.ARJ Continued o
n next volume, OK
1 file(s)
Insert diskette with next volume (1). Enter "Y" when ready:Y
Dupa ce se inlocuieste discheta cu cea etichetata cu Disc_2, se tasteaza "Y" urmat de <Enter> si procedura continua cu parcurgerea tuturor dischetelor pana se obtine mesajul urmator:
Insert diskette with next volume (1). Enter "Y" when ready: y
Processing archive: A:\ASYBRK.A01
Archive created: 1997-06-07 16:18:48, modified: 1997-06-07 16:18:48
Extracting ASY\WRK\ASY$$.ARJ to C:\ASY\WRK\ASY$$.ARJ at position
Continued on next volume, OK
1 file(s)
Insert diskette with next volume (2). Enter "Y" when ready: y
Processing archive: A:\ASYBRK.A02
Archive created: 1997-06-07 16:20:10, modified: 1997-06-07 16:20:10
Extracting ASY\WRK\ASY$$.ARJ to C:\ASY\WRK\ASY$$.ARJ at position
OK
1 file(s)
Asteptati pentru crearea structurilor modulului.
Operatie terminata.
Tastati ModBrk pentru activarea modulului broker.
In acest moment instalarea este terminata iar modulul broker este operational, el putand fi apelat cu numele ModBrk. Daca se face instalarea initiala dupa ce se va restaura arhiva, dupa mesajul de mai sus se va mai receptiona mesajul:
Insert disk with batch file
Press any key to continue . . .
dupa care trebuie sa introduceti discheta cu eticheta Disc_1 sa apasati o tasta si abia astfel instalarea va fi terminata.
Nota
Trebuie retinut ca cei doi parametri de pe linia de comanda sunt obligatorii si omiterea lor duce la rezultate necontrolabile, oricum eronate.
In cazul in care nu se introduce discheta cu numarul de secventa cerut se va receptiona urmatorul mesaj de eroare:
ARJ 2.41 Copyright (c) 1990-93 Robert K Jung. Jun 03 1993
All Rights Reserved. U.S. Patent No. 5,140,321 and patent pending.
*** This SHAREWARE program is NOT REGISTERED for use in a business, commercial,
*** government, or institutional environment except for evaluation purposes.
Processing archive: A:\ASYBRK.ARJ
Archive created: 1997-06-07 16:13:26, modified: 1997-06-07 16:13:26
Extracting ASY\WRK\ASY$$.ARJ to C:\ASY\WRK\ASY$$.ARJ Continued o
n next volume, OK
1 file(s)
Insert diskette with next volume (1). Enter "Y" when ready: y
Can't open A:\ASYBRK.A01
Insert diskette with next volume (1). Enter "Y" when ready:
Urmand a se introduce discheta corespunzatoare numarului de secventa cerut.
Concluzii |
In urma executarii celor doua proceduri se pot trage urmatoarele concluzii:
procedurile de creare pachet de instalare si instalare sunt proceduri simple si usor de intretinut si reglat de specialistii in tehnoligia informatiei astfek incat sa le satisfaca cerintele proprii.
Exemplele prezentate nu trebuies privite ad-literam in ceea ce priveste valorile afisate. Ele sunt numai pentru a ghida persoana ce executa procedurile respective si nu se constituie intr-un etalon obligatoriu.
|
& |
Procedurile sunt scripturi cu comenzi shell DOS. Ele utilizeaza mai multe setari, de aceea in cazul in care zona de environment DOS este saturata exista posibilitatea ca procedurile sa nu poata fi executate receptionandu-se mesaje de eroare de genul "Out of environment space". In aceste cazuri este indicat a se mari zona de environment DOS introducand in fisierul CONFIG.SYS, din radacina partitiei DOS bootabile (exemplu C:\), comanda:
SHELL=C:\DOS\COMMAND.COM C:\DOS\ /p /e:dim_env
unde dim_env este cu cel putin 256 mai mare decat valoarea anterioara.
De exemplu, daca pana la aceasta operatie nu exista introdusa aceasta comanda in fisierul Config.sys, se poate utiliza pentru dim_env valoarea 512 (sau mai mare). Dupa executarea procedurii ea se poate anula pentru a restitui spatiul alocat memoriei de lucru.
De asemenea, este bine ca, tot la nivelul fisierului Config.sys, variabila FILES sa aiba cel putin valoare 60 (FILES=60).
Pentru ca programul sa poata fi apelat de oriunde, nu numai din directorul \asy\sys\bin, trebuie adaugata, in fisierul Autoexec.bat, la comanda PATH calea catre directorul \asy\sys\bin. Un exemplu de configurare in care se considera ca dispozitivul pe care s-a instalat structura modulului broker este C, poate fi urmatorul:
PATH C:\DOS;C:\WINDOWS;C:\NORTON...
SET PATH=C:\ASY\SYS\BIN;%PATH%
|