ALEGEREA PUTERII MOTOARELOR ELECTRICE
DE ACŢIONARE
Alegerea puterii motorului de actionare a unui
mecanism naval se face considerând cunoscută variatia în timp a cuplului
de sarcină
, a mecanismului respectiv.
Alegerea corectă a puterii motoarelor electrice are mare importantă, atât din punct de vedere al functionării si utilizării acestora, cât si din cel al pierderilor de energie în reteaua de alimentare.
Subdimensionarea motoarelor electrice determină supaîncălzirea si deteriorarea rapidă a izolatiilor. În acelasi timp, cuplul de pornire si capacitatea de supraîncărcare devin mai mici si conduc la reducerea productivitătii masinilor de lucru, mai ales a acelora care necesită porniri frecvente.
Supradimensionarea motoarelor creste inutil cheltuielile de investitie, reduce randamentul si în cazul motoarelor asincrone si factorul de putere.
În cele mai multe cazuri, puterea motorului electric se alege tinându-se seama de încălzirea lui si apoi se verifică la suprasarcină. Sunt însă cazuri, mai ales în actionările electrice navale în care motorul electric se alege pe baza puterii de vârf si se verifică ca încălzirea să nu depăsească limita impusă în regim permanent.
Încălzirea si răcirea motoarelor electrice
Încălzirea motorului electric este cauzată de pierderile: în cupru (prin efect Joule-Lenz), în fier si mecanice, care iau nastere în el la transformarea energiei electrice în energie mecanică. Dintre aceste pierderi, unele sunt constante fiind independente de gradul de încărcare al motorului, în timp ce altele sunt variabile, depinzând de gradul de încărcare al acestuia. În tabelul 7.1. sunt indicate pierderile si mărimile de care depind ele.
Datorită pierderilor care au loc în masină, având la pornire temperatura mediului ambiant, aceasta va începe să se încălzească. La început, cea mai mare parte din căldură este înmagazinată în părtile componente ale masinii, ridicând temperatura acestora, restul fiind evacuată în mediul înconjurător.
Pe măsură ce temperatura masinii creste, căldura cedată mediului ambiant creste, pentru o anumită încălzire, căldura cedată devenind egală cu cea produsă. În acest moment se atinge echilibrul termic si temperatura masinii rămâne stationară la o valoare numită "temperatura de regim".
Tabelul 1.
|
Denumirea pierderilor |
Componenta pierderilor |
Proportionale cu: |
|
|
Pierderi constante |
Pierderi în fier |
Histerezis magnetic |
|
|
Curenti turbionari (Foucault) |
|
||
|
Pierderi mecanice (prin frecare) |
Ventilatie |
|
|
|
În lagăre |
|
||
|
Perii (colector sau inele de contact) |
|
||
|
Pierderi variabile |
Pierderi în cupru (prin efect Joule-Lenz) |
Rezistenta înfăsurărilor statorice si rotorice |
|
|
Rezistentele de contact perii-colector, perii-inele |
|
||
Legendă:
Bmax - amplitudinea inductiei magnetice în miezul feromagnetic;
n - turatia motorului;
f - frecventa curentului;
d - grosimea tolei;
R - rezistenta activă a înfăsurărilor;
I - valoarea efectivă a curentului de sarcină;
- căderea de tensiune perii-colector
sau perii-inele de contact.
Functionarea corectă a masinilor electrice impune anumite "temperaturi limită de regim", care sunt functie de clasele de izolatie ale înfăsurărilor acestora. Aceste temperaturi limită de regim constituie supratemperaturi sau "încălziri admisibile" pentru diferite părti componente ale masinilor electrice, fixate în ipoteza că temperatura mediului înconjurător este de +40°C, iar atitudinea la care functionează este maxim 1000m fată de nivelul mării.
În tabelul.2. sunt indicate supratemperaturile admisibile standardizate în °C - STAS 1893-72, care pentru izolatia înfăsurărilor nu trebuie depăsite în orice punct al acestora, în caz contrar, viata izolatiei, de circa 15ani, scăzând foarte rapid.
Tabelul.2.
|
Partea componentă a masinii |
Clasa de izolatie |
||||
|
A |
E |
B |
F |
H |
|
|
Înfăsurările de c.a. si c.c. ale masinilor cu puteri nominale sub 5000kW sau 5000kVA |
|
|
|
|
|
|
Înfăsurări izolate, închise în mod continuu asupra lor însele |
|
|
|
|
|
|
Miez magnetic si alte părti în contact cu înfăsurările |
|
|
|
|
|
|
Colectoare si inele de contact protejate sau nu |
|
|
|
|
|
Calculul încălzirii masinilor electrice presupune determinarea temperaturilor de regim si compararea cu supratemperaturile admisibile standardizate.
Pierderile totale din motor sunt determinate de randamentul masinii care variază cu încărcarea motorului. Pentru o anumită sarcină a motorului, randamentul va fi:
de unde rezultă:
în care s-a notat cu:
P2 - puterea utilă la arbore;
h - randamentul motorului corespunzător puterii P2.
Dacă notăm cu Q cantitatea de căldură care se degajă în masină în unitatea de timp, ea este egală cu suma pierderilor din masină:
În calculul încălzirii masinii electrice, vom considera 20520j911u că acesta este un corp omogen cu conductivitatea termică perfectă, coeficientul de transmisie a căldurii având aceeasi valoare în toate punctele prin care se evacuează căldura.
Cedarea de căldură în mediul înconjurător are loc prin: conductie, convectie si radiatie, prima fiind proportională cu supratemperatura (diferenta dintre temperatura masinii si cea a mediului ambiant), cea de-a doua cu supratemperatura la puterea 1,25 si ultima cu supratemperatura la puterea a patra.
Totusi la examinarea proceselor termice ale masinii, pentru simplificare vom considera că cedarea de căldură este proportională cu puterea întâi a supratemperaturii, deoarece rolul principal îl are aici cedarea de căldură prin conductie si convectie.
În aceste conditii, ecuatia diferentială a încălzirii masinii are forma:
|
|
![]()
adică cantitatea de căldură
degajată de masină în intervalul de timp dt este egală cu cantitatea de
căldură cedată partial de masină mediului înconjurător si
cantitatea de căldură absorbită de masină,
pentru ridicarea temperaturii cu
În ecuatia (7.1) s-a notat cu:
|
|
Separând variabilele în ecuatia (7.1) se obtine:
rezultă:
|
|
si rezolvând ecuatia în raport cu q se obtine:

sau
|
|

în care
reprezintă
Din
ecuatia (7.4) pentru
rezultă:
|
|
![]()
si
deci încălzirea de regim se obtine după un timp teoretic infinit. Practic,
echilibrul termic se consideră atins după
Introducând (7.5) în (7.4) se obtine:
|
|

care reprezentată grafic conduce la curba (1) din figura 7.1.
Fig. 7.1.
Dacă în
momentul pornirii temperatura masinii era egală cu cea a mediului
înconjurător, atunci supratemperatura initială
si ecuatia încălzirii devine:
|
|

care reprezentată grafic conduce la curba (2) din figura 7.1.
Totodată, numeric, T
reprezintă acel timp în care masina cedând căldură mediului înconjurător,
atinge o crestere a temperaturii egală cu
Într-adevăr, din ecuatia (7.7), pentru t = T rezultă:
|
|
![]()
Practic,
În tabelul 7.3. se indică orientativ valorile constantei de timp a încălzirii în functie de tipul constructiv al masinii.Tabelul.3.
|
Masini cu ventilatie exterioară, fortată |
|
|
Motoare asincrone în scurtcircuit cu autoventilatie, cu diametrul rotoric de 105-140mm |
|
|
Motoare asincrone cu rotor bobinat de executie deschisă, cu diametrul rotoric de 150-600mm |
|
|
Masini deschise cu autoventilatie, cu diametrul rotoric de 600-2000mm |
|
|
Masini capsulate, cu diametrul rotoric de 400-600mm |
|
|
Motoare de curent continuu, de executie deschisă, cu diametrul rotoric de 400-600mm |
|
|
Masini electrice mici capsulate |
|
Dacă masina
lucrează în regim de durată cu încărcarea nominală Pn, căreia îi
corespund pierderile Qn, în ipoteza că încălzirea începe de la
, temperatura ei va creste conform
relatiei:
temperatura maximă atinsă în cazul stabilirii echilibrului termic fiind:
Dacă acelasi
motor lucrează tot în regim de durată, însă cu sarcina
, căreia îi corespund pierderile
, sau cu sarcina
, căreia îi corespund pierderile totale
, atunci curbele de încălzire ating temperaturile de regim
si
, asa cum se constată în figura 7.2.
Considerând
că temperatura maximă admisă pentru clasa de izolatie a motorului este
, rezultă că în cazul când acesta functionează
în regim de durată cu sarcina
si
, el va fi subîncărcat din punct de vedere termic,
fiind incomplet utilizat.
Dacă însă motorul
functio-nează în regim de durată cu sarcina
si
) după un timp t1.
Practic, acest fapt este foarte important, deoarece el arată că motorul poate
fi supraîncărcat, însă numai pentru un interval scurt de timp t1,
fără a depăsi temperatura maximă.
Dacă după un timp de functionare se întrerupe alimentarea motorului
electric, acesta va începe să se răcească. Fiind decuplat de la retea,
pierderile în motor si deci cantitatea de căldură degajată în motor în
unitatea de timp
În această situatie, ecuatia echilibrului
termic (7.1) devine:
|
|
![]()
|
|
![]()
Integrând membrul
stâng al ecuatiei (7.10) între 0 si valoarea curentă t a timpului,
iar membrul drept între valoarea supratemperaturii de la care începe răcirea
si
valoarea curentă q
|
|
![]()
|
|
![]()
reprezintă constanta de timp termică a
răcirii. Deoarece A'<A, constanta de timp termică a răcirii T' este mai mare
ca constanta de timp termică a încălzirii T.
Ecuatia
(7.12) este repre-zentată grafic în figura 7.3. din care se observă că răcirea
masinii este descrisă ca o curbă exponen-tială descrescătoare, având
ca punct initial punctul de coordonate
si
si tinzând asimp-totic la axa absciselor,
adică temperatura masinii tinde să ajungă la temperatura mediului
încon-jurător (
si prin urmare
. În acest caz curba (2)
de încălzire a masinii (fig. 7.1.) si curba de răcire (fig. 7.3.) sunt
simetrice în raport cu orizontala de ordonată
Servicii de functionare
Regimul de functionare al unei masini electrice constă din ansamblul valorilor numerice ale mărimilor electrice si mecanice care caracterizează functionarea sa la un moment dat.
Serviciul de functionare al unei masini electrice constă în precizarea succesiunii si duratei de mentinere a regimurilor care îl compun.
Serviciul tip de functionare al unei masini electrice reprezintă un serviciu de functionare conventională care este caracterizat printr-o succesiune standardizată a regimurilor sale componente.
În sistemele electrice de actionare, motoarele sunt obligate să functioneze în diferite servicii, impuse de procesul tehnologic si de productivitatea masinilor de lucru.
În practica constructiei motoarelor electrice, acestea sunt proiectate pentru un anumit serviciu nominal, care reprezintă un serviciu de functionare tip, atribuit acestora, la care ele corespund integral.
Dintre cele opt servicii tip, definite ca servicii nominale standard în STAS 1893-72, în cazul motoarelor de actionare a mecanismelor navale se întâlnesc mai frecvent următoarele:
continuu - S1; de scurtă durată - S2 si intermitent periodic - S3.
În figura 7.4 sunt reprezentate grafic cele trei servicii de functionare amintite, indicându-se variatia în timp a pierderilor totale de putere Q, a încălzirii q si a vitezei unghiulare W
, suficient pentru ca echilibrul termic să fie atins.
În acest
interval de timp diferitele părti ale motorului ajung la
supratemperaturile lor de regim stationar. Desi la pornire pierderile
totale de putere sunt mai mari decât pierderile de durată, influenta
acestei majorări asupra procesului termic al motorului este neglijabilă,
pornirile având loc la intervale mari de timp.
Un astfel de serviciu corespunde motoarelor de actionare a pompelor ce deservesc motorul principal de mars si motoarele auxiliare, compresoarelor, ventilatoarelor etc.
Serviciul
de scurtă durată notat conventional cu indicativul S2, se
caracterizează printr-o functionare aperiodică a motorului cu sarcină
constantă într-un interval de timp
, inferior deci celui
necesar atingerii echilibrului termic.
Motorul este deconectat apoi de la retea, o perioadă de timp
suficientă ca el să se răcească până la
temperatura mediului ambiant, o nouă functionare având loc după răcirea completă
a sa. Duratele standardizate pentru intervalul activ de timp ta sunt
10, 30, 60 si 90 minute.
Un astfel de serviciu corespunde motoarelor de actionare a vinciurilor de ancoră, vinciurilor traul etc.
Serviciul
intermitent periodic notat conventional cu indicativul S3, se
caracterizează printr-o functionare ciclică a motorului electric, un ciclu
de durată tc fiind compus dintr-un timp activ ta, în care
motorul este încărcat cu o sarcină constantă si un timp de t0.
Deoarece sunt îndeplinite conditiile
si
, rezultă că nu se
atinge echilibrul termic în cursul unui ciclu de functionare. Încălzirea
motorului nu este influentată de către porniri sau frânări.
Un astfel de serviciu corespunde motoarelor de actionare a vinciurilor de încărcare-descărcare.
STAS 1893-72 mai precizează că dacă frecventa de conectare este mai mare decât sase se adoptă una din valorile 60, 90, 120, 240, 360, 480 sau 600 de conectări pe oră.
3. Alegerea puterii motoarelor electrice de actionare,
functionând în serviciu continuu
Motoarele electrice ce functionează în serviciu continuu pot fi încărcate cu sarcini constante sau variabile în timp, în functie de natura mecanismului de lucru actionat.
Motorul trebuie astfel ales încât să functioneze o perioadă oricât de îndelungată, fără ca supratemperatura părtilor lui componente să depăsească valorile admisibile. Alegerea motorului în acest serviciu se face în functie de caracterul sarcinii: constantă sau variabilă în timp.
3.1. Alegerea puterii motoarelor electrice functionând în
|
|

|
|

|
|
![]()
Dacă puterea mecanismului nu este cunoscută initial (cazul pompelor, ventilatoarelor etc.), puterea de calcul Pc se determină cu ajutorul unor formule empirice rezultate din experienta de cercetare si productie.
La mecanismele insuficient cunoscute, puterea de calcul se determină prin ridicarea diagramelor de sarcină cu ajutorul aparatelor înregistratoare montate la instalatiile similare existente în exploatare.
3.2. Alegerea motoarelor electrice functionând în serviciu
în timpul unui ciclu de functionare,
cărora le corespund intervalele de timp
(fig. 7.5.). Această metodă se bazează pe
observatia des confirmată în practică, că în regim termic stabilizat,
încălzirea atinsă de motor la sfârsitul unui ciclu de functionare nu
diferă de încălzirea medie pe ciclu. În aceste conditii este posibilă
înlocuirea diagramei reale de sarcină în care pierderile variază în timp, cu
una echivalentă, în care pierderile se consideră constante, egale cu Qe,
încălzirea masinii la sfârsitul ciclului de functionare tc
fiind aceeasi în ambele cazuri, egală cu qn
În cazul diagramei de sarcină reale, variatia supratemperaturii motorului, în baza relatiei (7.4) are loc conform relatiilor:
|
|

În ipoteza că motorul functionează în serviciu continuu cu o sarcină constantă, căreia îi corespund pierderile constante Qe, supratemperatura atinsă de motor la sfârsitul ciclului tc va fi:
|
|

Egalând termenii din partea dreaptă a ultimei relatii din egalitătile (7.16) si relatiei (7.17) se obtine:
|
|

Înlocuind în (7.18)
pe
cu valoarea sa
în functie de
din
egalitătile (7.16), pe
cu valoarea sa
în functie de
si
asa mai departe, se obtine:
|
|

Dezvoltând termenii
în serie
si retinând numai primii doi termeni ai fiecărei serii, (7.19)
devine:
|
|
![]()
Înmultind
relatia (7.20) cu
si
tinând seama de faptul că
, rezultă în final:
|
|

Aproximatia dată de relatia (7.21) este suficientă dacă
Metodica de calcul pentru aplicarea metodei pierderilor medii este următoarea:
|
|

reprezintă
randamentul motorului la puterea utilă Pk din intervalul de timp tk;
|
|
![]()
din diagrama reală si pentru care
motorul, functionând în serviciu continuu, nu va depăsi încălzirea
maximă admisă
Determinarea valorii curentului echivalent Ie se face în baza relatiei (7.21) tinând seama că pierderile totale de putere se compun din pierderile constante qc, care nu depind de sarcină si pierderile variabile qxv care variază cu pătratul curentului de sarcină. În aceste conditii relatia (7.21) devine:
|
|

|
|
![]()
ecuatia (7.24) devine:
|
|

|
|

|
|

Curentul Ie calculat cu
relatia (7.28), este echivalent în sensul că, având valoarea constantă la
functionarea de durată, produce aceeasi încălzire ca si
curentii
După cum se remarcă, metoda curentului echivalent este simplă si aproape singura metodă folosită în practică pentru alegerea puterii motorului functionând cu sarcini de durată variabile în timp. Eroarea care se comite prin aplicarea acestei metode este practic neglijabilă, ea provenind din faptul că în tot timpul functionării motorului pierderile în fier si prin frecare sunt considerate constante.
În deducerea relatiei (7.28) s-a considerat că pe tot parcursul
ciclului de functionare tc, constanta de timp termică T este
inavariabilă iar timpii de functionare la sarcină constantă, deci si
la curent constant, pe diferitele trepte de încărcare sunt mici fată de
constanta de timp
În realitate constanta de timp T variază, la pornire, frânare electrică si în repaus, fiind mai mare decât la functionare cu turatia nominală, deoarece coeficientul de transmisie a căldurii A este mai mic, conditiile de ventilatie înrăutătindu-se.
Astfel, în cazul deconectării motorului de la retea, variatia supratemperaturii masinii, în baza ecuatiei (7.12) este dată de:
|
|
![]()
unde: t0 - durata pauzei;
T' - constanta de timp pentru perioada de pauză.
Pentru a putea considera, atât în timpul functionării cât si în timpul pauzei, aceeasi constantă de timp, trebuie să introducem în ecuatia (7.29) în locul constantei T', constanta de timp termică a încălzirii T. În acest scop se scrie ecuatia (7.29) sub forma:
|
|

unde:
- timpul de pauză
corectat;
- factorul de corectie.
Asadar, la pornire, frânare si în repaus, când
ventilatia este mai slabă
, pentru a considera
este necesar să se modifice timpii
corespunzători, prin introducerea unor coeficienti de corectie
determinati experimental. Pentru simplificare considerăm diagrama de
sarcină din figura (7.6) în care s-a indicat si variatia
turatiei în timp. Din aceasta se observă că în intervalele de timp t1
si t5, când are loc functionarea cu o turatie
mică, respectiv t2 si t4, când produce o accelerare,
respectiv frânarea motorului, ventilatia masinii este mai slabă decât
în intervalul t3, când masina functionează cu turatia
nominală.
|
|
în care factorii de corectie se consideră egali cu:
b b =0,5 si b b =0,75 în cazul motoarelor de c.c. deschise sau autoventilate;
b b =0,25 si b b =0,5 în cazul motoarelor asincrone.
După determinarea curentului echivalent Ie se alege din catalogul de motoare electrice destinate serviciului continuu S1, motorul al cărui curent nominal satisface relatia:
|
|
![]()
După alegerea puterii motorului se verifică cuplul de pornire si capacitatea de supraîncărcare. În cazul motoarelor de c.c. se va face verificarea la suprasarcina de curent:
|
|
![]()
în care IMAX reprezintă valoarea maximă a curentului din diagrama de sarcină, iar lI 3) este suprasarcina relativă de curent a motorului ales din catalog.
Dacă conditia (7.33) nu este verificată, se alege din catalog un motor de putere mai mare, tinându-se seama de capacitatea de supraîncărcare a motorului si nu de conditiile de încălzire.
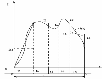
Sunt mecanisme de lucru a căror diagramă de sarcină I= f(t) se prezintăsub forma unei curbe neregulate ca în figura 7.7.
Pentru o astfel de diagramă, curentul echivalent se determină cu relatia:
|
|
Pentru a putea utiliza relatia (7.28), suprafetele triunghiulare si cele trapezoidale din diagramă se înlocuiesc cu suprafete dreptunghiulare echivalente. Pentru suprafetele triunghiulare (intervalul de timp t1 din fig. 7.7), curentul echivalent Ie, se calculează cu relatia (7.34). În intervalul de timp t1 curentul variază liniar conform relatiei:
|
|
I= a · t
în care, cu notatiile din fig. 7.7
|
|
Ţinând cont de (7.35) si (7.36) prin aplicarea relatiei (7.34) rezultă
|
|
Pentru suprafetele trapezoidale(intervalul de timp t5) curentul variază conform expresiei:
|
|
I= b + c · t
în care constantele b si c se determină din conditiile:
|
|
Rezultă deci:
|
|
b=I4
respectiv
|
|
Ţinând seama de (7.38) prin aplicarea relatiei (7.34) se obtine:
si tinând cont de (7.40) si (7.41), rezultă:
|
|
Prin calcularea curentilor
si
, în diagrama de sarcină din
figura 7.7 curba oarecare de variatie a curentului în timp se poate
înlocui printr-o variatie în trepte. În aceste conditii, aplicând
relatia (7.28) se obtine:
|
|
în
care
si
au fost calculati cu relatia (7.37)
respectiv (7.42).
3.2.3. Metoda cuplului si puterii echivalente
|
|
Pentru motoarele de c.c. cu excitatie în derivatie, asincrone, în regim normal de functionare, motoarele de c.a. cu colector si pentru motoarele sincrone, deci pentru motoarele cu caracteristică mecanică rigidă, fluxul inductor F poate fi considerat practic constant si în acest caz relatia (7.44) devine:
M= C·I
|
|
În cazul în care diagrama de sarcină M= f(t) se prezintă sub forma unei curbe oarecare, cuplul echivalent se va calcula, în baza relatiilor (7.34) si (7.45) cu formula:
|
|
După calcularea cuplului echivalent Me se alege din catalogul de motoare electrice destinate serviciului continuu, motorul al cărui cuplu nominal satisface relatia:
|
|
Me MN
Motorul astfel ales se verifică apoi la suprasarcină cu ajutorul relatiei:
|
|
în care MMAX este cuplul maxim din diagrama de sarcină, iar l este coeficientul de supraîncărcare al motorului ales din catalog.
Dacă, cuplul nominal MN ales nu satisface conditiile de pornire sau de supraîncărcare, atunci se alege un motor cu o putere majorată corespunzător.
Uneori în locul metodei cuplului echivalent se poate folosi metoda puterii echivalente. Într-adevăr, tinându-se seama că P= M·W, în ipoteza că puterea motorului pentru diferite încărcări este aproape constantă, ceea ce practic se poate admite în cazul motoarelor de c.c., cu excitatie în derivatie, motoarelor asincrone si îndeosebi în cazul motoarelor sincrone, rezultă că relatia (7.46) se poate scrie sub forma:
|
|
După calcularea puterii echivalente Pe cu relatia (7.50), se poate alege din catalogul de motoare electrice destinate serviciului continuu - S1, motorul a cărui putere nominală PN satisface relatia:
|
|
Pe PN
Relatia (7.50) s-a stabilit în ipoteza că randamentul motorului nu variază cu sarcina si în plus în cazul motoarelor de c.a. cosj
Datorită acestor ipoteze simplificatoare, metoda puterii echivalente duce la rezultate mai putin precise ca celelalte metode, motiv din care nu se recomandă utilizarea ei decât orientativ. Din punct de vedere al preciziei cea mai recomandabilă este metoda curentului echivalent. De obicei metoda puterii echivalente se aplică atunci când se poate măsura direct puterea absorbită.
4. Alegerea puterii motoarelor electrice de actionare
functionând în serviciu de scurtă durată
Serviciul de scurtă durată se caracterizează prin faptul că în timpul functionării temperatura motorului nu poate atinge valoarea stationară, durata actionării fiind mică (ta<3T), iar pauza este suficient de mare (t0>3T'), asigurându-se astfel răcirea motorului până la temperatura mediului înconjurător.
La alegerea puterii motorului de actionare trebuie să se aibă în vedere faptul că nu este recomandabilă folosirea unui motor construit pentru functionare în serviciu continuu - S1 în serviciu de scurtă durată - S2. Pentru a demonstra acest lucru considerăm că un motor de putere nominală PN destinat functionării de durată este pus să functioneze în serviciu de scurtă durată un timp ta, fără ca încălzirea maxim admisă - Qmax să fie depăsită .
În cazul functionării motorului în serviciu continuu, supratemperatura maximă, atinsă după un timp teoretic infinit, conform relatiei(7.7) va fi:
|
|
în care QN reprezintă, pierderile în serviciu continuu.
În serviciul de scurtă durată, încărcând motorul cu sarcină la arbore PS>PN, supratemperatura va atinge valoarea de regim stationar Qmax după un timp ta, conform (7.7) si (7.5) fiind:
|
|
în care QS reprezintă pierderile în serviciu de scurtă durată (QS>QN).
Din ecuatiile (7.52) si (7.53) rezultă:
de unde:
|
|
Notând cu pt=QS/QN raportul între pierderile în serviciul de scurtă durată, respectiv lungă durată si pierderile în serviciul continuu, denumit suprasarcină relativă termică, relatia (7.54) devine:
|
|
Cunoscând suprasarcina termică pt se poate determina suprasarcina relativă mecanică pM:
|
|
unde pS si pN reprezintă puterile în serviciul de scurtă, respectiv lungă durată.
Prin alegerea unor motoare destinate serviciului continuu, pentru functionarea în serviciul de scurtă durată, coeficientul de suprasarcină l(suprasarcina electrică) s-ar reduce mult ceea ce ar reprezenta dificultăti în exploatare.
Astfel, se constată că un motor cu l=2,2 în serviciu continuu, pus să functioneze în serviciul de scurtă durată cu suprasarcina relativă termică pt=2, îsi va produce suprasarcina electrică la valoarea l
Din acest motiv, motoarele destinate să lucreze în serviciu de scurtă durată au o constructie specială, asigurând o capacitate de supraîncărcare electrică mai mare(l 2), înfăsurările lor fiind executate potrivit acestor solicitări. Ele trebuie deci alese după un catalog special, al seriei de motoare destinate serviciului de scurtă durată. Din această categorie fac parte motoarele de actionare a vinciurilor de ancoră, cabestanelor, vinciuri-lor traul etc.
Alegerea motoarelor de actionare a mecanismelor navale cu sarcini de scurtă durată, se face pe baza puterii de vârf urmând apoi a fi verificate la încălzire printr-una din metodele echivalente, de obicei a cuplului sau curentului echivalent.
Fig. 7.8.
De exemplu, în cazul motorului de actionare a vinciului de ancoră, a cărui diagramă de sarcină
|
|

în care l 2 este coeficientul de suprasarcină, iar MSMAX este cuplul de sarcină maxim.
Solicitarea maximă a motorului poate să apară în următoarele situatii:
a) la smulgerea ancorei de pe fundul apei în care caz MSMAX=MSM=MIII; cuplul necesar smulgerii ancorei de pe fundul apei calculându-se cu relatia:
|
|
în care:
Rb m - raza barbotinei;
hmec - randamentul transmisiei mecanice;
hn - randamentul narei de ancoră;
i - raportul de transmisie al vinciului de ancoră;
Fsm - forta necesară smulgerii ancorei de pe fundul apei, care
se calculează cu formula empirică:
|
|
unde: ka=(3 4) - coeficientul de tinere al ancorei;
q N/m - greutatea liniară a unui metru de lant în aer;
H m - adâncimea în locul de stationare;
G N - greutatea ancorei în aer;
b) la virarea (ridicarea) ancorei de la o adâncime egală cu lungimea totală a lantului, în care caz:
|
|
unde L m este lungimea totală a lantului de ancoră;
c) la ridicarea simultană a două ancore suspendate liber, de la jumătatea adâncimii conventionale a apei, în care caz:
Se determină turatia nominală de calcul:
nc = nmed Y rot/min
în care:
VI med m/min - viteză medie impusă de virare a ancorei
Y=1-sn
sn- valoare estimată a alunecării nominale după catalogul din care
se alege motorul electric.
Se determină puterea nominală de calcul:
Se alege din catalogul de motoare destinate functionării în serviciu de scurtă durată - S2 pentru durata de functionare ta=30 min., motorul ai cărui parametri nominali satisfac relatiile:
PN PC si nN nC
Se verifică dacă cuplul maxim al motorului ales, la turatia mică în cazul motorului cu trei trepte de viteză este mai mic decât 1/3 din valoarea la care lantul de ancoră se poate rupe:
unde Fr N este forta de rupere a lantului de ancoră;
Se verifică posibilitatea pornirii motorului la turatia medie, când ancora este suspendată la o adâncime egală cu lungimea totală a lantului:
MP CATALOG 1,5 ML
în care ML a fost calculat cu relatia (7.60), coeficientul 1,5 tinând seama de posibilitatea micsorării tensiunii de alimentare si cresterea frecărilor în acest caz;
Se determină valorile cuplului de sarcină în fiecare din cele patru etape de virare a ancorei si duratele respective si în baza lor se construieste diagrama de sarcină din figura 7.8.;
Se face verificarea la încălzire a motorului ales utilizându-se metoda cuplului echivalent. În acest scop, se împarte diagrama de sarcină într-o serie de portiuni elementare si în baza celor arătate în paragraful 7.3.2.2., utilizând relatia (7.46) se poate scrie (dacă se consideră MIII=MSM):
Cuplul echivalent calculat cu relatia (7.69) trebuie să satisfacă conditia:
Me MN
caz în care motorul ales corespunde si din punct de vedere al încălzirii maxim admise.
Dacă una din conditiile de verificare nu este îndeplinită, se alege un alt motor de putere nominală imediat superioară si se reface calculul descris.
Alegerea puterii motoarelor electrice de actionare
functionând în serviciu intermitent
Serviciul intermitent se caracterizează prin aceea că motorul este conectat la retea si functionează un timp ta, după care este deconectat urmând o perioadă de pauză t0 când motorul este oprit. În figura 7.9. este prezentată o diagramă de sarcină din care se observă că intervalele de functionare alternează cu intervalele de pauză. De remarcat că în timpul functionării temperatura motorului nu atinge valoarea stationară, deci ta<(3 4)T, iar în timpul pauzelor motorul nu se poate răci până la temperatura mediului ambiant, adică t0<(3 4)T'. Durata unui ciclu, până la care functionarea se consideră intermitentă, este standardizată la valoarea tc=10 min.
O mărime importantă ce caracterizează functionarea motoarelor în serviciu intermitent este durata relativă de actionare DA:
sau în procente:
pentru care s-au fixat următoarele valori standardizate: 15%, 25%, 40% si 60%. În cazul diagramei de sarcină din figura 7.9.:
Alegerea puterii motorului de actionare functionând în serviciu intermitent se face pe baza puterii de calcul, rezultată din procesul tehnologic de productie ce trebuie executat. Utilizând datele de proiectare, motorul fiind în prealabil ales, se construieste diagrama de sarcină M=f(t) sau I=f(t) si se verifică la încălzire prin metoda cuplului sau curentului echivalent. Dacă ciclurile nu sunt identice, ci diferă mult ca încărcare,
a) după un catalog de motoare destinate functionării în serviciu continuu - S1
Se aplică atunci când DA>0,6 deoarece în acest caz
capacitatea de supraîncărcare a motorului este aproape egală cu unitatea.
Verificarea la încălzire a motorului, ales pe baza puterii necesare în regim
stationar, se face prin metoda cuplului sau curentului echivalent,
tinându-se seama de întreg ciclul de functionare
Aplicând metoda cuplului echivalent pentru diagrama de sarcină din figura 7.9, conform relatiei (7.46) se poate scrie:
Este
evident că pe durata pauzei
deoarece M0=0. De remarcat că numitorul fractiei de sub
radical include si timpul de pauză t0.
Dacă cuplul echivalent calculat cu relatia (7.73) satisface conditia:
în care MN reprezintă cuplul nominal al motorului ales, acesta corespunde din punctul de vedere al încălzirii maxime admise. Dacă conditia (7.74) nu se îndeplineste atunci se alege un motor de putere imediat superioară si se reface calculul.
b) după un catalog de motoare destinate functionării în serviciul intermitent - S3
Se aplică când 0,1<DA<0,6 pentru DA<0,1 alegându-se motoare destinate functionării în serviciul de scurtă durată - S2.
Pentru îmbunătătirea conditiilor de functionare, în cazul serviciului intermitent, se fabrică motoare speciale, cu cuplu de pornire si cuplu maxim mărite, pentru care se specifică în catalog durata relativă de actionare. Se precizează că aceste motoare nu se pot încărca la puterea nominală decât într-un interval de timp corespunzător duratei relative de actionare indicate. Astfel, de exemplu, un motor de 10kW construit pentru DA=40% se va putea încărca la puterea nominală timp de maximum 4min., după care urmează o pauză de 6min.
Deoarece constanta de timp termică în perioada functionării (la încălzire) T este diferită de constantă de timp termică T', pentru a utiliza metoda mărimilor echivalente, care presupune T invariabil pe întreg ciclul, se corectează timpul de repaus si se introduce notiunea de durată relativă de actionare raportată (corectată) DAr. Pentru diagrama de sarcină din figura 7.9. durata relativă de actionare raportată va fi:
în care:
este
timpul de pauză corectat;
b = T/T'<1 este factorul de corectie, a cărui valoare este
indicată în tabelul 7.4. pentru motoarele cu diferite
sisteme de răcire.
La proiectarea motoarelor speciale pentru
functionarea cu o anumită durată de actionare standardizată se
tine cont de durata de actionare corectată DAr si
implicit deci de timpul de pauză corectat
. Din acest
motiv, la verificarea la încălzire prin metoda cuplului (curentului) echivalent
al motoarelor alese după cataloage de motoare destinate functionării în
serviciu intermitent nu se va mai lua în considerare timpul de pauză (oprire).
Tabelul 7.4.
Tipul motoarelor |
b |
|
Închise, fără ventilatie |
|
|
Închise, cu răcire independentă |
|
|
Închise, cu ventilatie exterioară proprie |
|
|
Protejate, cu ventilatie interioară proprie |
|
Aplicând metoda cuplului echivalent se poate scrie:
si respectiv:
Puterea echivalentă calculată cu (7.77) trebuie să satisfacă conditia:
în care PN reprezintă puterea nominală a motorului ales.
Asa cum s-a arătat, motoarele electrice destinate functionării în serviciu intermitent sunt proiectate si construite astfel încât puterea lor nominală să corespundă unei anumite durate de functionare standardizată DAN (25% sau 40%).
În practică de cele mai multe ori, durata relativă de actionare reală, calculată după graficul de sarcină, nu coincide cu cea standardizată. În asemenea situatii se determină puterea motorului luând în considerare durata de actionare standardizată cea mai apropiată de cea reală si se recalculează această putere pentru durata de actionare reală. Recalcularea puterii pentru DAr se face tinând cont că la trecerea de la o durată de functionare la alta, puterea echivalentă pentru care se alege motorul trebuie să rămână constantă.
Notând cu PNr si DAr puterea si durata de actionare reală, respectiv cu PNS si DAN, puterea si durata de functionare standardizată, puterea echivalentă în cele două cazuri, în baza relatiei (7.50), va fi:
în care:
Ţinând cont de (7.80), egalitatea (7.79) devine:
din care se obtine:
Deoarece utilizarea relatiei (7.81), care presupune pierderile constante neglijabile, duce la erori destul de mari este necesar a se folosi un coeficient de corectie c, stabilit pe cale experimentală, care să înmultească valoarea puterii PNr corespunzătoare duratei de actionare reale.
În acest caz relatia (7.81) devine:
în care PNC reprezintă putere nominală corectată a motorului ales.
În tabelul 7.5 sunt indicate pentru orientare câteva valori ale coeficientului c, pentru unele tipuri de motoare mai frecvent folosite în practică.
Tabelul 7.5.
TipulMotorului |
DAr [%] |
||||||
|
|
|
|
|
|
|
||
|
Asincron |
Închis |
|
|
|
|
|
|
|
Deschis |
|
|
|
|
|
|
|
|
Curent continuu |
Închis |
|
|
|
|
|
|
|
Deschis |
|
|
|
|
|
|
|
Din puterea nominală corectată se calculează cuplul ce-l poate dezvolta motorul în noile conditii:
Pentru verificare este necesar să fie satisfăcută relatia:
în care Me se determină cu relatia (7.76).
În cazul în care relatia (7.84) nu este satisfăcută se va alege un alt motor cu o putere mai mare.
Din categoria motoarelor electrice destinate functionării în serviciu intermitent fac parte si cele de actionare a vinciurilor de încărcare - descărcare cu bigi de marfă si a cranicelor.
Alegerea puterii motoarelor de actionare a mecanismelor navale cu sarcini intermitente se face pe baza puterii stationare rezultate din procesul tehnologic, verificarea la încălzire făcându-se prin metoda cuplului sau curentului echivalent.
În cazul verificării la încălzire a motorului asincron cu rotorul în scurt circuit, este necesar să se treacă de la cupluri la curenti si să se determine curentul echivalent.
Calculul functiei I1=f(s), presupunând cunoscută caracteristica mecanică naturală n=f(M) sau M=f(s), se face cu ajutorul relatiilor:
respectiv
În cazul motoarelor asincrone cu alunecare mărită, la determinarea functiei I1=f(s) se poate utiliza următoarea expresie:
Pe baza datelor tehnice ale mecanismului se determină puterea statică de ridicare a sarcinii nominale, functie de care se face alegerea preliminară a motorului de actionare din catalogul de motoare destinate serviciului intermitent, corespunzător unei durate relative de actionare DA=40% în cazul unui regim de lucru intens, respectiv DA=25% în cazul unui regim de lucru usor;
Pentru motorul electric ales se scoate din catalog, sau se calculează caracteristica mecanică naturală n=f(M);
Se calculează sub formă tabelară si se construieste diagrama exactă de sarcină a motorului luându-se în considerare si procesele tranzitorii;
Se verifică motorul electric ales din punct de vedere al productivitătii impuse;
Se verifică motorul electric ales la încălzire prin metoda cuplului sau curentului echivalent.
|