ASAMBLĂRI ELASTICE (ARCURI)
DEFINIRE, CLASIFICARE, DOMENII DE FOLOSIRE
Arcurile sunt organe de masini care realizeaza o legatura elastica între anumite piese sau subansamble ale unei masini. Prin forma lor si prin caracteristicile mecanice deosebite ale materialelor din care se confectioneaza, arcurile au capacitatea de a se deforma sub actiunea unei forte exterioare, preluând lucrul mecanic al acesteia si înmagazinându-l sub forma de energie de deformatie. La disparitia sarcinii exterioare, energia înmagazinata este restituita sistemului mecanic din care face parte arcul.
Clasificarea arcurilor se face dupa o serie de criterii, prezentate în continuare.
Dupa forma constructiva, se deosebesc: arcuri elicoidale, arcuri bara de torsiune, arcuri spirale plane, arcuri în foi, arcuri inelare, arcuri disc si arcuri bloc.
Dupa modul de actionare a sarcinii exterioare, clasificarea se face în: arcuri de compresiune, arcuri de tractiune, arcuri de torsiune si arcuri de încovoiere.
Dupa solicitarea principala a materialului, se deosebesc arcuri solicitate la torsiune, la încovoiere si la tractiune-compresiune.
Dupa natura materialului din care este executat arcul, se deosebesc arcuri metalice si arcuri nemetalice.
Dupa variatia rigiditatii, arcurile pot fi cu rigiditate constanta sau cu rigiditate variabila (progresiva sau regresiva).
Dupa forma sectiunii arcului, se deosebesc arcuri cu sectiune circulara, inelara, dreptunghiulara, profilata sau compusa.
Domeniile de folosire ale arcurilor sunt vari 747e46h ate, cele mai importante fiind:
amortizarea socurilor si vibratiilor (la suspensiile autovehiculelor, cuplaje elastice, fundatia utilajelor etc.);
acumularea de energie (la ceasuri cu arc, arcurile supapelor etc.), care apoi poate fi restituita treptat sau brusc;
exercitarea unei forte permanente, elastice (la cuplajele de siguranta prin frictiune, ambreiaje prin frictiune etc.);
reglarea sau limitarea fortelor (la prese, robinete de reglare etc.);
masurarea fortelor si momentelor, prin utilizarea dependentei dintre sarcina exterioara si deformatia arcului (la cântare, chei dinamometrice, standuri de încercare etc.);
modificarea frecventei proprii a unor sisteme mecanice.
MATERIALE sI TEHNOLOGIE
Materialele utilizate în constructia arcurilor se aleg astfel încât sa îndeplineasca o serie de conditii generale, cum sunt: rezistenta ridicata la rupere, limita ridicata de elasticitate, rezistenta mare la oboseala (uneori si rezistenta la temperaturi înalte, rezistenta la coroziune, lipsa proprietatilor magnetice, dilatatie termica redusa, comportare elastica independenta de temperatura etc.).
Materialele feroase dedicate constructiei arcurilor sunt otelurile. Acestea pot fi oteluri carbon de calitate (OLC 55A, OLC 65A, OLC 75A, OLC 85A) sau oteluri aliate (cu Si, pentru rezistenta si tenacitate; cu Mn sau Cr, pentru calibilitate si rezistenta la rupere; cu V, pentru rezistenta la oboseala; cu Ni, pentru termorezistenta). Otelurilor pentru arcuri li se aplica un tratament termic de calire si revenire medie, obtinându-se în acest mod o elasticitate marita în toata masa materialului. Marcile de oteluri pentru arcuri sunt standardizate.
Materialele neferoase se folosesc, de regula, la arcuri care lucreaza în câmpuri electrostatice, pentru care se doreste lipsa proprietatilor magnetice. Cele mai utilizate materiale neferoase pentru arcuri sunt alama si bronzul, dar si anumite aliaje speciale (Monel, Inconel etc.).
Materialele nemetalice utilizate la arcuri sunt cauciucul, pluta etc.
Tehnologia de obtinere a arcurilor depinde, cu precadere, de forma constructiva a acestora. Semifabricatele pentru arcuri elicoidale se prezinta sub forma de sârme, bare, benzi etc.. Forma elicoidala se obtine prin înfasurare la rece (la arcuri cu sectiune mica) sau prin înfasurare la cald (la arcuri cu sectiune mai mare). Tratamentul termic se efectueaza, în general, dupa înfasurare. La arcuri înfasurate la rece, putin solicitate, tratamentul termic se poate face înainte de înfasurare, urmând ca dupa înfasurare sa se efectueze doar operatii de revenire.
Calitatea suprafetei arcurilor este determinanta pentru rezistenta acestora la oboseala. În scopul cresterii durabilitatii arcurilor supuse la solicitari variabile, masurile care se iau sunt: rectificarea suprafetei arcului (dupa tratamentul termic), durificarea stratului superficial (daca nu este posibila rectificarea), acoperirea suprafetei (pentru protectie împotriva coroziunii), evitarea decarburarii suprafetelor în timpul tratamentului termic etc.
CARACTERISTICA ELASTICĂ
Caracteristica elastica a unui arc reprezinta dependenta dintre sarcina exterioara ( forta sau moment de torsiune) care actioneaza asupra sa si deformatia elastica (sageata sau rotire) pe directia sarcinii. În functie de tipul sarcinii exterioare, caracteristica elastica se poate exprima prin una din expresiile F = F(δ) sau Mt = Mt(θ), în care δ reprezinta deformatia liniara a arcului pe directia fortei F (sageata), iar θ - deformatia unghiulara a arcului pe directia momentului de torsiune Mt (rotirea). În fig. 5.1 sunt prezentate cele doua tipuri de caracteristici elastice liniare corespunzatoare celor doua tipuri de sarcini exterioare.
Panta caracteristicii elastice a arcului indica rigiditatea c a arcului, care se detrmina cu una din relatiile (v. fig. 5.1):
![]()
Caracteristica elastica liniara este întâlnita doar la arcuri care lucreaza fara frecare, executate din materiale care respecta legea lui Hooke. Aceste arcuri sunt caracterizate de rigiditate constanta c = const.
O alta marime care caracterizeaza functionarea unui arc este energia de deformatie acumulata, egala, în absenta frecarilor, cu lucrul mecanic al fortei care a provocat deformatia. În fig. 5.1, suprafetele hasurate reprezinta lucrul mecanic de deformatie al arcului încarcat cu forta F3 (v. fig. 5.1,a), respectiv cu momentul de torsiune Mt3 (v. fig.5.1,b). Expresiile lucrului mecanic de deformatie sunt:
respectiv ![]()

Fig. 5.1
Desi arcurile cu caracteristica elastica liniara (rigiditate constanta) sunt cele mai întâlnite, în practica se utilizeaza si arcuri cu rigiditate variabila, la care caracteristica elastica este neliniara (fig. 5.2).
Rigiditatea acestor arcuri se exprima prin una din relatiile:
|
Fig. 5.2 |
Fig. 5.3 |
Caracteristicile cu rigiditate progresiva au panta crescatoare, iar caracteristicile cu rigiditate regresiva au panta descrescatoare. Lucrul mecanic de deformatie al arcurilor cu caracteristica elastica neliniara se exprima sub una din formele (v. fig. 5.2):
Caracteristica elastica la descarcare se suprapune exact peste caracteristica elastica de la încarcare doar daca nu exista frecari între elementele componente.
Daca arcurile sunt realizate din mai multe elemente suprapuse (arcuri în foi, arcuri inelare, arcuri disc) sau daca arcul este realizat dintr-un material cu frecari interne considerabile (arcuri din cauciuc), caracteristica elastica (fig. 5.3) prezinta o diferenta între încarcare si descarcare (asa-numitul "histerezis"). Lucrul mecanic absorbit de arc în timpul încarcarii (suprafata de sub caracteristica de încarcare) este diferit de lucrul mecanic cedat de arc în timpul descarcarii (suprafata de sub caracteristica de descarcare).
Diferenta dintre aceste lucruri mecanice o reprezinta lucrul mecanic consumat prin frecare (suprata închisa de bucla "histerezisului"), care se transforma în caldura si încalzeste arcul. Datorita acestui fenomen, arcurile care prezinta o caracteristica elastica cu "histerezis" au capacitate mai mare de amortizare a socurilor si vibratiilor.
ARCURI ELICOIDALE
Arcurile elicoidale se obtin din sârme sau bare de diverse profile, înfasurate pe o suprafata directoare.
Arcurile elicoidale se clasifica dupa o serie de criterii, prezentate în continuare.
Dupa forma sectiunii spirei, arcurile elicoidale pot fi cu sectiune rotunda, cu sectiune patrata sau dreptunghiulara, cu sectiune profilata;
Dupa forma suprafetei directoare, arcurile elicoidale se împart în arcuri cilindrice, arcuri conice, arcuri dublu conice, paraboloidale, hiperboloidale, prismatice etc.
Dupa modul de actionare a sarcinii, se deosebesc arcuri elicoidale de compresiune, de tractiune si de torsiune.
Standardele reglementeaza, pentru arcuri elicoidale, clasificarea, terminologia si reprezentarea în desenul tehnic.
Arcuri elicoidale cilindrice de compresiune
În fig. 5.4 sunt prezentate câteva solutii de arcuri elicoidale de compresiune, iar în fig. 5.5 sunt prezentate elementele geometrice ale arcurilor cilindrice elicoidale de compresiune cu sectiunea spirei rotunda (fig. 5.5, a) si dreptunghiulara (fig. 5.5, b).

Fig. 5.4
|
a |
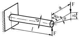
Fig. 5.5 Terminologia utilizata pentru arcurile elicoidale cilindrice de compresiune cu sectiunea spirei rotunda (aplicabila si la sectiune dreptunghiulara a spirei) este: d - diametrul spirei; Di - diametrul interior de înfasurare; Dm - diametrul mediu de înfasurare; D - diametrul exterior de înfasurare; t - pasul spirei; H - lungimea arcului în stare libera; a - unghiul de înclinare al spirei în stare libera. Suprafetele de asezare ale arcurilor elicoidale de compresiune se prelucreaza plan, perpendicular pe axa arcului. Spirele de capat, prelucrate astfel, nu se deformeaza elastic. Numarul total de spire, nt , ale unui arc elicoidal de compresiune se determina cu relatia nt = n + nr , în care n reprezinta numarul de spire active (care participa la deformatia elastica a arcului), iar nr este numarul de spire de reazem (de capat), reglementat în standarde în functie de numarul de spire active: nr = 1,5, daca n 7; nr = 1,5...3,5, daca n > 7. Calculul de rezistenta al arcului elicoidal cilindric de compresiune Schema de calcul a arcului elicoidal cilindric de compresiune cu sectiunea spirei rotunda este prezentata în fig. 5.6. Forta F, care actioneaza în axa arcului, se descompune în doua componente:
Fig. 5.6 Fcosa - perpendiculara pe planul spirei - determina solicitarile de torsiune (data
de momentul de torsiune Fsina - aflata în planul
spirei - determina solicitarile de încovoiere (data de momentul
de încovoiere Deoarece
unghiul de înclinare a spirei are valori mici (a = 6.9 o), deci cosa 1 si sina
0, iar tensiunea de forfecare este
neglijabila, în calcule se considera doar solicitarea de torsiune, cu
momentul Tensiunea de torsiune care apare în spira arcului - considerata de forma unei bare drepte - este Notând
cu
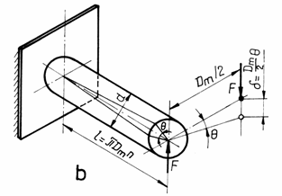
Deoarece distributia tensiunii de torsiune nu este uniforma pe circumferinta spirei, având valori mai mari pe partea de la interiorul curburii (fig. 5.6, b), verificarea arcului la solicitarea de torsiune se efectueaza cu una din relatiile în care k reprezinta coeficientul de forma al arcului, dependent de indicele i al arcului si se poate determina cu relatia Pentru dimensionarea spirei arcului rezulta: Rezistentele admisibile la torsiune tat se aleg [] în functie de materialul arcului, tratamentul termic aplicat, caracterul sarcinii (statica sau oscilanta), conditiile de functionare, importanta arcului în cadrul ansamblului din care face parte, luând valori în intervalul tat = 500.800 MPa. Calculul la deformatii al arcului elicoidal cilindric de compresiune Calculul la deformatii (denumit si calcul de rigiditate) este un calcul specific arcurilor si consta in determinarea deformatiei arcului corespunzatoare unei anumite încarcari. Deformatia arcului elicoidal cilindric de compresiune (sageata) este reprezentata de deplasarea punctului de aplicatie al fortei care îl încarca, pe directia acesteia. Prin desfasurarea spirei arcului sub forma unei bare (fig. 5.7)
Fig. 5.7 de lungime l = pDmn, deformatia este data de lungimea arcului de cerc de-a lungul caruia se deplaseaza forta F. Rasucirea totala a spirei arcului este iar deformatia arcului este unde: n reprezinta numarul de spire active, G - modulul de elasticitate transversal si Ip - momentul de inertie polar al sectiunii spirei arcului. Relatia de determinare a sagetii demonstreaza rolul determinant al indicelui arcului asupra elasticitatii acestuia. Arcurile cu indice mare sunt elastice (usor deformabile), iar cele cu indice mic sunt rigide. Caracteristica elastica
În fig. 5.8 este prezentata caracteristica elastica a unui arc elicoidal cilindric de compresiune. Notatiile folosite în definirea acesteia sunt: H - lungimea arcului în stare libera; F - sarcina initiala, de precomprimare (de montaj); d , H1 - sageata, respectiv lungimea arcului montat, pretensionat cu forta F1; Fmax - sarcina maxima de functionare; dmax, Hmax - sageata, respectiv lungimea arcului sub actiunea fortei Fmax; h - cursa de lucru a arcului; Fb - sarcina limita de blocare a arcului; db, Hb - sageata, respectiv lungimea arcului blocat (comprimat spira pe spira). Datorita neuniformitatii pasului spirelor, la încarcare, unele spire intra în contact mai repede decât altele si, în consecinta, portiunea finala a caracteristicii devine progresiva. Pentru evitarea functionarii pe aceasta portiune neliniara a caracteristicii se recomanda limitarea sarcinii maxime de functionare Fmax (0,8.0,9) Fb. Etapele de proiectare ale unui arc elicoidal cilindric de compresiune sunt prezentate în continuare. Se alege materialul arcului în functie de conditiile de functionare si se stabileste rezistenta admisibila la torsiune. Se efectueaza calculul de rezistenta, în urma caruia se determina diametrul d al spirei, care trebuie sa corespunda unei sârme standardizate. Se efectueaza calculul la deformatii - alegându-se sau adoptându-se numarul de spire active - astfel încât arcul sa asigure conditiile de rigiditate si de gabarit impuse. Se stabilesc dimensiunile geometrice ale arcului si parametrii corespunzatori caracteristicii elastice. Se întocmeste desenul de executie, în conformitate cu rezultatele etapelor anterioare si cu prescriptiile cuprinse în standarde. Arcuri elicoidale cilindrice de tractiune Arcul elicoidal de tractiune preia o sarcina axiala care tinde sa îl întinda. Sarcina se aplica prin intermediul unor ochiuri de prindere, de forma unor cârlige realizate prin deformarea spirelor de capat ale arcului (fig. 5.9, a, b, c si d) sau prin intermediul unor piese separate (fig. 5.9, e si f). Spira arcului elicoidal de tractiune este solicitata, în principal, la torsiune la fel ca spira arcului elicoidal de compresiune. Calculul de rezistenta al arcului elicoidal de tractiune se efectueaza pe baza relatiilor prezentate în subcap. 5.4.1. În calculul arcurilor elicoidale de tractiune se recomanda sa se lucreze cu rezistente admisibile micsorate cu 12% fata de cele utilizate la calculul arcurilor elicoidale de compresiune. Calculul la deformatii se bazeaza pe relatiile stabilite în subcap. 5.4.1, pentru arcul elicoidal cilindric de compresiune.
Teoretic, arcurile elicoidale cilindrice de tractiune au caracteristica elastica liniara, identica cu a arcurilor elicoidale cilindrice de compresiune (v. fig. 5.8). Practic, arcurile elicoidale de tractiune se realizeaza, de regula, cu spirele înfasurate strâns. Prin aceasta, spirele nu numai ca sunt în contact în stare libera, dar sunt si apasate reciproc, datorita unei forte initiale de pretensionare. Caracteristica elastica a acestor arcuri si parametrii care o definesc sunt prezentate în fig. 5.10. Notatiile utilizate sunt: HC - înaltimile ochiurilor de prindere; H - lungimea activa a arcului în stare libera; H - lungimea arcului în stare libera; F - forta de montaj; d , H1 - sageata, respectiv lungimea arcului montat, încarcat cu forta F1; Fmax - sarcina maxima de functionare;
Fig. 5.10 dmax, Hmax - sageata, respectiv lungimea arcului sub actiunea fortei Fmax; h - cursa de lucru a arcului; Flim - sarcina limita de încarcare, sub actiunea careia tensiunile din arc se apropie de limita de curgere a materialului; Hlim - lungimea arcului sub actiunea fortei Flim, deformatiile ulterioare impunându-se a fi limitate prin limitatoare speciale. Datorita imperfectiunilor de montaj, apasarea initiala dintre spire nu este uniforma. Ca urmare, la începutul încarcarii, caracteristica elastica nu este liniara (urmareste linia întrerupta din fig. 5.10). Arcuri elicoidale cilindrice de torsiune Arcurile elicoidale cilindrice de torsiune preiau un moment de torsiune aplicat pe directia axei arcului. Forma acestor arcuri este asemanatoare cu a arcurilor elicoidale cilindrice de compresiune, diferenta fiind data de constructia spirelor de capat, îndoite astfel încât sa permita fixarea la un capat si aplicarea momentului de torsiune la celalalt capat.
În fig. 5.11 este prezentata o schema a arcului elicoidal cilindric de torsiune, din care se observa încarcarea realizata prin aplicarea unei forte F la bratul R. În urma încarcarii cu momentul de torsiune Mt = FR, capatul activ al arcului se roteste cu unghiul q Calculul de rezistenta Asupra spirei arcului actioneaza momentul de torsiune Mt, care se descompune în doua componente (v. fig. 5.12): Mtcosa - perpendiculara pe planul spirei - determina solicitarea de încovoiere a spirei; Mtsina - aflata în planul spirei determina solicitarea de torsiune.
Deoarece unghiul de înclinare a a spirei arcului are valori mici (cosa 1 si sina 0), în calculul de rezistenta se ia în considerare doar solicitarea de încovoiere. Calculul de verificare a spirei la încovoiere se efectueaza cu relatia în care: ki
este coeficientul de corectie a tensiunii de încovoiere, se alege în
functie de indicele arcului Prin prelucrarea relatiei, rezulta relatia de dimensionare a spirei arcului elicoidal cilindric de torsiune Calculul la deformatii Deformatia arcului se determina corespunzator barei drepte - de lungime l = npDm - obtinuta prin desfasurarea spirei arcului, încastrata la un capat si încarcata cu un moment de încovoiere Mi = Mt = FR (fig. 5.13). Relatia de calcul a unghiului de rotire a arcului este
unde n reprezinta numarul de spire active, E - modulul de elasticitate longitudinal al materialului arcului si Iz - momentul de inertie axial al sectiunii spirei arcului. ARCUL BARĂ DE TORSIUNE Arcul bara de torsiune este, asa cum îi arata numele, de forma unei bare încarcata cu un moment de torsiune. Constructiv, arcul se poate prezenta sub aspectul unei bare încastrate la un capat, încarcata cu o forta aplicata prin intermediul unui levier la celalalt capat (fig. 5.14, a)
Sectiunea arcului poate fi rotunda (fig. 5.15, a), inelara, patrata, dreptunghiulara (fig. 5.15, b), hexagonala, compusa din mai multe bare rotunde (fig. 5.15, c) sau dintr-un pachet de lamele (fig. 5.15, d). Cel mai frecvent se întâlnesc barele cu sectiune rotunda, care asigura uniformitatea distributiei tensiunii tangentiale si simplitate tehnologica. Avantajele arcurilor bara de torsiune sunt: dimensiuni de gabarit reduse; constructie simpla; montaj si întretinere usoara; lipsa frecarilor interioare; tehnologie de executie relativ simpla; Arcurile bara de torsiune se utilizeaza la suspensia autovehiculelor, cuplaje elastice, chei dinamometrice, aparate de masura, instalatii de încarcare a standurilor de încercare etc. Calculul de rezistenta al arcurilor bara de torsiune de sectiune circulara se efectueaza la solicitarea de torsiune, conform schemei de calcul prezentate în fig. 5.16. Relatia de verificare la torsiune este în care momentul de torsiune se determina în functie de forta F si bratul a la care este aplicata pe levier Mt = Fa. Din relatia tensiunii de torsiune se obtine relatia de dimensionare a arcului bara de torsiune Rezistenta admisibila la torsiune se alege în functie de materialul arcului, caracterul solicitarii (statica sau variabila), diametrul barei si starea suprafetei acesteia, luând valori în intervalul tat = 500.800 MPa. Calculul la deformatii (v. fig. 5.16) se efectueaza pe baza relatiei
în care: l reprezinta lungimea de lucru a barei, G - modulul de elasticitate transversal al materialului arcului, Ip - momentul de inertie polar al sectiunii arcului. Daca deformatia este impusa, se poate determina lungimea necesara a arcului Din relatia de determinare a unghiului θ rezulta o caracteristica elastica liniara a arcului bara de torsiune (v. fig. 5.1, b). Elemente constructive
Capetele de încastrare si cele pe care se asambleaza levierele se pot realiza cu aplatisare, dc = 1,6d si d1 = 1,2d (fig. 5.17, a), cu contur hexagonal (fig. 5.17, b), cu contur patrat (fig. 5.17, c), canelate (fig. 5.17, d) etc. Între portiunea de lucru - cu diametrul d - si capetele barei, se prevad raze de racordare mari (r 2d), astfel încât sa se micsoreze concentratorul de tensiune si sa se mareasca rezistenta la oboseala. În acelasi scop, suprafata barei se rectifica si se acorda o atentie deosebita tratamentului termic. ARCURI SPIRALE PLANE
Arcurile spirale plane preiau momente de torsiune, numele lor venind de la faptul ca banda din otel de arc, din care sunt confectionate, este înfasurata dupa o spirala arhimedica (fig. 5.18). Asemanator cu constructia arcului elicoidal de torsiune, un capat este fixat, iar la capatul opus se aplica momentul de torsiune. În fig. 5.18 s-a notat cu: 1 - arcul spiral plan, 2 - arborele de încarcare prin intermediul caruia se aplica momentul de torsiune Mt, 3 - carcasa în care se încastreaza capatul exterior al arcului. Arcul spiral plan se utilizeaza, în principal, ca element motor, având capacitate mare de deformatie si de înmagazinare de energie - la armare - energie pe care o poate ceda ulterior, în timp. Este întâlnit, cu precadere, la mecanisme de ceas si aparate de masura. Calculul de rezistenta se efectueaza la solicitarea de încovoiere, momentul de încovoiere care solicita spira arcului fiind egal cu momentul de torsiune preluat de catre arc Mi = Mt. Relatia de verificare la încovoiere este
unde: b reprezinta latimea benzii, h - grosimea benzii, sai - rezistenta admisibila la încovoiere a materialului arcului. Relatia de mai sus poate fi rescrisa, pentru dimensionarea arcului, sub forma
Grosimea h a benzii se poate adopta în functie de diametrul d al arborelui de încarcare h = (0,003.0,004) d. Calculul la deformatii se efectueaza cu relatia
în care: l reprezinta lungimea arcului, E - modulul de elasticitate longitudinal al materialului arcului; Iz - momentul de inertie axial al sectiunii spirei arcului. Relatia de deformatii a fost obtinuta prin asimilarea arcului spiral plan, prin desfasurare, cu o bara încastrata, încarcata cu un moment de încovoiere Mi = Mt - similar schemei de calcul la deformatii a arcului cilindric de torsiune (v. fig. 8.14) - rotirea la capatul barei fiind aceeasi cu unghiul de rotire al arborelui de încarcare a arcului spiral plan. Din relatia de deformatii rezulta liniaritatea caracteristicii elastice a arcului spiral plan. ARCURI LAMELARE Arcurile lamelare se prezinta în doua forme constructive principale: formate dintr-o singura lamela si formate din mai multe lamele suprapuse (arcuri în foi multiple). Arcuri monolamelare Arcurile monolamelare se regasesc, de regula, sub forma de lamela încastrata la un capat si libera la celalalt capat. Se utilizeaza ca arcuri de apasare, în constructia instrumentelor de masurare, la mecanisme cu clichet, mecanisme de zavorâre etc. Sectiunea lamelei este dreptunghiulara, cu grosimea h, de regula, constanta. În functie de variatia pe lungime a latimii b a benzii, arcurile lamelare se clasifica în (fig. 5.19): a - arcuri dreptunghiulare, b - arcuri triunghiulare, c - arcuri trapezoidale etc. Arcurile triunghiulare si cele trapezoidale au forma mai apropiata de cea a grinzii de egala rezistenta la încovoiere.
Calculul
de rezistenta consta în limitarea tensiunii de
încovoiere, maxima în sectiunea de încastrare a lamelei, unde l reprezinta lungimea activa a lamelei. Relatia poate fi rescrisa, pentru determinarea latimii necesare a lamelei, sub forma
grosimea h a lamelei adoptându-se din considerente constructive. Calculul la deformatii urmareste determinarea dependentei sagetii d la capatul liber al arcului lamelar, sub actiunea fortei F. Relatia de calcul este
unde E reprezinta modulul de elasticitate longitudinal al materialului arcului. Conform acestei relatii, caracteristica elastica a arcului monolamelar este liniara. Arcuri în foi Arcurile în foi sunt compuse din mai multe arcuri lamelare suprapuse, de lungimi diferite, asamblate astfel încât toate sa participe la deformatie. Arcurile în foi sunt frecvent folosite la suspensia vehiculelor (rutiere si feroviare), în constructia amortizoarelor, instalatiilor de forjare, la tampoanele ascensoarelor etc. În fig. 5.20 sunt prezentate câteva variante constructive uzuale: a - cu un singur brat (sfertul de arc); b - cu doua brate, cu preluarea sarcinii la mijlocul arcului (arc semieliptic); c - cu doua brate, cu preluarea sarcinii la un capat al arcului (arc cantilever); d - format din doua brate suprapuse (arc dublu sau eliptic). O varianta mai noua este cea prezentata în fig. 5.20, e, cu lamele cu grosime variabila, aceasta constructie reducând greutatea arcului cu cel putin 30% . Prin separarea lamelelor cu garnituri din material plastic (v. fig. 5.20, e), frecarea dintre lamele se poate reduce cu 80% .
Frecarea dintre lamelele arcurilor cu foi este dorita, în special atunci când arcul se utilizeaza ca element de amortizare. O parte din energia preluata de arc este transformata, prin frecare, în caldura si nu mai este restituita sistemului din care face parte arcul, dupa disparitia încarcarii. Daca sarcina exterioara actioneaza asupra arcului cu socuri mici, care nu înving frecarea din arc si nu îl deformeaza, acestea se vor transmite integral sistemului din care face parte arcul. În aceste cazuri, frecarea are un efect nedorit. Frecarea dintre foi depinde de o serie de elemente, cum sunt: calitatea suprafetelor în contact, starea de ungere a suprafetelor în contact, numarul si lungimea foilor. Uneori, foile de arc se executa cu o curbura initiala, cu atât mai mare cu cât lungimea lor este mai mica, astfel încât sa se asigure participarea tuturor foilor la transmiterea sarcinii. Calculul arcurilor în foi se efectueaza prin asimilarea acestora cu un arc monolamelar cu grosime variabila. Elementele de calcul ale arcurilor în foi sunt prezentate în literatura de specialitate, precizia calculului având de suferit din cauza complexitatii fenomenelor întâlnite. ARCURI INELARE
a b Fig. 5.21 |
Arcurile inelare se obtin prin înserierea unor inele tronconice interioare sau exterioare, asamblate alternant, cu contact pe suprafretele conice (fig. 5.21). Arcurile inelare preiau o sarcina exterioara de compresiune, sub actiunea careia inelele interioare tind sa îsi micsoreze diametrul, comprimându-se, iar inelele exterioare tind sa îsi mareasca diametrul, întinzându-se. Între inele apar forte de frecare mari, lucrul mecanic de frecare ajungând la 60.70% din lucrul mecanic al fortei exterioare, ceea ce conduce la capacitate mare de amortizare. Datorita acestei caracteristici, arcurile inelare se utilizeaza ca arcuri tampon, la preluarea unor sarcini foarte mari (la arcurile tampon de la materialul rulant). Unghiul a (v. fig. 5.21) al suprafetelor conice (a ) se alege astfel încât sa se evite întepenirea arcurilor si sa permita revenirea acestora la forma initiala, dupa încetarea actiunii sarcinii exterioare.
Pentru marirea elasticitatii arcului, inelele interioare si cele exterioare se pot realiza sub forma prezentata în fig. 5.21, b.
Inelele de dimensiuni mari se executa prin forjare, iar cele de dimensiuni mici prin matritare, suprafetele conice de contact prelucrându-se prin aschiere.
ARCURI DISC
|
b |
c d
Fig. 5.22
Arcurile disc sunt formate din una sau mai multe placi inelare, de forma tronconica, fiind supuse la sarcini axiale de compresiune. Elementele geometrice ale arcului disc, prezentate în fig. 5.22, a, sunt:
Di - diametrul interior;
De - diametrul exterior;
s - grosimea placii;
h - înaltimea arcului.
Sub actiunea fortei exterioare F, arcul se deformeaza cu sageata d, în sensul micsorarii înaltimii h.
Conform prescriptiilor standar-dizate, compunerea arcurilor disc se poate realiza:
în coloana, prin asezarea alternanta a discurilor (fig. 5.22, b), marindu-se elasticitatea;
în pachete de discuri suprapuse pe aceeasi parte (fig. 5.22, c), rigiditatea obtinuta fiind mai mare si frecarile mai pronuntate;
în coloana de pachete (fig. 5.22, d), cu rigiditate intermediara celor doua moduri de compunere prezentate anterior.
Arcurile disc se utilizeaza ca arcuri tampon la instalatiile de matritat sau stantat, la fundatia masinilor grele, la tampoanele unor vehicule etc., acolo unde trebuiesc preluate socuri rare si mari sau sarcini statice foarte mari, cu deformatii relativ mici.
Discurile se obtin din tabla de otel de arc, prin stantare, bombare conica (prin presare la cald), urmate de tratamentul termic.
Calculul arcurilor disc este dificil, datorita complexitatii solicitarilor si modificarii geometriei în timpul încarcarii. Metodica de calcul presupune distributia uniforma a presiunii pe circumferinta discurilor si considera invarianta geometria arcului. Caracteristica elastica a arcului disc este, în general, neliniara, depinzând de raportul h/s si de modul de combinare a discurilor.
ARCURI DIN CAUCIUC
Arcurile din cauciuc se utilizeaza datorita unor caracteristici particulare speciale, determinate de proprietatile cauciucului. Aceste caracteristici sunt: capacitate mare de amortizare, capacitate mare de deformare, constructie si tehnologie simple, functionare sigura si silentioasa, pret redus.
Capacitatea mare de amortizare a arcurilor din cauciuc se datoreaza frecarilor interne prin care se preia aproximativ 40% din lucrul mecanic al fortei exterioare. Aceasta poate duce la fenomenul nedorit de încalzire a arcului, ceea ce impune prevederea unor masuri suplimentare pentru evacuarea caldurii.
Arcurile din cauciuc se utilizeaza, în special, pentru amortizarea socurilor si vibratiilor, la suspensia vehiculelor sau instalatiilor, la compensarea erorilor din unele lanturi cinematice si la modificarea turatiei critice a unor sisteme mecanice.
Arcurile pot fi realizate sub forma de blocuri sau prevazute cu cavitati.
Arcurile bloc, prezentate în fig. 5.23, sunt realizate prin vulcanizarea cauciucului pe elemente metalice si pot fi folosite pentru preluarea de sarcini verticale si orizontale (solutiile constructive din fig. 5.23, a) sau numai pentru preluarea de sarcini verticale (solutiile constructive din fig. 5.23, b).
Arcurile cu cavitati sunt prevazute cu sisteme de centrare în structuri rigide (fig. 5.24), care sa împiedice deformatia transversala asimetrica a arcului.

Fig. 5.23 Arcuri bloc din cauciuc

Fig. 5.24 Arcuri cave din cauciuc
Alte forme de arcuri, realizate prin vulcanizare pe elemente metalice, sunt prezentate în fig. 5.25.

Calculul arcurilor din cauciuc este deosebit de dificil, datorita complexitatii fenomenelor care se petrec la deformarea cauciucului si formelor constructive extrem de diverse. Relatiile de calcul prezentate în literatura de specialitate sunt valabile doar pentru domeniul cvasiliniar al caracteristicii elastice a arcurilor.
|