Alegerea tratamentului optim de durificare pentru elementele active ale stantei,
În practica se folosesc destul de des metodele de durificare prezentate mai sus. Pentru placa si poansoanele stantai prezentate la punctul 3 cele mai economice ca timp si cost cât 17517q1616r si calitatea stratului aplicat am ales metoda de durificare în câmp ultrasonic si durificarea cu electroscântei.
Ambele metode au o schema de principiu usor de realizat, dar în cazul metodei de durificare cu electroscântei utilajul folosit este mai ieftin. Fata de durificarea în câmp ultrasonic, unde durificarea se poate face doar pe masini de durificat, în cazul durificarii cu electroscântei se poate realiza durificarea si manual.
Manual se realizeaza durificarea cu ajutorul unui pistol vibrator care se plimba pe suprafetele active ale placii si celor doua poansoane, cu o usoara apasare, realizându-se depunerea pe suprafata respectiva.
Grosimea materialului depus în 10
treceri este mai mare în cazul durificarii cu electroscântei acesta fiind
de 0.3
pe strat depus fata de 0.2
în cazul durificarii ultrasonice.
Rugozitatea finala
este de 0,7
fata de 0.8
în cazul durificarii în câmp ultrasonic.
Turatia masinii de durificat la electroscântei este mai mare, am folosit: n = 2000 rot/min.
Diametrul electrodului folosit este de 1.5 mm.
Dupa durificare elementele active ale stantei sunt supuse controlului, pentru a determina duritatea stratului depus. Valoarea acestei caracteristici reprezinta rezistenta materialului metalic opusa actiunii unei forte exterioare.
Duritatea se calculeaza în functie de sarcina aplicata la verificare F si diametrul amprentei lasata de bila la apasare (d). Duritatea se exprima sub forma unui raport între forta care produce patrunderea penetratorului si marimea ariei suprafetei amprentate
Relatia de calcul este:
F - sarcina exprimata în N;
D - diametrul urmei, în mm.
S-a luat în considerare
si coeficientul de echivalare ( c ), pentru determinarea rezistentei
la rupere în functie de duritate (
. S-a ales în functie de material: c = 0,32.
Se foloseste metoda Vickers de determinare a duritatii placii si poansoanelor deoarece au grosime relativ mica si duritatea Brinell nu este indicata. Datorita acestei metode determinam si variatiile de duritate pe suprafata durificata.
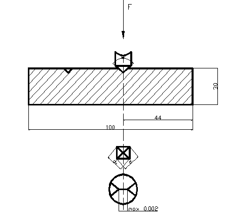
Sarcina folosita pentru executarea încercarii este : F = 30 daN ;
Penetratorul este o piramida dreapta din diamant cu baza patrat, având unghiul diedru la vârf al fetelor opuse ale piramidei de 136 . Fetele laterale ale piramidei trebuie sa fie concurente într-un punct si se admite la vârful penetratorului o muchie de maxim 0,002mm. Fetele piramidei trebuie slefuite fin si lipsite de defecte.

Figura 21
În figura 21 este prezentata metoda Vickers pentru controlul duritatii la placa activa. În urma încercarii s-a determinat valoarea diagonalei patratului de baza al piramidei . Determinarea ei s-a facut cu ajutorul microscopului optic.
d = 0,313 mm
Astfel s-a determinat valoarea duritatii ca fiind egala cu:
|