COMPONENTE DE SECURITATE - AUTOMACARALE
Generalitati.
Limitatoare de sfarsit de cursa.
Limitatoare de sarcina.
Dispozitive de blocare si ancorare.
Dispozitive de avertizare si oprire in caz de vant.
Opritoare si tampoane.
Piese de reazem si curatatorie de sina.
Sigurante la carlig.
Alte dispozitive de siguranta.
Dispozitive de semnalizare.
1. Generalitati
Componentele de securitate au rolul de a asigura functionarea instalatiilor de ridicat fara perico 252f56c le de avarii si accidente. Acestea trebuie sa intervina atunci cand se executa de catre automacaragiu manevre gresite sau in cazul aparitiei anumitor defecte ce prezinta pericole. Prin actionarea dispozitivelor de siguranta trebuie sa se intrerupa miscarea automacaralei gresit efectuata, sau in cazul aparitiei unui defect sa mentina automacaraua in siguranta, fara pericole.
Componentele de securitate nu trebuie folosite intentionat decat atunci cand se incearca buna lor functionare. Toate dispozitivele de siguranta trebuie verificate de
automacaragiu la inceputul lucrului, cu exceptia limitatorului de sarcina sau de moment.
Limitatorul de sarcina sau de moment se verifica de inspectorul ISCIR sau
responsabilul cu supravegherea tehnica autorizat de ISCIR (RSVTI) cu ocazia
verificarilor oficiale. In cazul iesirii din functiune a unui dispozitiv de siguranta
automacaraua trebuie sa se opreasca automat, astfel pericolul creste mai mult in cazul in
care automacaraua nu ar avea dispozitive de siguranta.
2. Limitatoarele de sfarsit de cursa
Sunt destinate sa intrerupa automat actionarea mecanismelor automacaralei cand
partile sale in miscare depasesc pozitiile limita de lucru stabilite; ele trebuie sa permita actionarea mecanismelor in sens invers celui in care s-a limitat miscarea respectiva.
Automacaralele si mecanismele de ridicat, cu exceptia celor cu actionare
manuala, trebuie prevazute cu limitatoare de sfarsit de cursa pentru intreruperea
automata a actionarii. Limitatoarele de sfarsit de cursa se prevad la mecanismele de
deplasare a automacaralelor si carucioarelor. Limitatoarele de cursa pot actiona intrerupatoare electrice, hidraulice sau pneumatice.
a) Mecanisme de ridicat pentru pozitiile limita de lucru ale organului de prindere a sarcinii (carlig, graifer, electromagnet, traversa fixa etc.) in ambele sensuri cu exceptia macaralelor pe pneuri, senile sau cale ferata la care limitarea pozitiei limita inferioare nu este obligatorie.
b) Mecanisme de basculare a bratului, pentru pozitiile limita de lucru ale acestuia.
c) Mecanisme de rotire, este pentru cazurile in care este necesaralimitarea unghiului de rotire.
2.1 Limitatorul de cursa ridicare-coborare
Trebuie sa realizeze urmatoarele:
a) Sa opreasca mecanismul de ridicare cand partea superioara a organului de prindere al sarcinii (mufla, carlig, graifer, traversa etc.) se aproprie la cel putin 200 mm sub elementele de constructie ale automacaralei de care acestea s-ar putea lovi.
b) Sa opreasca coborarea la pozitia cea mai de jos a organelor de prindere, cand pe tambur au mai ramas infasurate cel putin 2 spire de cablu , in afara de lungimea necesara pentru fixarea pe tambur.
Reglarea limitatorului de cursa sa face dupa fiecare schimbare a cablului, iar verificarea functionarii sale se face fara sarcina.

Limitatorul de cursa ridicare cu parghie se folosesc la automacaralele cu brat. Este compus dintr-o carcasa in interiorul careia se afla contacteelectrice si mecanismul de inchidere-deschidere al acestora. In afara carcasei iese unax pe care se afla o parghie. La capatul parghiei se fixeaza un cablu de care se agata ocontragreutate cu orificiul ce ghideaza pe una din ramurile cablului de la organul deprindere. Contactul de la limitator este mentinut inchis si deci se poate efectuamiscarea de ridicare cat timp contragreutatea trage in jos de parghia limitatorului. Inmomentul in care contragreutatea este atinsa si ridicata de organul de prindere alsarcinii, parghia limitatorului este ridicata de un resort si se intrerupe contactul electric oprind miscarea de ridicare. In aceasta situatie se poate realiza numai coborarea intrucat limitatorul este introdusin schema numai pe sensul sus. Coborarea organului de prindere, coboara si contragreutatea care trage de parghia limitatorului si restabileste contactul electric.
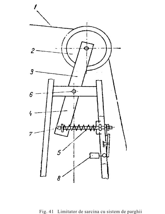
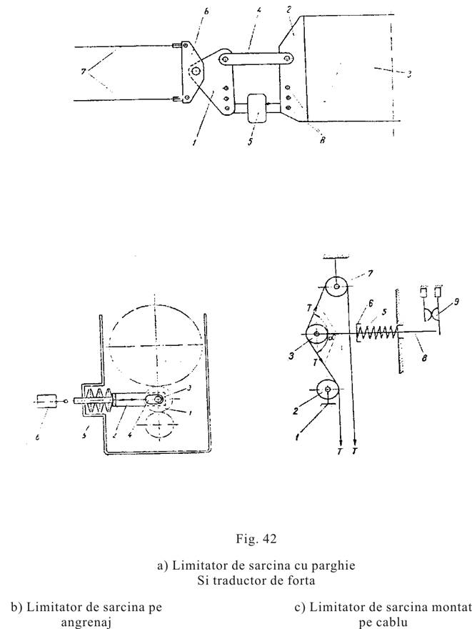
3. Limitatoare de sarcina
Sunt destinate sa intrerupa automat actionarea mecanismului de ridicare in cazul depasirii sarcinilor nominale si sa permita descarcarea sarcinii (coborare). Cu
acest dispozitiv de siguranta sunt echipate toate macaralele cu exceptia acelora cu
actionare manuala, acelora la care organul de prindere al sarcinii, montat cu caracter
permanent, prin constructia sa nu permita sau sa previne suprasarcina mai mare de 10%
Limitatoarele de sarcina masoara si compara anumite marimi ca forte, presiuni, deformatii pe care le transforma de obicei in marimi electrice.
Reglarea limitatorului de sarcina trebuie sa fie astfel incat sa actioneze la o
suprasarcina de maximum 10% din sarcina nominala pe toate treptele de viteza.
La incercarea bunei functionari a limitatorului de sarcina acesta trebuie sa permita ridicarea sarcinii nominale pe toate treptele de viteza si sa intrerupa ridicarea la depasirea sarcinii nominale cu cel mult suprasarcina prescrisa dar maximum 10%.
Suprasarcina la care trebuie sa actioneze nu va fi ridicata mai mult de 100 mm de la sol.
Limitatorul de sarcina trebuie sa protejeze automacaraua la suprasolicitari provenite din suprasarcina si forte dinamice provenite din socuri. Dupa reglare limitatoarele vor fi inchise si sigilate.



3.1 Limitatoare de moment
Cu acest limitator se echipeaza automacaralele la care sarcina este variabila functie de raza. Acest dispozitiv de siguranta trebuie sa asigure ca momentul de rasturnare sa nu se aproprie sau sa depaseasca momentul de stabilitate al macaralei.
Automacaraua se rastoarna cand momentul de rasturnare este egal sau mai mare ca momentul de stabilitate.
Ca si limitatorul de sarcina, limitatorul de moment nu trebuie sa permita
depasirea cu mai mult de 10% a sarcinii maxime admise, corespunzatoare deschiderii
bratului si inscrisa in diagrama de sarcina a automacaralei.
De asemenea, limitatorul de moment trebuie sa intrerupa si functionarea
mecanismelor ce conduc la marirea momentelor (coborare brat, telescopare brat
etc.). Limitatorul de moment integreaza minim doua marimi variabile: sarcina si
deschiderea. La acestea se adauga la multe tipuri de limitatoare si lungimea bratului.
4. Dispozitive de avertizare si oprire in caz de vant
Macaralele cu brat la care exista pericolul de rasturnare se prevad obligatoriu anemometre pentru indicarea vitezei vantului.
Anemometrele trebuie sa declanseze un semnal acustic (sirena) sau optic (bec rosu) la depasirea vantului exprimata prin presiunea acestuia de:
- 25 daN/m2 la macaralele portal
- 15 daN/m2 la celelalte macarale
Relatia intre presiunea vantului si viteza este: cand presiunea vantului ajunge la 70-80% din valoarea maxima admisa se prevede declansarea unui semnal optic (bec galben) si a unui semnal acustic (sirena). Semnalul acustic poate fi oprit prin buton, dar la depasirea presiunii maxim admise butonul nu mai poate anula functionarea sirenei, macaragiul trebuind sa opreasca imediat functionarea macaralei si sa asigure macaraua cu dispozitive de blocare.
Anemometrul este un generator electric la care forta electromotoare este proportionala cu turatia. Rotorul este actionat de trei palete sub forma de cupe. La vitezele prescrise ale vantului tensiunea generatorului atinge tensiunea de anclansare a unor relee prin care se pune in functiune presemnalizarea, semnalizarea si deconectarea automacaralei.
5. Sigurantele la carlig
Au rolul de a impiedica iesirea accidentala a organelor de legare a sarcinilor din
carlig; scoaterea organelor respective se va face numai prin actionarea sigurantei.
Tipuri de sigurante folosite:
a) cu arc
b) cu contragreutate

Este obligatorie montarea la macarale ce ridica sarcini mai mici de 12 t; se vor prevedea sigurante la carlig numai daca prin natura sarcinilor ca atare pot scapa sau daca organele de legare sunt rigide (bare, bene, containere, etc.).
Se vor prevedea sigurante la carlig si in cazul in care se prind in carlig dispozitive de lucru ca: traversa, electromagnet, graifer, bara, containere etc.
10. Alte componente de securitate
a) contacte electrice:
- la
- la dispozitivele de cale
La deschiderea contactului respectiv, intrerupatorul principal al automacaralei este deconectat.
b) buton de avarie
- actioneaza asupra intrerupatorului de avarie
11. Dispozitive de semnalizare
Dispozitivele de semnalizare sunt:
a) acustice
b) optice
11.1 Semnalizari acustice
Fiecare automacara, cu putine exceptii se prevede cu doua sisteme de semnalizare
acustica
- una pentru manevre curente (clopot)
- una pentru pericole iminente (hupa)
Semnalizarile acustice trebuie sa depaseasca zgomotul de la locul de lucru, dar nu mai putin de 75 dB.
1.2 Semnalizari optice
Ca dispozitive de semnalizare optica se prevad pe automacarale urmatoarele:
- lampi de semnalizare care indica tensiune pe automacara
- lampi de semnalizare care indica tensiune la bornele intrerupatorului principal
- semnalizari de balizare
In afara de acestea proiectantul automacaralei poate prevedea si alte dispozitive de
semnalizare ca:
- semnalizari acustice si optice la apropierea sau atingerea valorilor limita a sarcinilor ce se ridica
- semnalizarea optica a gradului de incarcare a automacaralei
- semnalizarea acustica la apropierea de retelele electrice sub tensiune
- nivela bidirectionala
- becuri de semnalizare pentru diferite aparate de masura si control
|