Calculul tijei surubului
Tija unui surub de miscare este solicitata la compresiune sau la tractiune, de sarcina de ridicat - in cazul cricurilor simple, telescopice, cu dubla actiune etc. - sau de o sarcina rezultata din echilibrul parghiilor - in cazul cricurilor cu parghii cu o piulita sau cu doua piulite - si la t 848d37i orsiune de un moment care depinde de constructia transmisiei surub piulita.
Solicitarea de tractiune sau compresiune produce in tija surubului de miscare tensiuni normale determinate cu relatia
(2.23)
iar momentul de torsiune produce in tija surubului tensiuni de torsiune, determinate cu relatia
, (2.24)
in care d3 reprezinta diametrul interior al filetului de miscare, iar F - forta care solicita surubul.
Tensiunile de tractiune si cele de torsiune se compun intr-o tensiune echivalenta, determinata conform teoriei a V-a de rupere cu relatia
(2.25)
sau
(2.26)
Coeficientul
, introdus in relatia (2.26), este un coeficient supraunitar
care tine seama de influenta solicitarii de torsiune in tensiunea echivalenta.
Valoarea coeficientului
depinde de constructia
transmisiei surub piulita si implicit de marimea momentului de torsiune in
raport cu forta axiala. Pentru valori medii statistice ale parametrilor din
relatia (2.25), pentru coeficientul
rezulta []:
daca momentul de torsiune este un
moment de insurubare (cazul surubului principal al cricului cu dubla actiune,
cazul surubului secundar al cricurilor telescopice sau cu dubla actiune, cazul
surubului cricurilor cu parghii etc.), rezulta valoarea coeficientului
=1.25.1,3.
daca momentul de torsiune este un
moment de frecare cu alunecare (cazul surubului cricului simplu sau al
preselor, cazul surubului principal al cricului telescopic etc.), valoarea
coeficientului
= 1,05.1,1.
daca momentul de torsiune este un
moment de frecare cu rostogolire (cazul surubului cricului simplu sau al
preselor, cazul surubului principal al cricului telescopic etc. cand se
monteaza un rulment axial), valoarea coeficientului
= 1.1,05.
Relatia (2.26) este echivalenta calculului tijei surubului cu o forta de calcul majorata Fc, numita forta de calcul. Aceasta se determina cu relatia
Fc =
F (2.27)
si se utilizeaza numai la predimensionarea tijei surubului de miscare, rezultand diametrul interior al filetului
, (2.28)
in
functie de care, din standardul filetului respectiv, se alege un filet
standardizat, respectand conditia
. Pentru verificarea tijei filetului la solicitari compuse se
utilizeaza relatia (2.25).
Rezistenta admisibila sat,c, la suruburi de
miscare, se stabileste in functie de materialul surubului, marimea acestuia si
de pericolul de producere a unor accidente. Se recomanda []:
=40.60 MPa, pentru sarcini reduse (< 20000 N), respectiv
=60.80 MPa, pentru sarcini medii si mari (>20000 N) - in
cazul transmisiilor la care se pot produce accidente in urma deteriorarii
transmisiei (cricurile simple, telescopice, cu dubla actiune, presele etc.);
=100.120 MPa in cazul transmisiilor la care pericolul de
accidente este redus (cricuri cu parghii, prese etc.).
Daca nu exista pericolul pierderii stabilitatii surubului prin flambaj,
se recomanda [] urmatoarele valori pentru tensiunile admisibile:
, pentru sarcini statice;
, pentru sarcini pulsatorii;
, pentru sarcini alternant simetrice.
In cazul suruburilor de miscare solicitate la compresiune (suruburile principale ale cricurilor simple, telescopice, cu dubla actiune, prese etc.) este necesar sa se efectueze un calcul de verificare la flambaj urmarindu-se o functionare corecta a transmisiei.
Initial, se determina coeficientul de zveltete cu relatia
, (2.29)
in
care: lf este lungimea de flambaj
, l fiind lungimea surubului care poate flamba iar K
este coeficientul de flambaj a carui valoare depinde de schema de flambaj (K
= 2, daca se ridica o sarcina care se poate deplasa pe orizontala si K =
0,5, daca se considera ca surubul este incastrat in sarcina de ridicat, de
exemplu la schimbarea unei roti de autovehicul); imin - raza
de inertie minima 
Cunoscand coeficientul de zvelteta, se poate determina domeniul de flambaj:
daca
este flambaj elastic;
daca
este flambaj plastic,
coeficientul
avand valorile
= 105 pentru OL 37 si
= 89 pentru OL 50 si OL 60.
Pentru alte oteluri, coeficientul
se determina cu
relatia []
, (2.30)
in
care E = 2,1.105 MPa, pentru otel si
0,8
- tensiunea de proportionalitate a otelului (valoarea maxima
la care se mentine un raport constant intre forta si deformatie).
Daca coeficientul de zveltete
, se considera ca nu exista posibilitatea de flambaj a
surubului, iar daca
flambajul nu poate fi
evitat.
Tensiunea la care surubul flambeaza se determina functie de domeniul de flambaj:
Flambaj elastic (
)
Conform formulei lui Euler, tensiunea de flambaj se determina cu relatia
(2.31)
si
tinand seama ca
rezulta
. (2.32)
Flambaj plastic (
)
Tensiunea la care surubul flambeaza in domeniul plastic se determina cu relatia
, pentru OL 37;
, pentru OL 50 si OL 60;
, (2.33)
pentru alte oteluri [] considerand ca limita de curgere la compresiune este egala cu cea de la tractiune.
Coeficientul de siguranta la flambaj se determina cu relatia
, (2.34)
in care ca este coeficientul de siguranta admisibil la flambaj ; ca = 3.6, pentru flambaj elastic si ca = 2.4, pentru flambaj plastic [].
Cand pericolul de flambaj este mare, dimensionarea surubului se poate face din conditia de evitare a acestui fenomen. Cu relatiile (2.29), (2.32), (2.33) si (2.23) rezulta
, (2.35)
functie de care se alege un filet standardizat; ca = 6.8 coeficientul de siguranta admisibil la flambaj.
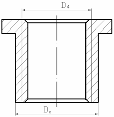
Calculul piulitei
|
Fig. 2.32 |
Tensiunea de tractiune sau compresiune se determina cu relatia
, (2.36)
tensiunea de torsiune cu relatia
, (2.37)
iar tensiunea echivalenta cu relatia
, (2.38)
in
care De reprezinta diametrul exterior al piulitei; D4
- diametrul exterior al filetului piulitei;
- rezistenta
admisibila la tractiune sau compresiune. Valorile rezistentei admisibile se
aleg functie de materialul piulitei []:
= 60.80 MPa, pentru piulite executate din otel;
= 40.45 MPa, pentru piulite executate din fonta sau bronz.
Calculul spirei filetului
Calculul spirei filetului se efectueaza cu scopul prevenirii deteriorarii spirei datorita solicitarilor de strivire, incovoiere sau forfecare.
Calculul se face pe baza unor ipoteze simplificatoare:
sarcina axiala exterioara F se repartizeaza uniform pe spirele in contact dintre surub si piulita;
sarcina ce revine unei spire F/z se repartizeaza uniform pe suprafata de contact a acestuia;
se neglijeaza unghiul de inclinare al spirei filetului (b
se neglijeaza unghiul profilului spirei filetului (a
|
Fig. 2.33 |
. (2.39)
Din conditia de rezistenta la strivire a peliculei de lubrifiant se determina numarul de spire necesare ale piulitei
, (2.40)
cu
respectarea conditiei
=10 spire.
Presiunea admisibila se alege in functie de cuplul de materiale in contact. Considerand ca surubul este executat din otel, presiunea admisibila pa se alege din recomandarile [] date functie de materialul piulitei; astfel: pa = 10.15 MPa, pentru piulita executata din otel carbon; pa = 5.10 MPa, pentru piulita executata din otel turnat; pa = 3.7 MPa, pentru piulita executata din fonta; pa = 10.20 MPa, pentru piulita executata din bronz pe baza de staniu (CuSn) sau aluminiu (CuAl).
Calculul la incovoiere (fig. 2.34) se efectueaza pentru evitarea ruperii, la baza spirei, a filetului surubului sau piulitei. Spira se asimileaza cu o grinda incastrata cu sarcina in consola, sectiunea de rupere fiind suprafata exterioara a unui cilindru. Daca materialul piulitei este acelasi cu materialul surubului, se verifica numai spira surubului, aceasta avand sectiunea mai mica (diametrul sectiunii de rupere este mai mic), cu relatia
. (2.41)
Daca piulita se executa dintr-un material cu proprietati mecanice mai reduse decat materialul surubului, la incovoiere se verifica spira piulitei, cu relatia
. (2.42)
|
Fig. 2.34 |
Rezistenta admisibila la incovoiere depinde de materialul surubului, respectiv piulitei, luand valorile sai = 60.80 MPa - pentru otel si sai = 40.45 MPa - pentru bronz sau fonta [ ]
Forfecarea (v. fig. 2.34) este o solicitare de importanta redusa, sectiunea de rupere fiind aceeasi ca in cazul solicitarii de incovoiere.
Daca materialul surubului este acelasi cu materialul piulitei, relatia de verificare se aplica spirei surubului si este
. (2.43)
Rezistenta admisibila la forfecare depinde de materialul surubului, respectiv piulitei, luand valorile taf = 50.65 MPa - pentru otel si taf = 30.35 MPa - pentru bronz sau fonta [].
|