PROTECŢIA IMPOTRIVA ELECTROCUTĂRII ĪN REŢELE sI INSTALAŢII ELECTRICE DE JOASĂ TENSIUNE
17.1. CONSIDERAŢII GENERALE.
Categoria
Curentul
Timpul de trecere a curentului
Efectele produse
I
25mA
nedefinit
Cresterea usoara a presiunii sāngelui, usoara tetanizare a mu 939i87j 351;chilor respiratori. Nu se semnaleaza urmari vatamatoare pentru sistemul circulator si inima.
II
25-80mA
25-30 s
Cresterea presiunii sāngelui. Dereglarea respiratiei. Opri-rea momentana a inimii avānd ca urmare o functionare neregulata a inimii. Trecerea la fibrilatia inimii.
III
80mA-5A
0,1-0,3 s
Fibrilatia ireversibila a inimii.
IV
3-8A
nedefinit
Oprirea circulatiei sāngelui si a inimii cu neregularitati. Oprirea circulatiei sāngelui si a inimii cu neregularitati consecutive īn functionarea inimii pe durate lungi ca īn cazul categoriei a II-a; cresterea presiunii sāngelui īn timpul trecerii curentului; īmbolnavirea muschilor respiratori, arsuri.
Comparānd sensibilitatea omului la curent continuu cu cea la curent alternativ, se constata ca la curent continuu nu apar convulsii si ca pot fi suportati curenti avānd o
valoare de 3 ori mai mare decāt īn cazul curentului alternativ.
Gradul de pericol
Curent continuu, V
Curent alternativ, V
17.2. POSIBILITĂŢI DE ELECTROCUTARE.
a) b)
Ux =
(l-x) * ro* I
|
c) |
|
Aceasta tensiune (Ua1) devine UpA , daca omul (k) se afla īn zona de potential nul.
Daca omul se īndeparteaza de priza A si intra īn zona de influenta a prizei B, atunci tensiunea de atingere devine īn punctul F (de exemplu ) :
Ua2=UpA+UF (17.17)
Tensiunea de atingere are valoarea maxima, daca punctul F se suprapime cu punctul (B) si are valoarea :
Uamax-UpA+UpB (17.19)
(17.20)
si este variabila cu distanta x, fata de priza.
17.3. Mijloace de protectie .
Pe seama posibilitatilor de electrocutare prezentate īn subcap.17.2., īn cadrul acestui subcapitol se vor prezenta mijloacele individuale care permit evitarea unei electrocutari, evidentiindu-se de la caz la caz, aspectele de principiu care permit acest lucru.
Deoarece posibilitatile de electrocutare s-au grupat īn doua categorii principale :
atingerea directa si atingerea indirecta, īn continuare si mijloacele de protectie vor fi prezentate īn conformitate cu aceeasi grupare.
17.3.1. Mijloace de protectie īmpotriva electrocutarii prin atingcre directa.
Protectia īmpotriva electrocutarii prin atingere directa se asigura cu mijloace tehnice, iar de la caz la caz si cu masuri organizatorice.
Masurile organizatorice pentru protectia īmpotriva electrocutāru prin atingere directā, sunt urmatoarele:
a) inscriptionarea de avertizare a instalatnlor si echipamentelor electrice, sau prevederea cu placute avertizoare;
b) īntocmirea formelor de lucru, conform reglementarilor;
c) organizarea locurilor de munca si esalonarea operatiilor īn timpul lucrarilor;
d) vopsirea īn diverse culori a cailor de curent pentru usurarea identificarii polilor, a fazelor, a conductoarelor de protectie.
Mijloace tehnice folosite pentru protectia īmpotriva electrocutarii prin atingere directa sunt urmatoarele :
a) acoperirile cu materiale izolante a partilor active (izolatia de lucm) ale instalatiilor si echipamentelor ;
b) īnchideri īn carcase sau acoperiri cu īnvelisuri exterioare. Gradul de protectie minim admis pentru aparate si echipamente electrice se stabileste īn conformitate cu specificul locului de montare. Asa cum se cunoaste (cap.13.) materialele si aparatele electrice sunt caracterizate si prin gradele de protectie;
c) īngradiri fixe;
d) īngradiri mobile;
e) protectia prin amplasare (distante mimme de protectie);
f) scoaterea de sub tensiune īn vederea efectuarii lucrārilor de īntretmere si reparatii;
g) legari la pamāiit si īn scurtcircmt direct sau prin eclatoare sau descarcatoare;
h) folosirea mijloacelor de protectie electroizolante, atāt īn cazul lucrului cu mstalatia sub tensiune, cāt si cānd este scoasa de sub tensiune. i) alimentarea la tensiune redusa;
j) egalizarea potentialelor si izolarea fata de pamānt a platformei de lucru.
electrocutarii prin atingere indirecta.
17.3.2. Mijloace de protectie īmpotriva electrocntarii
Protectia īmpothva electrocutarii pnn atmgere mdirecta se realizeaza numai prm urmatoarele mijloace tehnice ;
a) alimentarea la tensiune redusa;
b) izolarea suplimentara de protectie a echipamentului sau a amplasamentului;
c) separarea de protectie;
d) egalizarea (uniformizarea) potentialelor;
e) legarea la pamānt (priza de pamānt);
f) legarea la nul (conductorul de nul)
g) deconectarea automata a sectorului defect;
h) controlul permanent al izolatiei;
i) folosirea mijloacelor de protectie electroizolante.
n continuare, se vor analiza mijloacele tehnice de protectie īmpotriva electrocutarii prin atingere indirecta.
17.3.2.1. Alimentarea la tensiune redusa
Se poate aplica īn orice situatie justificata economic, fiind singurul mijloc care nu se asociaza si cu un alt mijloc de protectie pentru a se realiza un sistem de protectie.
Valorile tensiunilor nepericuloase, asa cum s-a prezentat anterior, sunt de max.
42 V c.a. si 60 V c.c.. Aceste valori se pot obtine numai prin intermediul unor transformatoare electrice coborātoare sau de la grupuri electrogene ; reteaua electrica cu tensiune redusa este izolata fata de pamānt (simbol I).
Datorita investitiei suplimentare necesare obtmerii tensiunii reduse, acest mijloc se aplica de regula local ( de exemplu : īn subsolul blocurilor, unele echipamente medicale. etc.).
17.3.2.2. Izolarea suplimentara.
Protectia prin izolare suplimentara se bazeaza pe faptul ca intensitatea curentului ce strabate corpul omenesc scade atunci cānd impedanta electrica a circuitului electric creste : Ih = U/Zh (17.21)
Un efect identic se obtine daca īn serie cu corpul omului, se introduc elemente izolatoare de protectie, cu rezistente electrice de valoare ridicata.
Izolarea de protectie are scop exclusiv de protectie īmpotriva electrocutarilor prin atingere indirecta si se aplica suplimentar fata de izolarea de lucru la utilajul electric sau la amplasamentul omului. Prin izolare de lucru se īntelege izolarea prevazuta pentru buna functionare a utilajului, corespunzatoare treptei de tensiune nominale.
Izolarea suplimentara de protectie se poate realiza prin :
- izolarea suplimentara a echipamentului electric ;
- izolarea amplasamentului īn care omul īsi desfasoara munca.
1) izolarea suplimentara a echipamentului electric se poate executa :
Inlocuind Ih/ Rh īn ( 17.22.') rezulta :
Rs = Rh U/Uh- 1) (17.23.)
iar conditia pentru asigurarea protectiei devine :
Rs>Rh(U/Uh-l) (17.24)
Pentru Uh = Ua = 65V, pentru Rh = 3000Q, rezulta Rs > 7000 . Impunānd pentru Ih valoarea de 5 mA din aceeasi relatie rezulta Rs > 50000
17.3.2.3. Separarea de protectie.
Asa cum s-a aratat īn par.17.2.2.2., si 17.2.3.2, atingerea directa sau indirecta, īntr-o retea cu neutrul izolat este nepericuloasa, daca rezistenta de izolatie are valoare corespunzatoare (17.12.).
Ca urmare, īn cazuri deosebite, un anumit echipament (echipamente de redresare) se poate alimenta de la o retea electrica cu neutrul izolat.
0 asemenea retea se poate constitui prin intermediul unui transformator de separare cu raport de transformare unitar. Acesta are īnfāsurarea primara racordata la reteaua electrica trifazata cu neutrul legat la pamānt (neutrul accesibil) iar secundarul sau este cu neutrul izolat si ca urmare, reteaua electrica ce o va alimenta va fi cu neutrul izolat. Daca nivelul de izolatie al acestei retele va fi corespunzator (1712), atunci atingerea directa sau indirecta, va fi nepericuloasa.
Separarea de protectie se aplica īn afara situatiei de mai sus si īn cazul utilajelor
portative, de puteri mari, care nu pot fi alimentate la tensiune redusa. De asemeni, acest rnijloc de protectie se aplica si īn domeniul constructiei de nave, unde mijloacele de protectie care necesita o legatura de protectie nu asigura siguranta necesara.
17.3.2.4. Uniformizarea potentialelor.
17.3.2.5. Protectia prin legarea la pamānt.
17.3.2.5.1. Legarea la pamānt īn retele cu neutrul izolat.
Conform STAS 8275-87, acest mijloc de protectie este defnit ca "Schema IT". schema īn care toate partile active ale sursei sunt izolate fata de pamānt (I) sau punctul neutru al acestei surse este legat la pamānt printr-o impedanta de valoare mare, iar masele (carcasele) echipamentelor sau utilajelor sunt legate la pamānt (T).
Acest mijloc de protectie are scopul de a coborā tensiunea fata de pamānt pāna la o valoare nepericuloasa pentru toate partile metalice din instalatie, care īn mod normal nu sunt sub tensiune, dar care au capatat o tensiune īn mod accidental, ca urmare a unui defect de izolatie. Se aplica atāt īn retelele cu neutrul izolat cāt si īn retelele cu neutrul legat la pamānt.
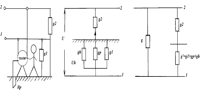
a) - Punere monofazata la pamānt.
La priza de pamānt( cu rezistenta rp ) se leaga toate elementele unei instalatii care pot fi puse accidental sub tensiune, fig.17.15.
Pentru usurinta stabilirii expresiilor analitice se opereaza cu conductante electrice. Pe seama fig.17.15, rezulta :
(17.25)
(17.26)

gp= 1/rp
a) b) c)
Fig.17.15
Deci:
iar curentul de trecere prin corpul uman :
Deoarece gp>>( g1+g2+gh) rezulta :
Īn concluzie, atingerea monofazata este nepericuloasa, daca rezistenta de izolatie
( r1,2 = 1/g1,2) este mare si daca rezistenta de legare la pamānt este mica ( rp = 1/gp).
b)- Punerea bifazata la pamānt a doua faze prin doua carcase legate fiecare prin rezistenta proprie la pamānt, fig17.16.
Curentul de punere la pamānt va avea valoarea (se neglijeaza rezistentele r1 si r2) :
Tensiunile de atingere maxime pe carcasele celor doua utilaje sunt :
Pentru valori diferite ale rezistentelor de faza r1 si r2 si pentru o legatura de egalizare de valoare rc, rezistenta echivalenta a circuitului va fi (fig.17.17.) :
iar curentul are valoarea :
iar curentul prin pamānt Ip :
Fig.17.17.
Ca urmare, din (17.35.) si (17.36.), rezulta :
(17.37.)
Deci, valorile tensiunilor de atingere depind direct proportional de rezistenta rc a conductorului de legatura dintre carcase si de valoarea rezistentei de legare la pamānt.
Daca rc = ∞ atunci:
si depind numai de valorile lui rp1 si rp2.
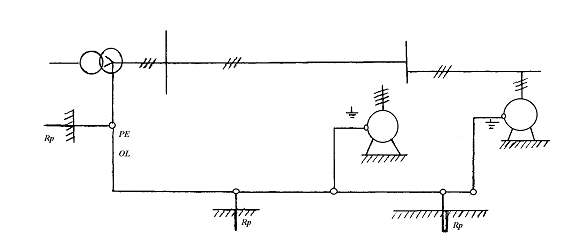
17.3.2.5.2. Legarea la pamānt īn retele cu neutrul legat la pamānt.
Conform aceluiasi STAS 8275-87, acest mijloc reprezinta "schema TT", schema īn care cel putin un punct al partilor active ale sursei este legat la o priza de pamānt, direct sau printr-o rezistenta de valoare mica ( T) , iar carcasele echipamentelor sau utilajelor electrice sunt legate la o priza de pamānt (T).
Īn acest caz, figura 17.17., la un defect de izolatie fata de carcasa [27;31], curentul de defect Id are expresia :
Fig.17.17.
Daca se poate neglija rezistenta conductorului de faza (R1) si īn lipsa atingerii indirecte ( Rh=∞), atunci :
Uf = Id(R0+Rp) = 220 V (17.42.)
Respectiv :
Deci suma caderilor de tensiune (tensiunilor de atingere) pe cele doua prize de pamānt este o constanta. Ca urmare, daca una dintre ele se reduce la o valoare nepericuloasa (40 V), atuncicealalta are valoarea complementara īn raport cu Uf= 220V, (adica 170V) si va fi foarte periculoasa.
Aceasta constatare este motivul pentru care legarea la pamānt nu se aplica ca mijloc de protectie de baza īn retelele cu neutrul legat la pamānt.
Pentru ca tensiunea de atingere Uap sa aiba o valoare nepericuloasa, se impune ca rezistenta Rp sa aiba o valoare cāt mai mica īn raport cu Ro.
De regula, este dificil sa se obtina valori mici pentru Rp, acesta fiind un alt motiv care limiteaza aplicarea acestui mijloc de protectie īn retelele cu neutrul legat la pamānt.
Evident, aplicarea acestui mijloc de protectie, reduce pericolul unei electrocutari si prin reducerea duratei de existenta a tensiunii de atingere, la durata de actionare a aparatelor de protectie (AP, fig.17.17.) parcuse de curentul de defect Id, durata care
poate fi stabilita la mai putin de 0.2 secunde.
17.3.2.6. Protectia prin legare la nul
Asa cum s-a aratat īn par.17.3.2.5. evitarea electrocutarii, se poate obtine prin :
- reducerea tensiunii de atingere la valori nepericuloase (sub 40 V) prin divizarea tensiunii de faza pe mai multe rezistente (Rp si Ro ; Rp si rezistenta de izolatie);
- reducerea duratei pericolului de electrocutare, prin deconecterea automata a zonei cu defect, īn intervale de timp mai mici de 0,2 secunde.
Deoarece legarea la pamānt are dezavantajele mentionate anterior, s-au cautat si alte solutii de reducere a tensiunii de atingere, corelate cu deconectarea zonei cu defect determinata de curentul de defect.
O asemenea solutie, o reprezinta legarea la NEUTRUL sistemului electric trifazat. Prin definitie (STAS 8275-87), neutrul unui sistem electric este "punctul comun al partilor active ale sursei de tensiune ale carei diferente de potential īn valori absolute, fata de fiecare conductor activ ( faza) sunt egale īn functionare normala". Conform aceluiasi normativ, nulul este " neutrul legat la o priza de pamānt printr-o rezistenta electrica neglijabila" .
Deci, īn principiu, protectia la electrocutare se asigura prin legarea la neutrul sistemului electric trifazat. Deoarece, conform aceluiasi normativ, neutrul, accesibil din considerente tehnice (accesibilitatea tensiunii de faza la receptori) se impune sa fie legat la pamānt, capata denumirea de nul.
Conform STAS 8275-87, acest mijloc de protectie este definit ca " schema TN, schema īn care cel putin punctul neutru al sursei este legat la priza de pāmānt ( T), iar masele (carcasele) utilajelor si echipamentelor electrice sunt legate la nul (N).
Prin legarea carcaselor receptoarelor la conductorul de nul (N) (care face legatura cu neutrul sistemului electric) orice defect de izolatie īntre o faza si carcasa reprezinta un scurtcircuit monofazat. Situatia este similarā cu cea din fig. 17.17., cu deosebirea ca " īntoarcerea" curentului de scurtcircuit monofazat (I<i) are loc prin conductorul de nul si
nu prin pamānt. Conform fig.17.19. legarea la pamānt a neutrului prin Ro permite expunerea, prin atingere indirecta , la caderea de tensiune de pe conductorul de nul. In acest caz, relatia (17.42) devine :
tensiunea la care se expune prin atingere indirecta organismul uman (Ua) are valoarea : Ua = rN Id < 40V (17.44.)
Din (17.43.) si (17.44.) rezulta : Rf>4.5 rN (17.45.)
Respectiv SN>4.5Sf (17.45')
Pentru ca tensiunea de atingere sa fie nepericuloasa.
Iar curentul prin organismul uman va
fi : Ih=
Evident, asigurarea acestei conditii, prin marirea efectiva a sectiunii conductorului de nul, este neeconomica.

Fig.17.19.
Problemele protectiei prin legare la nul.
Asa cum s-a aratat, legarea la nul se foloseste ca mijloc de protectie īmpotriva electrocutarii, īn retelele īn care se impune ca neutrul sistemului electric trifazat sa fie accesibil pentru a fi accesibila tensiunea de faza, necesara alimentarii receptorilor monofazati (corpuri de iluminat su prize monofazate). Evident, de la aceste sisteme electrice, sunt alimentati si receptorii trifazati (acestia din punct de vedere tehnic, nu au nevoie de conuctorul de nul).

Fig.17.20.
Ca urmare, daca īn timp ce un receptor monofazat este alimentat, conductorul de nul se īntrerupe īn amonte de acest receptor, portiunea de conductor de nul din aval de īntrerupere si ca urmare si toate carcasele legate la el, capata potentialul fazei, o eventuala atingere a oricarei carcase ( eveniment foarte posibil) fiind foarte periculoasa (deoarece neutrul este legat la pamānt prin R0).
Aceasta situatie este una din problemele protectiei prin legare la nul.
Evitarea acestei situatii, se obtine prin asigurarea niāntreruptibilitatii nulului.
Aceasta cerinta se poate asigura astfel :
- prin legarea repetata la pamānt a conductorului de nul prin rp, iar Ro va
reprezenta si cea mai apropiata legatura repetata la pamānt, fata de sursa : prin legarile repetate la pamānt se reduce si rezistenta echivalenta a caii de īntoarcere a curentului de defect, asigurānd conditia (17.45);
- deoarece īn retelele monofazate nulul de lucru ( folosit la alimentarea
receptorilor monofazati) este trecut m unele cazuri si prin aparate de protectie sau conectere si ca urmare, creste probabilitatea īntreruperii lui, se impune ca nulul folosit īn scop de protectie (PE) sa fie diferit de cel de lucru (PN) si astfel sa scada sensibil posibilitatea īntreruperii lui.
Existenta separata a PE fata de PN, se impune si din cea dea doua problema a protectiei prin legare la nul.
Deoarece īn prizele monofazate fisele de alimentare a receptorilor monofazati se pot introduce īn orice pozitie ( cele trifazate sunt unipozitionale), carcasa receptorului nu se poate lega la nulul de lucru (PN), deoarece pe una din pozitiile de introducere a fisei, carcasa ar fi conectata direct la tensiunea de faza fig. 17.21 .b.
Pentru a se evita aceasta situatie, īn urma careia carcasele tuturor receptorilor conectati la PN, ar capata potentialul fazei, s-a adoptat solutia separarii conductorului de nul de lucru (PN) de cel de nul de protectie ( PE),fig.l8.21.c. Prizele monofazate prevazute cu contact de protectie (CP) sunt astfel executate īncāt, pe fiecare din cele doua pozitii posibile de introducere a fisei (care are si ea contact de protectie bipozitional), īn prima instanta se realizeaza conectarea la PE si apoi la F si PN.
In principiu, din punct de vedere electric PN si PE sunt identice, separarea lor fiind impusa din cerinta de asigurare a neāntreruptibilitatii conductorului de nul de protectie (PE) care are rolul de protectie īmpotriva electrocutarii si īndeosebi de existenta receptorilor monofazati.
Īn conformitate cu normativele de protectie īmpotriva electrocutarii, de la caz la caz, PN si PE pot fi independente de la sursa pāna la fiecare circuit monofazat de iluminat sau prize, sau pot avea si portiuni comune, situatie īn care se marcheaza prin simbolul (PEN).
Cel mai apropiat punct dintr-o schema electrica, īn raport cu receptorii, de la care se impune separarea PN de PE īl reprezinta tabloul electric secundar ( TS), cu conditia ca īn punctul de separare a celor doua conductoare de nul sa existe o legatura repetata a acestora la pamānt. Deoarece, de regula, nu toate circuitele monofazate de prize alimenteaza receptori monofazati la care se impune asigurarea protectiei īmpotriva electrocutarii, conductorul de nul de protectie ( PE) se prevede numai pe anumite circuite ( de ex. īn locuinte circuitele pentru prizele monofazate din bucatarii si de lānga
a) b) c)
Fig. 17.21.
īn care se considera ca nu se folosesc receptori electrocasnici care ar prezenta pericolul unei atingeri indirecte si ca urmare, nu sunt prevazute cu PE). La nivelul coloanelor electrice ( care alimenteaza TP si TS din TG) ca nul de protectie se foloseste un conductor al cablului sau marrtaua acestuia daca asigura cerinte de continuitate electrica. Cānd nulul de protectie PE este comun cu PN sau este o cale de curent componenta a unui cablu ce contine conductoarele de faze si de nul de lucru ( 3F + N) conductoml de nul de protectie se considera ca este izolat. In unele situatii PE poate fi si neizolat, respectiv īn cazul unui consumator cu post de transformare propriu si desfasurat pe o suprafata mai restrānsa. In acest caz, PE este executat din conductor neizolat ( banda de OL) si astfel pozat īncāt sa fie accesibil carcaselor tuturor receptorilor, fig.17.22, la aceasta legāndu-se borna de nul de protectie a fiecarei carcase.
Pe seama celor de mai sus rezulta ca la schemele electrice generale pentru alimentarea receptorilor de iluminat si prize, coloanele electrice se vor executa cu cabluri electrice trifazate si cu un conductor comun pentru nul de lucm si de protectie (PEN), deci vor avea patm conductoare. La nivelul schemei secundare, circuitele de iluminat se executa de regula cu douā conductoare (īn unele cazuri se inpune asigurarea protectiei īmpotriva electrocutarii si pentru corpurile de iluminat), iar cele de prize pot fi, asa cum s-a aratat, cu sau fara PE, deci cu doua (F+PN) sau trei conductoare (F+PN +PE).

Fig. 17.22.
contin conductorul de nul de lucru (PN), daca acesti receptori sunt trifazati simetrici, dar pot fi prevazute cu conductor de nul de protectie (PE) ce se va lega la borna de nul a carcasei fiecarui receptor. Ca urmare, legaturile electrice se vor executa cu cabluri cu patru conductoare. Evident, daca utilajul electric trifazat este prevazut si cu receptori monofazati.
Acestea au fost cele doua probleme ale protectiei prin legare la nul, care au determinat executarea separata a PN de PE.
Exista si o a treia problema a acestui mijloc de protectie, īnsa īn dependenta cu legarea la pamānt.Astfel, daca doi consumatori alimentati de la acelasi post de transformare (PT), folosesc, unul protectia prin legare la nul, iar celalalt protectia prin legare la pamānt. fig. 17.23. si daca la acesta din urma se produce un defect de izolatie, carcasa utilajului capata tensiunea de atingere Ua1 < 40, nepericuloasa. Īnsa, caderea de tensiune pe R0,asa cum s-a aratat,va fi de 170 V, complementara īn raport cu Uf = 220 V
Fig.17.23.

|