Comentati puntea spate dubla motoare la autocamioane
forjare din otel;
din trei bucati asamblate prin sudura, partea centrala teava din otel trasa pe dorn, iar partile laterale forjate;
din tabla din otel debitata corespunzator si asamblata prin sudura, sectiunea transversala fiind dreptunghiulara.
Cea mai folosita solutie este prima metoda, iar sectiunea transversala
este un profil I cu muchiile rotunjite. Aceasta sectiune este prezentata in figura 6.4, dimensiunea de baza fiind grosimea inimii profilului.

Fig.6.4.Sectiunea transversala in I a grinzii forjate.
Modulele de rezistenta ale acestei sectiuni, luand ca dimensiune de baza grosimea inimii profilului sunt:
si
Schema fortelor care actioneaza asupra grinzii puntii din fata, inclusiv diagramele de eforturi, pentru regimurile franarii si deraparii este prezentata in figura 6.5.
Fig.6.5.Modelul de calcul al puntii din fata rigide, inclusiv diagramele de eforturi: 1-regimul franarii; 2-regimul deraparii.
Regimul franarii.
Reactiunile normale sunt:
Reactiunile tangentiale se determina la limita de aderenta:
Expresiile solicitarilor sunt:
Regimul deraparii.
Datorita fortei laterale, reactiunile difera pentru partea stanga si dreapta:
pentru roata din stanga
,
pentru roata din dreapta:
,
6. Cum se poate monta mecanismul de actionare al SD cu pinion si cremaliera (scheme, comentarii);
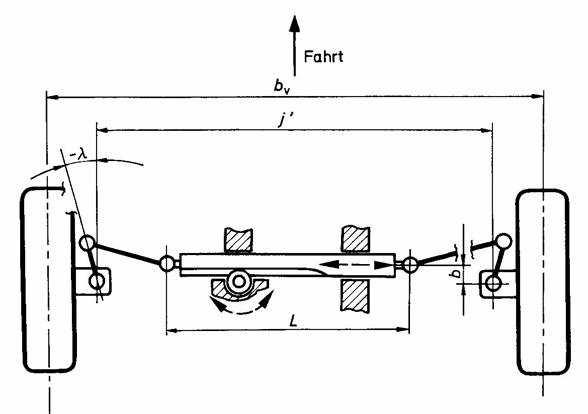
Montarea mecanismului pinion-cremaliera depinde de ampasarea grupului motor-transmisie, de constructia puntii din fata, de traseul posibil pentru arborele volanului. In plan vertical cremaliera poate fi montata sub axa rotilor, in planul axei rotilor, sau deasupra axei rotilor. In plan orizontal cremaliera poate fi montata in spatele axei rotilor si levierele fuzetelor dispuse spre fata, in fata axei rotilor si levierele fuzetelor dispuse spre spate, sau putin in fata axei rotilor si levierele fuzetelor dispuse spre fata, asa cum se vede in figura 1.12.



Unghiul de inclinare longitudinal al pivotului
Unghiul de inclinare longitudinala al pivotului (unghiul de fuga) se noteaza cu β0 si reprezinta inclinarea fata de verticala a pivotului, masurata in plan longitudinal. Unghiul de inclinare longitudinala al pivotului si efectul sau stabilizator sunt prezentate in figura 1.36.

Fig.1.36.Unghiul de inclinare longitudinala al pivotului si efectul sau stabilizator
El are urmatoarele consecinte:
consecinta geometrica: prelungirea axei pivotului intersecteaza calea in punctul B, situat la distanta a (dl) numita deport longitudinal, de centrul A al petei de contact roata-cale;
- consecinta dinamica: in cazul actiunii unor forte transversale (forta centrifuga in viraj, forta laterala a vantului, drum inclinat transversal), reactiunile transversale Y1d si Y1s la rotile puntii din fata dau nastere unui moment stabilizator Ms , dat de relatia:
(1.1)
Acest moment stabilizator tinde sa readuca rotile in pozitia mersului rectiliniu. Deoarece, la deplasarea in curbe reactiunile transversale depind de viteza de deplasare a automobilului, acest moment se numeste moment stabilizator de viteza.
Momentul de franare al franei disc de tip deschis
Momentul de franare se determina folosind schema din figura 2.18.


Forta normala pe elementul de arie dA=ρ·dρ·dθ este dN=p·dA, forta de frecare este dFf =μ·dN, momentul de frecare elementar in raport cu centrul O va fi dMf=ρ·dFf , iar momentul total de frecare pentru nf perechi de suprafete de frecare si distributie uniforma a presiunii va fi:
(2.33)
Daca se inlocuieste p=N/A=N/[α(re2-ri2)], expresia momentului de franare devine:
(2.34)
unde s-a notat
.
In practica pentru calculul razei medii se utilizeaza relatia mai simpla rm = (re + ri)/2, eroarea de calcul nedepasind 4%.
Pentru constructiile uzuale se recomanda ri / re = o,6..0,75 si
Forta normala N se determina din conditia de echilibru a garniturii de frictiune, in functie de valoarea fortei de actionare a pistonului.
(2.35)
unde μ este coeficientul de frecare dintre disc si garnitura; μ' este coeficientul de frecare dintre partea metalica a placutei si elementele de ghidare ale placutei (μ' = 0,05..0,1).
9.Schema de principiu, momentul de franare si caracteristica de stabilitate a franei cu banda.
In figura 2.22.a se prezinta schema de principiu a franei cu banda. Ea se compune dintr-o banda elastica din otel, prevazuta pe partea interioara cu o garnitura de frictiune, care se poate strange datorita unui sistem mecanic pe suprafata exterioara a unui tambur, rezultand un moment de franare.

Fig.2.22.Schema de principiu si caracteristica de stabilitate a franei cu banda
Intre fortele S1 (forta de intindere a benzii de la capatul ramurii care se infasoara) si S2 (forta de intindere a benzii de la capatul care se desfasoara) de la capetele benzii se poate scrie relatia lui Euler:
(2.37)
Din conditia de echilibru a tamburului se determina momentul de franare:
(2.38)
Coeficientul de eficacitate este dat de relatia:
|