Documente online.
Zona de administrare documente. Fisierele tale
Am uitat parola x Creaza cont nou
 HomeExploreaza
upload
Upload




Conceptia elaborarii bilantului exergetic

tehnica mecanica


Conceptia elaborarii bilantului exergetic



Bilantul exergetic furnizeaza precizari foarte importante īn ce priveste valoarea pierderilor reale de energie, localizarea si stabilirea adevaratelor cauze ale pierderilor, permite analizarea concreta a masurilor tehnico-organizatorice menite sa contribuie la diminuarea pierderilor si inclusiv la ridicarea performantelor proceselor respective.



Aplicarea metodei de analiza exergetica presupune determinarea tuturor componentelor unui bilant exergetic, precum si a parametrilor de stare ai purtatorilor de energie ce participa īntr-un contur de bilant.

Asa cum se stie exergia unei energii ordonate este egala ca valoare chiar cu energia respectiva. Īn cele ce urmeaza, vor fi prezentate relatiile de calcul ale principalelor componente ale b 232q165c ilantului exergetic.

a) Exergia corespunzatoare unei energii mecanice este data, prin definitie, de relatia:


Emec=Wmec    [J/u.r].



b) Exergia corespunzatoare unei energii electrice este definita de expresia:


Ece=Wce    [J/u.r].



c) Exergia introdusa sau evacuata dintr-un contur de bilant de catre cantitatea G, īn kg sau Nm3, dintr-un material se determina cu relatia:


Em=Gem=(I1 - I0) - T0(S1 - S0) ,    [J]



īn care em reprezinta exergia unitatii de masa sau de volum din materialul respectiv, īn J/kg sau J/Nm3;


em=(i1-i0) - T0(s1 - s0) [J/kg sau J/Nm2]


I1=G i1    [J]


I0=G i0    [J]


S1=G s1    [J/K]


S0=G s0    [J/K]



il i este entalpia materialului īn starea 1, respectiv īn starea de referinta, īn J/kg sau J/Nm3; sl s0 - entropia materialului īn starea 1, respectiv īn starea de referinta, īn J/kg K sau J/Nm3 K; T0 = temperatura absoluta a starii de referinta, īn K.

d) Exergia unei unitati de combustibil este data de relatia:


Ec= Hi - T0(st - s0) [J/kg sau J/Nm3],



unde st este entropia produselor finale ale arderii, la temperatura finala (teoretica) de ardere, īn J/kg K sau J/Nm3 K.

De mentionat ca, exergia unui combustibil reprezinta, de fapt, exergia amestecului de combustibil cu aerul la un exces dat. Prin urmare, exergia este functie nu numai de combustibil, ci si de cantitatea de aer. Exergia unui combustibil se micsoreaza cu cresterea excesului de aer.

e) Exergia unei cantitati de caldura Q cedata sau preluata de o masa materiala, la presiune constanta, este data de expresia:


,



unde T1 este temperatura purtatorului caldurii Q, īn K.

f) Pierderea de exergie īn cadrul unui proces de transfer a cantitatii de caldura Q, īntre temperaturile T1 si T2, se determina cu relatia:






2.3.1. Conceptia elaborarii bilanturilor energetice generale


Bilantul energetic general rezulta prin īnsumarea bilanturilor electro-energetice si termoenergetice de la nivelul sistemului analizat.

Energiile din structura bilantului energetic general pot fi transformate īn combustibil si īn acest caz, se obtine bilantul de combustibil, la nivelul ansamblului cercetat.

Bilantul energetic general poate fi elaborat la nivelul sectiilor de productie, la nivelul īntreprinderii, al ramurii industriale si la nivelul economiei nationale.

La elaborarea fiecarei forme de bilant, trebuie aplicata conceptia sistemica de abordare a fenomenelor analizate, conform careia, fiecare element al sistemului se analizeaza tehnologic si functional īn raport cu ansamblul elementelor din structura conturului de bilant. Aplicarea conceptiei sistemice la elaborarea bilantului energetic general reclama parcurgerea tuturor lanturilor tehnologice, īncepād cu sursa de energie primara si terminānd cu consumatorii de energie. Deci, energia primara livrata de sursa trebuie calculata, plecāndu-se de la consumator, unde energia apare sub forma de energie utila la care se adauga pierderile de energie īn ansamblul instalatiilor ce leaga consumatorul de sursa de energie primara.

Bilantul energetic general trebuie sa reflecte situatia consumului util si al pierderilor de energie la nivelul tuturor instalatiilor dintre sursa si consumator. Astfel, īn bilant, trebuie sa se reflecte situatia energetica din cadrul instalatiilor de extractie, transport, distributie, transformare si utilizare a energiei la nivelul tuturor purtatorilor. Ecuatia de bilant, sub forma sa cea mai generala, se poate scrie astfel:


,



īn care Eprim reprezinta energia primara; Eu - energia utila; ΔEut - energia pierduta la nivelul instalatiilor de utilizare; Etf - pierderile de energie la nivelul instalatiilor de producere, transport si distributie; Eti - pierderile de energie la nivelul instalatiilor de pregatire a combustibilului (cocserii, semicocserii, furnale instalatii pentru lichefiere etc.); EP - pierderile de energie la nivelul prepararii purtatorilor (prelucrare, brichetare, rafinare, preparare etc.); Eb - pierderile de energie la nivelul sursei primare.

Pentru determinarea pierderilor, la diverse niveluri ale sistemului analizat, trebuie avut īn vedere urmatoarele:

- Energia electrica si termica nu se pot stoca decīt partial si incomplet, pe cīnd combustibilul are avantajul stocarii. Ca urmare, optimizarea nivelului de pierderi se poate face la nivelul bilantului energetic general pe termen scurt de cel putin un an si pe termen lung, tinīnd seama de perspectiva dezvoltarii sistemului de energie analizat;

- Lanturile energetice care leaga sursa de energie de consumator sunt formate din instalatii complexe (sursa, instalatiile de producere, transport si distributie a energiei si consumatorii de energie). Aceste instalatii se caracterizeaza prin fluxul de energie, prin caracteristica de consum si prin caracteristica de cheltuieli. Fluxul de energie cuprinde energia debitata de lantul energetic pe orizontul de prognoza, caracteristica de cheltuieli intervenind īn cadrul modelului de bilant energetic general sub forma de functie de eficienta, iar caracteristica de consum sub forma de restrictie. Modelul matematic al functionarii de durata a bilantului energetic general trebuie construit, tinīnd seama de faptul ca, cheltuielile de transport difera de la un lant energetic la altul, datorita amplasarii īn locuri diferite a surselor fata de consumatori. Consumatorii preiau din sistem diferite feluri de energii, care se acopera de la diverse surse. Energiile preluate la nivelul consumatorilor nu se pot stoca decīt partial si incomplet, cu exceptia combustibililor clasici si nucleari;

- Datele necesare īntocmirii si optimizarii unui bilant energetic trebuie sa cuprinda: energiile utile pe consumatori individuali si grupati, indicatori tehnici si economici ai lanturilor energetice, resursele primare disponibile pe intervalul de timp considerat si pe tipuri de purtatori de energie, restrictiile problemei studiate privind posibilitatea utilizarii mai multor feluri de combustibil, pentru unul si acelasi consumator, corelatia dintre energiile produse si cele consumate, pastrarea unui anumit nivel al rezervelor de combustibil din sistem etc;

- Construirea unor instalatii echivalente la nivelul sursei, la nivelul producerii si transportului energiei si la nivelul consumatorilor trebuie realizata īn conceptie sistemica.

Conditiile de īnlocuire a unei multimi de instalatii cu o instalatie echivalenta sunt:    amplasament identic ca distanta fata de centrul de consum,

bilitate aproximativ identica de īnlocuire a unui purtator de energie cu altul.

- Determinarea lungimii echivalente de transport a energiei trebuie realizata īn conditii tehnico-economice precise. Lungimea echivalenta de transport a energiei rezulta din conditia egalitatii cheltuielilor de transport de pe reteaua reala cu cele pe lungimea echivalenta, īn ipoteza repartitiei uniforme a consumului de-a-lungul retelei de transport si distributie.

Daca se urmareste modelarea īn conceptie sistemica a unui bilant energetic general, pe baza cheltuielilor totale actualizate, Zt.ac, se pot utiliza urmatoarele relatii:





īn care reprezinta cheltuielile totale actualizate pentru cercetarea proiectarea instalatiilor energetice; - cheltuielile totale actualizate pentru montajul instalatiilor energetice proiectate ; - cheltuielile totale actualizate pentru explorarea si dezvoltarea instalatiilor energetice īn functiune; pn - coeficientul de eficienta economica (0,08 .. 0,06) an-1; Ii Ci - investitiile, respectiv cheltuielile implicate la conceperea si realizarea instalatiilor energetice; Di; - cheltuielile cu daunele īn anul i de raportare (i=1... Rt.ac valoarea instalatiei la momentul dezafectarii ei de la retea.

Tratarea problemei īn conceptie sistemica presupune abordarea tuturor problemelor din fazele tehnologice prin care trece sistemul si anume: cercetare-proiectare, CP, constructii-montaj, CM, si exploatare-dezvoltare, ED.

Modelarea procesului de producere-transport si utilizare a energiei pe lanturi energetice se face, plecānd de la sursa la consumator sau viceversa, cu ajutorul cheltuielilor totale actualizate scrise sub urmatoarea forma:


,



īn care reprezinta cheltuielile totale actualizate la nivelul sursei de energie, SE; - cheltuielile totale actualizate la nivelul centralelor electrice, CE; -cheltuielile totale actualizate la nivelul instalatiilor de transport si distributie, TD; - cheltuielile totale actualizate la nivelul consumatorilor de energie, CC; - cheltuielile totale actualizate generate de influenta mediului asupra instalatiilor energetice (poluare, situatii de calamitate, conditii specifice de functionare etc.); - cheltuielile totale actualizate pentru proiectarea, P, montaj, M, si exploatarea, E, a instalatiilor energetice studiate īn cadrul bilantului energetic general.



Determinarea elementelor care intervin īn relatiile (2.12), (2.13) si (2.14) se poate face cu ajutorul balantei legaturilor dintre ramuri, aplicata la diverse niveluri de analiza a bilantului energetic general. Pe aceasta baza, se determina sistemic productia de resurse, consumul propriu tehnologic, la nivelul tuturor instalatiilor din structura unui sistem de energie si energiile utile la nivelul fiecarui tip de instalatie. Totodata, se pot determina costurile pentru fiecare purtator de energie īn vederea luarii īn consideratie a implicatiilor tehnice si economice care conditioneaza formarea preturilor reale si optime la nivelul īntregului sistem analizat.

Modelele matematice cu care opereaza balanta legaturilor dintre ramuri pot fi statice si dinamice. Fiecare dintre acestea pot fi modele matematice īnchise sau deschise. Caracterul dinamic al modelului cu care opereaza balanta legaturilor dintre ramuri este dictat de dependenta marimilor din model de variabila timp. Daca consumul final se determina īn afara sistemului, atunci modelul are caracter deschis.

Daca toate activitatile sīnt īnchise īn primul din cele patru cadrane ale balantei legaturilor dintre ramuri, atunci modelul este īnchis.

Modelele matematice statice deschise (a) si īnchise (b) ale balantei legaturilor dintre ramuri se pot scrie sub urmatoarele forme matriceale:




unde A este matricea coeficientilor tehnici; Xi - productia totala a ramurii i; Yi - consumul final al ramurii i; I - matricea unitate.

Modelul matematic static deschis al balantei legaturilor dintre ramuri se poate scrie si sub forma:




,



unde Xij reprezinta parte din productia ramurii i consumate productiv īn ramura j īn perioada ; Xj - productia totala a ramurii j.

Problema cea mai des īntālnita īn practica consta īn determinarea necunoscutelor (Xi), cānd se dau marimile Yi.

Solutia modelului deschis se poate scrie sub forma:




īn care bij este valoarea productiei ramurii i, necesara pentru consum, īn vederea fabricarii unei unitati de produs final īn ramura j, respectiv k; deci, avīnd o structura tehnologica data prin matricea A, rezulta ca volumul productiei fiecarei ramuri depinde de nivelul planificat al consumului final īn sistemul analizat.

Modelul matematic dinamic al balantei legaturilor dintre ramuri opereaza cu relatii de forma:




unde reprezinta investitiile pentru dezvoltarea productiei īn perioada .

Pentru a tine seama de import, modelele matematice input-output īsi modifica structura astfel:






īn care este coeficientul de import de natura statica, respectiv de natura dinamica.

Modelele matematice ale balantei legaturilor dintre ramuri se pot aplica, īncepīnd cu īntreprinderea considerata sistem de productie si terminīnd cu economina nationala, care trebuie sa cuprinda sistemic toate unitatile din cadrul ramurilor. La aplicarea acestor modele, trebuie avut īn vedere restrictiile generale si specifice fiecarui sistem analizat. Dintre acestea, trebuie sa retina atentia restrictiile legate de acoperirea consumului cu resursele existente, cele care exprima modul de solicitare a resurselor si cele legate de regimul de functionare al instalatiilor analizate.

Modelul matematic al bilantului energetic general trebuie sa cuprinda atāt partea de bilant electroenergetic, cāt si partea de bilant termoenergetic. Pentru optimizarea activitatii la nivelul īntregului sistem, se recomanda ca, modelul matematic al bilantului energetic general sa cuprinda trei aspecte de baza si anume:

- transportul combustibilului de la sursa la consumator,

- intersanjabilitatea combustibililor la consumator,

- regimul de functionare al instalatiilor analizate.

Daca activitatea modelata se desfasoara īntr-un interval mai mic decīt un an, atunci functia de eficienta a modelului matematic este de forma cheltuielilor anuale de calcul. Daca activitatea modelata se desfasoara pe o durata mai mare decīt un an, atunci functia de cheltuieli din structura modelului matematic al bilantului energetic general are forma cheltuielilor totale actualizate. Ca o noua tendinta īn calculul cheltuielilor si investitiilor, care intervin īn modelul bilantului energetic general, retine atentia cercetarea operationala.



3.3. Masurarea marimilor folosite īn calculul bilanturilor energetice


3.3.1. Masurarea marimilor electrice


Pentru efectuarea masuratorilor, īn vederea determinarii marimilor din structura unui bilant electroenergetic, trebuie īndeplinite urmatoarele conditii:

- īntocmirea unei scheme monofilare a īntregii instalatii si cunoasterea caracteristicilor cablurilor, barelor, motoarelor si a altor categorii de consumatori ;

- fixarea punctelor de masurare a consumurilor de energie;

- pregatirea aparatelor si realizarea schemelor de masurare a marimilor din structura de bilant;

- montarea unui set minim de aparate de masura la nivelul tablourilor de distributie;

- aplicarea masurilor de protectia muncii īn instalatiile unde se executa masuratorile si instruirea echipei de lucratori, care preiau sarcina finalizarii masuratorilor legate de īntocmirea bilantului energetic;

- masuratorile se fac pentru o zi caracteristica din luna cu cele mai mari consumuri de energie. Marimile de masurat se citesc din ora īn ora pe cele trei schimburi de lucru ale sectiei din conturul de bilant analizat. Masurarea marimilor se face fie direct, fie indirect. Dupa determinarea marimilor din proces, se calculeaza valoarea lor medie si valoarea medie patratica.

Alegerea aparatelor de masura si a celorlalte elemente din schema construita pentru masuratori se face īn ideea ca, aparatajul selectat sa reziste solicitarilor mecanice si a influentelor mediului unde va lucra. Pentru alegerea aparatelor din schema de masura, trebuie verificat gradul de precizie si factorul de calitate ale aparatelor sau dispozitivelor de citire si extensia scarii, īn asa fel īncāt sa cuprinda gama marimilor ce se masoara.

Clasa de precizie a aparatelor de masura exprima eroarea tolerata la masuratori, īn procente din indicatia maxima a aparatului de masurat.

Pentru aparatele electrice exista cinci clase de precizie si anume: clasa 0,2 cu eroare tolerata ± 0,2% din scara de masura; clasa 0,5 cu eroarea ± 0,5%; clasa 1 cu eroarea 1%; clasa 1,5 cu eroarea ± 1,5%; clasa 2,5 cu eroarea ± 2,5%. Aparatele din clasa 0,1 si 0,2 sīnt utilizate pentru masu­ratori de precizie īn laborator sau pe platforme de īncercari. Aparatele din clasele 0,5 si 1 sīnt utilizate pentru masuratori curente de control. Aparatele din clasa 1,5 si 2,5 sunt utilizate ca aparate de tablou. Factorul de calitate cel mai mare īl au aparatele cu magnet permanent, dupa care urmeaza aparatele electrice electrodinamice, electromagnetice si de inductie.

Punerea la zero a aparatelor este obligatorie pentru clasele de precizie 0,2 si 0,5. Consumurile proprii tehnologice variaza īntre 0,2 ... 20 VA. Limita superioara de consum se regaseste la voltmetre si wattmetre, iar limita inferioara a consumului apare īn cazul ampermetrelor magnetoelectrice.

Daca īn instalatie exista transformatoare de masura, atunci trebuie cunoscute erorile de raport pentru curent, respectiv pentru tensiune si erorile de unghi. O atentie deosebita trebuie data modului īn care se leaga transformatorul de masura īn retea.

Conditiile preliminare pentru realizarea unor masuratori precise se refera la: asezarea aparatelor īn pozitia lor de etalonare, punerea la zero a acului indicator, aburirea geamului aparatului pentru a evita influenta sarcinii electrostatice ce se poate forma prin eventualele frecari īn timpul transportului, curatirea tuturor fiselor de la rezistentele de precizie si montarea lor prin presare īn locasurile respective, montarea corecta īn circuitul supus masuratorilor a tuturor aparatelor si īn special a contoarelor de energie, mai ales īn situatii cīnd īn schema figureaza transformatoare de masura, ferirea tuturor aparatelor de influenta cāmpurilor electrice si magnetice exterioare, prin asezarea lor la o departare apreciabila de masinile electrice, transforma­toare si condensatoare electrice, prin care circula curenti intensi.

a) Relatiile de calcul ale rezistentelor de masurat au urmatoarea structura:


,


,



īn care U este tensiunea indicata de voltmetru, īn V; I - curentul indicat de ampermetre, īn A; Rv - rezistenta voltmetrului, īn Ω; RA - rezistenta ampermetrului, īn

Montajul īn aval se recomanda pentru masurarea rezistentelor sub 10 iar cel īn amonte pentru rezistente mai mari ca 10 ohmi. Erorile de masura sīnt īn ambele cazuri sub 1%.

Metoda de comparatie permite compararea a doua rezistente, una cunoscuta, R0, cu alta necunoscuta, Rx, montate fie īn serie, fie īn paralel. Cu ajutorul unui voltmetru se masoara succesiv tensiunea la bornele rezistentei cunoscute, U0, si respectiv la bornele rezistentei necunoscute Ux.

Daca se masoara curentii cu doua ampermetre, se obtin I0 si Ix. Relatiile de calcul al rezistentei Rx au urmatoarea structura:



Pentru masurarea rezistentelor de izolatie, care au valori ce ating se utilizeaza ohmetre sau megaohmetre. Ohmetrele care se recomanda pentru rezistente de izolatie pīna la 104 sunt īnzestrate cu scheme interioare tip serie, iar pentru rezistente pīna la 102 , se utilizeaza ohmetre cu scheme interioare īn derivatie.

Precizia acestor aparate īn zona mijlocie a scarii este de 0,5 exprimata īn procente din lungimea totala a scarii. Megaohmetrele se construiesc cu scheme interioare de tip serie si au ca sursa interioara un magnetou care furnizeaza o tensiune de 500 V. Pentru masurarea rezistentelor de izolatie mai mari ca 1010 se utilizeaza aparate cu amplificatoare electronice denumite teroohmetre.

Masurarea rezistentei electrolitilor se realizeaza, īn practica, cu metoda ampermetrului si voltmetrului, iar īn laborator cu ajutorul puntii Kohlrausch.

- b) Masurarea inductantelor si a capacitatilor se realizeaza cu ajutorul urmatoarelor metode: metoda de punte (Wheatstone, Santy, Wien, Schering, Maxwell, Andreson, Soper, Carey-Foster), metoda comparatiei (metoda galvanometrului balistic, metoda Felici), metoda ampermetrului si voltmetrului si metode bazate pe aparate speciale denumite Faradmetre sau microfaradmetre.



Relatiile de calcul ale capacitatilor si ale inductantelor proprii, respectiv ale celor mutuale, au urmatoarea forma:



,



,




īn care R reprezinta rezistenta bobinei, īn

- c) Masurarea tensiunilor si curentilor īn practica industriala se realizeaza cu ajutorul voltmetrelor si respectiv a ampermetrelor. Masurarea tensiunilor alternative mici se efectueaza cu aparate cu termocuplu sau cu redresori uscati. Masurarea tensiunilor mijlocii 600 ÷ 750 V se realizeaza cu voltmetre de diverse clase de precizie.

Dintre tipurile de voltmetre existente, se utilizeaza mai frecvent īn practica urmatoarele: voltmetre electromagnetice pentru masurari curente, voltmetre electro-dinamice pentru masurari cu precizie mai mare, voltmetre electrostatice care permit efectuarea masuratorilor fara consum de curent, voltmetre termice pentru masurarea tensiunilor nesinusoidale, voltmetre de inductie si voltmetre electronice. Daca īn reteaua examinata īn cadrul bilantului, exista tensiuni īnalte, atunci, īn schema de masura, se utilizeaza transformatoare de tensiune pe secundarul carora se monteaza voltmetrul pentru determinarea tensiunii coborāte. Īnmultind valoarea masurata cu raportul de transformare, se poate determina tensiunea reala īn reteaua electrica.

Masurarea curentilor se face cu ajutorul ampermetrelor montate īn circuit cu si fara sunturi. Īn practica industriala, pentru masurarea curentilor pīna la 100 A, se utilizeaza aparate electrodinamice conectate direct īn circuit. Pentru masurarea curentilor de peste 100 A, se utilizeaza īn schema de masura un transformator de curent, care reduce intensitatea curentului la 5 A si īn unele situatii, la 1 A. Pentru masurarea curentilor de īnalta frecventa, se utilizeaza aparate electronice clasice sau aparate numerice de masura.

- d) Masurarea puterilor active, īn circuitele monofazate, se face cu ajutorul wattmetrelor electrodinamice, care se etaloneaza fara dificultati si care prezinta precizie īn īnregistrarea marimilor electrice.

Ca aparate de tablou, se mai utilizeaza wattmetre de inductie, wattmetre termice si uneori wattmetre electrostatice.

Wattmetrul electrodinamic poate masura cu precizie puterea, daca s-au pastrat regulile de conexiune a aparatului la retea. Fiecare tip de wattmetru este astfel construit īncāt la diviziunea maxima sa indice o anumita putere nominala. Pentru a afla puterea īn wati, se citeste indicatia īn diviziuni a aparatului si se īnmulteste numarul de diviziuni cu constanta aparatului. Pentru wattmetre cu trei sensibilitati de curent si trei sensibilitati de tensiune, constantele aparatelor de masura se dau īn tabela 3.1.

Tabela 3.1

Constantele cātorva tipuri de wattmetre


I\U

V

V


V

5 A





10 A





20 A






Puterea, P, masurata de wattmetru se calculeaza astfel:


const. Wattmetrului,


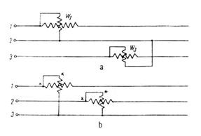
īn care d este deviatia wattmetrului; dn - deviatia maxima; cos φn factorul de putere; Un, In - valorile efective nominale ale tensiunii, respectiv curentului. Schemele de montaj, aval si amonte, al aparaturii de masurare a puterii sunt prezentate īn figura 3.1.

Puterile consumate de receptor, PR, īn montaj aval si respectiv īn montaj amonte, se calculeaza astfel:

,


.



Fig. 3.31 - Schema de masurare a puterii: a - montaj īn aval; b - montaj īn amonte.


Puterile debitate de generator, PG īn montaj aval, respectiv amonte, se calculeaza astfel:



,



īn care U/Rbt este consumul de putere īn bobina de tensiune a wattmetrului; U2/Rv - consumul de putere al voltmetrului; Rbc - rezistenta bobinei de curent; Rbt - rezistenta bobinei de tensiune;

Īn practica, se utilizeaza montajul aval pentru determinarea puterii, PR si montajul amonte pentru puterea PG.

Daca se tine seama de inductanta bobinei de tensiune, relatiile anterioare pentru puterea receptorului au urmatoarea forma:



,



unde ψ este argumentul impedantei bobinei de tensiune; φ - decalajul curentului receptorului fata de tensiunea U.

Cānd tensiunile si curentii din circuitele īn care trebuie sa se execute masuratorile depasesc valorile nominale ale wattmetrului (In = 50A si Un = V), racordarea aparatului de masura la retea se face cu ajutorul transformatoarelor de masura de curent si tensiune, care reduc curentul la 5 A, iar tensiunea la 100 V.

Cānd se utilizeaza montajul cu transformator de curent, bobina de curent a wattmetrului se leaga pe secundarul transformatorului, iar bobina de tensiune se leaga īn derivatie pe retea. Cīnd se foloseste montajul cu transformator de tensiune, bobina de tensiune a wattmetrului se leaga pe secundarul transformatorului, iar bobina de curent se leaga īn serie cu reteaua. Cānd īn circuitul de masura, se utilizeaza doua transformatoare, unul de curent si altul de tensiune, bobinele wattmetrului se leaga pe secundarul fiecarui tip de transformator.

Puterile masurate īn aceste situatii au urmatoarele expresii:




īn care K este constanta wattmetrului; Ki, Ku sīnt rapoartele de transformare ale transformatoarelor de curent, respectiv de tensiune.

Erorile care apar, īn cazul montajelor cu transformator, sunt: eroarea de raport a transformatorului de intensitate si eroarea de unghi a transformatorului de tensiune.

Masurarea puterilor active monofazate cu alte mijloace decīt wattmetrele electrodinamice se poate face prin metoda clestelui Dietz, prin metoda aparatelor de masura (ampermetru si voltmetru), cu wattmetre de inductie si respectiv cu wattmetre termoelectrice cu si fara transformatoare de curent si de tensiune.


Fig. 3.2. - Scheme de conectare la retea a wattmetrelor pentru masurarea puterii.


Masurarea puterii active īn circuitul de curent alternativ trifazat se poate realiza, aplicīnd urmatoarele scheme de masura: schema cu trei wattmetre cu sau fara transformatoare de masura, scheme cu doua wattmetre cu sau fara transformatoare de masura si scheme cu un singur wattmetru.

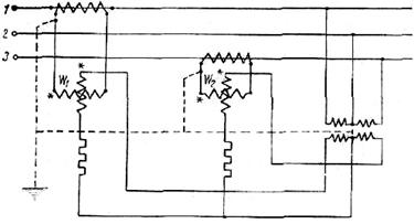
Metoda celor trei wattmetre se aplica īn circuitele trifazate fara sau cu fir neutru cu ajutorul schemelor din figura 3.2, cānd se monteaza direct la retea si cu ajutorul schemei din figura 3.3, cānd se prevad transformatoare de masura.

Bobinele de curent ale wattmetrelor se monteaza īn serie cu conductorul cu borna polarizata spre generator, iar bobina de tensiune a wattmetrului se monteaza cu borna polarizata la conductorul unde este montata bobina de curent si borna nepolarizata, la un punct comun cu bornele nepolarizate. Puterea din circuitul trifazat este suma puterilor masurate:



P = P1 + P2 + P3

Fig. - 3.3. Schema de montaj a wattmetrelor cu ajutorul transformatoarelor de masura


Schemele cu trei wattmetre se folosesc la īncarcarea motoarelor de putere mica si la stabilirea consumului de putere pentru asemenea tipuri de receptoare.

Pentru masurarea puterii īn circuite trifazate nesimetrice ca tensiune si curent, se utilizeaza schema cu doua wattmetre. Aceasta schema de masura rezulta din schema cu trei wattmetre prin legarea punctului comun la una din fazele retelei. Montarea celor doua wattmetre se poate face ca īn figura 3.4, īn schema directa de masura.

Fig. 3.4. - Schema de montaj a wattmetrelor pe doua faze ale retelei electrice.



Daca se utilizeaza transformatoare de masura, atunci este indicata schema din figura 3.5. Puterea masurata cu cele doua wattmetre corespunde puterii trifazate consumate de receptor si se determina, adunīnd puterile indicate de cele doua aparate de masura P = P1 P2. Daca deviatia acului indicator al unui wattmetru este negativa, datorita caracterului sarcinii (unghiul de defazaj dintre curent si tensiune mai mare ca 90o), atunci se schimba legaturile la bornele de tensiune si puterea se ia cu semn schimbat, fata de situatia normala.



Fig. 3.5. - Schema de masura a puterii cu ajutorul a doua wattmetre montate la retea prin intermediul transformatoarelor de masura.


Īn cazul simetriei totale a circuitului trifazat, puterea si defazajul se calculeaza astfel:



,


.


Puterea īn circuitele trifazate se poate masura si cu un singur aparat construit ca un wattmetru trifazat, denumit si wattmetru dublu electrodinamic. Se mai construiesc wattmetre trifazate de inductie a caror realizare se aseamana cu cea a contoarelor trifazate. Wattmetrele duble permit masurarea puterilor īn circuitele trifazate, indiferent de regimul de lucru al retelei. Scara lor este gradata īn wati.

Īn circuitele trifazate simetrice atīt ca tensiune, cāt si īn privinta curentului, se poate masura puterea cu un singur wattmetru, fara sau cu transformatoare de masura. Scara unor astfel de wattmetre este īn asa fel gradata, īncāt indica indirect puterea activa trifazata.

- e) Masurarea puterii reactive se face cu ajutorul a trei montaje si anume: masurare indirecta, masurare directa (folosind varmetre) si masurare directa cu ajutorul wattmetrelor.

Masurarea indirecta (prin calcul) a puterii reactive consta īn masurarea puterii active cu wattmetre si a puterii aparente, S, cu voltmetru si ampermetru. Relatiile de calcul a puterii reactive īn circuite monofazate, Qm, si circuite trifazate echilibrate, Qt, au urmatoarea structura:



.



Din cauza erorilor care apar īntr-o astfel de schema de masura, se prefera celelalte doua metode.

Masurarea directa a puterii reactive cu ajutorul varmetrelor se face prin metoda celor trei, respectiv doua aparate montate ca wattmetrele.

Varmetrele difera de wattmetre prin faptul ca, bobina de tensiune se pune īn serie cu o inductanta sau se pune īn paralel cu o capacitate. Indicatiile varmetrelor sunt direct proportionale cu puterea reactiva din circuit. Se stie ca aparatele pentru masurarea puterii reactive sunt influentate de variatia frecventei si pentru a evita acest fenomen, se construiesc varmetre compensate cu doua bobine de tensiune cuplate pe un acelasi ax, una īn serie cu o inductanta, iar cealalta īn serie cu o capacitate. Racordarea la retea a varmetrelor se face cu respectarea polaritatii bobinelor de curent si de tensiune ca si la wattmetre. Aparatele montate īn circuitele de masura vor indica corect, daca decalajul īntre tensiune si curent este inductiv si vor indica īn sens contrar, daca decalajul este capacitiv.

Pentru masurarea puterii reactive īn circuite trifazate, se poate utiliza atāt metoda celor trei varmetre, cāt si metoda celor doua varmetre cu sau fara transformatoare de masura. Masurarea puterii reactive se poate face si cu ajutorul wattmetrelor.

Puterile active, si reactive se pot masura cu ajutorul metodelor celor doua wattmetre, folosind īn circuit rezistente aditionale speciale. Aceste rezistente permit trecerea de la masurarea puterii active la masurarea puterii reactive cu ajutorul a doua wattmetre identice la care bobina de tensiune are o anumita valoare predeterminata cu precizie.

Masurarea factorului de putere se face fie masurānd puterea activa cu ajutorul wattmetrului si puterea aparenta cu voltmetru si ampermetru, fie se realizeaza prin masuratori directe cu ajutorul cosfimetrului denumit si fazmetru. Fazmetrele se construiesc atāt ca aparate monofazate, cāt si trifazate.

- f) Masurarea energiei electrice active si reactive īn circuite monofazate si trifazate se realizeaza cu ajutorul contoarelor de inductie cu sau fara transformatoare de masura īn circuit. Contoarele se pot clasifica atāt dupa numarul elementelor active, cāt si īn functie de tehnica de tarifare a energiei.

Dupa numarul de elemente active, deosebim: contoare cu un singur element activ (contoare monofazate), contoare cu doua. elemente active utilizate īn circuitele trifazate, fara conductor neutru si contoare cu trei elemente active pentru instalatii de distributie cu patru conductoare.

Dupa tehnica de tarifare a energiei, deosebim: contoare cu un singur cadran de īnregistrare a energiei si contoare cu mai multe cadrane de īnregistrare a energiei. Trecerea īnregistrarii de pe un cadran pe altul se face la anumite ore cu ajutorul unor ceasornice de comutare.

Dintre contoarele cu mai multe cadrane, īn practica, se īntīlnesc urmatoarele tipuri: contoare dublu ecran sau dublu tarif, contoare cu triplu tarif (tarif de vīrf, tarif īn afara vīrfului si tarif de noapte), contoare de vīrf, contoare de depasire, contoare cu plata prealabila si contoare cu indicator de maxim. Schemele de montaj si caracteristicile contoarelor pentru masurarea energiei electrice active si reactive se dau īn literatura.

Contoarele se pot monta la reteaua electrica direct, daca curentii din circuitul supus masurarii nu depasesc 150 A. Pentru curenti mai mari, montarea contoarelor se face cu ajutorul transformatoarelor de curent, care reduc intensitatea īn secundarul transformatorului la 5 A.

Scara de īnregistrare a energiei cu ajutorul contoarelor se dimensioneaza fie direct īn kWh, respectiv kVArh, fie īn diviziuni, care multiplicate cu o constanta īnscrisa pe placuta contorului permite calcularea energiei consumate īn circuitul electric analizat.

Pentru studiul fenomenelor periodice, se utilizeaza īn practica industriala distorsiometre, analizoare si aparate electronice de masura si control. Dintre tipurile de oscilografe utilizate mai frecvent īn industrie retin atentia: oscilografele electromecanice si oscilografe catodice. Ca aparate īnregistratoare mentionam cele cu īnregistrare continua, cele cu motor de urmarire si cele cu īnregistrare rapida.

Aparatele automate utilizate mai des la masuratori sīnt de tipul: compensatoare automate cu curent de lucru variabil si cu curent de lucru constant, punti automate etc. Detaliile privind schemele de conectare la retea si caracteristicile acestor aparate speciale se pot urmari īn literatura.



4.3. Aparate analogice-numerice de masura si control


Aparatele analogice numerice pentru masura si control s-au dezvoltat pe urmatoarele directii: aparate pentru masurarea tensiunii si a defazajului dintre doua marimi, aparate pentru masurarea puterii si energiei, aparate pentru masurarea pe cale electrica a marimilor neelectrice.

Pentru masurarea tensiunilor continue sau alternative, atāt īn laboratoare, cāt si īn industrie, se utilizeaza voltmetre electronice analogice si numerice, care au o precizie mai mare decāt cele clasice. Voltmetrele analogice se clasifica astfel: voltmetre cu diode (serie sau derivatie), voltmetre electronice īn puncte, voltmetre cu autocomponente, voltmetre electronice speciale pentru masurarea tensiunii efective si pentru masurarea tensiunii de vārf, voltmetre electronice logaritmice, milivoltmetre electronice etc. Pentru masurarea defazajului dintre doua tensiuni sau dintre tensiune si curent, se pot utiliza urmatoarele metode: metoda celor trei voltmetre, metoda comutatorului electronic, metoda elipsei, metode de comparatie, metoda fazmetrului analogic etc. Aparatele numerice pentru masurarea tensiunii si a defazajelor dintre doua marimi electrice sunt voltmetre numerice si fazmetre numerice. Caracteristicile aparatelor analogice si numerice de masurare a tensiunii, frecventei si a defazajului īntre marimile electrice supuse masurarii se dau īn literatura.

Masurarea puterii si energiei cu aparate numerice se face, aplicānd urmatoarele metode: metoda integrarii numerice a produsului U.I, ca valori instantanee si metoda masurarii numerice separate a tensiunii, curentului si a factorului de putere (cos φ), respectiv sin φ.

Īn cazul integrarii numerice a produsului U.I, se convertesc separat valorile instantanee ale curentului si tensiunii, se efectueaza produsul acestora si se īnsumeaza produsele partiale pe o perioada de timp.

Pentru masurarea puterii reactive, trebuie sa se introduca un defazaj de 90o. Wattmetrele electronice care pot masura atīt puterea activa, cāt si pe cea reactiva au la baza traductoare speciale, atāt pentru circuite monofazate, cāt si pentru cele trifazate, bazate pe principiul multiplicarii pur numerice a esantioanelor valorilor momentane ale curentului si ale tensiunii.

Contorul electronic bazat pe principiul " Mark-Space-Amplitude-Multiplicator", utilizat pentru masurarea numerica a energiei, are urmatoarele caracteristici: clasa de precizie 0,2, nu este influentat de armonici superioare, permite masurarea īn ambele sensuri a energiei, independent de simetria retelei, nu este sensibil la vibratii si socuri, este stabil īn timp si nu este influentat de variatii ale temperaturii mediului īn care se lucreaza. Contorul electronic are īn structura sa urmatoarele elemente: convertorul curent-frecventa de impulsuri, multiplicator pe fiecare faza cu transformatoare de intrare, elemente de afisaj si surse de alimentare. Contorul electronic prezentat se poate folosi la masurarea energiei īn circuitele trifazate cu patru conductoare. El are trei multiplicatoare, conectate prin intermediul unor transformatoare de masura de tensiune si curent la reteaua electrica analizata.

Schemele unor wattmetre si contoare numerice de masurare a puterii si energiei electrice active si reactive se dau īn literatura.

Masurarea pe cale electrica a marimilor neelectrice se face cu o aparatura speciala, care īmbina atāt partea aferenta marimii neelectrice supusa masurarii, traductorul, cāt si partea electrica a dispozitivului de masurare. Traductoarele transforma o marime fizica de masurat īntr-o marime fizica de alta natura, care poate fi observata si masurata mai usor. Astfel de transformare se poate face fie direct printr-un singur element fizic, fie prin cāteva transformari succesive de marimi fizice.

Un traductor de calitate trebuie sa īndeplineasca urmatoarele conditii: sa fie sensibil, sa aiba o clasa īnalta de precizie, sa consume cāt mai putina energie si sa dea raspuns īn timp real.

Dintre tipurile de traductoare cunoscute īn tehnica masurarii marimilor neelectrice pe cale electrica, retin atentia urmatoarele: traductoare parametrice īn care marimea neelectrica este transformata īntr-un parametru electric pentru masurarea caruia este nevoie de o sursa auxiliara de energie (termometru electric cu rezistenta), traductoare generatoare la care marimea neelectrica este transformata direct īntr-o tensiune electromotoare ca īn cazul traductoarelor termoelectrice, piezoelectrice etc. Aceste tipuri de traductoare sunt mai putin sensibile si consuma energie mai multa decāt traductoarele parametrice, dar prezinta avantajul ca, marimea de iesire este o tensiune care se poate masura direct. Dintre cele mai uzuale tipuri de traductoare parametrice existente, retin atentia traductoareīe rezistive, inductive si cele capacitive. Ca traductoare generatoare mentionam: traductorul electrodinamic de inductie si traductorul electrochimic.

Pentru masurari mai complexe, se utilizeaza fie traductoare cu transformari succesive, fie traductoare diferentiale.

Masurarea electrica a marimilor neelectrice s-a extins īn tehnica la stabilirea nivelelor lichidelor din diverse recipiente īnchise, la masurarea temperaturilor etc.

Masurarea pe cale electrica a temperaturilor din diverse instalatii industriale constituie domeniul pirometriei electrice. Pirometria electrica reclama utilizarea urmatoarelor tipuri de aparate: pirometre termoelectrice, termometre cu rezistenta, pirometre cu radiatie, pirometre optice etc. Aparatele pentru masurarea marimilor neelectrice pe cale electrica sunt extinse atāt ca numar, cāt si ca performante si se utilizeaza la determinarea marimilor de calcul din cadrul bilanturilor termoenergetice.




Document Info


Accesari: 3813
Apreciat: hand-up

Comenteaza documentul:

Nu esti inregistrat
Trebuie sa fii utilizator inregistrat pentru a putea comenta


Creaza cont nou

A fost util?

Daca documentul a fost util si crezi ca merita
sa adaugi un link catre el la tine in site


in pagina web a site-ului tau.




eCoduri.com - coduri postale, contabile, CAEN sau bancare

Politica de confidentialitate | Termenii si conditii de utilizare




Copyright © Contact (SCRIGROUP Int. 2025 )